CN215965077U - A sterilizing device for surgical instruments in an operating room - Google Patents

A sterilizing device for surgical instruments in an operating room Download PDF

Info

Publication number
CN215965077U
CN215965077U CN202121446212.4U CN202121446212U CN215965077U CN 215965077 U CN215965077 U CN 215965077U CN 202121446212 U CN202121446212 U CN 202121446212U CN 215965077 U CN215965077 U CN 215965077U
Authority
CN
China
Prior art keywords
surgical instruments
operating room
outer side
water tank
movable ring
Prior art date
Legal status (The legal status is an assumption and is not a legal conclusion. Google has not performed a legal analysis and makes no representation as to the accuracy of the status listed.)
Expired - Fee Related
Application number
CN202121446212.4U
Other languages
Chinese (zh)
Inventor
苏蓉
Current Assignee (The listed assignees may be inaccurate. Google has not performed a legal analysis and makes no representation or warranty as to the accuracy of the list.)
Affiliated Hospital of Southwest Medical University
Original Assignee
Affiliated Hospital of Southwest Medical University
Priority date (The priority date is an assumption and is not a legal conclusion. Google has not performed a legal analysis and makes no representation as to the accuracy of the date listed.)
Filing date
Publication date
Application filed by Affiliated Hospital of Southwest Medical University filed Critical Affiliated Hospital of Southwest Medical University
Priority to CN202121446212.4U priority Critical patent/CN215965077U/en
Application granted granted Critical
Publication of CN215965077U publication Critical patent/CN215965077U/en
Expired - Fee Related legal-status Critical Current
Anticipated expiration legal-status Critical

Links

Images

Landscapes

  • Apparatus For Disinfection Or Sterilisation (AREA)
  • Dental Tools And Instruments Or Auxiliary Dental Instruments (AREA)

Abstract

本实用新型公开了一种手术室用手术器械的消毒装置,包括机体和定位块,所述机体的顶部两侧分别安装有消毒水箱和清洗水箱,且消毒水箱和清洗水箱上均通过水泵贯穿于机体顶部的内侧连接有喷头,并且机体顶部边缘处的内侧固定有杀菌灯,而且机体的底部边缘处连接有出水管;安装架,设置于所述机体的内部,所述安装架的内部安装有放置架;活动环,套设于所述安装架中部的外侧,所述活动环的内壁上通过嵌入式活动连接有活动球固定于安装架的外侧,所述齿轮的底部连接有电机,且电机和齿轮均安装于机体的内部。该手术室用手术器械的消毒装置,便于手术器械的拿取和放置,同时可以进行均匀消毒和清洗。

Figure 202121446212

The utility model discloses a sterilizing device for surgical instruments used in an operating room, which comprises a body and a positioning block. A sterilizing water tank and a cleaning water tank are respectively installed on both sides of the top of the body, and the sterilizing water tank and the cleaning water tank are both penetrated through a water pump by a water pump. The inner side of the top of the body is connected with a spray head, and the inner side of the top edge of the body is fixed with a germicidal lamp, and the bottom edge of the body is connected with a water outlet pipe; the mounting frame is arranged inside the body, and the interior of the mounting frame is installed with A placement rack; a movable ring is sleeved on the outer side of the middle part of the mounting rack, the inner wall of the movable ring is movably connected to the outer side of the mounting rack with a movable ball connected to the outer side of the mounting rack, the bottom of the gear is connected with a motor, and the motor and gears are installed inside the body. The sterilizing device for surgical instruments used in the operating room is convenient for taking and placing the surgical instruments, and can be uniformly sterilized and cleaned at the same time.

Figure 202121446212

Description

Operating instrument's degassing unit for operating room
Technical Field
The utility model relates to the technical field of medical instruments, in particular to a disinfection device for surgical instruments used in an operating room.
Background
In the operating room, can use multiple surgical instruments usually, surgical instruments after the use need carry out disinfection treatment, and it is present common practice to adopt degassing unit to disinfect it in batches, has related to a surgical instruments disinfection belt cleaning device in publication (CN 210876510U), including the casing, the inner chamber fixedly connected with drainage board of casing.
This surgical instruments disinfection belt cleaning device, a plurality of fixed establishment through the mount cooperation in it separately fixes multiple surgical instruments, and the chamber door that the cooperation can open places surgical instruments and takes, but the position of mount is fixed, when carrying out taking and placing of surgical instruments, it is inconvenient take out the mount, need directly go deep into the inside taking of device with the hand, the quick taking and placing of inconvenient surgical instruments, the hand is hindered easily simultaneously, when disinfecting and cleaning surgical instruments, this surgical instruments disinfection belt cleaning device, only realize disinfection and washing through rotating, surgical instruments's bottom can't effectively wash, lead to the disinfection inhomogeneous, disinfection cleaning efficiency is lower.
In order to solve the above problems, innovative design based on the original disinfection device is urgently needed.
SUMMERY OF THE UTILITY MODEL
The utility model aims to provide a disinfection device for surgical instruments in an operating room, and aims to solve the problems that the disinfection device in the prior art is inconvenient for the surgical instruments to be taken and placed quickly and is not uniform in disinfection.
In order to achieve the purpose, the utility model provides the following technical scheme: a surgical instrument sterilization device for an operating room, comprising:
the cleaning machine comprises a machine body and a positioning block, wherein a disinfection water tank and a cleaning water tank are respectively arranged on two sides of the top of the machine body, the disinfection water tank and the cleaning water tank are respectively connected with a spray head through a water pump penetrating through the inner side of the top of the machine body, a sterilizing lamp is fixed on the inner side of the edge of the top of the machine body, and a water outlet pipe is connected at the edge of the bottom of the machine body;
the mounting frame is arranged inside the machine body, the mounting frame is internally provided with a placing frame, guide rods are fixed on two sides of the placing frame and are positioned in the guide grooves, and the guide grooves are formed in the inner wall of the mounting frame;
the movable ring is sleeved on the outer side of the middle part of the mounting frame, a movable ball is fixedly arranged on the inner wall of the movable ring through an embedded type swing joint, a tooth block is fixedly arranged on the outer side of the movable ring, a gear is arranged on the outer side of the movable ring, a motor is connected to the bottom of the gear, and the motor and the gear are both mounted inside the machine body.
Preferably, the mounting bracket longitudinally rotates in the movable ring through the movable ball, and the movable ring is embedded and transversely rotates on the inner wall of the machine body through the meshing of the tooth block and the gear, so that the transverse and longitudinal movement of the placing frame can be driven, the contact area between the placing frame and a surgical instrument is increased, and the disinfection is uniform.
Preferably, the bottom of mounting bracket runs through elastic expansion through reset spring and installs the dead lever, and the top of dead lever is located the fixed slot to the bottom of rack is seted up to the fixed slot, and the dead lever can stretch out and draw back the slip, makes things convenient for manually operation.
Preferably, the top in the rack outside is fixed with the guide arm, and the guide arm is located the guide slot to on the inner wall of organism was seted up to the guide slot, the rack was when violently rotating along mounting bracket and activity ring, the guide arm can slide in the guide slot.
Preferably, the guide rod is connected with the guide groove in a sliding mode, the guide groove is distributed in a winding mode, and the guide rod slides in the guide groove and is guided by the guide groove to drive the rack to move longitudinally.
Preferably, the cross-section of locating piece is isosceles trapezoid structural design, and the laminating slides between locating piece and the constant head tank, slides in the constant head tank through the locating piece, fixes a position the installation to the rack.
Preferably, the tip outside of dead lever is the slope structural design, and mutual block between the tip of dead lever and the fixed slot, and when the installation rack, dead lever inclined plane atress shrink, cooperation reset spring uses, and the dead lever can pop out and block into the fixed slot.
Compared with the prior art, the utility model has the beneficial effects that: a sterilizing device for surgical instruments used in the operating room;
1. the positioning rods arranged on the two sides of the placing rack are provided with isosceles trapezoid sections which slide in the positioning grooves, so that the placing rack can be positioned and installed, meanwhile, the end parts of the fixing rods on the top of the placing rack are inclined, so that when the placing rack is installed, the fixing rods are stressed to be contracted and matched with a reset spring to be used, the fixing rods can be finally popped out and clamped into the fixing grooves to fix the placing rack, and the stable longitudinal movement of the placing rack is facilitated;
2. through the activity ring that sets up in the mounting bracket outside, it passes through tooth piece and gear engagement, make motor drive gear rotate, can drive the horizontal rotation of activity ring, the activity ring drives the horizontal rotation of mounting bracket and rack through two movable balls in it, guide arm on the rack slides in the guide slot that winding form distributes simultaneously, can guide rack and mounting bracket through the longitudinal rotation of movable ball on the activity ring, and then can cooperate shower nozzle spun disinfection water and wash water increase with surgical instruments's area of contact, disinfection and cleaning performance are improved.
Drawings
FIG. 1 is a schematic front sectional view of the present invention;
FIG. 2 is a side sectional view of the mounting bracket of the present invention;
FIG. 3 is a schematic top view of a cross-sectional structure of the movable ring of the present invention;
fig. 4 is a front view of the guide groove of the present invention.
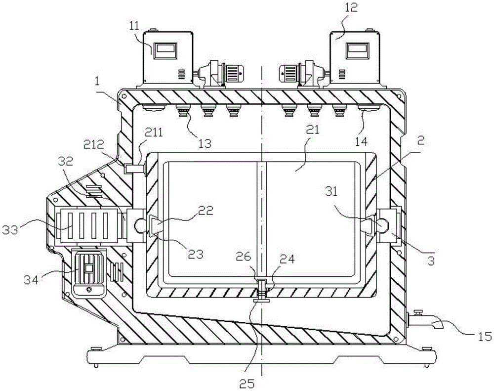
In the figure: 1. a body; 11. a sterilizing water tank; 12. cleaning the water tank; 13. a spray head; 14. a germicidal lamp; 15. a water outlet pipe; 2. a mounting frame; 21. placing a rack; 211. a guide bar; 212. a guide groove; 22. positioning blocks; 23. positioning a groove; 24. a return spring; 25. fixing the rod; 26. fixing grooves; 3. a movable ring; 31. a movable ball; 32. a tooth block; 33. a gear; 34. an electric motor.
Detailed Description
The technical solutions in the embodiments of the present invention will be clearly and completely described below with reference to the drawings in the embodiments of the present invention, and it is obvious that the described embodiments are only a part of the embodiments of the present invention, and not all of the embodiments. All other embodiments, which can be derived by a person skilled in the art from the embodiments given herein without making any creative effort, shall fall within the protection scope of the present invention.
Referring to fig. 1-4, the present invention provides a technical solution: the utility model provides a degassing unit of surgical instruments for operating room, includes organism 1, disinfection water tank 11, washs water tank 12, shower nozzle 13, sterilamp 14, outlet pipe 15, mounting bracket 2, rack 21, guide arm 211, guide slot 212, locating piece 22, constant head tank 23, reset spring 24, dead lever 25, fixed slot 26, activity ring 3, activity ball 31, toothed bar 32, gear 33 and motor 34:
the cleaning machine comprises a machine body 1 and a positioning block 22, wherein a disinfection water tank 11 and a cleaning water tank 12 are respectively arranged on two sides of the top of the machine body 1, the disinfection water tank 11 and the cleaning water tank 12 are both connected with a spray head 13 through a water pump penetrating through the inner side of the top of the machine body 1, a germicidal lamp 14 is fixed on the inner side of the edge of the top of the machine body 1, and a water outlet pipe 15 is connected at the edge of the bottom of the machine body 1;
the mounting rack 2 is arranged inside the machine body 1, the mounting rack 21 is arranged inside the mounting rack 2, guide rods 211 are fixed on two sides of the mounting rack 21, the guide rods 211 are positioned in the guide grooves 212, and the guide grooves 212 are formed in the inner wall of the mounting rack 2;
the movable ring 3 is sleeved on the outer side of the middle part of the mounting frame 2, the outer side of the mounting frame 2 is fixed on the inner wall of the movable ring 3 through the embedded movable ball 31, the outer side of the movable ring 3 is fixed with the toothed block 32, the bottom of the gear 33 arranged on the outer side of the movable ring 3 is connected with the motor 34, and the motor 34 and the gear 33 are both installed inside the machine body 1.
The mounting frame 2 longitudinally rotates in the movable ring 3 through the movable ball 31, the movable ring 3 is embedded and transversely rotates on the inner wall of the machine body 1 through the engagement of the tooth block 32 and the gear 33, a guide rod 211 is fixed at the top of the outer side of the placing frame 21, the guide rod 211 is positioned in a guide groove 212, the guide groove 212 is arranged on the inner wall of the machine body 1, the guide rod 211 is in sliding connection with the guide groove 212, and the guide groove 212 is distributed in a winding shape;
as shown in fig. 1 and fig. 3-4, a motor 34 in the machine body 1 is started, the motor 34 drives a gear 33 to rotate, so that the gear 33 drives a movable ring 3 to transversely rotate in the machine body 1 through a tooth block 32, and drives a mounting frame 2 and a placing frame 21 to transversely rotate, meanwhile, a guide rod 211 on the placing frame 21 slides along a guide groove 212, and is guided by the guide groove 212, the guide rod 211 drives the placing frame 21 to longitudinally and reciprocally rotate, the placing frame 21 drives the mounting frame 2 to longitudinally and reciprocally rotate in the movable ring 3 through a movable ball 31, liquid in the disinfection water tank 11 and the cleaning water tank 12 is sprayed out through a spray head 13 in cooperation with a disinfection lamp 14, surgical instruments in the placing frame 21 are uniformly disinfected and cleaned, the disinfection lamp 14 is further disinfected and disinfected, and the flowing liquid is discharged through a water outlet pipe 15;
the bottom of the mounting rack 2 is provided with a fixing rod 25 through a return spring 24 in a penetrating and elastic telescopic manner, the top of the fixing rod 25 is positioned in a fixing groove 26, the fixing groove 26 is formed in the bottom of the placing rack 21, the section of the positioning block 22 is designed to be an isosceles trapezoid structure, the positioning block 22 and the positioning groove 23 are attached and slide, the outer side of the end of the fixing rod 25 is designed to be an inclined structure, and the end of the fixing rod 25 is clamped with the fixing groove 26;
as in fig. 1-3, open the chamber door of organism 1 outside conventional setting, the manual dead lever 25 of will pulling downwards, transversely take out rack 21 from mounting bracket 2, it puts into the subregion on rack 21 in proper order to be vertical state with surgical instruments, then rack 21 inserts in mounting bracket 2, through the slip of locating piece 22 in constant head tank 23, fix a position the installation to rack 21, rack 21 bottom contacts with the tip of dead lever 25 simultaneously, dead lever 25 atress shrink, put into mounting bracket 2 completely until rack 21, dead lever 25 is popped out and is gone into in fixed slot 26 by the influence of reset spring 24 elastic force, fix the position of rack 21, then close the chamber door, the disinfection washing operation begins, rack 21, mounting bracket 2 and activity ring 3 are netted setting, make things convenient for the reason circulation of liquid.
The working principle is as follows: when the disinfection device for surgical instruments in an operating room is used, as shown in fig. 1-4, a box door conventionally arranged on the outer side of a machine body 1 is firstly opened, a placing frame 21 is taken out through a pull-down fixing rod 25, then the surgical instruments are sequentially placed in the placing frame 21, and then the placing frame 21 is fixed in an installing frame 2;
then, the motor 34 is started, the mounting rack 2 and the placing rack 21 are driven to transversely rotate through the movable ring 3, the guide rod 211 on the placing rack 21 slides in the guide groove 212, the placing rack 21 and the mounting rack 2 are driven to longitudinally and reciprocally rotate in the movable ring 3 through the movable ball 31, liquid in the disinfection water tank 11 and the cleaning water tank 12 is sprayed out through the spray head 13, surgical instruments in the placing rack 21 are evenly disinfected and cleaned, and the disinfection operation is further sterilized and disinfected through the disinfection lamp 14.
Although the present invention has been described in detail with reference to the foregoing embodiments, it will be apparent to those skilled in the art that various changes in the embodiments and/or modifications of the utility model can be made, and equivalents and modifications of some features of the utility model can be made without departing from the spirit and scope of the utility model.

Claims (7)

1.一种手术室用手术器械的消毒装置,其特征在于:包括:1. a sterilizing device for surgical instruments in an operating room, characterized in that: comprising: 机体(1)和定位块(22),所述机体(1)的顶部两侧分别安装有消毒水箱(11)和清洗水箱(12),且消毒水箱(11)和清洗水箱(12)上均通过水泵贯穿于机体(1)顶部的内侧连接有喷头(13),并且机体(1)顶部边缘处的内侧固定有杀菌灯(14),而且机体(1)的底部边缘处连接有出水管(15);A body (1) and a positioning block (22), a disinfection water tank (11) and a cleaning water tank (12) are respectively installed on both sides of the top of the body (1), and both the disinfection water tank (11) and the cleaning water tank (12) are A spray head (13) is connected to the inner side of the top of the body (1) through the water pump, a germicidal lamp (14) is fixed at the inner side of the top edge of the body (1), and a water outlet pipe (14) is connected to the bottom edge of the body (1). 15); 安装架(2),设置于所述机体(1)的内部,所述安装架(2)的内部安装有放置架(21),且放置架(21)的两侧固定有导杆(211),并且导杆(211)位于导槽(212)内,而且导槽(212)开设于安装架(2)的内壁上;An installation frame (2) is arranged inside the body (1), a placement frame (21) is installed inside the installation frame (2), and guide rods (211) are fixed on both sides of the placement frame (21). , and the guide rod (211) is located in the guide groove (212), and the guide groove (212) is opened on the inner wall of the mounting frame (2); 活动环(3),套设于所述安装架(2)中部的外侧,所述活动环(3)的内壁上通过嵌入式活动连接有活动球(31)固定于安装架(2)的外侧,且活动环(3)的外侧固定有齿块(32),并且活动环(3)的外侧设置有齿轮(33),所述齿轮(33)的底部连接有电机(34),且电机(34)和齿轮(33)均安装于机体(1)的内部。The movable ring (3) is sleeved on the outer side of the middle part of the mounting frame (2), and the inner wall of the movable ring (3) is movably connected with a movable ball (31) on the outer side of the mounting frame (2) through an embedded movable connection , and the outer side of the movable ring (3) is fixed with a tooth block (32), and the outer side of the movable ring (3) is provided with a gear (33), the bottom of the gear (33) is connected with a motor (34), and the motor ( 34) and the gear (33) are installed inside the body (1). 2.根据权利要求1所述的一种手术室用手术器械的消毒装置,其特征在于:所述安装架(2)通过活动球(31)在活动环(3)内纵向转动,且活动环(3)通过齿块(32)与齿轮(33)的啮合在机体(1)的内壁上嵌入式横向转动。2. A sterilizing device for surgical instruments in an operating room according to claim 1, characterized in that: the mounting bracket (2) is rotated longitudinally in the movable ring (3) through the movable ball (31), and the movable ring (3) Embedded lateral rotation on the inner wall of the body (1) through the meshing of the tooth block (32) and the gear (33). 3.根据权利要求1所述的一种手术室用手术器械的消毒装置,其特征在于:所述安装架(2)的底部通过复位弹簧(24)贯穿弹性伸缩安装有固定杆(25),且固定杆(25)的顶部位于固定槽(26)内,并且固定槽(26)开设于放置架(21)的底部。3. A sterilizing device for surgical instruments in an operating room according to claim 1, characterized in that: a fixing rod (25) is installed on the bottom of the mounting frame (2) through elastic expansion and contraction through a return spring (24), And the top of the fixing rod (25) is located in the fixing groove (26), and the fixing groove (26) is opened at the bottom of the placing rack (21). 4.根据权利要求1所述的一种手术室用手术器械的消毒装置,其特征在于:所述放置架(21)外侧的顶部固定有导杆(211),且导杆(211)位于导槽(212)内,并且导槽(212)开设于机体(1)的内壁上机体(1)内壁上。4. The device for sterilizing surgical instruments in an operating room according to claim 1, characterized in that: a guide rod (211) is fixed on the top of the outer side of the placing frame (21), and the guide rod (211) is located in the guide rod (211) groove (212), and the guide groove (212) is opened on the inner wall of the body (1) on the inner wall of the body (1). 5.根据权利要求4所述的一种手术室用手术器械的消毒装置,其特征在于:所述导杆(211)与导槽(212)之间滑动连接,且导槽(212)呈蜿蜒状分布。5. The sterilizing device for surgical instruments in an operating room according to claim 4, wherein the guide rod (211) and the guide groove (212) are slidably connected, and the guide groove (212) is meandering serpentine distribution. 6.根据权利要求1所述的一种手术室用手术器械的消毒装置,其特征在于:所述定位块(22)的截面为等腰梯形结构设计,且定位块(22)与定位槽(23)之间贴合滑动。6. A disinfection device for surgical instruments in an operating room according to claim 1, characterized in that: the cross-section of the positioning block (22) is an isosceles trapezoidal structure design, and the positioning block (22) and the positioning groove ( 23) Fit and slide between. 7.根据权利要求3所述的一种手术室用手术器械的消毒装置,其特征在于:所述固定杆(25)的端部外侧为倾斜结构设计,且固定杆(25)的端部与固定槽(26)之间相互卡合。7. The device for sterilizing surgical instruments in an operating room according to claim 3, characterized in that: the outer side of the end of the fixing rod (25) is designed with an inclined structure, and the end of the fixing rod (25) is designed with an inclined structure. The fixing grooves (26) are engaged with each other.
CN202121446212.4U 2021-06-28 2021-06-28 A sterilizing device for surgical instruments in an operating room Expired - Fee Related CN215965077U (en)

Priority Applications (1)

Application Number Priority Date Filing Date Title
CN202121446212.4U CN215965077U (en) 2021-06-28 2021-06-28 A sterilizing device for surgical instruments in an operating room

Applications Claiming Priority (1)

Application Number Priority Date Filing Date Title
CN202121446212.4U CN215965077U (en) 2021-06-28 2021-06-28 A sterilizing device for surgical instruments in an operating room

Publications (1)

Publication Number Publication Date
CN215965077U true CN215965077U (en) 2022-03-08

Family

ID=80578577

Family Applications (1)

Application Number Title Priority Date Filing Date
CN202121446212.4U Expired - Fee Related CN215965077U (en) 2021-06-28 2021-06-28 A sterilizing device for surgical instruments in an operating room

Country Status (1)

Country Link
CN (1) CN215965077U (en)

Cited By (1)

* Cited by examiner, † Cited by third party
Publication number Priority date Publication date Assignee Title
CN117065057A (en) * 2023-10-16 2023-11-17 信安真空科技(江苏)有限公司 A disinfection and sterilization device for vacuum furnace inner wall

Cited By (2)

* Cited by examiner, † Cited by third party
Publication number Priority date Publication date Assignee Title
CN117065057A (en) * 2023-10-16 2023-11-17 信安真空科技(江苏)有限公司 A disinfection and sterilization device for vacuum furnace inner wall
CN117065057B (en) * 2023-10-16 2023-12-15 信安真空科技(江苏)有限公司 A disinfection and sterilization device for vacuum furnace inner wall

Similar Documents

Publication Publication Date Title
CN210386719U (en) Digestive medical instrument cleaning device
CN215965077U (en) A sterilizing device for surgical instruments in an operating room
CN111839974A (en) Multifunctional diagnosis and treatment table for dermatology department
CN112474534A (en) Instrument flushing device for gastrointestinal surgery and using method thereof
CN218692083U (en) Cleaning and sterilizing device for needles
CN215426289U (en) Cardiovascular is surgical instruments sterilizer for internal medicine
CN214806963U (en) A kind of sterilization box for diagnosis and treatment instruments in the department of liver disease infection
CN215385823U (en) Gynaecology and obstetrics's nursing is with removing belt cleaning device
CN215696176U (en) Cleaning and sterilizing device for multifunctional ultrasonic debridement therapeutic machine
CN214600869U (en) Animal doctor's laboratory degassing unit
CN115845103A (en) Anesthesia nursing is with postoperative belt cleaning device who has dual disinfection function
CN210788352U (en) Medical treatment department of general surgery surgical instruments belt cleaning device
CN210020465U (en) Disinfection cleaner for nursing
CN215780197U (en) Cardiovascular is apparatus degassing unit for internal medicine
LU505346B1 (en) A Digestive Endoscope Disinfection Device
CN112914771B (en) Disinfection equipment for oral medical treatment
CN222055986U (en) Probe disinfection device
CN219090515U (en) Debridement device for operation
CN112370267A (en) Emergency call equipment for department of neurology of traditional chinese and western medicine combination
CN215840607U (en) Disinfection device of induced appliance
CN216061393U (en) Nursing disinfection frame for oncology department
CN219895526U (en) Flushing device for neonate nursing
CN221512943U (en) Degassing unit is used in nursing
CN221535139U (en) Wound debridement device
CN220385475U (en) Oncology department uses nursing device

Legal Events

Date Code Title Description
GR01 Patent grant
GR01 Patent grant
CF01 Termination of patent right due to non-payment of annual fee
CF01 Termination of patent right due to non-payment of annual fee

Granted publication date: 20220308