CN215942302U - Chip removal device of numerical control machine tool - Google Patents

Chip removal device of numerical control machine tool Download PDF

Info

Publication number
CN215942302U
CN215942302U CN202122515686.6U CN202122515686U CN215942302U CN 215942302 U CN215942302 U CN 215942302U CN 202122515686 U CN202122515686 U CN 202122515686U CN 215942302 U CN215942302 U CN 215942302U
Authority
CN
China
Prior art keywords
fixedly connected
dust collection
machine tool
removal device
chip removal
Prior art date
Legal status (The legal status is an assumption and is not a legal conclusion. Google has not performed a legal analysis and makes no representation as to the accuracy of the status listed.)
Expired - Fee Related
Application number
CN202122515686.6U
Other languages
Chinese (zh)
Inventor
罗雪枚
刘徽斌
Current Assignee (The listed assignees may be inaccurate. Google has not performed a legal analysis and makes no representation or warranty as to the accuracy of the list.)
Changsha Dingwei Mould Manufacturing Co ltd
Original Assignee
Changsha Dingwei Mould Manufacturing Co ltd
Priority date (The priority date is an assumption and is not a legal conclusion. Google has not performed a legal analysis and makes no representation as to the accuracy of the date listed.)
Filing date
Publication date
Application filed by Changsha Dingwei Mould Manufacturing Co ltd filed Critical Changsha Dingwei Mould Manufacturing Co ltd
Priority to CN202122515686.6U priority Critical patent/CN215942302U/en
Application granted granted Critical
Publication of CN215942302U publication Critical patent/CN215942302U/en
Expired - Fee Related legal-status Critical Current
Anticipated expiration legal-status Critical

Links

Images

Landscapes

  • Auxiliary Devices For Machine Tools (AREA)

Abstract

The utility model discloses a chip removal device of a numerical control machine tool, which comprises a machine tool body, wherein a dust collection box is fixedly connected to the middle part of the right side of the machine tool body, the left side of the top of the dust collection box is connected with a dust collection fan through a pipeline, a feed inlet of the dust collection fan is fixedly connected to one end of a dust collection pipe, a motor is fixedly connected to the inner wall of the center of the top of a support frame, and a drive end of the motor penetrates through the top of the support frame and is fixedly connected with a driving wheel. According to the utility model, the problem that workers are injured due to splashing of garbage such as scraps in the machining process is avoided through the protective cover, the use safety of the device is improved, fine scraps are sucked into the dust collection box through the dust collection fan, water is sprayed through the water pump, the cleaning liquid drives the scraps to flow into the filtering drawer, the cleaning and scrap removal are realized, the scraps cannot influence the machine tool body, the cleaning liquid enters the water storage tank again under the filtering of the filtering drawer, and the cyclic utilization of the cleaning liquid is realized.

Description

Chip removal device of numerical control machine tool
Technical Field
The utility model relates to the field of numerical control, in particular to a chip removal device of a numerical control machine tool.
Background
The numerically controlled machine tool is an automatic machine tool with program control system, and the control system can logically process the program defined by control code or other symbolic instruction, decode it, use coded digital representation, input it into numerical control device by means of information carrier, and make the numerical control device give out various control signals by means of operation processing to control the action of machine tool, and automatically machine the part according to the required shape and size of drawing.
Chinese patent document CN213970198U relates to a chip removal device of a numerical control machine tool, which includes: the discharge end, the one end fixed mounting of discharge end has sweeps collection box shell, the inboard sliding connection of sweeps collection box shell has scrapes the work or material rest, the inboard fixed mounting who scrapes the work or material rest middle part has link block, first transmission shaft, one of them are all installed to the inboard at link block both ends first transmission shaft's one end is installed first drive motor, the second transmission shaft is installed to the inboard at link block middle part, second drive motor is installed to the bottom of second transmission shaft, the up end fixed mounting of sweeps collection box shell has the support stock guide, the side of supporting the stock guide up end is provided with limit baffle, the connection stopper is installed in the outside of second transmission shaft upper end. This chip removal device of digit control machine tool of patent gets through clearing up and scraping the sweeps, can effectively clear up the structure inner wall, but can not block the sweeps in the course of working, the sweeps splashes and causes the injury to the staff easily, and pollute the surrounding environment, the sanitary clearance of being not convenient for, and the clearance effect of processing platform is not good enough, it is unfavorable for next processing to remain there the sweeps, can't carry out reuse to the cleaning solution, thereby cause the waste on the resource, so need improve chip removal device.
SUMMERY OF THE UTILITY MODEL
The utility model aims to solve the defects in the prior art and provides a chip removal device of a numerical control machine tool.
In order to achieve the purpose, the utility model adopts the following technical scheme: a chip removal device of a numerical control machine tool comprises a machine tool body, wherein a dust collection box is fixedly connected to the middle of the right side of the machine tool body, the left side of the top of the dust collection box is connected with a dust collection fan through a pipeline, a feed inlet of the dust collection fan is fixedly connected to one end of a dust collection pipe, the other end of the dust collection pipe sequentially penetrates through the top of a support frame and the top of a protective cover and is fixedly connected with a dust collection head, a motor is fixedly connected to the inner wall of the center of the top of the support frame, a drive end of the motor penetrates through the top of the support frame and is fixedly connected with a drive wheel, the drive wheel is connected with a driven wheel through a belt, a lead screw is fixedly connected to the bottom of the driven wheel, a sliding block is in threaded connection on the outer diameter of the lead screw, one side of the sliding block, which is close to the motor, is respectively and fixedly connected to the left side and the right side of the protective cover, a filter drawer is arranged on the front side of the machine tool body, the machine tool body is provided with a water storage tank in the inner part below the filtering drawer, a water outlet pipe is fixedly connected to a water outlet at the bottom of the water storage tank, the top end of the water outlet pipe is fixedly connected to the water inlet end of the water pump, a water spray pipe is fixedly connected to the water outlet end of the water pump, and a spray head is fixedly connected to one end, located in the protective cover, of the water spray pipe.
As a further description of the above technical solution:
the right side of the machine tool body in front of the dust collection box is fixedly connected with a control panel, and the control panel is respectively connected with the dust collection fan, the motor and the water pump through leads.
As a further description of the above technical solution:
the inner wall of the left side and the right side of the support frame is provided with a sliding groove, and the inner walls of the front side and the rear side of the sliding groove are respectively connected to the front side and the rear side of the sliding block in a sliding mode.
As a further description of the above technical solution:
the bottom of lead screw all rotates to be connected on the bottom inner wall of spout.
As a further description of the above technical solution:
the left side of the dust collection fan is fixedly connected to the right side of the machine tool body.
As a further description of the above technical solution:
the right side of the water pump is fixedly connected to the left side of the machine tool body.
As a further description of the above technical solution:
the top of the machine tool body is provided with a collecting tank with the same inner diameter as the protective cover, and the inner walls of the front side and the rear side of the collecting tank are fixedly connected with processing tables.
As a further description of the above technical solution:
the bottom of the driven wheel is rotatably connected to the top of the supporting frame.
The utility model has the following beneficial effects:
1. according to the numerical control machine tool, when the numerical control machine tool works, the motor is started through the control panel, the motor drives the driving wheel to rotate, the driving wheel drives the driven wheel and the lead screw to rotate through the belt, the lead screw drives the sliding block and the protective cover to move downwards until the bottom of the protective cover abuts against the top of the machine tool body, the protective cover avoids the problems of worker injury and environmental pollution caused by splashing of garbage such as scraps in the machining process, the use safety of the device and the cleanliness of the environment are improved, meanwhile, the dust collection fan sucks fine scraps in the protective cover into the dust collection box through the dust collection pipe and the dust collection head, the scraps with large size drop in the through hole in the top of the machining table or the machine tool body, the sanitary cleaning at the back is facilitated, and the time cost is saved.
2. According to the utility model, after the machining is finished, the water pump is started through the control panel, and the water pump sprays water to the machined part and the machining table thereof through the water outlet pipe, the water spraying pipe and the spray head, so that the purpose of cleaning is realized, the scraps which are not sucked away by the dust suction fan are driven by the cleaning liquid to flow into the filtering drawer, the scraps are cleaned and discharged, the convenience and the rapidness are realized, the scraps cannot influence the machine tool body, the cleaning liquid enters the water storage tank again under the filtering of the filtering drawer, the cyclic utilization of the cleaning liquid is realized, and the energy is saved and the environment is protected.
Drawings
Fig. 1 is a perspective view of a chip removal device of a numerical control machine tool according to the present invention;
fig. 2 is a front sectional view of a chip removal device of a numerically controlled machine tool according to the present invention;
fig. 3 is a bottom view of a protective cover of a chip removal device of a numerical control machine tool according to the present invention;
fig. 4 is a top view of a chip removal device of a numerical control machine tool according to the present invention.
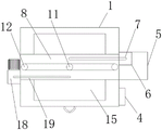
Illustration of the drawings:
1. a machine tool body; 2. a filter drawer; 3. a processing table; 4. a control panel; 5. a dust collection box; 6. a dust collection fan; 7. a dust collection pipe; 8. a support frame; 9. a chute; 10. a motor; 11. a driving wheel; 12. a driven wheel; 13. a lead screw; 14. a slider; 15. a protective cover; 16. a water storage tank; 17. a water outlet pipe; 18. a water pump; 19. a water spray pipe; 20. a dust collection head; 21. and (4) a spray head.
Detailed Description
The technical solutions in the embodiments of the present invention will be clearly and completely described below with reference to the drawings in the embodiments of the present invention, and it is obvious that the described embodiments are only a part of the embodiments of the present invention, and not all of the embodiments. All other embodiments, which can be derived by a person skilled in the art from the embodiments given herein without making any creative effort, shall fall within the protection scope of the present invention.
In the description of the present invention, it should be noted that the terms "center", "upper", "lower", "left", "right", "vertical", "horizontal", "inner", "outer", etc., indicate orientations or positional relationships based on the orientations or positional relationships shown in the drawings, and are only for convenience of description and simplicity of description, but do not indicate or imply that the device or element being referred to must have a particular orientation, be constructed and operated in a particular orientation, and thus, should not be construed as limiting the present invention; the terms "first," "second," and "third" are used for descriptive purposes only and are not to be construed as indicating or implying relative importance, and furthermore, unless otherwise explicitly stated or limited, the terms "mounted," "connected," and "connected" are to be construed broadly and may be, for example, fixedly connected, detachably connected, or integrally connected; can be mechanically or electrically connected; they may be connected directly or indirectly through intervening media, or they may be interconnected between two elements. The specific meanings of the above terms in the present invention can be understood in specific cases to those skilled in the art.
Referring to fig. 1-4, one embodiment of the present invention is provided: a chip removal device of a numerical control machine tool comprises a machine tool body 1, a dust collection box 5 is fixedly connected to the middle of the right side of the machine tool body 1, a dust collection fan 6 is connected to the left side of the top of the dust collection box 5 through a pipeline, a feed inlet of the dust collection fan 6 is fixedly connected to one end of a dust collection pipe 7, the other end of the dust collection pipe 7 sequentially penetrates through the top of a support frame 8 and the top of a protective cover 15 and is fixedly connected with a dust collection head 20, a motor 10 is fixedly connected to the inner wall of the center of the top of the support frame 8, a drive end of the motor 10 penetrates through the top of the support frame 8 and is fixedly connected with a drive wheel 11, the drive wheel 11 is connected with a driven wheel 12 through a belt, a lead screw 13 is fixedly connected to the bottom of the driven wheel 12, a slide block 14 is in threaded connection on the outer diameter of the lead screw 13, one side, close to the motor 10, is fixedly connected to the left side and the right side of the protective cover 15 respectively, and the numerical control machine tool works, the motor 10 is started through the control panel 4, the motor 10 drives the driving wheel 11 to rotate, the driving wheel 11 drives the driven wheel 12 and the lead screw 13 to rotate through the belt, the lead screw 13 drives the sliding block 14 and the protective cover 15 to move downwards until the bottom of the protective cover 15 is propped against the top of the machine tool body 1, the protective cover 15 avoids the problems of worker injury and environmental pollution caused by splashing of garbage such as scraps in the machining process, the use safety of the device is improved, the environment cleanliness is improved, meanwhile, the dust suction fan 6 sucks fine scraps in the protective cover 15 into the dust collection box 5 through the dust suction pipe 7 and the dust suction head 20, the scraps with larger volume fall into the machining table 3 or a through hole in the top of the machine tool body 1, the rear sanitary cleaning is convenient, the time cost is saved, the filtering drawer 2 is arranged on the front side of the machine tool body 1, and the water storage tank 16 is arranged inside the machine tool body 1 below the filtering drawer 2, the bottom water outlet of the water storage tank 16 is fixedly connected with a water outlet pipe 17, the top end of the water outlet pipe 17 is fixedly connected with the water inlet end of a water pump 18, the water outlet end of the water pump 18 is fixedly connected with a water spray pipe 19, one end of the water spray pipe 19, which is positioned in the protective cover 15, is fixedly connected with a spray head 21, after the machining is completed, the water pump 18 is started through a control panel 4, the water pump 18 sprays water to the machined part and a machining table 3 thereof through the water outlet pipe 17 and the spray head 21, the cleaning purpose is realized, scraps which are not sucked away by the dust suction fan 6 flow into the filtering drawer 2 under the driving of the cleaning liquid, the scraps are cleaned and discharged, the cleaning liquid conveniently and quickly flows into the water storage tank 16 again under the filtering of the filtering drawer 2, the recycling of the cleaning liquid is realized, and the energy conservation and environmental protection are realized.
The right side of the machine tool body 1 in front of the dust collection box 5 is fixedly connected with a control panel 4, the control panel 4 is respectively connected with a dust collection fan 6, a motor 10 and a water pump 18 through leads to facilitate control and improve working efficiency, the inner walls of the left side and the right side of a support frame 8 are respectively provided with a chute 9, the inner walls of the front side and the rear side of each chute 9 are respectively connected with the front side and the rear side of a slide block 14 in a sliding way, the slide blocks 14 are ensured to move up and down by the chutes 9 to avoid rotating, the bottom ends of lead screws 13 are respectively connected on the inner walls of the bottoms of the chutes 9 in a rotating way to play a supporting role, the left side of the dust collection fan 6 is fixedly connected on the right side of the machine tool body 1, the right side of the water pump 18 is fixedly connected on the left side of the machine tool body 1 to play a supporting and connecting role, the top of the machine tool body 1 is provided with a collection groove with the same inner diameter as a protection cover 15, and the inner walls of the front side and the rear side of the collection groove are fixedly connected with processing tables 3, in being convenient for the washing liquid drives the sweeps and gets into and filter drawer 2, realize the concentrated clearance to the sweeps, all rotate the top of connecting at support frame 8 from the bottom of driving wheel 12, played the supporting role, avoided the risk that drops.
The working principle is as follows: when the numerical control machine tool is in operation, the motor 10 is started through the control panel 4, the motor 10 drives the driving wheel 11 to rotate, the driving wheel 11 drives the driven wheel 12 and the lead screw 13 to rotate through the belt, the lead screw 13 drives the sliding block 14 and the protective cover 15 to move downwards until the bottom of the protective cover 15 abuts against the top of the machine tool body 1, the protective cover 15 avoids the problems of worker injury and environmental pollution caused by splashing of garbage such as scraps in the machining process, the use safety of the device and the cleanliness of the environment are improved, meanwhile, the dust suction fan 6 sucks fine scraps in the protective cover 15 into the dust collection box 5 through the dust suction pipe 7 and the dust suction head 20, the scraps with larger volume fall into the machining table 3 or a through hole in the top of the machine tool body 1, after machining is completed, the water pump 18 is started through the control panel 4, the water pump 18 sprays water to the machined parts and the machining table 3 through the water outlet pipe 17, the water spray pipe 19 and the spray nozzle 21, realized abluent purpose, the sweeps that is not siphoned away by dust absorption fan 6 flows into under the drive of washing liquid and filters in the drawer 2, clears up the chip removal to these sweeps, and convenient and fast makes the sweeps can not lead to the fact the influence to lathe body 1, and the washing liquid reentries catch basin 16 under the filtration of filtering drawer 2, has realized the cyclic utilization of washing liquid, and is energy-concerving and environment-protective.
Finally, it should be noted that: although the present invention has been described in detail with reference to the foregoing embodiments, it will be apparent to those skilled in the art that modifications may be made to the embodiments or portions thereof without departing from the spirit and scope of the utility model.

Claims (8)

1. The utility model provides a chip removal device of digit control machine tool, includes lathe body (1), its characterized in that: the machine tool is characterized in that a dust collection box (5) is fixedly connected to the middle of the right side of the machine tool body (1), a dust collection fan (6) is connected to the left side of the top of the dust collection box (5) through a pipeline, a feed inlet of the dust collection fan (6) is fixedly connected to one end of a dust collection pipe (7), the other end of the dust collection pipe (7) sequentially penetrates through the top of a support frame (8) and the top of a protective cover (15) and is fixedly connected with a dust collection head (20), a motor (10) is fixedly connected to the inner wall of the center of the top of the support frame (8), a drive end of the motor (10) penetrates through the top of the support frame (8) and is fixedly connected with a driving wheel (11), the driving wheel (11) is connected with a driven wheel (12) through a belt, a lead screw (13) is fixedly connected to the bottom of the driven wheel (12), and a sliding block (14) is in threaded connection with the outer diameter of the lead screw (13), one side that slider (14) is close to motor (10) is fixed connection respectively in the left and right sides of protection casing (15), the front side of lathe body (1) is provided with filters drawer (2), inside that lathe body (1) is located filters drawer (2) below is provided with catch basin (16), the bottom delivery port fixedly connected with outlet pipe (17) of catch basin (16), outlet pipe (17) top fixed connection is in the end of intaking of water pump (18), the play water outlet end fixedly connected with spray pipe (19) of water pump (18), one end fixedly connected with shower nozzle (21) that spray pipe (19) are located protection casing (15).
2. The chip removal device of a numerical control machine according to claim 1, characterized in that: the machine tool is characterized in that a control panel (4) is fixedly connected to the right side of the machine tool body (1) in front of the dust collection box (5), and the control panel (4) is connected with the dust collection fan (6), the motor (10) and the water pump (18) through wires respectively.
3. The chip removal device of a numerical control machine according to claim 1, characterized in that: the inner walls of the left side and the right side of the support frame (8) are provided with sliding grooves (9), and the inner walls of the front side and the rear side of each sliding groove (9) are respectively connected to the front side and the rear side of the sliding block (14) in a sliding mode.
4. The chip removal device of a numerical control machine according to claim 1, characterized in that: the bottom end of the lead screw (13) is rotatably connected to the inner wall of the bottom of the sliding groove (9).
5. The chip removal device of a numerical control machine according to claim 1, characterized in that: the left side of the dust collection fan (6) is fixedly connected to the right side of the machine tool body (1).
6. The chip removal device of a numerical control machine according to claim 1, characterized in that: the right side of the water pump (18) is fixedly connected to the left side of the machine tool body (1).
7. The chip removal device of a numerical control machine according to claim 1, characterized in that: the top of the machine tool body (1) is provided with a collecting tank with the same inner diameter as the protective cover (15), and the inner walls of the front side and the rear side of the collecting tank are fixedly connected with processing tables (3).
8. The chip removal device of a numerical control machine according to claim 1, characterized in that: the bottoms of the driven wheels (12) are rotatably connected to the top of the support frame (8).
CN202122515686.6U 2021-10-19 2021-10-19 Chip removal device of numerical control machine tool Expired - Fee Related CN215942302U (en)

Priority Applications (1)

Application Number Priority Date Filing Date Title
CN202122515686.6U CN215942302U (en) 2021-10-19 2021-10-19 Chip removal device of numerical control machine tool

Applications Claiming Priority (1)

Application Number Priority Date Filing Date Title
CN202122515686.6U CN215942302U (en) 2021-10-19 2021-10-19 Chip removal device of numerical control machine tool

Publications (1)

Publication Number Publication Date
CN215942302U true CN215942302U (en) 2022-03-04

Family

ID=80413277

Family Applications (1)

Application Number Title Priority Date Filing Date
CN202122515686.6U Expired - Fee Related CN215942302U (en) 2021-10-19 2021-10-19 Chip removal device of numerical control machine tool

Country Status (1)

Country Link
CN (1) CN215942302U (en)

Cited By (1)

* Cited by examiner, † Cited by third party
Publication number Priority date Publication date Assignee Title
CN117102946A (en) * 2023-10-10 2023-11-24 浙江杰彦自动化科技有限公司 A metal cutting machine tool

Cited By (2)

* Cited by examiner, † Cited by third party
Publication number Priority date Publication date Assignee Title
CN117102946A (en) * 2023-10-10 2023-11-24 浙江杰彦自动化科技有限公司 A metal cutting machine tool
CN117102946B (en) * 2023-10-10 2025-11-21 浙江杰彦自动化科技有限公司 Metal cutting machine tool

Similar Documents

Publication Publication Date Title
CN112077655A (en) Digit control machine tool with safeguard function
CN117161812B (en) Machine tool for automatically cleaning chips
CN108161560A (en) A kind of cleaning device of numerically controlled machine
CN209466022U (en) Chip removal mechanism for machine tool processing
CN215942302U (en) Chip removal device of numerical control machine tool
CN111299700A (en) Circulation belt cleaning device for lift cutting machine
CN213532160U (en) Grind quick-witted polishing solution retrieval and utilization device
CN211760167U (en) Automatic digit control machine tool of chip removal formula
CN221390081U (en) Planer-type numerically controlled fraise machine convenient to it is clean
CN220591780U (en) Gear shaping device
CN215392686U (en) Numerical control milling machine with cleaning function
CN216418452U (en) Cooling liquid filtering device for machine tool machining
CN213730726U (en) Scrap treatment equipment applied to metal cutting machine tool
CN215692896U (en) Electric and automatic dust collector that uses thereof
CN213136022U (en) Processing machine tool with cleaning device
CN211565351U (en) Cutting fluid recycling structure of horizontal shaft rectangular table surface grinding machine
CN115625378A (en) An integrated circulation equipment for a band sawing machine
CN222643942U (en) Numerical control machine tool for hardware part machining
CN218947085U (en) Digit control machine tool with waste material clearance mechanism
CN213615569U (en) Dust extraction is used in lathe processing
CN215035857U (en) Novel numerically controlled fraise machine chip removal device
CN214211461U (en) Cleaning device and processing equipment
CN221135102U (en) Numerical control machine tool with cleaning function
CN220478265U (en) Cutting fluid filtering device of numerical control machine tool
CN214023667U (en) Metal module machining mechanism of numerically controlled milling machine

Legal Events

Date Code Title Description
GR01 Patent grant
GR01 Patent grant
CF01 Termination of patent right due to non-payment of annual fee

Granted publication date: 20220304

CF01 Termination of patent right due to non-payment of annual fee