CN215910145U - 一种生态环境监测用手动式土壤采集器 - Google Patents
一种生态环境监测用手动式土壤采集器 Download PDFInfo
- Publication number
- CN215910145U CN215910145U CN202122429236.5U CN202122429236U CN215910145U CN 215910145 U CN215910145 U CN 215910145U CN 202122429236 U CN202122429236 U CN 202122429236U CN 215910145 U CN215910145 U CN 215910145U
- Authority
- CN
- China
- Prior art keywords
- fixedly connected
- ecological environment
- environment monitoring
- wall
- block
- Prior art date
- Legal status (The legal status is an assumption and is not a legal conclusion. Google has not performed a legal analysis and makes no representation as to the accuracy of the status listed.)
- Expired - Fee Related
Links
- 239000002689 soil Substances 0.000 title claims abstract description 46
- 238000012544 monitoring process Methods 0.000 title claims abstract description 18
- 230000005540 biological transmission Effects 0.000 claims abstract description 16
- 230000006835 compression Effects 0.000 claims description 6
- 238000007906 compression Methods 0.000 claims description 6
- 239000007787 solid Substances 0.000 claims 1
- 238000005527 soil sampling Methods 0.000 abstract description 5
- 235000017166 Bambusa arundinacea Nutrition 0.000 abstract description 2
- 235000017491 Bambusa tulda Nutrition 0.000 abstract description 2
- 241001330002 Bambuseae Species 0.000 abstract description 2
- 235000015334 Phyllostachys viridis Nutrition 0.000 abstract description 2
- 239000011425 bamboo Substances 0.000 abstract description 2
- 230000009467 reduction Effects 0.000 abstract description 2
- 238000001514 detection method Methods 0.000 description 2
- 230000009286 beneficial effect Effects 0.000 description 1
- 238000005553 drilling Methods 0.000 description 1
- 230000006872 improvement Effects 0.000 description 1
- 238000000034 method Methods 0.000 description 1
- 238000012986 modification Methods 0.000 description 1
- 230000004048 modification Effects 0.000 description 1
- 230000008569 process Effects 0.000 description 1
- 238000006467 substitution reaction Methods 0.000 description 1
Images
Landscapes
- Sampling And Sample Adjustment (AREA)
Abstract
本实用新型公开了一种生态环境监测用手动式土壤采集器,包括传动箱,所述传动箱的下表面固定连接有固定管,所述固定管的内壁滑动连接有滑动柱,所述滑动柱的底端固定连接有冂型块,所述固定管的外表面固定连接有支撑块,所述支撑块的上表面开设有螺纹孔,且螺纹孔的内壁螺纹连接有螺杆,所述螺杆的底端固定连接有钻筒。该生态环境监测用手动式土壤采集器,通过摇把、主动齿轮、从动齿轮、六角柱、螺杆和支撑块,便于利用主动齿轮和从动齿轮使摇把带动六角柱转动,并使螺杆带动钻筒向下运动插入地面进行取土,根据功率为力与距离的乘积可知,该土壤取样器更加省力,有限降低采集人员的劳动强度。
Description
技术领域
本实用新型涉及土壤采集技术领域,特别涉及一种生态环境监测用手动式土壤采集器。
背景技术
土壤检测是对生态环境监测的一种手段,土壤检测需要到目标区域取土,为保证取土的完整性,一般都会使用土壤采集器。
土壤采集器由钻头和手柄两部分组成,钻头一般为筒状结构,在采集坚硬土壤时,采用手柄带动钻头下降,往往需要很大的力,极大增加了采集人员的劳动强度,基于此,需要提出进一步的改进。
实用新型内容
本实用新型的目的在于提供一种生态环境监测用手动式土壤采集器,以解决上述背景技术中提出的在采集坚硬土壤时,利用手柄带动钻头下降,需要很大的力,增加采集人员的劳动强度的问题。
为实现上述目的,本实用新型提供如下技术方案:一种生态环境监测用手动式土壤采集器,包括传动箱,所述传动箱的下表面固定连接有固定管,所述固定管的内壁滑动连接有滑动柱,所述滑动柱的底端固定连接有冂型块,所述固定管的外表面固定连接有支撑块,所述支撑块的上表面开设有螺纹孔,且螺纹孔的内壁螺纹连接有螺杆,所述螺杆的底端固定连接有钻筒;
所述传动箱的内顶壁和内底壁通过轴承转动连接有主动齿轮和从动齿轮,且主动齿轮与从动齿轮啮合连接,所述主动齿轮的下表面固定连接有六角柱,所述从动齿轮的上表面固定连接有摇把。
优选的,所述传动箱的两侧均固定连接有握把,所述握把的外表面套设有海绵套。
优选的,所述固定管和滑动柱的数量均为两个,所述滑动柱的外表面开设有凹槽,且凹槽的内壁设置有球头柱塞,所述固定管的外表面开设有若干个与球头柱塞适配的卡孔。
优选的,所述螺杆的顶端开设有与六角柱适配的六角槽。
优选的,所述冂型块的两侧均开设有圆孔,且圆孔的内壁通过转轴转动连接有转动轴,所述转动轴的一端固定连接有脚踏板,所述脚踏板的下表面固定连接有滚轮,所述转动轴的外表面固定连接有限位块,所述冂型块的侧面开设有限位槽,且限位槽的内壁滑动连接有卡柱,所述卡柱的一端固定连接有限位弹簧。
优选的,所述限位块的侧面开设有两个与卡柱适配的限位孔,且两个限位孔对称开设在限位块侧面的前后端。
优选的,所述钻筒的内壁滑动连接有推板,所述钻筒的上表面开设有滑孔,且滑孔的内壁滑动连接有推杆,所述推杆的底端与推板的上表面固定连接,所述推杆的顶端固定连接有移动块,所述推杆的外表面套设有压缩弹簧,且压缩弹簧的两端分别与钻筒的上表面与移动块的下表面搭接。
优选的,所述主动齿轮与从动齿轮的齿数比为3∶1。
与现有技术相比,本实用新型的有益效果是:该生态环境监测用手动式土壤采集器便于;
(1)通过球头柱塞卡入不同的卡孔,方便调节该土壤采集器的高度,从而节约运输体积,更加方便运输,通过转动轴、脚踏板、滚轮、限位块、卡柱和限位孔,便于转动脚踏板,利用滚轮朝下来运输该土壤采集器,利用滚轮朝上,用脚踩住脚踏板来采集土壤,防止该土壤采集器跑动;通过踩动移动块,便于带动推板将钻筒内采集的土壤推出;
(2)通过摇把、主动齿轮、从动齿轮、六角柱、螺杆和支撑块,便于利用主动齿轮和从动齿轮使摇把带动六角柱转动,并使螺杆带动钻筒向下运动插入地面进行取土,根据功率为力与距离的乘积可知,该土壤取样器更加省力,有限降低采集人员的劳动强度。
附图说明
为了更清楚地说明本实用新型实施例或现有技术中的技术方案,下面将对实施例或现有技术描述中所需要使用的附图作简单地介绍,显而易见地,下面描述中的附图是本实用新型的一些实施例,对于本领域普通技术人员来讲,在不付出创造性劳动的前提下,还可以根据这些附图获得其他的附图。
图1为本实用新型的立体结构示意图;
图2为本实用新型的正剖结构示意图;
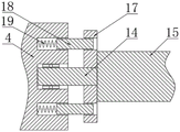
图3为本实用新型的图2中A处放大结构示意图;
图4为本实用新型的传动箱俯剖结构示意图;
图5为本实用新型的冂型块俯剖结构示意图。
图中的附图标记说明:1、传动箱;2、固定管;3、滑动柱;4、冂型块;5、支撑块;6、螺杆;7、钻筒;8、主动齿轮;9、从动齿轮;10、六角柱;11、摇把;12、握把;13、球头柱塞;14、转动轴;15、脚踏板;16、滚轮;17、限位块;18、卡柱;19、限位弹簧;20、推板;21、推杆;22、移动块;23、压缩弹簧。
具体实施方式
为使本实用新型实施例的目的、技术方案和优点更加清楚,下面将结合本实用新型实施例中的附图,对本实用新型实施例中的技术方案进行清楚、完整地描述,显然,所描述的实施例是本实用新型一部分实施例,而不是全部的实施例。基于本实用新型中的实施例,本领域普通技术人员在没有作创造性劳动前提下所获得的所有其他实施例,都属于本实用新型保护的范围。
请参阅图1-5,本实用新型提供的一种实施例:一种生态环境监测用手动式土壤采集器,包括传动箱1,传动箱1的两侧均固定连接有握把12,握把12的外表面套设有海绵套;
具体的,如图1和图2所示,使用时,通过握把12,方便采集者手持进行操作,同时利用握把12来移动该土壤采集器;
传动箱1的下表面固定连接有固定管2,固定管2的内壁滑动连接有滑动柱3,固定管2和滑动柱3的数量均为两个,滑动柱3的外表面开设有凹槽,且凹槽的内壁设置有球头柱塞13,固定管2的外表面开设有若干个与球头柱塞13适配的卡孔,滑动柱3的底端固定连接有冂型块4,固定管2的外表面固定连接有支撑块5,支撑块5的上表面开设有螺纹孔,且螺纹孔的内壁螺纹连接有螺杆6,螺杆6的底端固定连接有钻筒7,冂型块4的上表面开设有与钻筒7适配的通过孔;
具体的,如图1、图2和图3所示,使用时,通过按动球头柱塞13,将球头柱塞13卡入不同的卡孔内,对该土壤取样器的高度进行调节,有效降低占地面积,从而方便移动过程中的携带;
冂型块4的两侧均开设有圆孔,且圆孔的内壁通过转轴转动连接有转动轴14,转动轴14的一端固定连接有脚踏板15,脚踏板15的下表面固定连接有滚轮16,转动轴14的外表面固定连接有限位块17,冂型块4的侧面开设有限位槽,且限位槽的内壁滑动连接有卡柱18,限位块17的侧面开设有两个与卡柱18适配的限位孔,且两个限位孔对称开设在限位块17侧面的前后端,卡柱18的一端固定连接有限位弹簧19;
具体的,如图1、图2和图5所示,使用时,通过按动卡柱18来转动脚踏板15,选择性将滚轮16一面和非滚轮16一面转动至底端,从而方便该土壤采集器的移动和土壤采集时脚踩该采集器进行固定;
钻筒7的内壁滑动连接有推板20,钻筒7的上表面开设有滑孔,且滑孔的内壁滑动连接有推杆21,推杆21的底端与推板20的上表面固定连接,推杆21的顶端固定连接有移动块22,移动块22的上表面开设有与螺杆6适配的孔,推杆21的外表面套设有压缩弹簧23,且压缩弹簧23的两端分别与钻筒7的上表面与移动块22的下表面搭接;
具体的,如图1和图2所示,使用时,通过踩动移动块22,使移动块22带动推板20下降,并将钻筒7内部的土壤挤出,从而方便钻筒7内土壤的排出收集;
传动箱1的内顶壁和内底壁通过轴承转动连接有主动齿轮8和从动齿轮9,且主动齿轮8与从动齿轮9啮合连接,主动齿轮8与从动齿轮9的齿数比为3∶1,主动齿轮8的下表面固定连接有六角柱10,螺杆6的顶端开设有与六角柱10适配的六角槽,从动齿轮9的上表面固定连接有摇把11;
具体的,如图1、图2和图4所示,使用时,通过摇把11、主动齿轮8、从动齿轮9、六角柱10、螺杆6和支撑块5,便于利用主动齿轮8和从动齿轮9使摇把11带动六角柱10转动,并使螺杆6带动钻筒7向下运动插入地面进行取土,根据功率为力与距离的乘积可知,力与距离呈反比,从而使该土壤取样器更加省力,有限降低采集人员的劳动强度。
工作原理:本实用新型在使用时,首先采集人员手持握把12,利用滚轮16将该土壤采集器移动至采集地点,然后按动卡柱18,使脚踏板15转动一百八十度,并按动球头柱塞13,调节该土壤采集器的高度;
接着采集者脚踩着脚踏板15,转动摇把11,利用主动齿轮8和从动齿轮9使螺杆6向下运动,并使钻筒7插入土里;
待钻土完毕后,反向转动摇把11,使钻筒7上升,接着将土壤采集器移动至旁边,脚踩着移动块22,利用推板20将土壤推出即可。
在本实用新型的描述中,需要说明的是,除非另有明确的规定和限定,术语“安装”、“相连”、“连接”应做广义理解,例如,可以是固定连接,也可以是可拆卸连接,或一体地连接;可以是机械连接,也可以是电连接;可以是直接相连,也可以通过中间媒介间接相连,可以是两个元件内部的连通。对于本领域的普通技术人员而言,可以具体情况理解上述术语在本实用新型中的具体含义。
以上所描述的装置实施例仅仅是示意性的,其中所述作为分离部件说明的单元可以是或者也可以不是物理上分开的,作为单元显示的部件可以是或者也可以不是物理单元,即可以位于一个地方,或者也可以分布到多个网络单元上。可以根据实际的需要选择其中的部分或者全部模块来实现本实施例方案的目的。本领域普通技术人员在不付出创造性的劳动的情况下,即可以理解并实施。
最后应说明的是:以上实施例仅用以说明本实用新型的技术方案,而非对其限制;尽管参照前述实施例对本实用新型进行了详细的说明,本领域的普通技术人员应当理解:其依然可以对前述各实施例所记载的技术方案进行修改,或者对其中部分技术特征进行等同替换;而这些修改或者替换,并不使相应技术方案的本质脱离本实用新型各实施例技术方案的精神和范围。
Claims (8)
1.一种生态环境监测用手动式土壤采集器,包括传动箱(1),其特征在于:所述传动箱(1)的下表面固定连接有固定管(2),所述固定管(2)的内壁滑动连接有滑动柱(3),所述滑动柱(3)的底端固定连接有冂型块(4),所述固定管(2)的外表面固定连接有支撑块(5),所述支撑块(5)的上表面开设有螺纹孔,且螺纹孔的内壁螺纹连接有螺杆(6),所述螺杆(6)的底端固定连接有钻筒(7);
所述传动箱(1)的内顶壁和内底壁通过轴承转动连接有主动齿轮(8)和从动齿轮(9),且主动齿轮(8)与从动齿轮(9)啮合连接,所述主动齿轮(8)的下表面固定连接有六角柱(10),所述从动齿轮(9)的上表面固定连接有摇把(11)。
2.根据权利要求1所述的一种生态环境监测用手动式土壤采集器,其特征在于:所述传动箱(1)的两侧均固定连接有握把(12),所述握把(12)的外表面套设有海绵套。
3.根据权利要求1所述的一种生态环境监测用手动式土壤采集器,其特征在于:所述固定管(2)和滑动柱(3)的数量均为两个,所述滑动柱(3)的外表面开设有凹槽,且凹槽的内壁设置有球头柱塞(13),所述固定管(2)的外表面开设有若干个与球头柱塞(13)适配的卡孔。
4.根据权利要求1所述的一种生态环境监测用手动式土壤采集器,其特征在于:所述螺杆(6)的顶端开设有与六角柱(10)适配的六角槽。
5.根据权利要求1所述的一种生态环境监测用手动式土壤采集器,其特征在于:所述冂型块(4)的两侧均开设有圆孔,且圆孔的内壁通过转轴转动连接有转动轴(14),所述转动轴(14)的一端固定连接有脚踏板(15),所述脚踏板(15)的下表面固定连接有滚轮(16),所述转动轴(14)的外表面固定连接有限位块(17),所述冂型块(4)的侧面开设有限位槽,且限位槽的内壁滑动连接有卡柱(18),所述卡柱(18)的一端固定连接有限位弹簧(19)。
6.根据权利要求5所述的一种生态环境监测用手动式土壤采集器,其特征在于:所述限位块(17)的侧面开设有两个与卡柱(18)适配的限位孔,且两个限位孔对称开设在限位块(17)侧面的前后端。
7.根据权利要求1所述的一种生态环境监测用手动式土壤采集器,其特征在于:所述钻筒(7)的内壁滑动连接有推板(20),所述钻筒(7)的上表面开设有滑孔,且滑孔的内壁滑动连接有推杆(21),所述推杆(21)的底端与推板(20)的上表面固定连接,所述推杆(21)的顶端固定连接有移动块(22),所述推杆(21)的外表面套设有压缩弹簧(23),且压缩弹簧(23)的两端分别与钻筒(7)的上表面与移动块(22)的下表面搭接。
8.根据权利要求1所述的一种生态环境监测用手动式土壤采集器,其特征在于:所述主动齿轮(8)与从动齿轮(9)的齿数比为3∶1。
Priority Applications (1)
| Application Number | Priority Date | Filing Date | Title |
|---|---|---|---|
| CN202122429236.5U CN215910145U (zh) | 2021-10-09 | 2021-10-09 | 一种生态环境监测用手动式土壤采集器 |
Applications Claiming Priority (1)
| Application Number | Priority Date | Filing Date | Title |
|---|---|---|---|
| CN202122429236.5U CN215910145U (zh) | 2021-10-09 | 2021-10-09 | 一种生态环境监测用手动式土壤采集器 |
Publications (1)
| Publication Number | Publication Date |
|---|---|
| CN215910145U true CN215910145U (zh) | 2022-02-25 |
Family
ID=80311802
Family Applications (1)
| Application Number | Title | Priority Date | Filing Date |
|---|---|---|---|
| CN202122429236.5U Expired - Fee Related CN215910145U (zh) | 2021-10-09 | 2021-10-09 | 一种生态环境监测用手动式土壤采集器 |
Country Status (1)
| Country | Link |
|---|---|
| CN (1) | CN215910145U (zh) |
Cited By (1)
| Publication number | Priority date | Publication date | Assignee | Title |
|---|---|---|---|---|
| CN118500806A (zh) * | 2024-07-19 | 2024-08-16 | 内蒙古大学 | 草原生态环境监测用的土壤检测钻取装置 |
-
2021
- 2021-10-09 CN CN202122429236.5U patent/CN215910145U/zh not_active Expired - Fee Related
Cited By (2)
| Publication number | Priority date | Publication date | Assignee | Title |
|---|---|---|---|---|
| CN118500806A (zh) * | 2024-07-19 | 2024-08-16 | 内蒙古大学 | 草原生态环境监测用的土壤检测钻取装置 |
| CN118500806B (zh) * | 2024-07-19 | 2024-09-10 | 内蒙古大学 | 草原生态环境监测用的土壤检测钻取装置 |
Similar Documents
| Publication | Publication Date | Title |
|---|---|---|
| CN214538647U (zh) | 一种岩土工程用岩土取样装置 | |
| CN114739723A (zh) | 一种建筑监测用土壤酸碱度检测的取土装置 | |
| CN215910145U (zh) | 一种生态环境监测用手动式土壤采集器 | |
| CN115493884A (zh) | 一种土壤检测用土壤取样装置 | |
| CN110231193A (zh) | 一种土壤快速取样装置 | |
| CN206710127U (zh) | 一种螺旋式取土装置 | |
| CN212903996U (zh) | 一种土壤检测设备用土壤采集组件 | |
| CN113295453B (zh) | 一种土壤取样装置及取样方法 | |
| CN209311126U (zh) | 一种多功能土壤检测取样装置 | |
| CN220225228U (zh) | 一种市政工程监理取样装置 | |
| CN218212065U (zh) | 一种河岸坡土体快速取样装置 | |
| CN209416750U (zh) | 一种土地规划用多层次土样采集装置 | |
| CN216978416U (zh) | 可进行水质和土质分类存储取样的环境保护用检测设备 | |
| CN119643208B (zh) | 一种土壤环境检测用取样装置及其操作方法 | |
| CN219416803U (zh) | 一种土壤取样器 | |
| CN213580211U (zh) | 一种林业种植用便捷式土壤取样辅助装置 | |
| CN211825138U (zh) | 一种国土资源土质取样装置 | |
| CN112065271B (zh) | 一种方便省力的土钻 | |
| CN212458917U (zh) | 一种农业技术推广用土壤取样设备 | |
| CN210802975U (zh) | 一种环境污染水质的淤泥取样装置 | |
| CN219348239U (zh) | 一种土壤调查用取样装置 | |
| CN217586358U (zh) | 一种土壤监测用收集装置 | |
| CN118883141A (zh) | 一种用于矿坑修复的采样装置 | |
| CN216349637U (zh) | 一种土壤质量检测设备 | |
| CN112824860A (zh) | 一种新型岩土工程勘察取样器 |
Legal Events
| Date | Code | Title | Description |
|---|---|---|---|
| GR01 | Patent grant | ||
| GR01 | Patent grant | ||
| CF01 | Termination of patent right due to non-payment of annual fee |
Granted publication date: 20220225 |
|
| CF01 | Termination of patent right due to non-payment of annual fee |