CN215832379U - Drying equipment for lithium battery production - Google Patents
Drying equipment for lithium battery production Download PDFInfo
- Publication number
- CN215832379U CN215832379U CN202121886201.8U CN202121886201U CN215832379U CN 215832379 U CN215832379 U CN 215832379U CN 202121886201 U CN202121886201 U CN 202121886201U CN 215832379 U CN215832379 U CN 215832379U
- Authority
- CN
- China
- Prior art keywords
- box body
- carrier roller
- fan
- lithium battery
- drying
- Prior art date
- Legal status (The legal status is an assumption and is not a legal conclusion. Google has not performed a legal analysis and makes no representation as to the accuracy of the status listed.)
- Active
Links
- 238000001035 drying Methods 0.000 title claims abstract description 55
- WHXSMMKQMYFTQS-UHFFFAOYSA-N Lithium Chemical compound [Li] WHXSMMKQMYFTQS-UHFFFAOYSA-N 0.000 title claims abstract description 51
- 229910052744 lithium Inorganic materials 0.000 title claims abstract description 51
- 238000004519 manufacturing process Methods 0.000 title claims abstract description 16
- 238000007789 sealing Methods 0.000 claims abstract description 11
- 238000010438 heat treatment Methods 0.000 claims description 10
- 238000001914 filtration Methods 0.000 claims description 5
- 239000012780 transparent material Substances 0.000 claims description 3
- XLYOFNOQVPJJNP-UHFFFAOYSA-N water Chemical compound O XLYOFNOQVPJJNP-UHFFFAOYSA-N 0.000 abstract description 4
- 230000000149 penetrating effect Effects 0.000 abstract description 3
- 238000000034 method Methods 0.000 description 3
- 230000006378 damage Effects 0.000 description 2
- 208000027418 Wounds and injury Diseases 0.000 description 1
- 238000010521 absorption reaction Methods 0.000 description 1
- 230000004075 alteration Effects 0.000 description 1
- 230000009286 beneficial effect Effects 0.000 description 1
- 239000000428 dust Substances 0.000 description 1
- 238000005516 engineering process Methods 0.000 description 1
- 208000014674 injury Diseases 0.000 description 1
- 238000012986 modification Methods 0.000 description 1
- 230000004048 modification Effects 0.000 description 1
- 238000013021 overheating Methods 0.000 description 1
- 238000006467 substitution reaction Methods 0.000 description 1
- 239000005341 toughened glass Substances 0.000 description 1
- 238000009423 ventilation Methods 0.000 description 1
Images
Landscapes
- Battery Electrode And Active Subsutance (AREA)
Abstract
The utility model discloses drying equipment for lithium battery production, which comprises a box body, wherein the front surface of the box body is connected with a sealing door through a hinge, and two sides outside the box body are respectively provided with a first fan and a controller; one end of the first fan is fixedly connected with the air filter device, and the other end of the first fan is fixedly connected with a drying nozzle in the box body through an air supply pipe; a first mounting plate is arranged above the drying nozzle, a rotating motor is fixed on the first mounting plate, the rotating motor is fixedly connected with a sliding device, the sliding device is fixedly connected with the drying nozzle through an electric telescopic rod, a second mounting plate is arranged below the drying nozzle, a plurality of carrier roller supports are arranged on the second mounting plate at intervals in parallel, an air outlet groove is arranged between every two adjacent carrier roller supports in a penetrating manner, carrier roller groups for placing lithium batteries are fixed on the carrier roller supports, temperature sensors are arranged on two sides of each carrier roller group, and the temperature sensors are electrically connected with a controller; the bottom of the box body is provided with a second fan for extracting water vapor; meanwhile, the device is simple in structure, high in drying efficiency and good in practicability.
Description
Technical Field
The utility model relates to the technical field of lithium battery production, in particular to drying equipment for lithium battery production.
Background
The lithium battery is widely adopted in the market as a relatively mature storage battery at present due to large storage capacity and stable property. Unavoidable in the lithium cell automated production in-process has moisture, in order to prolong the life of lithium cell, must dry the moisture on the lithium cell before putting into use, avoids causing irreparable functional injury to the lithium cell. At present, current drying equipment is too simple, and generally all places the lithium cell quiet in the inside of stoving case, and homogeneity when having reduced the lithium cell and drying has slowed down the stoving speed of lithium cell, has weakened the efficiency of lithium cell stoving case during operation, and current lithium cell stoving case is at the in-process of drying because the ventilation in time causes the lithium cell bottom to get damp moreover, causes lithium cell life to reduce. Therefore, a new technical scheme needs to be designed for solving the problem.
SUMMERY OF THE UTILITY MODEL
The utility model aims to provide a drying device for lithium battery production to solve the problems in the background technology.
In order to achieve the purpose, the utility model adopts the following technical scheme:
the drying equipment for lithium battery production comprises a box body, wherein the front surface of the box body is connected with a sealing door through a hinge, and two sides of the outside of the box body are respectively provided with a first fan and a controller; one end of the first fan is fixedly connected with the air filter device, and the other end of the first fan is fixedly connected with a drying nozzle in the box body through an air supply pipe; the drying device is characterized in that the drying nozzle is hollow and is uniformly provided with a plurality of air outlet holes at the bottom, a first mounting plate is fixed on the inner wall of the box body above the drying nozzle, a rotating motor is fixed on the first mounting plate, the rotating motor is fixedly connected with a sliding device, the sliding device is fixedly connected with the drying nozzle through an electric telescopic rod, a second mounting plate fixed on the inner wall of the box body is arranged below the drying nozzle, a plurality of carrier roller supports are arranged on the second mounting plate at intervals in parallel, an air outlet groove is arranged between every two adjacent carrier roller supports in a penetrating manner, a carrier roller group used for placing a lithium battery is fixed on each carrier roller support, temperature sensors fixed on the second mounting plate are arranged on two sides of each carrier roller group, and the temperature sensors are electrically connected with a controller; the bottom of the box body is provided with an air outlet pipe, and the air outlet pipe is fixedly connected with a second fan.
As a further improvement of the utility model, the air filtering device comprises an air storage chamber fixed at the outer side of the box body and provided with openings at two ends, wherein an opening at one end of the air storage chamber is fixedly connected with the first fan, and a filter screen is arranged at an opening at the other end of the air storage chamber; and a heating wire is arranged above the filter screen and electrically connected with the controller.
As a further improvement of the utility model, the sliding device comprises a screw rod and a sliding block sleeved on the screw rod, one end of the screw rod is fixedly connected with a driving shaft of the rotating motor, the other end of the screw rod is rotatably connected with the side wall of the box body, and the bottom of the sliding block is fixedly connected with the electric telescopic rod.
As a further improvement of the utility model, the carrier roller group comprises a driving carrier roller and a plurality of driven carrier rollers, a chain wheel is fixed at one end of the driving carrier roller and one end of each driven carrier roller which are on the same side, a chain is sleeved on each chain wheel, and the driving carrier rollers are electrically driven.
As a further improvement of the carrier roller group, sponge is arranged on the contact surfaces of the driving carrier roller and the driven carrier roller and the lithium battery, water is absorbed, and the friction force of the contact surfaces of the driving carrier roller and the driven carrier roller and the lithium battery is improved.
As a further improvement of the utility model, the controller is respectively and electrically connected with the rotating motor, the first fan, the second fan, the driving carrier roller and the electric telescopic rod.
As a further improvement of the utility model, the sealing door is made of transparent material, so that the drying condition in the drying box can be observed conveniently.
Compared with the prior art, the utility model has the following beneficial effects:
1. through the matching of the sliding device and the electric telescopic rod, the distance between the drying nozzle and the lithium battery can be adjusted according to the surface humidity degree of the lithium battery, and the drying efficiency is improved; meanwhile, the sliding device drives the drying nozzle to move back and forth, so that the situation that the surface temperature of the local lithium battery is too high and danger is caused can be prevented.
2. The cylindrical lithium battery is continuously turned in the drying process by arranging the carrier roller group, so that the uniformity of the lithium battery in drying is improved, and meanwhile, the drying speed of the lithium battery is increased and the working efficiency of the lithium battery drying box is improved by arranging the sponge on the surface of the carrier roller;
3. by arranging the temperature sensor, the temperature condition in the drying box is monitored in time, and accidents caused by overheating are prevented;
4. the sealing door adopts transparent material can observe the stoving condition of lithium cell at any time, makes things convenient for operating personnel in time to adjust according to actual conditions.
Drawings
FIG. 1 is a schematic view of the internal structure of the present invention;
FIG. 2 is a schematic view of the external structure of the present invention;
fig. 3 is a top view of the idler set structure of the present invention;
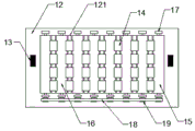
in the figure, 1-box body, 2-sealing door, 3-second fan, 301-air outlet pipe, 4-first fan, 401-air outlet pipe, 5-controller, 6-rotating motor, 601-first mounting plate, 7-air filter device, 701-air storage chamber, 702-filter screen, 703-heating wire, 8-lead screw, 9-slide block, 10-electric telescopic rod, 11-drying nozzle, 111-air outlet, 12-second mounting plate, 121-air outlet groove, 13-temperature sensor, 14-battery, 15-driving carrier roller, 16-driven carrier roller, 17-carrier roller bracket, 18-chain and 19-chain wheel.
Detailed Description
The utility model is further described with reference to the following figures and detailed description.
As shown in fig. 1-3, a drying device for lithium battery production comprises a box body 1, wherein a sealing door 2 is hinged to the front surface of the box body 1 through a hinge, and a first fan 4 and a controller 5 are respectively arranged on two sides of the outside of the box body 1; one end of the first fan 4 is fixedly connected with the air filter device 7, and the other end of the first fan is fixedly connected with the drying nozzle 11 in the box body 1 through the blast pipe 401; the drying nozzle 11 is hollow and is uniformly provided with a plurality of air outlet holes 111 at the bottom, a first mounting plate 601 is fixed on the inner wall of the box body above the drying nozzle 11, a rotating motor 6 is fixed on the first mounting plate 601, the rotating motor 6 is fixedly connected with a sliding device, the sliding device is fixedly connected with the drying nozzle 11 through an electric telescopic rod 10, a second mounting plate 12 fixed on the inner wall of the box body 1 is arranged below the drying nozzle 11, a plurality of carrier roller supports 17 are arranged on the second mounting plate 12 at intervals in parallel, an air outlet groove 121 is arranged between every two adjacent carrier roller supports 17 in a penetrating manner, a carrier roller set used for placing a lithium battery 14 is fixed on each carrier roller support 17, temperature sensors 13 fixed on the second mounting plate 12 are arranged on two sides of each carrier roller set, and the temperature sensors 13 are electrically connected with the controller 5; an air outlet pipe 301 is arranged at the bottom of the box body 1, and the air outlet pipe 301 is fixedly connected with the second fan 3.
Specifically, the air filtering device 7 comprises an air storage chamber 701 fixed at the outer side of the box body and provided with openings at two ends, one opening at one end of the air storage chamber 701 is fixedly connected with the first fan 4, and a filter screen 702 is arranged at the opening at the other end of the air storage chamber 701 and used for filtering dust in air; a heating wire 703 is arranged above the filter screen 702, and the heating wire 703 is electrically connected with the controller 5; the temperature in the box body is monitored through the temperature sensor 13, so that the damage to the battery caused by overhigh temperature in the box body is prevented; meanwhile, when the temperature is too high, the power supply of the heating wire 703 is cut off by the controller 5 by transmitting an alarm electric signal sent by the temperature sensor 13 to the controller 5; when the temperature is low and the drying efficiency is reduced, the power supply of the heating wire 703 can be switched on through the controller 5, so that the air supply temperature is increased.
Specifically, slider 9 on lead screw 8 is established to slider includes lead screw 8 and cover, 8 one ends of lead screw with rotating electrical machines 6's drive shaft fixed connection, the 8 other ends of lead screw with 1 lateral wall of box rotates and is connected, 9 bottoms of slider and electric telescopic handle 10 fixed connection. Through the back-and-forth sliding of the sliding block 9, the lithium batteries placed at all positions in the box body 1 can be uniformly dried, and the local temperature in the box body is prevented from being overhigh; the electric telescopic rod 10 can enable the drying nozzle 11 to be close to the lithium battery, drying speed is improved, and working efficiency is improved.
Specifically, the carrier roller group comprises a driving carrier roller 15 and a plurality of driven carrier rollers 16, a chain wheel 19 is fixed at one end of the driving carrier roller 15, which is located at the same side of the driven carrier rollers 16, a chain 18 is sleeved on the chain wheel 19, and the driving carrier roller 15 is electrically driven. In addition, sponge is further bonded on the contact surfaces of the driving carrier roller 15 and the driven carrier roller 16 and the lithium battery 14, so that friction force between the carrier roller and the lithium battery can be increased, the lithium battery is prevented from rotating, the water absorption of the sponge can be utilized, and the drying efficiency is improved.
Specifically, the controller 5 is electrically connected with the rotating electric machine 6, the first fan 4, the second fan 3, the driving carrier roller 15 and the electric telescopic rod 10 respectively.
Specifically, the sealing door 2 is made of high-temperature resistant toughened glass, so that workers can conveniently observe the drying condition of the battery in the box at any time; the air supply pipe 401 is a threaded telescopic hose and can be stretched according to the use condition.
The working process of the utility model is as follows: when the lithium battery drying device is used, the sealing door 2 is opened, the cylindrical lithium batteries 14 are uniformly and densely arranged between two adjacent carrier rollers, then the sealing door 2 is closed, the power supply is switched on, the distance between the electric telescopic rod 10 and the lithium batteries is adjusted through the controller 5, and after the adjustment is in place, the rotating motor 6, the first fan 4, the second fan 3, the driving carrier roller 15 and the air filtering device 7 are started to dry the lithium batteries; when the temperature sensor detects that the temperature in the box body 1 exceeds a set value, the power supply of the heating wire 703 can be intermittently disconnected, and the power supply of the heating wire 703 is reconnected after the temperature is reduced; meanwhile, the water vapor generated in the drying process can enter the bottom of the box body through the air outlet groove 121 reserved on the second mounting plate 12 and is extracted out through the second fan 3.
Although embodiments of the present invention have been shown and described, it will be appreciated by those skilled in the art that changes, modifications, substitutions and alterations can be made in these embodiments without departing from the principles and spirit of the utility model, the scope of which is defined in the appended claims and their equivalents.
Claims (7)
1. The utility model provides a drying equipment is used in lithium cell production which characterized in that: the air conditioner comprises a box body (1), wherein the front surface of the box body (1) is connected with a sealing door (2) through a hinge, and a first fan (4) and a controller (5) are respectively arranged on two sides of the outer part of the box body (1); one end of the first fan (4) is connected with an air filter device (7), and the other end of the first fan is fixedly connected with a drying nozzle (11) in the box body (1) through an air supply pipe (401); the utility model discloses a drying device, including stoving mouth (11), drying nozzle, rotating electrical machines, sliding device, electric telescopic handle (10) and stoving mouth (11), drying nozzle (11) is fixed with first mounting panel (601) on the box inner wall of inside cavity and bottom, be fixed with rotating electrical machines (6) on first mounting panel (601), be connected with sliding device on rotating electrical machines (6), sliding device passes through electric telescopic handle (10) and stoving mouth (11) fixed connection, stoving mouth (11) below is provided with second mounting panel (12) that are fixed in box (1) inner wall, interval parallel arrangement has a plurality of bearing roller supports (17) on second mounting panel (12), it is equipped with air outlet groove (121) to run through between bearing roller support (17), be fixed with the bearing roller group that is used for placing lithium cell (14) on bearing roller support (17), bearing roller group both sides are provided with temperature sensor (13) that are fixed in on second mounting panel (12), the temperature sensor (13) is electrically connected with the controller (5); the air outlet pipe (301) is arranged at the bottom of the box body (1), and the air outlet pipe (301) is fixedly connected with the second fan (3).
2. The drying equipment for lithium battery production of claim 1, characterized in that: the air filtering device (7) comprises an air storage chamber (701) fixed at the outer side of the box body and provided with openings at two ends, an opening at one end of the air storage chamber (701) is fixedly connected with the first fan (4), and a filter screen (702) is arranged at an opening at the other end of the air storage chamber (701); a heating wire (703) is arranged above the filter screen (702), and the heating wire (703) is electrically connected with the controller (5).
3. The drying equipment for lithium battery production of claim 1, characterized in that: the sliding device comprises a lead screw (8) and a sliding block (9) sleeved on the lead screw (8), one end of the lead screw (8) is fixedly connected with a driving shaft of the rotating motor (6), the other end of the lead screw (8) is rotatably connected with the side wall of the box body (1), and the bottom of the sliding block (9) is fixedly connected with an electric telescopic rod (10).
4. The drying equipment for lithium battery production of claim 1, characterized in that: the carrier roller group comprises a driving carrier roller (15) and a plurality of driven carrier rollers (16), wherein a chain wheel (19) is fixed at one end of the driving carrier roller (15) and one end of each driven carrier roller (16) which are located on the same side, a chain (18) is sleeved on each chain wheel (19), and the driving carrier rollers (15) are electrically driven.
5. The drying equipment for lithium battery production of claim 4, characterized in that: sponge is arranged on the contact surfaces of the driving carrier roller (15) and the driven carrier roller (16) and the lithium battery (14).
6. The drying equipment for lithium battery production of claim 1, characterized in that: the controller (5) is respectively and electrically connected with the rotating motor (6), the first fan (4), the second fan (3), the driving carrier roller (15) and the electric telescopic rod (10).
7. The drying equipment for lithium battery production of claim 1, characterized in that: the sealing door (2) is made of transparent materials.
Priority Applications (1)
| Application Number | Priority Date | Filing Date | Title |
|---|---|---|---|
| CN202121886201.8U CN215832379U (en) | 2021-08-12 | 2021-08-12 | Drying equipment for lithium battery production |
Applications Claiming Priority (1)
| Application Number | Priority Date | Filing Date | Title |
|---|---|---|---|
| CN202121886201.8U CN215832379U (en) | 2021-08-12 | 2021-08-12 | Drying equipment for lithium battery production |
Publications (1)
| Publication Number | Publication Date |
|---|---|
| CN215832379U true CN215832379U (en) | 2022-02-15 |
Family
ID=80194781
Family Applications (1)
| Application Number | Title | Priority Date | Filing Date |
|---|---|---|---|
| CN202121886201.8U Active CN215832379U (en) | 2021-08-12 | 2021-08-12 | Drying equipment for lithium battery production |
Country Status (1)
| Country | Link |
|---|---|
| CN (1) | CN215832379U (en) |
Cited By (1)
| Publication number | Priority date | Publication date | Assignee | Title |
|---|---|---|---|---|
| CN117329825A (en) * | 2023-11-06 | 2024-01-02 | 广东锦业华科技有限公司 | A lithium battery cell baking device and its process |
-
2021
- 2021-08-12 CN CN202121886201.8U patent/CN215832379U/en active Active
Cited By (1)
| Publication number | Priority date | Publication date | Assignee | Title |
|---|---|---|---|---|
| CN117329825A (en) * | 2023-11-06 | 2024-01-02 | 广东锦业华科技有限公司 | A lithium battery cell baking device and its process |
Similar Documents
| Publication | Publication Date | Title |
|---|---|---|
| CN108168237A (en) | Chinese medicinal material up-down vibration drying unit | |
| CN213613080U (en) | Lithium ion battery pole piece pelleter | |
| CN215832379U (en) | Drying equipment for lithium battery production | |
| CN208205671U (en) | A kind of polar plate of lead acid storage battery drying unit | |
| CN212987896U (en) | High-efficient drying device is used in tea processing | |
| CN210486386U (en) | Secondary battery drying device | |
| CN210425952U (en) | A cloth drying device for production of knitting vamp | |
| CN111331412B (en) | Hydrogen fuel cell production and processing equipment | |
| CN218821448U (en) | Drying device for lithium-manganese button cell | |
| CN220959240U (en) | Paper product drying equipment convenient to temperature regulation | |
| CN218296586U (en) | Polyaluminium chloride drying equipment | |
| CN218448984U (en) | A dust removal structure for electric switch board radiator fan | |
| CN214177756U (en) | Heat dissipation type electronic load cabinet | |
| CN213398854U (en) | Lithium cell production is with high temperature resistant detection device | |
| CN214039253U (en) | Oven of high-efficient heat transfer | |
| CN213896385U (en) | Heating device of fabric calender | |
| CN219776235U (en) | Fabric drying equipment | |
| CN211726324U (en) | Spraying and baking integrated device | |
| CN110044154B (en) | Portable small-size grain drying-machine | |
| CN220648920U (en) | Lithium battery even drying box | |
| CN219995796U (en) | Grain drying device with adjustable | |
| CN221017148U (en) | Plastic spraying and drying equipment | |
| CN220981751U (en) | Drying device is used in production of plastic packaging bag | |
| CN218340498U (en) | Shell cleaning equipment for lithium-manganese button cell | |
| CN222048368U (en) | A lithium battery negative electrode material drying device |
Legal Events
| Date | Code | Title | Description |
|---|---|---|---|
| GR01 | Patent grant | ||
| GR01 | Patent grant |