CN215795663U - Prefabricated superimposed sheet stacks mount - Google Patents
Prefabricated superimposed sheet stacks mount Download PDFInfo
- Publication number
- CN215795663U CN215795663U CN202122119007.3U CN202122119007U CN215795663U CN 215795663 U CN215795663 U CN 215795663U CN 202122119007 U CN202122119007 U CN 202122119007U CN 215795663 U CN215795663 U CN 215795663U
- Authority
- CN
- China
- Prior art keywords
- square
- square tube
- square pipe
- stacking
- longitudinal
- Prior art date
- Legal status (The legal status is an assumption and is not a legal conclusion. Google has not performed a legal analysis and makes no representation as to the accuracy of the status listed.)
- Active
Links
- 238000003466 welding Methods 0.000 claims abstract description 4
- 230000003014 reinforcing effect Effects 0.000 claims description 3
- 238000004519 manufacturing process Methods 0.000 abstract description 3
- 239000002131 composite material Substances 0.000 description 2
- 230000009286 beneficial effect Effects 0.000 description 1
- 239000004567 concrete Substances 0.000 description 1
- 238000005034 decoration Methods 0.000 description 1
- 238000010586 diagram Methods 0.000 description 1
- 230000005484 gravity Effects 0.000 description 1
- 238000011031 large-scale manufacturing process Methods 0.000 description 1
- 238000012986 modification Methods 0.000 description 1
- 230000004048 modification Effects 0.000 description 1
- 230000002093 peripheral effect Effects 0.000 description 1
- 230000002035 prolonged effect Effects 0.000 description 1
- 239000011150 reinforced concrete Substances 0.000 description 1
Images
Landscapes
- Forms Removed On Construction Sites Or Auxiliary Members Thereof (AREA)
Abstract
The utility model discloses a stacking and fixing frame for prefabricated laminated slabs, which comprises a bottom frame, wherein the bottom frame is formed by welding a rectangular frame body on the periphery and a square flat plate in the middle, a transverse groove and a longitudinal groove are formed in the rectangular frame body, 2-7 laminated slabs are stacked above the bottom frame, a supporting square pipe is transversely arranged between two adjacent laminated slabs, two ends of the supporting square pipe extend out of the laminated slabs, a connecting pipe is connected with the end part of the supporting square pipe, square holes are formed in two ends of the connecting pipe, the transverse limiting square pipe is vertically arranged and inserted into the square holes and the transverse groove, a vertical square pipe is inserted into the longitudinal groove, a plurality of layers of holes are formed in the vertical square pipe, two ends of the longitudinal limiting square pipe are connected with square blocks through hinges, the longitudinal limiting square pipe penetrates through the layer holes, and the square blocks extend out of the layer holes. The stacking device has the advantages of novel structure, convenience in operation, safety and controllability, capability of preventing the stacked plates from sliding down by limiting the degrees of freedom of the stacked plates in six directions, capability of realizing large-batch orderly stacking of the stacked plates, storage yard area saving and production cost reduction.
Description
Technical Field
The utility model belongs to the technical field of concrete prefabricated parts, and particularly relates to a prefabricated composite slab stacking and fixing frame.
Background
The superimposed sheet is the integral floor of assembly that forms by prefabricated plate and cast-in-place reinforced concrete layer coincide, and the superimposed sheet wholeness is good, and rigidity is big, and the upper and lower surfacing of board, the finish coat decoration of being convenient for, present large-scale production because superimposed sheet area is big, stacks after the processing, does not have safety protection measure all around, so every buttress pile up the height at present and is limited, otherwise will the landing dangerous, need improve.
Disclosure of Invention
In order to solve the problems, the utility model discloses a stacking and fixing frame for prefabricated laminated slabs, which is novel in structure, convenient to operate, safe and controllable, can prevent the laminated slabs from sliding off, can realize large-batch orderly stacking of the laminated slabs, saves the area of a storage yard, and reduces the production cost.
In order to achieve the purpose, the technical scheme of the utility model is as follows:
a stacking and fixing frame for prefabricated laminated slabs comprises a bottom frame, supporting square pipes, connecting pipes, transverse limiting square pipes, vertical square pipes and longitudinal limiting square pipes, wherein the bottom frame is formed by fixedly welding a peripheral rectangular frame body and a middle square flat plate, the rectangular frame body is provided with transverse grooves and longitudinal grooves, 2-7 laminated slabs are stacked above the bottom frame, the supporting square pipes are transversely arranged between two adjacent laminated slabs, two ends of each supporting square pipe extend out of the laminated slabs, the connecting pipes are connected with the end parts of the supporting square pipes, square holes are formed in two ends of each connecting pipe, the transverse limiting square pipes are vertically arranged to be inserted into the square holes and the transverse grooves, the vertical square pipes are arranged at the front ends and the rear ends of the laminated slabs and are inserted into the longitudinal grooves, a plurality of layers of holes are formed in the vertical square pipes, two ends of each longitudinal limiting square pipe are connected with square blocks through hinges, and the longitudinal limiting square pipes penetrate through the layer of holes, the square blocks at the two ends of the longitudinal limiting square tube extend out of the layer hole.
As an improvement of the utility model, the length of the longitudinal limiting square tube is more than or equal to the width of the laminated slab.
As an improvement of the utility model, the number of the supporting square tubes in each layer is 2-4.
As an improvement of the utility model, the number of the transverse limiting square tubes is 4.
As an improvement of the utility model, the number of the vertical square pipes is 4, and the front end and the rear end of the laminated slab are respectively provided with two vertical square pipes.
As an improvement of the utility model, a reinforcing rib is arranged below the square flat plate.
The utility model has the beneficial effects that:
the stacking fixing frame for the prefabricated laminated slabs is novel in structure and convenient to operate, can prevent the laminated slabs from sliding down by limiting the degrees of freedom of the laminated slabs in six directions, is safe and controllable, can realize large-batch orderly stacking of the laminated slabs, saves the area of a storage yard, and reduces the production cost.
Drawings
FIG. 1 is a schematic structural diagram of the present invention.
Fig. 2 is a top view of the present invention.
FIG. 3 is a schematic view of a connecting tube according to the present invention.
Fig. 4 is a top view of the undercarriage of the present invention.
Fig. 5 is a schematic view of a longitudinal limiting square tube according to the present invention.
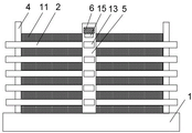
List of reference symbols:
1. chassis, 2, support square pipe, 3, connecting pipe, 4, horizontal spacing square pipe, 5, vertical square pipe, 6, vertical spacing square pipe, 7, rectangular frame body, 8, square flat board, 9, horizontal groove, 10, vertical groove, 11, superimposed sheet, 12, square hole, 13, layer hole, 14, hinge, 15, square, 16, jack.
Detailed Description
The present invention will be further illustrated with reference to the accompanying drawings and specific embodiments, which are to be understood as merely illustrative of the utility model and not as limiting the scope of the utility model.
As shown in the figures, the prefabricated composite slab stacking and fixing frame comprises an underframe 1, a supporting square pipe 2, a connecting pipe 3, a transverse limiting square pipe 4, a vertical square pipe 5 and a longitudinal limiting square pipe 6, wherein the underframe 1 is formed by fixedly welding a rectangular frame body 7 at the periphery and a square flat plate 8 in the middle, a transverse groove 9 and a longitudinal groove 10 are arranged on the rectangular frame body 7, 2-7 laminated slabs 11 are stacked above the underframe 1, the supporting square pipe 2 is transversely arranged between two adjacent laminated slabs, two ends of the supporting square pipe 2 extend out of the laminated slabs 11, the connecting pipe 3 is connected with the end part of the supporting square pipe 2 through an inserting hole 16, square holes 12 are arranged at two ends of the connecting pipe 3, the transverse limiting square pipe 4 is vertically arranged in the square holes and the transverse grooves 9, the vertical square pipe 5 is arranged at the front end and the rear end of the laminated slabs 11, and the vertical square pipe 5 is inserted in the longitudinal groove 10, be equipped with a plurality of layers of hole 13 on vertical square pipe 5 (layer hole height is corresponding with the height that supports square pipe 2), 6 both ends are passed through hinge 14 connection square 15 for vertical spacing square pipe, vertical spacing square pipe 6 passes layer hole 13, and square 15 at 6 both ends of vertical spacing square pipe stretches out outside layer hole 13.
The utility model relates to a stacking and fixing frame for prefabricated laminated slabs, when in use, the laminated slabs 11 are stacked above an underframe 1, a supporting square pipe 2 (transversely arranged) is arranged between two adjacent layers of laminated slabs, two ends of the supporting square pipe 2 extend out of the laminated slabs 11, the end part of the supporting square pipe 2 is connected by a connecting pipe 3, a transverse limiting square pipe 4 is vertically arranged and inserted into a square hole 12 and a transverse groove 9 to limit the movement of the laminated slabs in the X direction, vertical square pipes 5 are arranged at the front end and the rear end of the laminated slabs 11 to limit the movement of the laminated slabs in the Y direction, then a longitudinal limiting square pipe 6 is arranged above the laminated slab at the uppermost layer, square blocks 15 at two ends of the longitudinal limiting square pipe 6 extend out of a layer hole 13, the square blocks 15 naturally droop under the action of gravity, because the length of the longitudinal limiting square pipe 6 is more than or equal to the width of the laminated slabs 11, the longitudinal limiting square pipe 6 can limit the movement in the Z direction, and simultaneously the longitudinal limiting square pipe 6 can limit the outward deformation of the vertical square pipes 5 at two ends, the safety is ensured, and the service life of the device is prolonged.
And reinforcing ribs are arranged below the square flat plate 8, so that the strength and the rigidity are increased, and the chassis is ensured not to deform.
The number of each layer of supporting square pipes 2 is 2-4, the two ends of each layer of supporting square pipes are limited by the connecting pipes 3, the supporting square pipes cannot move, and the anti-skid performance is good.
The number of the transverse limiting square tubes 4 is 4, the two sides of the laminated slab are hooped from the periphery, the safety is improved, and similarly, the number of the vertical square tubes 5 is 4, and the front end and the rear end of the laminated slab 11 are respectively two, and the two ends of the laminated slab are hooped.
While the utility model has been shown and described with respect to the preferred embodiments, it will be understood by those skilled in the art that various changes and modifications may be made without departing from the scope of the utility model as defined in the following claims.
Claims (6)
1. The utility model provides a mount is stacked to prefabricated superimposed sheet which characterized in that: comprises an underframe, a supporting square tube, a connecting tube, a transverse limiting square tube, a vertical square tube and a longitudinal limiting square tube, the underframe is formed by fixedly welding a rectangular frame body at the periphery and a square flat plate in the middle, the rectangular frame body is provided with a transverse groove and a longitudinal groove, 2-7 laminated plates are stacked above the underframe, the supporting square tube is transversely arranged between two adjacent laminated plates, the two ends of the supporting square tube extend out of the laminated slab, the connecting tube is connected with the end part of the supporting square tube, square holes are arranged at the two ends of the connecting tube, the transverse limiting square tube is vertically arranged and inserted into the square hole and the transverse groove, the vertical square tube is arranged at the front end and the rear end of the laminated slab, the vertical square tube is inserted into the longitudinal groove, a plurality of layers of holes are arranged on the vertical square tube, two ends of the longitudinal limiting square tube are connected with the square blocks through hinges, the longitudinal limiting square tube penetrates through the layer hole, and square blocks at two ends of the longitudinal limiting square tube extend out of the layer hole.
2. The stacking and fixing frame for prefabricated superimposed plates as claimed in claim 1, wherein: the length of the longitudinal limiting square tube is larger than or equal to the width of the laminated slab.
3. The stacking and fixing frame for prefabricated superimposed plates as claimed in claim 1, wherein: the number of the supporting square pipes on each layer is 2-4.
4. The stacking and fixing frame for prefabricated superimposed plates as claimed in claim 1, wherein: the number of the transverse limiting square tubes is 4.
5. The stacking and fixing frame for prefabricated superimposed plates as claimed in claim 1, wherein: the quantity of vertical square pipe is 4, and the front and back both ends of superimposed sheet are respectively two.
6. The stacking and fixing frame for prefabricated superimposed plates as claimed in claim 1, wherein: and reinforcing ribs are arranged below the square flat plate.
Priority Applications (1)
| Application Number | Priority Date | Filing Date | Title |
|---|---|---|---|
| CN202122119007.3U CN215795663U (en) | 2021-09-03 | 2021-09-03 | Prefabricated superimposed sheet stacks mount |
Applications Claiming Priority (1)
| Application Number | Priority Date | Filing Date | Title |
|---|---|---|---|
| CN202122119007.3U CN215795663U (en) | 2021-09-03 | 2021-09-03 | Prefabricated superimposed sheet stacks mount |
Publications (1)
| Publication Number | Publication Date |
|---|---|
| CN215795663U true CN215795663U (en) | 2022-02-11 |
Family
ID=80155895
Family Applications (1)
| Application Number | Title | Priority Date | Filing Date |
|---|---|---|---|
| CN202122119007.3U Active CN215795663U (en) | 2021-09-03 | 2021-09-03 | Prefabricated superimposed sheet stacks mount |
Country Status (1)
| Country | Link |
|---|---|
| CN (1) | CN215795663U (en) |
-
2021
- 2021-09-03 CN CN202122119007.3U patent/CN215795663U/en active Active
Similar Documents
| Publication | Publication Date | Title |
|---|---|---|
| CN212454414U (en) | Shield constructs station-crossing and falls platform and shield constructs station-crossing system with top | |
| CN206928345U (en) | Existing skyscraper cuts the load conversion device of stake rectification | |
| CN201923402U (en) | Double-surface pallet applicable to rolled objects | |
| CN215795663U (en) | Prefabricated superimposed sheet stacks mount | |
| CN206157593U (en) | Steel construction reinforcement and install bridge case roof beam of this reinforcement | |
| CN217897357U (en) | Assembled stair stacking protection support | |
| CN215476371U (en) | Superimposed sheet stacking tool | |
| CN206379404U (en) | Superimposed battery-mounting device | |
| CN215044537U (en) | Compromise PC component piling bin of depositing and transportation | |
| CN205653029U (en) | Superimposed sheet storage rack | |
| CN201738596U (en) | Independent support dedicated for nuclear power plant construction | |
| CN205293607U (en) | Fortune roof beam car dress roof beam is with deposit boom support device temporarily | |
| CN210944447U (en) | Elevator car | |
| CN202296679U (en) | Skeleton structure of upper beam of elevator | |
| CN202828453U (en) | Stacked type sheet metal stamping part bracket | |
| CN207510203U (en) | A kind of pure electric vehicle light truck vehicle power battery mounting bracket | |
| CN201176312Y (en) | 126kV Porcelain Column High Voltage Circuit Breaker Packaging Rack | |
| CN207144835U (en) | A kind of skid-mounted type pylon | |
| CN207191694U (en) | A kind of storing unit of tubing | |
| CN216238137U (en) | Bracket device that topples is prevented in bent cap construction | |
| CN216444571U (en) | Sintering combined wallboard stacking operation vehicle | |
| CN216970596U (en) | Drawer type superimposed sheet storage rack | |
| CN217867603U (en) | Simple elevator car frame | |
| CN216336138U (en) | Double-deck superimposed sheet rack | |
| CN218643857U (en) | Safe in utilization's multilayer square steel construction |
Legal Events
| Date | Code | Title | Description |
|---|---|---|---|
| GR01 | Patent grant | ||
| GR01 | Patent grant |