CN215775417U - Red fruit drying component and cleaning equipment - Google Patents
Red fruit drying component and cleaning equipment Download PDFInfo
- Publication number
- CN215775417U CN215775417U CN202122040160.7U CN202122040160U CN215775417U CN 215775417 U CN215775417 U CN 215775417U CN 202122040160 U CN202122040160 U CN 202122040160U CN 215775417 U CN215775417 U CN 215775417U
- Authority
- CN
- China
- Prior art keywords
- cleaning
- bearing box
- drying
- haw
- pipeline
- Prior art date
- Legal status (The legal status is an assumption and is not a legal conclusion. Google has not performed a legal analysis and makes no representation as to the accuracy of the status listed.)
- Expired - Fee Related
Links
- 238000004140 cleaning Methods 0.000 title claims abstract description 68
- 238000001035 drying Methods 0.000 title claims abstract description 58
- 235000013399 edible fruits Nutrition 0.000 title claims abstract description 56
- 230000005540 biological transmission Effects 0.000 claims abstract description 41
- XLYOFNOQVPJJNP-UHFFFAOYSA-N water Substances O XLYOFNOQVPJJNP-UHFFFAOYSA-N 0.000 claims abstract description 35
- 238000005406 washing Methods 0.000 claims abstract description 20
- 238000005086 pumping Methods 0.000 claims abstract description 4
- 239000007921 spray Substances 0.000 claims description 13
- 239000012530 fluid Substances 0.000 claims description 9
- 238000005507 spraying Methods 0.000 abstract description 7
- 238000000034 method Methods 0.000 description 10
- 230000000694 effects Effects 0.000 description 7
- 239000012535 impurity Substances 0.000 description 7
- 239000000463 material Substances 0.000 description 7
- 230000033001 locomotion Effects 0.000 description 6
- 235000013305 food Nutrition 0.000 description 4
- 238000009434 installation Methods 0.000 description 4
- 230000008093 supporting effect Effects 0.000 description 4
- 241001092040 Crataegus Species 0.000 description 3
- 235000009917 Crataegus X brevipes Nutrition 0.000 description 3
- 235000013204 Crataegus X haemacarpa Nutrition 0.000 description 3
- 235000009685 Crataegus X maligna Nutrition 0.000 description 3
- 235000009444 Crataegus X rubrocarnea Nutrition 0.000 description 3
- 235000009486 Crataegus bullatus Nutrition 0.000 description 3
- 235000017181 Crataegus chrysocarpa Nutrition 0.000 description 3
- 235000009682 Crataegus limnophila Nutrition 0.000 description 3
- 235000004423 Crataegus monogyna Nutrition 0.000 description 3
- 235000002313 Crataegus paludosa Nutrition 0.000 description 3
- 235000009840 Crataegus x incaedua Nutrition 0.000 description 3
- KRKNYBCHXYNGOX-UHFFFAOYSA-N citric acid Chemical compound OC(=O)CC(O)(C(O)=O)CC(O)=O KRKNYBCHXYNGOX-UHFFFAOYSA-N 0.000 description 3
- 239000007788 liquid Substances 0.000 description 3
- 239000003814 drug Substances 0.000 description 2
- 238000005485 electric heating Methods 0.000 description 2
- 210000002615 epidermis Anatomy 0.000 description 2
- 238000010438 heat treatment Methods 0.000 description 2
- 235000015110 jellies Nutrition 0.000 description 2
- 239000008274 jelly Substances 0.000 description 2
- 238000004519 manufacturing process Methods 0.000 description 2
- 239000007858 starting material Substances 0.000 description 2
- 206010003210 Arteriosclerosis Diseases 0.000 description 1
- 208000024172 Cardiovascular disease Diseases 0.000 description 1
- 230000006978 adaptation Effects 0.000 description 1
- 208000011775 arteriosclerosis disease Diseases 0.000 description 1
- 230000009286 beneficial effect Effects 0.000 description 1
- 239000008280 blood Substances 0.000 description 1
- 210000004369 blood Anatomy 0.000 description 1
- 238000001816 cooling Methods 0.000 description 1
- MDZKJHQSJHYOHJ-UHFFFAOYSA-N crataegolic acid Natural products C1C(O)C(O)C(C)(C)C2CCC3(C)C4(C)CCC5(C(O)=O)CCC(C)(C)CC5C4=CCC3C21C MDZKJHQSJHYOHJ-UHFFFAOYSA-N 0.000 description 1
- 125000004122 cyclic group Chemical group 0.000 description 1
- 230000007547 defect Effects 0.000 description 1
- 238000010586 diagram Methods 0.000 description 1
- 230000029087 digestion Effects 0.000 description 1
- 238000005516 engineering process Methods 0.000 description 1
- 230000007613 environmental effect Effects 0.000 description 1
- 239000004744 fabric Substances 0.000 description 1
- 229930003935 flavonoid Natural products 0.000 description 1
- 150000002215 flavonoids Chemical class 0.000 description 1
- 235000017173 flavonoids Nutrition 0.000 description 1
- 230000005484 gravity Effects 0.000 description 1
- 239000008236 heating water Substances 0.000 description 1
- 230000002045 lasting effect Effects 0.000 description 1
- 230000014759 maintenance of location Effects 0.000 description 1
- MDZKJHQSJHYOHJ-LLICELPBSA-N maslinic acid Chemical compound C1[C@@H](O)[C@H](O)C(C)(C)[C@@H]2CC[C@@]3(C)[C@]4(C)CC[C@@]5(C(O)=O)CCC(C)(C)C[C@H]5C4=CC[C@@H]3[C@]21C MDZKJHQSJHYOHJ-LLICELPBSA-N 0.000 description 1
- 239000000203 mixture Substances 0.000 description 1
- 239000000575 pesticide Substances 0.000 description 1
- 239000000447 pesticide residue Substances 0.000 description 1
- 238000010248 power generation Methods 0.000 description 1
- 230000001737 promoting effect Effects 0.000 description 1
- -1 refer to stains Substances 0.000 description 1
- 238000007790 scraping Methods 0.000 description 1
- 238000000926 separation method Methods 0.000 description 1
- 229940088594 vitamin Drugs 0.000 description 1
- 229930003231 vitamin Natural products 0.000 description 1
- 235000013343 vitamin Nutrition 0.000 description 1
- 239000011782 vitamin Substances 0.000 description 1
Images
Landscapes
- Cleaning By Liquid Or Steam (AREA)
Abstract
The application discloses a haw drying component and cleaning equipment, which are applied to a drying component and also comprise a cleaning machine body, wherein the cleaning machine body comprises a bearing box, the top of a cavity of the bearing box is provided with a transmission component for transmission and draining the haw, one side of the transmission component is opposite to a fruit outlet, and the top of the bearing box is provided with a cleaning component for continuously and repeatedly spraying and washing the haw put on the transmission component; the bottom of the bearing box is communicated with a pipeline, the other end of the pipeline is communicated with the cleaning assembly, and a pump body for pumping the bottom cleaning water is arranged on the pipeline; this application is through combining cleaning machine body and haw stoving component, can effectively accomplish to carry out abundant, thorough washing with edible or medicinal haw.
Description
Technical Field
The utility model relates to the technical field of wine brewing, in particular to a haw drying component and cleaning equipment.
Background
Haw, also known as hawthorn, hawthorn and hawthorn, is an important producing area of the haw. The haw jelly contains rich vitamins, crataegolic acid, citric acid, flavonoids and the like, has the curative effects of promoting digestion, removing food retention, reducing blood fat and relieving arteriosclerosis, and can prevent cardiovascular diseases when being eaten frequently, so the haw jelly is widely used as a medicinal material and food material.
In the actual production process, the red fruit needs to be picked, transported, enucleated, cleaned, dried and other series of process steps, and finally qualified large-batch red fruits can be produced and used for medicine, food and the like.
Most of the red fruits used for food and medicine need two steps of cleaning and drying, so that the important points are that how to ensure the comprehensive cleaning of the red fruits, how to effectively utilize the cleaning water in the cleaning process and how to ensure the thorough and sufficient removal of the water on the surfaces of the cleaned red fruits are all important, and the problems to be solved by the application are all urgent.
Disclosure of Invention
In view of the above, the present invention provides a haw drying component and a cleaning apparatus, which can effectively clean edible or medicinal haw completely by combining a cleaning machine body and the haw drying component.
In a first aspect, the utility model discloses a drying component which comprises a drying box, wherein a belt body of a belt penetrates through an inner cavity of the drying box, one end of the belt is arranged below a fruit outlet of a bearing box, a hot fluid medium for drying red fruits is arranged on the wall surface of the drying box, two ends of the drying box are respectively provided with a pipeline for the inlet and the outlet of the hot fluid medium, and the ends of the two pipelines are connected with a heat source generator.
When the drying box is arranged specifically, a first cavity is formed at the bottom of the drying box, a second cavity is formed at the top and the side of the drying box, and the temperature of hot air flow media in the first cavity is higher than that of hot air flow media in the second cavity. Because the belt and the haw on the belt pass through the drying box, a part of cleaning water flows to the bottom of the drying box and is accumulated, at the moment, the bottom of the drying box needs to have higher temperature than other parts so as to ensure that the cleaning water at the bottom of the drying box is evaporated and vaporized rapidly.
When the drying box is arranged, a groove is formed at the bottom of the drying box so as to temporarily store the cleaning water.
The utility model discloses a red fruit cleaning device, which is applied to the drying component and also comprises a cleaning machine body, wherein the cleaning machine body comprises a bearing box, the bearing box is mainly used for bearing and installing other devices and also has the functions of containing and bearing the red fruits by cleaning, a transmission assembly for transmitting and draining the red fruits is installed at the top of a cavity of the bearing box, one side of the transmission assembly is opposite to a fruit outlet, and a cleaning assembly for continuously and repeatedly spraying and washing the red fruits put on the transmission assembly is installed at the top of the bearing box; the bottom intercommunication of bearing box has the pipeline, and the other end of pipeline is with wasing the subassembly intercommunication, and installs the pump body that is used for taking out bottom washing water on the pipeline.
When specifically setting up above-mentioned carrier case, owing to can mix impurity in the washing water after washing the haw, can hold back impurity getting rid of in the circulation process for guaranteeing to wash water, the filter plate is installed to the bottom of carrier case, and one side of filter plate is relative with the discharge gate, and the filter plate slope is placed.
When specifically setting up above-mentioned washing subassembly, it includes the shower nozzle to wash the subassembly, the shower nozzle includes the shower nozzle with pipeline intercommunication washing subassembly, shower nozzle and pipeline intercommunication, as an embodiment, the shower nozzle is fixed in on the removal frame, there is drive gear through the round pin axle switching in the removal frame inner chamber, the body of pinion rack passes the removal frame, the tooth that distributes on the pinion rack and the transmission teeth of a cogwheel constitute meshing structure and carry out the linkage, two ends of pinion rack end are fixed with the both ends face of bearing box nearby, it is used for driving drive gear to carry out the pivoted motor to install on the removal frame. The starter motor, drive gear and rotate and creep on the pinion rack (through setting for the predetermined value in the controller, after the number of turns of rotation of electric motor rotor reaches the numerical value of settlement, can control electric motor rotor and rotate to opposite direction, and cycle is repeated, ensure that drive gear realizes reciprocating motion on the pinion rack), remove the frame and play the effect of injecing the direction to drive gear, finally, remove the frame and realize reciprocating motion under the mutually supporting of drive gear and pinion rack, the indirect shower nozzle that drives goes up the red fruit and lasts to the drive assembly, reciprocating washing.
As another embodiment, the spray head is fixed on a movable seat, the movable seat is provided with a threaded hole, and the threaded hole is internally provided with a screw rod in a mutually matched manner; the movable seat is matched in the sliding rail in a sliding mode, the two ends of the screw rod are connected with the nearby bearing box wall surfaces on the two sides of the sliding rail in a rotating mode, and one side of the screw rod is connected with a motor used for driving the screw rod to rotate. During the use, the motor is started, and the motor then drives the screw rod to realize the rotation, and meanwhile, the removal seat realizes removing under the combined action of screw rod and slide rail, and is the same with above-mentioned embodiment principle, through setting for the value in advance in the controller, ensures to remove the seat and realizes reciprocating motion in the slide rail, indirectly guarantees that the shower nozzle lasts, reciprocal spraying washs to the haw on the transmission assembly.
When specifically setting up above-mentioned drive assembly, as an embodiment, drive assembly includes the conveyer belt, and the both ends of conveyer belt are rotated with the terminal surface nearby of bearing the case and are connected, install on the bearing the case and are used for driving conveyer belt pivoted motor, and equidistant cloth has the hole that leaks on the conveyer belt, and the aperture in the hole that leaks is less than the aperture of haw, is provided with the protruding type piece on the conveyer belt.
As another embodiment, the transmission assembly comprises roll shafts, more than two roll shafts are rotatably connected in the bearing box and are arranged in parallel in a row at equal intervals, the two adjacent roll shafts are in clearance fit, the roll shafts are driven by a motor, and the surfaces of the roll shafts are polygonal.
The utility model has the following beneficial effects:
first, this application is through setting up the stoving component, can finish the washing, and the haw that enters into the stoving case carries out thorough moisture and gets rid of, so that the follow-up haw that will get rid of moisture is used for making the medicinal material or eating the material, mutually supporting of first cavity and second cavity, guarantee the moisture with the haw epidermis, and the deposit carries out all-round getting rid of at the moisture of stoving bottom of the case portion, the more traditional electric heating of stoving effect, efficiency promotes greatly, can guarantee that the haw is heated by the even heating when guaranteeing that the moisture in the haw fully gets rid of, avoid being heated inhomogeneous to lead to the phenomenon appearance of the local burnt paste of haw.
Second, this application adopts two kinds of embodiments to the cleaning methods of haw, guarantees the variety of embodiment to adapt to different occasions and installation requirement, two kinds of cleaning methods homoenergetic are carried out the haw on the transmission assembly and are lasted, reciprocal washing and spray, ensure that the haw can be by rinse thoroughly, improve cleaning performance and work efficiency.
Drawings
Fig. 1 is a schematic view of the overall structure of the present invention.
Fig. 2 is a schematic structural view of the washing machine body.
Fig. 3 is a schematic view of the assembly structure of the filter screen plate.
Fig. 4 is a schematic view of the installation structure of the head.
FIG. 5 is a schematic structural diagram of a first embodiment of a cleaning assembly.
FIG. 6 is a schematic structural view of a second embodiment of a cleaning assembly.
Fig. 7 is a schematic structural view of a first embodiment of the transmission assembly.
Fig. 8 is a schematic structural view of a second embodiment of the transmission assembly.
Fig. 9 is a schematic view of an installation structure of the drying member.
Fig. 10 is a schematic structural view of a drying member.
Fig. 11 is a partial structural schematic view of a drying box.
In the figure, a bearing box 1, a filter screen plate 2, a spray head 3, a moving frame 4, a transmission gear 5, a toothed plate 6, a moving seat 7, a screw 8, a sliding rail 9, a conveying belt 10, a water leakage hole 11, a roll shaft 12, a drying box 13, a belt 14, a first cavity 15, a second cavity 16 and a groove 17.
Detailed Description
For clear understanding of the technical solution of the present application, the following detailed description will be made on the haw drying component and the cleaning device provided in the present application with reference to specific embodiments and accompanying drawings.
The terminology used in the following examples is for the purpose of describing particular embodiments only and is not intended to be limiting of the application. As used in the specification of the present application and the appended claims, the singular forms "a", "an", "the" and "the" are intended to include the plural forms as well, such as "one or more", unless the context clearly indicates otherwise. It should also be understood that in the following embodiments of the present application, "at least one", "one or more" means one, two or more.
Reference throughout this specification to "one embodiment" or "some embodiments," or the like, means that a particular feature, structure, or characteristic described in connection with the embodiment is included in one or more embodiments of the present application. Thus, appearances of the phrases "one embodiment," "in some embodiments," "in other embodiments," or the like, in various places throughout this specification are not necessarily all referring to the same embodiment, but rather "one or more but not all embodiments" unless specifically stated otherwise. The terms "comprising," "including," "having," and variations thereof mean "including, but not limited to," unless expressly specified otherwise.
Referring to fig. 1 to 11, a haw cleaning apparatus in the present application is illustrated, which mainly includes a cleaning machine body and a haw drying component, wherein the cleaning machine body mainly cleans the shelled haw to ensure that the kernel residue, the surface stain and the pesticide residue on the haw are removed. In the actual production process, because the following red fruit can be made into dry red fruit for edible and medicinal purposes, the removal of the moisture on the surface of the washed red fruit is very important, the red fruit drying component mainly removes the moisture on the surface of the washed red fruit, and the moisture removal mode on the surface of the red fruit can adopt various modes such as drying and air cooling (the application mainly adopts a drying mode for realization), and is convenient for the following slicing of the red fruit (the surface of the red fruit which is stained with the moisture is easy to slip).
Referring to fig. 2, the cleaning machine body includes a carrying box 1, the carrying box 1 is mainly used for carrying and installing other devices, and meanwhile, the carrying box has a function of accommodating and carrying the red fruit, a transmission assembly for transmitting and draining the red fruit is installed at the top of a cavity of the carrying box 1, one side of the transmission assembly is opposite to a fruit outlet, a cleaning assembly for continuously and reciprocally spraying and washing the red fruit put on the transmission assembly is installed at the top of the carrying box 1, the bottom of the carrying box 1 is used for collecting and carrying the cleaning water and residual liquid drained from the transmission assembly, in order to achieve the effects of energy saving, emission reduction and environmental protection, a pipeline is communicated with the bottom of the carrying box 1, the other end of the pipeline is communicated with the cleaning assembly, and a pump body for pumping the cleaning water at the bottom is installed on the pipeline (the pipeline and the pump body are both shown in the figure, for common products on the market, the detailed description is omitted here), when in use, firstly, the red fruits are thrown into one side of the bearing box 1 manually or mechanically, the fallen red fruits are rolled on the surface of the transmission assembly, the operation of the transmission assembly and the spraying of the cleaning assembly are accompanied, when the red fruits move to the other side of the bearing box 1 and are discharged from the other side of the bearing box 1, the red fruits are completely cleaned, meanwhile, cleaning water for cleaning the surfaces of the red fruits passes through the transmission assembly and then falls to the bottom of the bearing box 1, and the separation of water and fruits is realized; then, the pump body is used for pumping the cleaning water deposited at the bottom of the bearing box 1 and sending the cleaning water into a pipeline, and finally the cleaning water is conveyed to a spraying part of the cleaning assembly after passing through the pipeline, so that the secondary utilization of the cleaning water is ensured, and the cyclic utilization is realized. Because the cleaning water after the haw is washed can be mixed with impurities (the impurities mainly refer to stains, pesticides, fruit pit residues and the like remained on the surface of the haw), in order to ensure that the cleaning water can intercept and remove the impurities in the circulating process, as shown in fig. 3, a filter screen plate 2 is arranged at the bottom of a bearing box 1 (welded, bolted and the like), one side of the filter screen plate 2 is opposite to a discharge port, the filter screen plate 2 is obliquely arranged, the impurities intercepted on the filter screen plate 2 can be ensured to roll down from the filter screen plate 2 by the self gravity, as a preferred embodiment, in order to assist the impurities to roll down from the filter screen plate 2, a push plate for scraping materials is arranged on the filter screen plate 2, and an electric telescopic rod for driving the push plate to move is connected to the push plate (the push plate and the electric telescopic rod are both shown in the figure).
When the cleaning assembly is specifically arranged, the cleaning assembly comprises a spray head 3 (as shown in fig. 4, the spray head 3 is a common existing technology in the market, and a stop valve for controlling flow is installed on the spray head 3), and the spray head 3 is communicated with a pipeline; as an embodiment, as shown in fig. 5, the nozzle 3 is fixed (welded, bolted) on the movable frame 4, the transmission gear 5 is rotatably connected in the inner cavity of the movable frame 4 through a pin shaft, the plate body of the toothed plate 6 passes through the movable frame 4, the teeth distributed on the toothed plate 6 and the teeth distributed on the transmission gear teeth form a meshing structure and are linked, two ends of the toothed plate 6 are fixed to two nearby end faces of the carrying case 1, the arrangement of the toothed plate 6 is equivalent to a track on which the transmission gear 5 moves, the movable frame 4 is provided with a motor (not shown in the figure) for driving the transmission gear 5 to rotate, the motor is started to drive the transmission gear 5 to rotate and crawl on the toothed plate 6 (by setting a predetermined value in the controller, when the number of rotation turns of the motor rotor reaches a set value, the motor rotor can be controlled to rotate in an opposite direction, and the cycle is repeated, so as to ensure that the transmission gear 5 realizes reciprocating movement on the toothed plate 6), remove frame 4 and play the effect of limited direction to drive gear 5, finally, remove frame 4 and realize reciprocating motion under drive gear 5 and pinion rack 6's the mutually supporting effect, indirectly drive shower nozzle 3 and carry out lasting, reciprocal washing to the last haw of drive assembly. As another embodiment, as shown in fig. 6, the nozzle 3 is fixed (welded, bolted) on the movable base 7, the movable base 7 is provided with a threaded hole, and the threaded hole is internally provided with a screw 8 in a mutually matched manner; remove 7 sliding adaptation in slide rail 9 of seat, and the both ends end of screw rod 8 and the switching of the 1 wall of bearing box nearby of slide rail 9 both sides, one side of screw rod 8 is connected with and is used for driving screw rod 8 to carry out the pivoted motor, in use, the starter motor, the motor then drives screw rod 8 and realizes rotatoryly, meanwhile, remove seat 7 and realize removing under the combined action of screw rod 8 and slide rail 9, the same with above-mentioned embodiment principle, through setting up the value in advance in the controller, ensure to remove seat 7 and realize reciprocating motion in slide rail 9, indirectly guarantee that shower nozzle 3 lasts, reciprocal spraying washs the red fruit on the transmission assembly. This application adopts two kinds of embodiments to the cleaning methods of haw, guarantees the variety of embodiment to adapt to different occasions and installation requirement, two kinds of cleaning methods homoenergetic are carried out continuation, reciprocal washing and are sprayed to the haw on the transmission assembly, ensure that the haw can be by rinse thoroughly, improve cleaning performance and work efficiency.
When the transmission assembly is specifically arranged, as an embodiment, as shown in fig. 7, the transmission assembly includes a conveyor belt 10, two ends of the conveyor belt 10 are rotatably connected with the nearby end surface of the carrying box 1, a motor (not shown in the figure) for driving the conveyor belt 10 to rotate is installed on the carrying box 1, water leakage holes 11 (the shape of the water leakage holes 11 can be circular, rectangular and the like according to actual design requirements) are distributed on the conveyor belt 10 at equal intervals, the hole diameter of the water leakage holes 11 is smaller than that of the red fruits, and the defect that the red fruits pass through the water leakage holes 11 due to too large hole diameter of the water leakage holes 11 is avoided; in order to increase a certain friction force, the conveyor belt 10 is provided with the convex blocks, so that the phenomenon of efficiency reduction caused by slippage of the red fruits during conveying is avoided, the red fruits falling on the conveyor belt 10 move forward under the driving of the conveyor belt 10, and meanwhile, the cleaning water penetrates through the water leakage holes 11, and the effect of separating the water from the fruits is achieved. As another embodiment, as shown in fig. 8, the transmission assembly includes roll shafts 12, more than two roll shafts 12 are connected in the carrying box 1, the roll shafts 12 are arranged in parallel in a row at equal intervals, and two adjacent roll shafts 12 are in clearance fit, the roll shafts 12 are driven by a motor, as a preferred option, each roll shaft 12 is in transmission connection with the same motor (the motor and the connection between the motor and the roll shaft 12 are not shown in the figure); the surfaces of the roll shafts 12 are polygonal, so that the phenomenon that the red fruits slide on the surfaces of the roll shafts 12 is avoided, the red fruits move in the continuous running process of the roll shafts 12, and cleaning water penetrates through gaps between the adjacent roll shafts 12.
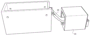
Referring to fig. 9, a drying member is disposed outside the fruit outlet of the carrying case 1, the drying member includes a drying case 13, as shown in fig. 10, a belt body of a belt 14 passes through an inner cavity of the drying case 13, one end of the belt 14 is disposed below the fruit outlet of the carrying case 1, a hot fluid medium (not shown) for drying the red fruit is disposed on a wall surface of the drying case 13, the hot fluid medium passing through the wall surface of the drying case 13 may be a hot gas flow or a hot liquid according to actual use requirements, two ends of the drying case 13 are respectively provided with a pipeline for the hot fluid medium to enter and exit, and the ends of the two pipelines are connected to a heat source generator (not shown in the figure, if the hot fluid medium is a hot gas flow, the heat source generator is a steam boiler, if the hot fluid medium is a hot liquid, the heat source generator is a heating water tank). As shown in fig. 11, since a portion of the washing water flows to the bottom of drying box 13 and is collected during the process of belt 14 and the haw on belt 14 passing through drying box 13, the temperature of the bottom of drying box 13 needs to be higher than that of other parts to ensure the washing water at the bottom of drying box 13 to evaporate rapidly; the bottom of the drying box 13 is formed with a first cavity 15, the top and the side of the drying box 13 are formed with a second cavity 16, and the medium of hot air flow in the first cavity 15 has a higher temperature than the medium of hot air flow in the second cavity 16. This application is through setting up the stoving component, can finish the washing, and the haw that enters stoving case 13 carries out thorough moisture and gets rid of, so that the follow-up haw that will get rid of moisture is used for making the medicinal material or eats the material, mutually supporting of first cavity 15 and second cavity 16, guarantee the moisture with the haw epidermis, and the deposit carries out all-round the getting rid of at the moisture of stoving case 13 bottom, the more traditional electric heating of stoving effect, efficiency promotes greatly, can guarantee that the haw is heated by the homogeneous heating when guaranteeing that the moisture in the haw fully gets rid of, avoid being heated inhomogeneous to lead to the phenomenon appearance of the local burnt paste of haw. When the above-mentioned drying box 13 is specifically provided, a groove 17 is formed at the bottom of the drying box 13 so that the washing water is temporarily stored.
It should be noted that the electrical equipment related in this embodiment is electrically connected to the power generation device and the controller, which are common in the prior art in the market, and are not described herein again.
Claims (9)
1. A drying member comprising a drying box (13), characterized in that: the inner chamber of stoving case (13) is passed to the area body of belt (14) itself, and one end of belt (14) sets up in the play fruit mouth below of bearing box (1), is provided with the hot fluid medium that is used for drying the haw on the wall of stoving case (13), and the both ends of stoving case (13) are provided with respectively and are used for the hot fluid medium to get into, the pipeline of discharge, and the end of two pipelines is connected with the heat source generator.
2. The drying member according to claim 1, wherein: a first cavity (15) is formed at the bottom of the drying box (13), a second cavity (16) is formed at the top and the side of the drying box (13), and the temperature of hot air flow media in the first cavity (15) is higher than that of hot air flow media in the second cavity (16).
3. The drying member according to claim 1, wherein: the bottom of the drying box (13) is provided with a groove (17).
4. The utility model provides a haw cleaning equipment which characterized in that: the drying component applied to any one of claims 1 to 3, further comprising a cleaning machine body, wherein the cleaning machine body comprises a bearing box (1), a transmission component for transmitting and draining the red fruits is installed at the top of a cavity of the bearing box (1), one side of the transmission component is opposite to the fruit outlet, and a cleaning component for performing continuous and reciprocating jet washing on the red fruits thrown on the transmission component is installed at the top of the bearing box (1); the bottom of the bearing box (1) is communicated with a pipeline, the other end of the pipeline is communicated with the cleaning assembly, and a pump body for pumping bottom cleaning water is installed on the pipeline.
5. The red fruit cleaning apparatus according to claim 4, wherein: the bottom of the bearing box (1) is provided with a filter screen plate (2), one side of the filter screen plate (2) is opposite to the discharge hole, and the filter screen plate (2) is obliquely arranged.
6. The red fruit cleaning apparatus according to claim 4, wherein: the cleaning assembly comprises a spray head (3), the spray head (3) is communicated with a pipeline, the spray head (3) is fixed on a movable frame (4), a transmission gear (5) is connected in an inner cavity of the movable frame (4) in a rotating mode through a pin shaft, a plate body of a toothed plate (6) penetrates through the movable frame (4), teeth distributed on the toothed plate (6) and transmission gear teeth form a meshing structure and are linked, two ends of the toothed plate (6) are fixed with a bearing box (1) through two end faces, and a motor used for driving the transmission gear (5) to rotate is installed on the movable frame (4).
7. The red fruit cleaning apparatus according to claim 4, wherein: the cleaning assembly comprises a spray head (3), the spray head (3) is communicated with a pipeline, the spray head (3) is fixed on a movable seat (7), a threaded hole is formed in the movable seat (7), and screw rods (8) are arranged in the threaded hole in a mutually matched mode; the movable seat (7) is matched in the sliding rail (9) in a sliding mode, the two ends of the screw rod (8) are connected with the wall surfaces of the nearby bearing boxes (1) on the two sides of the sliding rail (9) in a switching mode, and one side of the screw rod (8) is connected with a motor used for driving the screw rod (8) to rotate.
8. The red fruit cleaning apparatus according to claim 4, wherein: the transmission assembly comprises a conveyor belt (10), the two ends of the conveyor belt (10) are rotatably connected with the nearby end faces of the bearing box (1), a motor used for driving the conveyor belt (10) to rotate is installed on the bearing box (1), water leakage holes (11) are distributed on the conveyor belt (10) at equal intervals, the hole diameter of each water leakage hole (11) is smaller than that of a red fruit, and a convex block is arranged on the conveyor belt (10).
9. The red fruit cleaning apparatus according to claim 4, wherein: the transmission assembly comprises roll shafts (12), more than two roll shafts (12) are connected in the bearing box (1) in a switching mode, the roll shafts (12) are arranged in parallel in a row in an equidistant mode, the two adjacent roll shafts (12) are in clearance fit, the roll shafts (12) are driven through the motor, and the surfaces of the roll shafts (12) are arranged to be polygonal.
Priority Applications (1)
| Application Number | Priority Date | Filing Date | Title |
|---|---|---|---|
| CN202122040160.7U CN215775417U (en) | 2021-08-27 | 2021-08-27 | Red fruit drying component and cleaning equipment |
Applications Claiming Priority (1)
| Application Number | Priority Date | Filing Date | Title |
|---|---|---|---|
| CN202122040160.7U CN215775417U (en) | 2021-08-27 | 2021-08-27 | Red fruit drying component and cleaning equipment |
Publications (1)
| Publication Number | Publication Date |
|---|---|
| CN215775417U true CN215775417U (en) | 2022-02-11 |
Family
ID=80152704
Family Applications (1)
| Application Number | Title | Priority Date | Filing Date |
|---|---|---|---|
| CN202122040160.7U Expired - Fee Related CN215775417U (en) | 2021-08-27 | 2021-08-27 | Red fruit drying component and cleaning equipment |
Country Status (1)
| Country | Link |
|---|---|
| CN (1) | CN215775417U (en) |
Cited By (1)
| Publication number | Priority date | Publication date | Assignee | Title |
|---|---|---|---|---|
| CN116114894A (en) * | 2023-04-17 | 2023-05-16 | 云南省林业和草原科学院 | A kind of olive fruit cleaning device and its green processing equipment |
-
2021
- 2021-08-27 CN CN202122040160.7U patent/CN215775417U/en not_active Expired - Fee Related
Cited By (1)
| Publication number | Priority date | Publication date | Assignee | Title |
|---|---|---|---|---|
| CN116114894A (en) * | 2023-04-17 | 2023-05-16 | 云南省林业和草原科学院 | A kind of olive fruit cleaning device and its green processing equipment |
Similar Documents
| Publication | Publication Date | Title |
|---|---|---|
| CN215775417U (en) | Red fruit drying component and cleaning equipment | |
| CN109393523A (en) | A kind of grape product comprehensive process production equipment | |
| CN207430785U (en) | The cleaning treatment equipment of aluminum bottle cap | |
| CN107897975B (en) | A kind of fruit washing apparatus that cleaning efficiency is high | |
| CN209749757U (en) | Production system for dehydrated chives | |
| CN208462706U (en) | Cleaning machine is used before a kind of efficient food duck's egg processing | |
| CN219479159U (en) | Vegetable picking and cleaning device | |
| CN219479146U (en) | Cleaning machine is used in vegetables production | |
| CN108935620B (en) | Food secondary sterilization cooling air-dries system | |
| CN115177010B (en) | Full-automatic nut processing and packaging system | |
| CN216420401U (en) | Automatic continuous cleaning and drying device for food quick-freezing equipment | |
| CN112403098B (en) | Continuous production line for fried peanuts | |
| CN212081895U (en) | Drying equipment capable of removing impurities | |
| CN223640111U (en) | Walnut cleaning device is used in walnut powder processing | |
| CN214718785U (en) | Efficient cleaning equipment for feed processing | |
| CN220274805U (en) | A vegetable egg cake raw material cleaning device | |
| CN106983163A (en) | A kind of fruits and vegetables cleaning device | |
| CN112120248A (en) | Instant day lily processing equipment | |
| CN223207822U (en) | A cleaning and drying equipment for fruit and vegetable processing | |
| CN118912854B (en) | A squid drying equipment | |
| CN207040809U (en) | A kind of fruits and vegetables cleaning device | |
| CN214155997U (en) | Multifunctional sweet potato baking machine | |
| CN221479864U (en) | Edible oil processing hot melting device | |
| CN221246417U (en) | Zongzi leaf belt cleaning device with stoving function | |
| CN218309622U (en) | Feeding machine for waxy corn processing |
Legal Events
| Date | Code | Title | Description |
|---|---|---|---|
| GR01 | Patent grant | ||
| GR01 | Patent grant | ||
| CF01 | Termination of patent right due to non-payment of annual fee |
Granted publication date: 20220211 |
|
| CF01 | Termination of patent right due to non-payment of annual fee |