CN215768042U - Civil engineering material shear strength test device - Google Patents

Civil engineering material shear strength test device Download PDF

Info

Publication number
CN215768042U
CN215768042U CN202122115159.6U CN202122115159U CN215768042U CN 215768042 U CN215768042 U CN 215768042U CN 202122115159 U CN202122115159 U CN 202122115159U CN 215768042 U CN215768042 U CN 215768042U
Authority
CN
China
Prior art keywords
wall
box
fixed
shearing box
pressurizing
Prior art date
Legal status (The legal status is an assumption and is not a legal conclusion. Google has not performed a legal analysis and makes no representation as to the accuracy of the status listed.)
Expired - Fee Related
Application number
CN202122115159.6U
Other languages
Chinese (zh)
Inventor
和金兰
Current Assignee (The listed assignees may be inaccurate. Google has not performed a legal analysis and makes no representation or warranty as to the accuracy of the list.)
Yunnan Technology and Business University
Original Assignee
Yunnan Technology and Business University
Priority date (The priority date is an assumption and is not a legal conclusion. Google has not performed a legal analysis and makes no representation as to the accuracy of the date listed.)
Filing date
Publication date
Application filed by Yunnan Technology and Business University filed Critical Yunnan Technology and Business University
Priority to CN202122115159.6U priority Critical patent/CN215768042U/en
Application granted granted Critical
Publication of CN215768042U publication Critical patent/CN215768042U/en
Expired - Fee Related legal-status Critical Current
Anticipated expiration legal-status Critical

Links

Images

Landscapes

  • Investigating Strength Of Materials By Application Of Mechanical Stress (AREA)

Abstract

本实用新型公开了一种土木工程材料剪切强度试验装置,包括测试台、储水盒、下剪切盒、上剪切盒、放置腔、传压盖、横向加压组件、竖向加压组件和限位板,测试台的顶端外壁上固定有储水盒,储水盒的内部上固定有下剪切盒,下剪切盒外壁上安装有上剪切盒,下剪切盒和上剪切盒的外壁上开设有放置腔,上剪切盒的放置腔内壁上安装有传压盖,且下剪切盒和上剪切盒上的放置腔相互对齐;本实用新型结构简单,体积较小,便于转运,还有设置的横向加压组件,便于调节上剪切盒与下剪切盒对齐,能有效的提高试验的准确性,设置的竖向加压组件,在对上剪切盒施加压力时,便于第一加压顶杆和上剪切同步移动,测量效果比较好,提高了数据的准确性。

Figure 202122115159

The utility model discloses a shear strength test device for civil engineering materials, which comprises a test table, a water storage box, a lower shear box, an upper shear box, a placement cavity, a pressure transmission cover, a lateral pressure component, and a vertical pressure Components and limit plates, a water storage box is fixed on the top outer wall of the test bench, a lower shear box is fixed on the inside of the water storage box, an upper shear box, a lower shear box and an upper shear box are installed on the outer wall of the lower shear box. The outer wall of the shearing box is provided with a placement cavity, the inner wall of the placement cavity of the upper shearing box is provided with a pressure transmission cover, and the placement cavity on the lower shearing box and the upper shearing box are aligned with each other; the utility model has a simple structure and a large volume It is small and easy to transport. There is also a horizontal pressure component set, which is easy to adjust the alignment of the upper shear box and the lower shear box, which can effectively improve the accuracy of the test. When the box applies pressure, it is convenient for the first pressing ejector rod and the upper shear to move synchronously, the measurement effect is better, and the accuracy of the data is improved.

Figure 202122115159

Description

Civil engineering material shear strength test device
Technical Field
The utility model relates to the technical field of civil engineering equipment, in particular to a shearing strength testing device for civil engineering materials.
Background
The civil engineering refers to the engineering entity which is used for surveying, planning, designing, constructing, installing, maintaining and other technical works of newly-built, reconstructed or expanded buildings, structures, related supporting facilities and the like of various projects and the like except for house buildings, and needs to carry out strength test on the land during construction, and a direct shear apparatus is needed.
SUMMERY OF THE UTILITY MODEL
The utility model aims to provide a civil engineering material shear strength test device which is simple in structure, small in size and convenient to transport, is provided with a transverse pressurizing assembly, is convenient to adjust an upper shearing box and a lower shearing box to be aligned, can effectively improve the test accuracy, is convenient for a first pressurizing ejector rod and an upper shearing to synchronously move when pressure is applied to the upper shearing box due to the vertical pressurizing assembly, is good in measurement effect, and improves the data accuracy.
The purpose of the utility model can be realized by the following technical scheme:
the utility model provides a civil engineering material shear strength test device, includes testboard, water storage box, lower shear box, goes up the shear box, places the chamber, passes gland, horizontal pressurization subassembly, vertical pressurization subassembly and limiting plate, be fixed with the water storage box on the top outer wall of testboard, be fixed with the lower shear box on the inside of water storage box, install the shear box on the lower shear box outer wall, it places the chamber to have seted up on the outer wall of lower shear box and last shear box, on cut to install on the intracavity wall of placing of box and pass the gland, and on cut to align each other the chamber of placing on box and the last shear box, one side of going up the shear box is provided with horizontal pressurization subassembly, be provided with vertical pressurization subassembly on the top outer wall of going up the shear box, all be fixed with two limiting plates on the both sides of lower shear box, and the laminating of one side and the last shear box of limiting plate.
As a further scheme of the utility model: the transverse pressurizing assembly comprises a first mounting plate, a moving groove, a lead screw, a moving block, a first pressurizing ejector rod, a U-shaped rod, a limiting rod, a mounting block and a limiting groove, the first mounting plate is fixed on the outer wall of one side of the water storage box of the test bench, the moving groove is formed in the outer wall of the top end of the first mounting plate, the lead screw is rotatably mounted on the inner wall of the moving groove, the moving block is sleeved on the outer wall of the lead screw and is in threaded connection with the lead screw, the first pressurizing ejector rod is mounted on the outer wall of the top end of the moving block, the U-shaped rod is fixed to one end of the first pressurizing ejector rod telescopic shaft, the limiting rod is fixed to one end between side rods of the U-shaped rod, the mounting block is fixed to one side of the upper shearing box, the limiting groove is formed in the outer wall of the mounting block in a penetrating mode corresponding to the limiting rod, and the limiting rod penetrates through the limiting groove.
As a further scheme of the utility model: vertical pressurization subassembly includes second mounting panel, first spout, ball, first slider, falls the U board, second pressurization ejector pin, contact and biography power piece, the testboard all is fixed with the second mounting panel on being located the outer wall of water storage box both sides, first spout has been seted up on the top outer wall of second mounting panel, lay a plurality of balls on the bottom inner wall of first spout, slidable mounting has first slider on the inner wall that first spout is located the ball top, the welding has the board of falling the U on the top side between the first slider, install second pressurization ejector pin on the board top outer wall of falling the U, one of second pressurization ejector pin telescopic shaft is served and is fixed with the contact, it is fixed with biography power piece to correspond the contact on the top side of gland.
As a further scheme of the utility model: pressure sensors are installed at the joint of the first pressurizing ejector rod and the U-shaped rod and the joint of the second pressurizing ejector rod and the contact, a display screen is installed on the outer wall, located on one side of the first mounting plate, of the test bench, and the electrical output end of the sensor is connected with the display screen (the electrical input end).
As a further scheme of the utility model: and a crank is arranged at one end of the screw rod penetrating through the outer wall of the first mounting plate.
As a further scheme of the utility model: and four corners of the outer wall of the bottom end of the test board are fixedly provided with supporting legs.
The utility model has the beneficial effects that: the vertical pressurizing assembly is convenient for the synchronous movement of the first pressurizing ejector rod and the upper shear when the upper shear box is pressurized, has a good measuring effect, improves the accuracy of data, facilitates the visual observation of the applied pressure data through the arranged pressure sensor and the arranged display screen, facilitates the calculation of material strength, and is worthy of wide popularization and application.
Drawings
In order to facilitate understanding for those skilled in the art, the present invention will be further described with reference to the accompanying drawings.
FIG. 1 is a schematic view of the overall front perspective structure of the present invention;
FIG. 2 is a schematic overall side-view perspective of the present invention;
FIG. 3 is an enlarged view of area A of FIG. 2 according to the present invention;
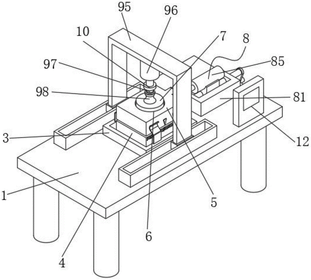
in the figure: 1. a test bench; 2. a support leg; 3. a water storage box; 4. a lower shear box; 5. an upper shearing box; 6. a placement chamber; 7. a pressure transmission cover; 8. a transverse pressurizing assembly; 9. a vertical compression assembly; 10. a pressure sensor; 11. a crank; 12. a display screen; 13. a limiting plate; 81. a first mounting plate; 82. a moving groove; 83. a screw rod; 84. a moving block; 85. a first pressurizing ejector rod; 86. a U-shaped rod; 87. a limiting rod; 88. mounting blocks; 89. a limiting groove; 91. a second mounting plate; 92. a first chute; 93. a ball bearing; 94. a first slider; 95. a U-shaped plate is inverted; 96. a second pressurizing mandril; 97. a contact; 98. a force transfer block.
Detailed Description
The technical solutions of the present invention will be described clearly and completely with reference to the following embodiments, and it should be understood that the described embodiments are only a part of the embodiments of the present invention, and not all of the embodiments. All other embodiments, which can be derived by a person skilled in the art from the embodiments given herein without making any creative effort, shall fall within the protection scope of the present invention.
As shown in figures 1-3, a civil engineering material shear strength test device comprises a test bench 1, a water storage box 3, a lower shearing box 4, an upper shearing box 5, a placing cavity 6, a pressure transmitting cover 7, a transverse pressurizing assembly 8, a vertical pressurizing assembly 9 and limiting plates 13, wherein the water storage box 3 is fixed on the outer wall of the top end of the test bench 1, the lower shearing box 4 is fixed inside the water storage box 3, the upper shearing box 5 is installed on the outer wall of the lower shearing box 4, the placing cavity 6 is arranged on the outer walls of the lower shearing box 4 and the upper shearing box 5, the pressure transmitting cover 7 is installed on the inner wall of the placing cavity 6 of the upper shearing box 5, the placing cavities 6 on the lower shearing box 4 and the upper shearing box 5 are mutually aligned, the transverse pressurizing assembly 8 is arranged on one side of the upper shearing box 5, the vertical pressurizing assembly 9 is arranged on the outer wall of the top end of the upper shearing box 5, two limiting plates 13 are fixed on both sides of the lower shearing box 4, one side of the limiting plate 13 is attached to the upper shearing box 5, so that the shearing strength of the civil engineering material can be tested conveniently, the test is facilitated, and the working efficiency of the test is improved; the four corners of the outer wall of the bottom end of the test board 1 are fixed with the support legs 2, so that the test board is perfect and is convenient for stably supporting equipment;
the transverse pressurizing assembly 8 comprises a first mounting plate 81, a moving groove 82, a screw rod 83, a moving block 84, a first pressurizing ejector rod 85, a U-shaped rod 86, a limiting rod 87, a mounting block 88 and a limiting groove 89, wherein the first mounting plate 81 is fixed on the outer wall of one side of the water storage box 3 of the test bench 1, the moving groove 82 is formed in the outer wall of the top end of the first mounting plate 81, the screw rod 83 is rotatably mounted on the inner wall of the moving groove 82, the moving block 84 is sleeved on the outer wall of the screw rod 83, the moving block 84 is in threaded connection with the screw rod 83, the first pressurizing ejector rod 85 is mounted on the outer wall of the top end of the moving block 84, the U-shaped rod 86 is fixed on one end of a telescopic shaft of the first pressurizing ejector rod 85, the limiting rod 87 is fixed on one end between side rods of the U-shaped rod 86, the mounting block 88 is fixed on one side of the upper shearing box 5, the limiting groove 89 is formed in the outer wall of the mounting block 88 corresponding to the limiting rod 87 in a penetrating way, and the limiting rod 87 penetrates through the limiting groove 89, before testing, the lower shear box 4 and the upper shear box 5 are conveniently and manually aligned, so that dislocation is prevented, the testing accuracy is influenced, and the testing is relatively perfect; the pressure sensor 10 is arranged at the joint of the first pressurizing ejector rod 85 and the U-shaped rod 86 and the joint of the second pressurizing ejector rod 96 and the contact 97, the display screen 12 is arranged on the outer wall of the test board 1 on one side of the first mounting plate 81, and the electrical output end of the sensor 10 is connected with the electrical input end of the display screen 12, so that the pressure applied by the first pressurizing ejector rod 85 and the second pressurizing ejector rod 96 can be conveniently measured, the observation is convenient, and the measurement efficiency is improved; the crank 11 is arranged at one end of the screw rod 83 penetrating through the outer wall of the first mounting plate 81, so that the screw rod 83 can be conveniently rotated manually, time and labor are saved, and the device is practical;
the vertical pressurizing assembly 9 comprises a second mounting plate 91, a first chute 92, balls 93, a first slide block 94, an inverted U-shaped plate 95, a second pressurizing ejector rod 96, a contact 97 and a force transmission block 98, the second mounting plate 91 is fixed on the outer walls of the two sides of the water storage box 3 of the test bench 1, the first chute 92 is arranged on the outer wall of the top end of the second mounting plate 91, the balls 93 are placed on the inner wall of the bottom end of the first chute 92, the first slide block 94 is slidably mounted on the inner wall of the first chute 92 above the balls 93, the inverted U-shaped plate 95 is welded on the top side between the first slide blocks 94, the second pressurizing ejector rod 96 is mounted on the outer wall of the top plate of the inverted U-shaped plate 95, a contact 97 is fixed on one end of the telescopic shaft of the second pressurizing ejector rod 96, the force transmission block 98 is fixed on the top side of the pressure transmission cover 7 corresponding to the contact 97, the structure is simple, the use is convenient, and the first chute 92, the balls 93 and the first slide block 94 are arranged, when the first pressurizing mandril 85 applies pressure to the upper shearing box 5, the second pressurizing mandril 96 can move conveniently, the friction force during moving is smaller, and the test accuracy is improved.
The working principle of the utility model is as follows: when the device is used, the crank 11 is rotated to drive the screw rod 83 to rotate, the screw rod 83 drives the moving block 84 to move, the moving block 84 drives the first pressurizing ejector rod 85 to move, the first pressurizing ejector rod 85 drives the upper shearing box 5 to move, the upper shearing box 5 is aligned with the lower shearing box 4, then a sample is put into the placing cavity 6, the transmission cover 7 is covered, the inverted U-shaped plate 95 is moved right above the transmission cover 7, the second pressurizing ejector rod 96 is started to drive the contact 97 to descend, the contact 97 applies vertical pressure to the transmission block 98, the transmission block 98 applies pressure to the transmission cover 7, the transmission cover 7 applies pressure to the sample, the pressure sensor 10 transmits the vertical pressure to the display screen 12 by observing the display screen 12, the second pressurizing ejector rod 96 stops applying proper pressure, the contact 97 continues to the transmission block 98, finally the first pressurizing ejector rod 85 is started, the first pressurizing ejector rod 85 applies thrust to the upper shearing box 5, the upper shear box 5 is moved, the pressure transmitted back by the pressure sensor 10 on the first pressurizing mandril 85 is observed, and the sample shear strength is calculated according to the numerical values of the vertical pressure and the transverse pressure.
The preferred embodiments of the utility model disclosed above are intended to be illustrative only. The preferred embodiments are not intended to be exhaustive or to limit the utility model to the precise embodiments disclosed. Obviously, many modifications and variations are possible in light of the above teaching. The embodiments were chosen and described in order to best explain the principles of the utility model and the practical application, to thereby enable others skilled in the art to best utilize the utility model. The utility model is limited only by the claims and their full scope and equivalents.

Claims (6)

1. The civil engineering material shear strength test device is characterized by comprising a test board (1), a water storage box (3), a lower shearing box (4), an upper shearing box (5), a placing cavity (6), a pressure transmitting cover (7), a transverse pressurizing assembly (8), a vertical pressurizing assembly (9) and a limiting plate (13), wherein the water storage box (3) is fixed on the outer wall of the top end of the test board (1), the lower shearing box (4) is fixed inside the water storage box (3), the upper shearing box (5) is installed on the outer wall of the lower shearing box (4), the placing cavity (6) is formed in the outer walls of the lower shearing box (4) and the upper shearing box (5), the pressure transmitting cover (7) is installed on the inner wall of the placing cavity (6) of the upper shearing box (5), and the placing cavities (6) in the lower shearing box (4) and the upper shearing box (5) are aligned with each other, go up one side of shearing box (5) and be provided with horizontal pressurization subassembly (8), be provided with vertical pressurization subassembly (9) on the top outer wall of going up shearing box (5), all be fixed with two limiting plate (13) on the both sides of shearing box (4) down, and one side of limiting plate (13) and last shearing box (5) laminating.
2. The civil engineering material shear strength test device according to claim 1, wherein the transverse pressurizing assembly (8) comprises a first mounting plate (81), a moving groove (82), a lead screw (83), a moving block (84), a first pressurizing ejector rod (85), a U-shaped rod (86), a limiting rod (87), a mounting block (88) and a limiting groove (89), the first mounting plate (81) is fixed on the outer wall of the test platform (1) on one side of the water storage box (3), the moving groove (82) is formed in the outer wall of the top end of the first mounting plate (81), the lead screw (83) is rotatably mounted on the inner wall of the moving groove (82), the moving block (84) is sleeved on the outer wall of the lead screw (83), the moving block (84) is in threaded connection with the lead screw (83), the first pressurizing ejector rod (85) is mounted on the outer wall of the top end of the moving block (84), one of first pressurization ejector pin (85) telescopic shaft is served and is fixed with U type pole (86), one between U type pole (86) side lever is served and is fixed with gag lever post (87), be fixed with installation piece (88) on one side of upper shear box (5), correspond gag lever post (87) on the outer wall of installation piece (88) and link up and seted up spacing groove (89), and gag lever post (87) pass in spacing groove (89).
3. The civil engineering material shear strength test device according to claim 1, wherein the vertical pressurizing assembly (9) comprises a second mounting plate (91), a first chute (92), balls (93), a first slide block (94), an inverted U-shaped plate (95), a second pressurizing ejector rod (96), a contact (97) and a force transmission block (98), the second mounting plate (91) is fixed on the outer wall of the test platform (1) positioned at two sides of the water storage box (3), the first chute (92) is formed in the outer wall of the top end of the second mounting plate (91), the balls (93) are placed on the inner wall of the bottom end of the first chute (92), the first slide block (94) is slidably mounted on the inner wall of the first chute (92) positioned above the balls (93), the inverted U-shaped plate (95) is welded on the top side between the first slide blocks (94), the second pressurizing ejector rod (96) is mounted on the outer wall of the top plate (95), a contact (97) is fixed at one end of the telescopic shaft of the second pressurizing ejector rod (96), and a force transmission block (98) is fixed on the top side of the pressure transmission cover (7) corresponding to the contact (97).
4. The civil engineering material shear strength test device of claim 2, wherein the pressure sensor (10) is installed at the joint of the first pressurizing ejector rod (85) and the U-shaped rod (86) and the joint of the second pressurizing ejector rod (96) and the contact (97), the display screen (12) is installed on the outer wall of the test bench (1) on one side of the first installation plate (81), and the electrical output end of the sensor (10) is connected with the electrical input end of the display screen (12).
5. The civil engineering material shear strength test device of claim 2, wherein the crank (11) is mounted on one end of the screw rod (83) penetrating through the outer wall of the first mounting plate (81).
6. The civil engineering material shear strength test device of claim 1, wherein the outer wall of the bottom end of the test bench (1) is fixed with support legs (2) at four corners.
CN202122115159.6U 2021-09-03 2021-09-03 Civil engineering material shear strength test device Expired - Fee Related CN215768042U (en)

Priority Applications (1)

Application Number Priority Date Filing Date Title
CN202122115159.6U CN215768042U (en) 2021-09-03 2021-09-03 Civil engineering material shear strength test device

Applications Claiming Priority (1)

Application Number Priority Date Filing Date Title
CN202122115159.6U CN215768042U (en) 2021-09-03 2021-09-03 Civil engineering material shear strength test device

Publications (1)

Publication Number Publication Date
CN215768042U true CN215768042U (en) 2022-02-08

Family

ID=80083428

Family Applications (1)

Application Number Title Priority Date Filing Date
CN202122115159.6U Expired - Fee Related CN215768042U (en) 2021-09-03 2021-09-03 Civil engineering material shear strength test device

Country Status (1)

Country Link
CN (1) CN215768042U (en)

Cited By (1)

* Cited by examiner, † Cited by third party
Publication number Priority date Publication date Assignee Title
CN116879058A (en) * 2023-08-25 2023-10-13 中国水利水电科学研究院 A reflex force shear test device and method applied to original graded coarse-grained soil

Cited By (1)

* Cited by examiner, † Cited by third party
Publication number Priority date Publication date Assignee Title
CN116879058A (en) * 2023-08-25 2023-10-13 中国水利水电科学研究院 A reflex force shear test device and method applied to original graded coarse-grained soil

Similar Documents

Publication Publication Date Title
CN105352820B (en) Multi-function fracture rock mass pressure shear test device
CN108254205B (en) Large-scale indoor comprehensive simulation test platform and method for tunnel dangerous rock collapse
CN108645707B (en) Test device and method for simulating soil pressure under stable seepage and vibration load
CN106989995A (en) A kind of adjustable Rock And Soil of lateral spacing condition vertically compresses ancillary test device
CN105319130A (en) Testing method for testing compression-shear performance of jointed rock
CN107356482A (en) Test the test platform of Creep of Geosynthetics performance
CN107063883A (en) A kind of multifunctional combined experimental rig of soil mechanics and test method
CN102175533A (en) Ultra-large type geotechnical engineering three-dimensional model test system
CN204694560U (en) A kind of indoor frozen soil model stake static loading experimental provision
CN106370528A (en) Portable rock structure surface direct shearing tester
CN107063893A (en) The multi-functional staight scissors simple shear test system of temperature suction stress coupling and its operating method
CN215768042U (en) Civil engineering material shear strength test device
CN113804560A (en) Unsaturated soil and structure interface shear visual test device and method
CN109269915B (en) Rock structural surface constant normal stiffness shear tester and test method thereof
CN114279940A (en) Visual teaching system for shear seepage characteristics of fractured rock mass
CN210775057U (en) A a supporting beam compressive capacity detection device for construction
CN206862748U (en) Simulate the experimental provision of tunnel stress characteristics at tomography
CN107179242B (en) A kind of manual simplified true triaxil tester
CN206113924U (en) Special slope measuring device of building engineering
CN217385006U (en) Concrete beam compression crack detection device
CN211652391U (en) On-spot direct shear test device that can dismantle of soil stone mixture
CN208183822U (en) A kind of experimental detection device of single-pile foundation vertical bearing capacity
CN118858078A (en) Experimental device and method for simulating grout-rock interaction during grouting diffusion
CN216386630U (en) Precast concrete lining section of jurisdiction bending resistance detection device
CN116399558A (en) Multi-system combined landslide surge simulation device and method

Legal Events

Date Code Title Description
GR01 Patent grant
GR01 Patent grant
CF01 Termination of patent right due to non-payment of annual fee

Granted publication date: 20220208

CF01 Termination of patent right due to non-payment of annual fee