CN215750821U - 一种摩擦焊接辅助超声波焊接的装置 - Google Patents

一种摩擦焊接辅助超声波焊接的装置 Download PDF

Info

Publication number
CN215750821U
CN215750821U CN202121311773.3U CN202121311773U CN215750821U CN 215750821 U CN215750821 U CN 215750821U CN 202121311773 U CN202121311773 U CN 202121311773U CN 215750821 U CN215750821 U CN 215750821U
Authority
CN
China
Prior art keywords
groove
welding
moving
plate
ultrasonic welding
Prior art date
Legal status (The legal status is an assumption and is not a legal conclusion. Google has not performed a legal analysis and makes no representation as to the accuracy of the status listed.)
Expired - Fee Related
Application number
CN202121311773.3U
Other languages
English (en)
Inventor
徐鹏
Current Assignee (The listed assignees may be inaccurate. Google has not performed a legal analysis and makes no representation or warranty as to the accuracy of the list.)
Shandong Sonic Petroleum Industry Technology Research Institute Co ltd
Original Assignee
Shandong Sonic Petroleum Industry Technology Research Institute Co ltd
Priority date (The priority date is an assumption and is not a legal conclusion. Google has not performed a legal analysis and makes no representation as to the accuracy of the date listed.)
Filing date
Publication date
Application filed by Shandong Sonic Petroleum Industry Technology Research Institute Co ltd filed Critical Shandong Sonic Petroleum Industry Technology Research Institute Co ltd
Priority to CN202121311773.3U priority Critical patent/CN215750821U/zh
Application granted granted Critical
Publication of CN215750821U publication Critical patent/CN215750821U/zh
Expired - Fee Related legal-status Critical Current
Anticipated expiration legal-status Critical

Links

Images

Landscapes

  • Lining Or Joining Of Plastics Or The Like (AREA)

Abstract

本实用新型属于超声波焊接领域,尤其是一种摩擦焊接辅助超声波焊接的装置,针对现有摩擦焊接辅助超声波焊接设备的对焊接件的固定效果较差,焊接件在加工时容易发生偏移,且固定流程繁琐,步骤较多的问题,现提出如下方案,其包括焊接加工台、超声波焊接机、两个调节板和两个夹持固定结构,所述超声波焊接机固定安装在焊接加工台上,两个所述调节板均滑动安装在焊接加工台上,两个所述夹持固定结构分别设置在两个调节上。本实用新型的摩擦焊接辅助超声波焊接设备的对焊接件的固定效果较好,焊接件在加工时更加稳定,且不会发生偏移,固定流程简便,步骤较少,使用起来省时省力。

Description

一种摩擦焊接辅助超声波焊接的装置
技术领域
本实用新型涉及超声波焊接技术领域,尤其涉及一种摩擦焊接辅助超声波焊接的装置。
背景技术
摩擦焊接是把要对接的两个热塑性塑料制品的待接表面相互接触旋转,而使其相继发生摩擦生热,接合面受热熔化,以致在压力下结为整体的一种焊接法,超声波焊接机器工作原理要求两个进行结合的零件,在上面的一个振动,在下面的一个静止,接触面上的摩擦热使表面之塑料熔化从而结合;然而现有的摩擦焊接辅助超声波焊接设备的对焊接件的固定效果较差,焊接件在加工时容易发生偏移,且固定流程繁琐,步骤较多。
实用新型内容
本实用新型的目的是为了解决现有技术中存在的缺点,而提出的一种摩擦焊接辅助超声波焊接的装置。
为了实现上述目的,本实用新型采用了如下技术方案:
一种摩擦焊接辅助超声波焊接的装置,包括焊接加工台、超声波焊接机、两个调节板和两个夹持固定结构,所述超声波焊接机固定安装在焊接加工台上,两个所述调节板均滑动安装在焊接加工台上,两个所述夹持固定结构分别设置在两个调节上,所述夹持固定结构包括承载板、两个移动板、两个控制杆、两个限位板、两个丝杆和两个齿轮一,所述调节板的一侧开设有安装槽,所述承载板滑动安装在安装槽内,承载板的顶部开设有两个移动槽,所述移动板滑动安装在对应的移动槽内,两个所述移动板的一侧均开设有固定孔,所述控制杆滑动安装在对应的固定孔内,所述限位板固定安装在对应的控制杆的一端,两个所述控制杆上均套设有压簧,两个所述移动板的一侧均开设有螺纹孔,两个所述移动槽的内壁上均开设有连接孔,所述丝杆转动安装在对应的连接孔内,所述丝杆螺纹安装在对应的螺纹孔内,所述齿轮固定安装在对应的丝杆的一端,所述安装槽的两侧内壁上均固定安装有齿条一,所述齿条一与对应的齿轮一啮合。
具体的,所述调节板上设有控制结构,所述控制结构与承载板相连接。
通过上述技术方案:控制结构可以快速解除两个限位板对工件的夹持限制。
具体的,两个所述限位板相互靠近的一侧均固定安装有防滑板。
通过上述技术方案:防滑板可以提升限位板表面的防滑性。
具体的,所述移动槽的内壁上开设有辅助槽,所述移动板上固定安装有限制块,所述限制块与辅助槽的内壁滑动连接。
通过上述技术方案:移动板在移动过程中会带动限制块一起滑动,使得限制块在辅助槽内滑动时可稳定移动板的位置。
具体的,所述安装槽的内壁上开设有滑槽,所述承载板上固定安装有滑块,所述滑块滑动安装在滑槽内。
通过上述技术方案:承载板在移动时可带动滑块在滑槽内滑动,提升了承载板的移动稳定性。
具体的,所述移动槽的一侧内壁上开设有旋转槽,所述丝杆的一端转动连接在旋转槽内。
通过上述技术方案:丝杆在旋转槽内转动,能提升其转动时的稳定性。
与现有技术相比,本实用新型的有益效果在于:
(1)本实用新型的一种摩擦焊接辅助超声波焊接的装置,在加工时直接将工件放置在承载板上并向下按压即可自动固定工件的位置,需要手动操作的步骤较少,固定比较快速,提升焊接效率。
(2)本实用新型的一种摩擦焊接辅助超声波焊接的装置,两个夹持固定结构可以将两个工件较好的稳定,可提升焊接效率和焊接品质。
附图说明
为了更清楚地说明本实用新型的实施方式或现有技术中的技术方案,下面将对实施方式或现有技术描述中所需要使用的附图作简单地介绍。显而易见地,下面描述中的附图仅仅是示例性的,本说明书所绘示的结构、比例、大小等,均仅用以配合说明书所揭示的内容,以供熟悉此技术的人士了解与阅读,并非用以限定本实用新型可实施的限定条件,故不具技术上的实质意义,任何结构的修饰、比例关系的改变或大小的调整。
图1为本实用新型提出的一种摩擦焊接辅助超声波焊接的装置的立体结构示意图;
图2为本实用新型提出的一种摩擦焊接辅助超声波焊接的装置的主视结构示意图;
图3为本实用新型提出的一种摩擦焊接辅助超声波焊接的装置的调节板、承载板、移动杆、移动板和限位板的结构示意图;
图4为本实用新型提出的一种摩擦焊接辅助超声波焊接的装置的A部分结构示意图。
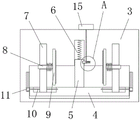
图中:1、焊接加工台;2、超声波焊接机;3、调节板;4、承载板;5、移动杆;6、第一弹簧;7、移动板;8、控制杆;9、限位板; 10、丝杆;11、齿轮一;12、限位杆;13、齿轮二;14、解控杆;15、转动座;16、第二弹簧。
具体实施方式
以下由特定的具体实施例说明本实用新型的实施方式,熟悉此技术的人士可由本说明书所揭露的内容轻易地了解本实用新型的其他优点及功效,显然,所描述的实施例是本实用新型一部分实施例,而不是全部的实施例。基于本实用新型中的实施例,本领域普通技术人员在没有做出创造性劳动前提下所获得的所有其他实施例,都属于本实用新型保护的范围。
参照图1-4,一种摩擦焊接辅助超声波焊接的装置,包括焊接加工台1、超声波焊接机2、两个调节板3和两个夹持固定结构,所述超声波焊接机2固定安装在焊接加工台1上,两个所述调节板3均滑动安装在焊接加工台1上,两个所述夹持固定结构分别设置在两个调节上,所述夹持固定结构包括承载板4、两个移动板7、两个控制杆 8、两个限位板9、两个丝杆10和两个齿轮一11,所述调节板3的一侧开设有安装槽,所述承载板4滑动安装在安装槽内,承载板4的顶部开设有两个移动槽,所述移动板7滑动安装在对应的移动槽内,两个所述移动板7的一侧均开设有固定孔,所述控制杆8滑动安装在对应的固定孔内,所述限位板9固定安装在对应的控制杆8的一端,两个所述控制杆8上均套设有压簧,两个所述移动板7的一侧均开设有螺纹孔,两个所述移动槽的内壁上均开设有连接孔,所述丝杆10转动安装在对应的连接孔内,所述丝杆10螺纹安装在对应的螺纹孔内,所述齿轮固定安装在对应的丝杆10的一端,所述安装槽的两侧内壁上均固定安装有齿条一,所述齿条一与对应的齿轮一11啮合,齿轮一11带动丝杆10转动,丝杆10带动对应的移动板7移动,移动板 7带动对应的限位板9移动,两个限位板9向相互靠近的方向移动,使得两个限位板9对焊接工件夹持。
请再次参阅图3和图4,本实施例中,调节板3上设有控制结构,所述控制结构与承载板4相连接,控制结构可以快速解除两个限位板 9对工件的夹持限制,控制结构包括移动杆5、限位杆12、齿轮二13、解控杆14和转动座15,移动杆5固定安装在承载板4的顶部,安装槽的顶部内壁上开设有弹簧槽,移动杆5滑动安装在弹簧槽内,移动杆5的顶端固定安装有第一弹簧6,第一弹簧6的顶端固定安装在弹簧槽的内壁上,移动杆5的一侧开设有限位槽,弹簧槽的内壁上开设有控制槽,限位杆12滑动安装在控制槽内,限位杆12的一端安装在限位槽内,限位杆12的另一端固定安装有第二弹簧16,第二弹簧16 的一端固定安装在控制槽的内壁上,限位杆12上固定安装有齿条二,控制槽的顶部内壁上开设有通孔,解控杆14转动安装在通孔内,解控杆14的一端固定安装在齿轮二13上,齿轮二13与齿条二啮合,解控杆14的另一端固定安装在转动座15上,转动座15带动解控杆 14转动,解控杆14带动齿轮二13转动,齿轮二13带动齿条二和限位杆12移动,限位杆12滑出限位槽便可取消移动杆5的固定限制,同时可以取消焊接工件的固定限制。
请再次参阅图3,本实施例中,两个所述限位板9相互靠近的一侧均固定安装有防滑板,防滑板可以提升限位板9表面的防滑性。
请再次参阅图3,本实施例中,移动槽的内壁上开设有辅助槽,所述移动板7上固定安装有限制块,所述限制块与辅助槽的内壁滑动连接,移动板7在移动过程中会带动限制块一起滑动,使得限制块在辅助槽内滑动时可稳定移动板7的位置。
请再次参阅图3,本实施例中,安装槽的内壁上开设有滑槽,所述承载板4上固定安装有滑块,所述滑块滑动安装在滑槽内,承载板 4在移动时可带动滑块在滑槽内滑动,提升了承载板4的移动稳定性。
请再次参阅图3,本实施例中,移动槽的一侧内壁上开设有旋转槽,所述丝杆10的一端转动连接在旋转槽内,丝杆10在旋转槽内转动,能提升其转动时的稳定性。
本实施例中,将焊接工件放置在承载板4上并向下按压,使得承载板4在安装槽内滑动,承载板4带动移动杆5移动,移动杆5拉动第一弹簧6,同时承载板4带动两个齿轮一11移动,齿轮一11在齿条一上移动并啮合转动,使得齿轮一11带动丝杆10转动,丝杆10 带动对应的移动板7移动,移动板7带动对应的限位板9移动,两个限位板9向相互靠近的方向移动,使得两个限位板9对焊接工件夹持,同时移动板7挤压压簧,压簧的弹性作用可挤压限位板9,两个限位板9固定焊接工件位置的同时,移动杆5上限位槽的位置与限位杆 12相对应后,第二弹簧16的弹性作用带动限位杆12自动插入限位槽内,便可固定承载板4的位置,便可固定焊接工件的位置,在焊接完成后,直接转动转动座15,转动座15带动解控杆14转动,解控杆14带动齿轮二13转动,齿轮二13带动齿条二和限位杆12移动,限位杆12滑出限位槽便可取消移动杆5的固定限制,同时可以取消焊接工件的固定限制。
本实用新型相对现有技术获得的技术进步是:本实用新型的摩擦焊接辅助超声波焊接设备的对焊接件的固定效果较好,焊接件在加工时更加稳定,且不会发生偏移,固定流程简便,步骤较少,使用起来省时省力。

Claims (6)

1.一种摩擦焊接辅助超声波焊接的装置,其特征在于,包括焊接加工台(1)、超声波焊接机(2)、两个调节板(3)和两个夹持固定结构,所述超声波焊接机(2)固定安装在焊接加工台(1)上,两个所述调节板(3)均滑动安装在焊接加工台(1)上,两个所述夹持固定结构分别设置在两个调节上,所述夹持固定结构包括承载板(4)、两个移动板(7)、两个控制杆(8)、两个限位板(9)、两个丝杆(10)和两个齿轮一(11),所述调节板(3)的一侧开设有安装槽,所述承载板(4)滑动安装在安装槽内,承载板(4)的顶部开设有两个移动槽,所述移动板(7)滑动安装在对应的移动槽内,两个所述移动板(7)的一侧均开设有固定孔,所述控制杆(8)滑动安装在对应的固定孔内,所述限位板(9)固定安装在对应的控制杆(8)的一端,两个所述控制杆(8)上均套设有压簧,两个所述移动板(7)的一侧均开设有螺纹孔,两个所述移动槽的内壁上均开设有连接孔,所述丝杆(10)转动安装在对应的连接孔内,所述丝杆(10)螺纹安装在对应的螺纹孔内,所述齿轮固定安装在对应的丝杆(10)的一端,所述安装槽的两侧内壁上均固定安装有齿条一,所述齿条一与对应的齿轮一(11)啮合。
2.根据权利要求1所述的一种摩擦焊接辅助超声波焊接的装置,其特征在于,所述调节板(3)上设有控制结构,所述控制结构与承载板(4)相连接。
3.根据权利要求1所述的一种摩擦焊接辅助超声波焊接的装置,其特征在于,两个所述限位板(9)相互靠近的一侧均固定安装有防滑板。
4.根据权利要求1所述的一种摩擦焊接辅助超声波焊接的装置,其特征在于,所述移动槽的内壁上开设有辅助槽,所述移动板(7)上固定安装有限制块,所述限制块与辅助槽的内壁滑动连接。
5.根据权利要求1所述的一种摩擦焊接辅助超声波焊接的装置,其特征在于,所述安装槽的内壁上开设有滑槽,所述承载板(4)上固定安装有滑块,所述滑块滑动安装在滑槽内。
6.根据权利要求1所述的一种摩擦焊接辅助超声波焊接的装置,其特征在于,所述移动槽的一侧内壁上开设有旋转槽,所述丝杆(10)的一端转动连接在旋转槽内。
CN202121311773.3U 2021-06-11 2021-06-11 一种摩擦焊接辅助超声波焊接的装置 Expired - Fee Related CN215750821U (zh)

Priority Applications (1)

Application Number Priority Date Filing Date Title
CN202121311773.3U CN215750821U (zh) 2021-06-11 2021-06-11 一种摩擦焊接辅助超声波焊接的装置

Applications Claiming Priority (1)

Application Number Priority Date Filing Date Title
CN202121311773.3U CN215750821U (zh) 2021-06-11 2021-06-11 一种摩擦焊接辅助超声波焊接的装置

Publications (1)

Publication Number Publication Date
CN215750821U true CN215750821U (zh) 2022-02-08

Family

ID=80100312

Family Applications (1)

Application Number Title Priority Date Filing Date
CN202121311773.3U Expired - Fee Related CN215750821U (zh) 2021-06-11 2021-06-11 一种摩擦焊接辅助超声波焊接的装置

Country Status (1)

Country Link
CN (1) CN215750821U (zh)

Similar Documents

Publication Publication Date Title
CN112025023B (zh) 一种上料方便的电路板智能焊接装置
CN219310259U (zh) 一种便于调节攻丝机构的攻丝机
CN212708492U (zh) 一种新型pcb板在线高效自动印刷机
CN215750821U (zh) 一种摩擦焊接辅助超声波焊接的装置
CN212191416U (zh) 一种加工塑料制品的铣床
CN222133523U (zh) 一种非标自动化钻孔机
CN113275615A (zh) 一种建筑铝合金模板制作加工工艺
CN116099914B (zh) 一种具有模块电极折弯的工装
CN219112959U (zh) 带有定位机构的布料溜槽钻孔设备
CN216912405U (zh) 一种数控电火花微孔加工机床的工件夹持装置
CN210997239U (zh) 一种钣金件电焊笔夹具
CN213034651U (zh) 一种高频变压器包装用抓取装置
CN215613768U (zh) 一种快速分离构件表面颗粒装置
CN208866797U (zh) 用于卧式铣床的紧固装置
CN209867518U (zh) 一种车门内板加工生产用切割装置
CN215392963U (zh) 一种汽车配件用手动攻丝设备
CN108032514B (zh) 一种3d打印设备
CN219292825U (zh) 一种金属零件钻孔用夹持工装
CN216151741U (zh) 一种立式加工中心夹具
CN222520124U (zh) 一种锯条生产加工用铣齿装置
CN221389909U (zh) 一种金属切削机床用的定位机构
CN218612886U (zh) 一种机械加工用定位装置
CN215238890U (zh) 一种新型焊接夹具
CN223465891U (zh) 一种切平焊接一体机
CN213497071U (zh) 一种电路板过波峰焊治具

Legal Events

Date Code Title Description
GR01 Patent grant
GR01 Patent grant
CF01 Termination of patent right due to non-payment of annual fee
CF01 Termination of patent right due to non-payment of annual fee

Granted publication date: 20220208