CN215740827U - 一种骨科护理用负压吸引器 - Google Patents
一种骨科护理用负压吸引器 Download PDFInfo
- Publication number
- CN215740827U CN215740827U CN202122422239.6U CN202122422239U CN215740827U CN 215740827 U CN215740827 U CN 215740827U CN 202122422239 U CN202122422239 U CN 202122422239U CN 215740827 U CN215740827 U CN 215740827U
- Authority
- CN
- China
- Prior art keywords
- winding box
- negative pressure
- main body
- winding
- connecting pipe
- Prior art date
- Legal status (The legal status is an assumption and is not a legal conclusion. Google has not performed a legal analysis and makes no representation as to the accuracy of the status listed.)
- Active
Links
- 230000000399 orthopedic effect Effects 0.000 title claims abstract description 18
- 230000000474 nursing effect Effects 0.000 title claims abstract description 15
- 238000004804 winding Methods 0.000 claims description 46
- 229920000742 Cotton Polymers 0.000 claims description 3
- 238000009434 installation Methods 0.000 abstract description 2
- 238000000034 method Methods 0.000 description 9
- 206010062717 Increased upper airway secretion Diseases 0.000 description 4
- 206010036790 Productive cough Diseases 0.000 description 4
- 208000026435 phlegm Diseases 0.000 description 4
- 208000024794 sputum Diseases 0.000 description 4
- 210000003802 sputum Anatomy 0.000 description 4
- 238000005096 rolling process Methods 0.000 description 3
- 241000521257 Hydrops Species 0.000 description 2
- 206010030113 Oedema Diseases 0.000 description 2
- 201000010099 disease Diseases 0.000 description 2
- 208000037265 diseases, disorders, signs and symptoms Diseases 0.000 description 2
- 238000007789 sealing Methods 0.000 description 2
- 206010000210 abortion Diseases 0.000 description 1
- 231100000176 abortion Toxicity 0.000 description 1
- 230000004075 alteration Effects 0.000 description 1
- 230000009286 beneficial effect Effects 0.000 description 1
- 239000008280 blood Substances 0.000 description 1
- 210000004369 blood Anatomy 0.000 description 1
- AGKSTYPVMZODRV-UHFFFAOYSA-N imibenconazole Chemical compound C1=CC(Cl)=CC=C1CSC(CN1N=CN=C1)=NC1=CC=C(Cl)C=C1Cl AGKSTYPVMZODRV-UHFFFAOYSA-N 0.000 description 1
- 208000015181 infectious disease Diseases 0.000 description 1
- 238000003780 insertion Methods 0.000 description 1
- 230000037431 insertion Effects 0.000 description 1
- 239000007788 liquid Substances 0.000 description 1
- 238000012986 modification Methods 0.000 description 1
- 230000004048 modification Effects 0.000 description 1
- 210000003200 peritoneal cavity Anatomy 0.000 description 1
- 230000002980 postoperative effect Effects 0.000 description 1
- 230000000241 respiratory effect Effects 0.000 description 1
- 238000007920 subcutaneous administration Methods 0.000 description 1
- 238000006467 substitution reaction Methods 0.000 description 1
- 238000002627 tracheal intubation Methods 0.000 description 1
Images
Landscapes
- External Artificial Organs (AREA)
Abstract
本实用新型公开了一种骨科护理用负压吸引器,包括吸引主体,所述吸引主体的顶部前表面装设有开关键,所述开关键的一侧转动装设有压力旋钮,所述压力旋钮的一侧固定设置有压力表,所述吸引主体的顶部另一侧设置有一体式的把手,所述吸引主体的顶部一侧放置有收集瓶,所述吸引主体的顶部连接装设有背带;通过在吸引主体的顶部设置背带,使用携带时,可将背带抽出,通过背带背负该装置,便于移动携带该装置,提高了该装置的便捷性,同时该装置在使用时,收集瓶的顶部通常在连接插管时,连接管直接插设连接,使用过程中连接不稳定,通过在插头上设置旋帽,当连接管与接头插接后,通过旋帽旋设压合,可保证连接管安装的密封性与稳定性。
Description
技术领域
本实用新型属于负压吸引器技术领域,具体涉及一种骨科护理用负压吸引器。
背景技术
负压吸引器一般有以下几种作用:第一、用于家用吸痰或者医院临床手术急救中的吸痰,家中有老人年龄过高不能有效咳痰时,可以使用负压吸引器来进行吸痰,以保证将痰液吸出,保持呼吸道通畅,第二、用于妇产科清宫手术,如果妇产科人工流产之后要进行清宫手术,就需要用到负压吸引器进行清宫,第三、由于其它手术过程当中,手术当中使用负压吸引器可以吸除手术中的血液、腹腔内积液以及电刀产生的烟雾,使手术野更加清晰,减少感染的几率,第四、用于手术后液体的吸引,比如手术之后为了防止皮下积液的渗出,可以放置负压吸引器来进行引流。
现有的骨科护理用负压吸引器,通常在骨科的病患护理过程中,通常需要对病患进行吸痰,确保患者的安全性,但该装置通常在使用过程中,需要进行携带,通常携带时通过把手提拿,携带过程中不方便,降低该吸引器的实用性的问题,为此我们提出一种骨科护理用负压吸引器。
实用新型内容
本实用新型的目的在于提供一种骨科护理用负压吸引器,以解决上述背景技术中提出的现有的骨科护理用负压吸引器,通常在骨科的病患护理过程中,通常需要对病患进行吸痰,确保患者的安全性,但该装置通常在使用过程中,需要进行携带,通常携带时通过把手提拿,携带过程中不方便,降低该吸引器的实用性的问题。
为实现上述目的,本实用新型提供如下技术方案:一种骨科护理用负压吸引器,包括吸引主体,所述吸引主体的顶部前表面装设有开关键,所述开关键的一侧转动装设有压力旋钮,所述压力旋钮的一侧固定设置有压力表,所述吸引主体的顶部另一侧设置有一体式的把手,所述吸引主体的顶部一侧放置有收集瓶,所述吸引主体的顶部连接装设有背带,所述吸引主体的一侧顶部固定装设有第一收卷盒,所述吸引主体另一侧顶部固定装设有第二收卷盒,所述第一收卷盒与第二收卷盒对称安装,且所述第一收卷盒的内侧转动装设有卷杆,所述卷杆的两端连接卷绕有发条,所述背带的两端分别连接装设在第一收卷盒与第二收卷盒的内侧。
优选的,所述收集瓶的顶部对称设置有接头,且所述接头与吸引主体之间连接插设有连接管,所述连接管的一端设置有过滤器,且所述接头的外侧旋设有旋帽。
优选的,所述旋帽为中空的圆台结构。
优选的,所述旋帽的内表面开设有内螺纹,且所述接头的外表面开设有外螺纹,所述旋帽与接头通过螺纹旋设连接。
优选的,所述背带的一侧表面设置有棉片。
优选的,所述第一收卷盒与第二收卷盒的内部结构相同,且所述背带的两端分别卷绕在第一收卷盒与第二收卷盒内侧装设的卷杆上。
与现有技术相比,本实用新型的有益效果是:
(1)通常在医护人员使用该装置进行护理吸痰时,需要提拿携带,携带过程中不方便握持,通过在吸引主体的顶部设置背带,背带的两端通过收卷盒进行自动收卷,使用携带时,可将背带抽出,通过背带背负该装置,便于移动携带该装置,同时背带自动收卷,携带后便于收放,防止肩带被磨损,提高了该装置的实用性;
(2)同时该装置在使用时,收集瓶的顶部设置有接头,通常在连接插管时,连接管直接插设连接,使用过程中连接不稳定,通过在插头上设置旋帽,当连接管与接头插接后,通过旋帽旋设压合,可保证连接管安装的密封性与稳定性,便于吸引使用,提高了该装置的稳定性。
附图说明
图1为本实用新型的结构示意图;
图2为本实用新型第一收卷盒的左视剖视结构示意图;
图3为本实用新型连接管与收集瓶连接处的结构示意图;
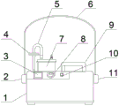
图中:1、吸引主体;2、第一收卷盒;3、压力表;4、过滤器;5、连接管;6、背带;7、收集瓶;8、压力旋钮;9、把手;10、开关键;11、第二收卷盒;12、发条;13、卷杆;14、旋帽;15、接头。
具体实施方式
下面将结合本实用新型实施例中的附图,对本实用新型实施例中的技术方案进行清楚、完整地描述,显然,所描述的实施例仅仅是本实用新型一部分实施例,而不是全部的实施例。基于本实用新型中的实施例,本领域普通技术人员在没有做出创造性劳动前提下所获得的所有其他实施例,都属于本实用新型保护的范围。
请参阅图1、图2和图3,本实用新型提供一种技术方案:一种骨科护理用负压吸引器,包括吸引主体1,吸引主体1的顶部前表面装设有开关键10,开关键10的一侧转动装设有压力旋钮8,压力旋钮8的一侧固定设置有压力表3,吸引主体1的顶部另一侧设置有一体式的把手9,吸引主体1的顶部一侧放置有收集瓶7,吸引主体1的顶部连接装设有背带6,吸引主体1的一侧顶部固定装设有第一收卷盒2,吸引主体1另一侧顶部固定装设有第二收卷盒11,第一收卷盒2与第二收卷盒11对称安装,且第一收卷盒2的内侧转动装设有卷杆13,卷杆13的两端连接卷绕有发条12,背带6的两端分别连接装设在第一收卷盒2与第二收卷盒11的内侧,通过在吸引主体1的顶部设置的背带6,使用携带时,可通过背带6背负该装置,便于移动携带该装置,提高了该装置的实用性与便捷性。
为了更好的背负,本实施例中,优选的,背带6的一侧表面设置有棉片,提高背负时的舒适性,为了更好的进行收放使用,本实施例中,优选的,第一收卷盒2与第二收卷盒11的内部结构相同,且背带6的两端分别卷绕在第一收卷盒2与第二收卷盒11内侧装设的卷杆13上,方便背负携带,为了更好的进行插接,本实施例中,优选的,收集瓶7的顶部对称设置有接头15,且接头15与吸引主体1之间连接插设有连接管5,连接管5的一端设置有过滤器4,且接头15的外侧旋设有旋帽14,保证收集瓶7顶部管道连接的稳定性与密封性,防止连接处脱落,为了更好的压合连接,本实施例中,优选的,旋帽14为中空的圆台结构,可稳定的压合使用,为了更好的连接,本实施例中,优选的,旋帽14的内表面开设有内螺纹,且接头15的外表面开设有外螺纹,旋帽14与接头15通过螺纹旋设连接,保证连接的稳定性。
本实用新型的工作原理及使用流程:通常在医护人员使用该装置进行护理吸痰时,需要提拿携带,携带过程中不方便握持,通过在吸引主体1的顶部设置背带6,背带6的两端设置在收卷盒内装设的卷杆13上,且卷杆13的两端设置有发条12,使用携带时,可将背带6抽出,通过背带6背负该装置,便于移动携带该装置,同时背带6抽出时卷杆13转动带动发条12缩卷,从而产生回卷力,当携带后放置时,发条12产生的回卷力带动卷杆13转动,从而将背带6收卷,防止背带6被磨损,且该装置在使用时,收集瓶7的顶部设置有两个接头15,通常在连接插管时,连接管5与接头15直接插设连接,使用过程中连接不稳定,通过在接头15上设置旋帽14,当连接管5与接头15插接后,可旋紧旋帽14将连接处压合,保证连接管5插接处的密封性与稳定性,便于吸引使用,提高了该装置的稳定性。
尽管已经示出和描述了本实用新型的实施例,对于本领域的普通技术人员而言,可以理解在不脱离本实用新型的原理和精神的情况下可以对这些实施例进行多种变化、修改、替换和变型,本实用新型的范围由所附权利要求及其等同物限定。
Claims (6)
1.一种骨科护理用负压吸引器,包括吸引主体(1),所述吸引主体(1)的顶部前表面装设有开关键(10),所述开关键(10)的一侧转动装设有压力旋钮(8),所述压力旋钮(8)的一侧固定设置有压力表(3),所述吸引主体(1)的顶部另一侧设置有一体式的把手(9),所述吸引主体(1)的顶部一侧放置有收集瓶(7),其特征在于:所述吸引主体(1)的顶部连接装设有背带(6),所述吸引主体(1)的一侧顶部固定装设有第一收卷盒(2),所述吸引主体(1)另一侧顶部固定装设有第二收卷盒(11),所述第一收卷盒(2)与第二收卷盒(11)对称安装,且所述第一收卷盒(2)的内侧转动装设有卷杆(13),所述卷杆(13)的两端连接卷绕有发条(12),所述背带(6)的两端分别连接装设在第一收卷盒(2)与第二收卷盒(11)的内侧。
2.根据权利要求1所述的一种骨科护理用负压吸引器,其特征在于:所述收集瓶(7)的顶部对称设置有接头(15),且所述接头(15)与吸引主体(1)之间连接插设有连接管(5),所述连接管(5)的一端设置有过滤器(4),且所述接头(15)的外侧旋设有旋帽(14)。
3.根据权利要求2所述的一种骨科护理用负压吸引器,其特征在于:所述旋帽(14)为中空的圆台结构。
4.根据权利要求3所述的一种骨科护理用负压吸引器,其特征在于:所述旋帽(14)的内表面开设有内螺纹,且所述接头(15)的外表面开设有外螺纹,所述旋帽(14)与接头(15)通过螺纹旋设连接。
5.根据权利要求1所述的一种骨科护理用负压吸引器,其特征在于:所述背带(6)的一侧表面设置有棉片。
6.根据权利要求1所述的一种骨科护理用负压吸引器,其特征在于:所述第一收卷盒(2)与第二收卷盒(11)的内部结构相同,且所述背带(6)的两端分别卷绕在第一收卷盒(2)与第二收卷盒(11)内侧装设的卷杆(13)上。
Priority Applications (1)
| Application Number | Priority Date | Filing Date | Title |
|---|---|---|---|
| CN202122422239.6U CN215740827U (zh) | 2021-10-09 | 2021-10-09 | 一种骨科护理用负压吸引器 |
Applications Claiming Priority (1)
| Application Number | Priority Date | Filing Date | Title |
|---|---|---|---|
| CN202122422239.6U CN215740827U (zh) | 2021-10-09 | 2021-10-09 | 一种骨科护理用负压吸引器 |
Publications (1)
| Publication Number | Publication Date |
|---|---|
| CN215740827U true CN215740827U (zh) | 2022-02-08 |
Family
ID=80092999
Family Applications (1)
| Application Number | Title | Priority Date | Filing Date |
|---|---|---|---|
| CN202122422239.6U Active CN215740827U (zh) | 2021-10-09 | 2021-10-09 | 一种骨科护理用负压吸引器 |
Country Status (1)
| Country | Link |
|---|---|
| CN (1) | CN215740827U (zh) |
-
2021
- 2021-10-09 CN CN202122422239.6U patent/CN215740827U/zh active Active
Similar Documents
| Publication | Publication Date | Title |
|---|---|---|
| CN215740827U (zh) | 一种骨科护理用负压吸引器 | |
| CN211327235U (zh) | 一种icu重症监护室用护理吸痰装置 | |
| CN210612590U (zh) | 一种吸痰管及设有该吸痰管的吸痰器 | |
| CN204637216U (zh) | 一种能够降低感染发生率的气管穿刺插管急救装置 | |
| CN217724196U (zh) | 一种吸痰管连接器 | |
| CN210541491U (zh) | 一种新型麻醉咽喉镜 | |
| CN209301950U (zh) | 气管切开护理装置 | |
| CN211536099U (zh) | 一种重症医学临床用气道通畅器 | |
| CN207306925U (zh) | 一种儿科吸痰护理装置 | |
| CN215134185U (zh) | 一种儿科用一体化式呼吸道吸痰器 | |
| CN208910729U (zh) | 一种新型结构的插管用急救箱 | |
| CN221556526U (zh) | 一种具有吸痰功能的护理箱 | |
| CN213099727U (zh) | 一种呼吸内科护理用化痰吸痰器 | |
| CN221384547U (zh) | 一种儿科吸痰器 | |
| CN221431679U (zh) | 一种护理用吸痰装置 | |
| CN217091602U (zh) | 便携式移动吸痰器 | |
| CN219720738U (zh) | 防污染一次性鼻腔分泌物收集装置 | |
| CN218484915U (zh) | 一种带吸附功能的集痰器 | |
| CN215961369U (zh) | 一种老年人护理用便携式吸痰器 | |
| CN210812873U (zh) | 一种用于应急护理的吸痰装置 | |
| CN219049689U (zh) | 一种儿科护理用便携式吸痰设备 | |
| CN218685604U (zh) | 一种一次性使用含湿化器的吸氧管 | |
| CN214485186U (zh) | 一种呼吸内科用吸痰护理箱 | |
| CN213099810U (zh) | 一种安全型小儿内科用吸痰器 | |
| CN220309502U (zh) | 一种呼吸内科用的应急吸痰装置 |
Legal Events
| Date | Code | Title | Description |
|---|---|---|---|
| GR01 | Patent grant | ||
| GR01 | Patent grant |