CN215700846U - 一种玻璃封装后表面修磨工装 - Google Patents
一种玻璃封装后表面修磨工装 Download PDFInfo
- Publication number
- CN215700846U CN215700846U CN202122219157.1U CN202122219157U CN215700846U CN 215700846 U CN215700846 U CN 215700846U CN 202122219157 U CN202122219157 U CN 202122219157U CN 215700846 U CN215700846 U CN 215700846U
- Authority
- CN
- China
- Prior art keywords
- cover plate
- base
- spring
- rear surface
- cavity
- Prior art date
- Legal status (The legal status is an assumption and is not a legal conclusion. Google has not performed a legal analysis and makes no representation as to the accuracy of the status listed.)
- Active
Links
- 239000011521 glass Substances 0.000 title claims abstract description 15
- 238000004806 packaging method and process Methods 0.000 title claims description 9
- 230000010485 coping Effects 0.000 claims description 8
- 239000000463 material Substances 0.000 claims description 7
- 229910001220 stainless steel Inorganic materials 0.000 claims description 5
- 239000010935 stainless steel Substances 0.000 claims description 5
- 238000005538 encapsulation Methods 0.000 claims description 2
- 238000003754 machining Methods 0.000 description 3
- 230000000694 effects Effects 0.000 description 2
- 238000005245 sintering Methods 0.000 description 2
- 230000009286 beneficial effect Effects 0.000 description 1
- 238000000034 method Methods 0.000 description 1
- 238000012986 modification Methods 0.000 description 1
- 230000004048 modification Effects 0.000 description 1
- 238000006467 substitution reaction Methods 0.000 description 1
Images
Landscapes
- Constituent Portions Of Griding Lathes, Driving, Sensing And Control (AREA)
- Grinding Of Cylindrical And Plane Surfaces (AREA)
Abstract
本实用新型公开了一种玻璃封装后表面修磨工装,涉及玻璃加工领域,包括底座,底座的内部开设有多个通孔,底座的内部两侧均开设有空腔,两个空腔的内部固定有弹簧,弹簧的顶端连接有滑块。本实用新型通过设置有盖板、通孔、空腔、弹簧和连杆,使用者先向上拉动盖板,盖板上移带动连杆上移,并使滑块在空腔内部滑动,且拉伸弹簧,接着将零件放置在底座上的通孔内部,并松开盖板,此时弹簧恢复弹性并拉伸进而会拉动盖板下移,而盖板装夹在零件中间台阶面上,使零件尺寸基准面和工装底座上表面紧密接触,并将埋头限位螺栓旋入至盖板和底座内部,以对盖板固定,而修磨加工时以底座上表面为加工基准来保证零件尺寸,同时方便拆装。
Description
技术领域
本实用新型涉及玻璃加工领域,具体为一种玻璃封装后表面修磨工装。
背景技术
电极塞在进行玻璃烧结后表面会有残料余料导致表面尺寸比设计尺寸要高出一截需要后道磨加工去除,因此在烧结的时候端面相关尺寸都会留余量待烧结后去除。
现有的表面修磨工装,有时会因零件较小不能直接放置在磨床工作台平面上,而用钳口装夹去磨床加工效率太低而且容易夹伤零件和因为装夹接触面在侧向导致修磨后的厚度尺寸不稳定,进而降低了对电极塞表面的修磨效果。
实用新型内容
基于此,本实用新型的目的是提供一种玻璃封装后表面修磨工装,以解决降低对电极塞表面的修磨效果的技术问题。
为实现上述目的,本实用新型提供如下技术方案:一种玻璃封装后表面修磨工装,包括底座,所述底座的内部开设有多个通孔,所述底座的内部两侧均开设有空腔,两个所述空腔的内部固定有弹簧,所述弹簧的顶端连接有滑块,所述滑块的顶部固定有延伸至底座外部的连杆,所述连杆的顶端固定有盖板,所述盖板的顶部开设有多个放置孔。
通过采用上述技术方案,滑块会在空腔内部滑动,且会使盖板上下移动,继而便于调整盖板的位置。
进一步的,所述通孔的内部上方卡接有零件,且所述零件的顶端贯穿放置孔。
通过采用上述技术方案,以便放置零件,便于后续对零件的表面进行修磨。
进一步的,所述通孔的数量与放置孔的数量相同,所述通孔与放置孔一一对应。
通过采用上述技术方案,便于将多个零件放置于通孔内部,继而使得修磨机器能够对多个零件进行表面修磨,并提高了对零件表面的修磨效率。
进一步的,所述盖板的顶部安装有两个延伸至底座内部的埋头限位螺栓,所述盖板与连杆通过滑块与空腔滑动连接。
通过采用上述技术方案,以便埋头限位螺栓对盖板固定,防止盖板随意移动。
进一步的,所述盖板的底部与零件相接触,所述弹簧采用不锈钢材料制作而成。
通过采用上述技术方案,盖板能够对零件限位,同时弹簧采用不锈钢材料可提高其使用寿命。
综上所述,本实用新型主要具有以下有益效果:
本实用新型通过设置有盖板、通孔、空腔、弹簧和连杆,使用者先向上拉动盖板,盖板上移带动连杆上移,并使滑块在空腔内部滑动,且拉伸弹簧,接着将零件放置在底座上的通孔内部,并松开盖板,此时弹簧恢复弹性并拉伸进而会拉动盖板下移,而盖板装夹在零件中间台阶面上,使零件尺寸基准面和工装底座上表面紧密接触,并将埋头限位螺栓旋入至盖板和底座内部,以对盖板固定,而修磨加工时以底座上表面为加工基准来保证零件尺寸,同时方便拆装,且可在磨床上多个零件同时装夹,用尺寸基准面定位保证尺寸精度和零件一致性。
附图说明
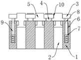
图1为本实用新型的底座立体结构示意图;
图2为本实用新型的底座正剖结构示意图;
图3为本实用新型的盖板立体结构示意图。
图中:1、底座;2、通孔;3、盖板;4、埋头限位螺栓;5、零件;6、空腔;7、弹簧;8、连杆;9、滑块;10、放置孔。
具体实施方式
下面将结合本实用新型实施例中的附图,对本实用新型实施例中的技术方案进行清楚、完整地描述。下面通过参考附图描述的实施例是示例性的,仅用于解释本实用新型,而不能理解为对本实用新型的限制。
下面根据本实用新型的整体结构,对其实施例进行说明。
一种玻璃封装后表面修磨工装,如图1-3所示,包括底座1,底座1的内部开设有多个通孔2,底座1的内部两侧均开设有空腔6,两个空腔6的内部固定有弹簧7,弹簧7的顶端连接有滑块9,滑块9的顶部固定有延伸至底座1外部的连杆8,盖板3的顶部安装有两个延伸至底座1内部的埋头限位螺栓4,盖板3与连杆8通过滑块9与空腔6滑动连接,以便埋头限位螺栓4对盖板3固定,防止盖板3随意移动,盖板3的底部与零件5相接触,弹簧7采用不锈钢材料制作而成,盖板3能够对零件5限位,同时弹簧7采用不锈钢材料可提高其使用寿命,连杆8的顶端固定有盖板3,滑块9会在空腔6内部滑动,且会使盖板3上下移动,继而便于调整盖板3的位置,盖板3的顶部开设有多个放置孔10,通孔2的内部上方卡接有零件5,且零件5的顶端贯穿放置孔10,通孔2的内部上方卡接有零件5,且零件5的顶端贯穿放置孔10,通孔2的数量与放置孔10的数量相同,通孔2与放置孔10一一对应,便于将多个零件放置于通孔2内部,继而使得修磨机器能够对多个零件5进行表面修磨,并提高了对零件5表面的修磨效率。
本实施例的实施原理为:首先,要将零件5放置于通孔2内部时,使用者可先向上拉动盖板3,盖板3上移带动连杆8上移,并使滑块9在空腔6内部滑动,且滑块9会拉伸弹簧7,接着将零件5放置在底座1上的通孔2内部,并松开盖板3,此时弹簧7恢复弹性并拉伸进而会拉动盖板3下移,而盖板3装夹在零件5中间台阶面上,使零件5尺寸基准面和底座1上表面紧密接触,接着将埋头限位螺栓4旋入至盖板3和底座1内部,以对盖板3固定,而修磨加工时以底座1上表面为加工基准来保证零件尺寸,加工完成后将埋头限位螺栓4从底座1内旋出,然后拉动盖板3,使其上移,接着将零件5从通孔2内取出。
尽管已经示出和描述了本实用新型的实施例,但本具体实施例仅仅是对本实用新型的解释,其并不是对实用新型的限制,描述的具体特征、结构、材料或者特点可以在任何一个或多个实施例或示例中以合适的方式结合,本领域技术人员在阅读完本说明书后可在不脱离本实用新型的原理和宗旨的情况下,可以根据需要对实施例做出没有创造性贡献的修改、替换和变型等,但只要在本实用新型的权利要求范围内都受到专利法的保护。
Claims (5)
1.一种玻璃封装后表面修磨工装,包括底座(1),其特征在于:所述底座(1)的内部开设有多个通孔(2),所述底座(1)的内部两侧均开设有空腔(6),两个所述空腔(6)的内部固定有弹簧(7),所述弹簧(7)的顶端连接有滑块(9),所述滑块(9)的顶部固定有延伸至底座(1)外部的连杆(8),所述连杆(8)的顶端固定有盖板(3),所述盖板(3)的顶部开设有多个放置孔(10)。
2.根据权利要求1所述的一种玻璃封装后表面修磨工装,其特征在于:所述通孔(2)的内部上方卡接有零件(5),且所述零件(5)的顶端贯穿放置孔(10)。
3.根据权利要求1所述的一种玻璃封装后表面修磨工装,其特征在于:所述通孔(2)的数量与放置孔(10)的数量相同,所述通孔(2)与放置孔(10)一一对应。
4.根据权利要求1所述的一种玻璃封装后表面修磨工装,其特征在于:所述盖板(3)的顶部安装有两个延伸至底座(1)内部的埋头限位螺栓(4),所述盖板(3)与连杆(8)通过滑块(9)与空腔(6)滑动连接。
5.根据权利要求1所述的一种玻璃封装后表面修磨工装,其特征在于:所述盖板(3)的底部与零件(5)相接触,所述弹簧(7)采用不锈钢材料制作而成。
Priority Applications (1)
| Application Number | Priority Date | Filing Date | Title |
|---|---|---|---|
| CN202122219157.1U CN215700846U (zh) | 2021-09-14 | 2021-09-14 | 一种玻璃封装后表面修磨工装 |
Applications Claiming Priority (1)
| Application Number | Priority Date | Filing Date | Title |
|---|---|---|---|
| CN202122219157.1U CN215700846U (zh) | 2021-09-14 | 2021-09-14 | 一种玻璃封装后表面修磨工装 |
Publications (1)
| Publication Number | Publication Date |
|---|---|
| CN215700846U true CN215700846U (zh) | 2022-02-01 |
Family
ID=80019683
Family Applications (1)
| Application Number | Title | Priority Date | Filing Date |
|---|---|---|---|
| CN202122219157.1U Active CN215700846U (zh) | 2021-09-14 | 2021-09-14 | 一种玻璃封装后表面修磨工装 |
Country Status (1)
| Country | Link |
|---|---|
| CN (1) | CN215700846U (zh) |
-
2021
- 2021-09-14 CN CN202122219157.1U patent/CN215700846U/zh active Active
Similar Documents
| Publication | Publication Date | Title |
|---|---|---|
| CN202715810U (zh) | 一种半浮动夹爪装置 | |
| CN215700846U (zh) | 一种玻璃封装后表面修磨工装 | |
| CN103042091B (zh) | 多功位卧式全自动旋压机 | |
| CN210306784U (zh) | 一种电子产品加工装置 | |
| CN210190725U (zh) | 加工模具上下模快速更换装置 | |
| CN217018269U (zh) | 一种方便更换不同形状模具的冲床 | |
| CN104009261B (zh) | 隔板纸裁断机的移动式夹紧机构 | |
| CN209793215U (zh) | 一种可更换夹头的电气自动化夹具 | |
| CN209141319U (zh) | 一种高效脱模的塑胶制品用模具 | |
| CN216504598U (zh) | 一种便于使用的机器人工装快插装置 | |
| CN216126394U (zh) | 一种精密机械加工用具备缓冲保护功能的高精度冲床 | |
| CN215036955U (zh) | 一种承载板加工用定位治具 | |
| CN112171329B (zh) | 一种异形零件机械加工装夹定位装置 | |
| CN115921562A (zh) | 机械零件加工用挤压装置 | |
| CN211413797U (zh) | 一种用于加工轴套的高效铣床 | |
| CN210704423U (zh) | 一种不锈钢开水瓶瓶身加工工装 | |
| CN203343719U (zh) | 一种脚轮装配装置及与其配合的压紧装置 | |
| CN216939590U (zh) | 一种精密定位治具 | |
| CN109013848B (zh) | 一种便于更换刀头的模具加工用冲孔装置 | |
| CN207533816U (zh) | 一种适用于多尺寸平垫的冲压用模具 | |
| CN217860172U (zh) | 一种可快速夹持的自动化气动夹具 | |
| CN207289087U (zh) | 一种电火花线切割加工夹具 | |
| CN221908095U (zh) | 一种开关座灌胶治具 | |
| CN221677116U (zh) | 一种具有多点支撑功能的工装夹具 | |
| CN222008147U (zh) | 一种电子元器件电镀用夹持工装 |
Legal Events
| Date | Code | Title | Description |
|---|---|---|---|
| GR01 | Patent grant | ||
| GR01 | Patent grant |