CN215674843U - 一种具有充电宝功能的手电筒 - Google Patents
一种具有充电宝功能的手电筒 Download PDFInfo
- Publication number
- CN215674843U CN215674843U CN202120619629.XU CN202120619629U CN215674843U CN 215674843 U CN215674843 U CN 215674843U CN 202120619629 U CN202120619629 U CN 202120619629U CN 215674843 U CN215674843 U CN 215674843U
- Authority
- CN
- China
- Prior art keywords
- lamp
- flashlight
- handle part
- desk lamp
- winding shaft
- Prior art date
- Legal status (The legal status is an assumption and is not a legal conclusion. Google has not performed a legal analysis and makes no representation as to the accuracy of the status listed.)
- Expired - Fee Related
Links
- 238000004804 winding Methods 0.000 claims abstract description 19
- 238000006243 chemical reaction Methods 0.000 claims abstract description 11
- 239000011324 bead Substances 0.000 claims abstract description 5
- XEEYBQQBJWHFJM-UHFFFAOYSA-N Iron Chemical compound [Fe] XEEYBQQBJWHFJM-UHFFFAOYSA-N 0.000 claims description 18
- 229910052742 iron Inorganic materials 0.000 claims description 9
- 230000000149 penetrating effect Effects 0.000 claims 1
- 238000009434 installation Methods 0.000 abstract description 4
- 238000005286 illumination Methods 0.000 description 7
- 230000000694 effects Effects 0.000 description 3
- 238000010586 diagram Methods 0.000 description 2
- 238000000034 method Methods 0.000 description 2
- 230000009286 beneficial effect Effects 0.000 description 1
- 238000012986 modification Methods 0.000 description 1
- 230000004048 modification Effects 0.000 description 1
- 230000002265 prevention Effects 0.000 description 1
Images
Landscapes
- Arrangement Of Elements, Cooling, Sealing, Or The Like Of Lighting Devices (AREA)
Abstract
本实用新型公开了一种具有充电宝功能的手电筒,包括手柄部、照明灯以及台灯部,手柄部内设置有电池板、控制板以及太阳能转换电路板,的手柄部的外壁环形分布有第一USB接口、第一MicroUSB接口、照明灯控制开关以及一圈以上的第一灯体,手柄部内壁设置有安装支架,在安装支架内贯穿有一根卷绕轴,在卷绕轴上卷绕有柔性太阳能板,柔性太阳能板的一端伸出手柄部后与套筒连接,在卷绕轴的上下两端均设置有扭簧,在台灯部外壁设置有环形分布有一圈以上的第二灯体,第一灯体和第二灯体均包括一个以上的LED灯珠,在台灯部的底部设置有三条呈三角形分布的支撑架;本结构实现多种功能,作为普通手电筒、警示灯、台灯、充电宝使用。
Description
技术领域
本实用新型涉及一种手电筒的技术领域,尤其涉及一种具有充电宝功能的手电筒。
背景技术
手电筒可以分为充电手电筒、普通手电筒、LED手电筒、防爆电筒、无电源手电筒、太阳能手电筒、头灯等类型,其中,普通手电筒是人们日常生活中必备的一件照明工具,因此深受人们的喜爱。
但是目前市场上的普通手电筒存在以下几个问题:1、目前的手电筒往往功能单一,仅仅只有照明功能;2、目前的手电筒的照明角度无法调节;3、手电筒为便携式充电结构,但是在外露营过程中一旦没有电量,周围又没有市电的情况下,无法进行及时充电,因此不能满足人们的需要。
发明内容
本实用新型的目的在于提供一种具有充电宝功能的手电筒,以解决现有技术中功能单一,无法进行及时充电、照明无法调整的问题。
为实现上述目的,本实用新型提供如下技术方案:一种具有充电宝功能的手电筒,包括手电筒本体,所述手电筒本体包括手柄部、照明灯以及台灯部,所述照明灯的后端与手柄部的前端铰接,所述的手柄部内设置有可充电的电池板、与电池板以及照明灯电连接的控制板以及将太阳能转换成电能的太阳能转换电路板,所述的手柄部的外壁环形分布有第一USB接口、第一MicroUSB接口、照明灯控制开关以及一圈以上的第一灯体,所述的太阳能转换电路板与电池板电连接,所述的手柄部内壁设置有安装支架,在安装支架内贯穿有一根卷绕轴,在卷绕轴上卷绕有柔性太阳能板,所述柔性太阳能板的一端伸出手柄部上的通孔后与一个套筒连接,在卷绕轴的上下两端均设置有一个随着卷绕轴旋转的扭簧,所述扭簧的另一端与卷绕轴连接,扭簧的另一端与安装支架固定连接,所述柔性太阳能板与太阳能转换电路板电连接,所述的台灯部的上端连接有第一磁铁,所述手柄部的下方连接有与第一磁铁配合的第一铁片,在台灯部外壁设置有环形分布有一圈以上的第二灯体,所述第一灯体和第二灯体均包括一个以上的LED灯珠,在台灯部内部设置有充电电池,在台灯部上设置有与充电电池电连接的第二USB接口以及与控制板电连接并控制第二灯体的第一开关,在手柄部侧边还设置有与控制板电连接并控制第一灯体的第二开关,在台灯部的底部设置有三条呈三角形分布的长条安装槽,在每一个长条安装槽内转动连接有一根支撑架,三个支撑架打开后构成三脚架。
进一步,为了方便固定,在每一个长条安装槽内设置有环形磁铁,在每一个支撑架上设置有与环形磁铁配合的环形铁皮。
进一步,在手握时,起到防滑作用,在台灯部外还设置有防滑部。
进一步,为了方便操作,在手柄部的前端设置有旋转定位槽,所述照明灯后端设置有插入到旋转定位槽内的延伸部,在延伸部与旋转定位槽上插接有一根贯穿手柄部的旋转定位轴。
进一步,方便夜间快速找到本装置,在手柄部外还设置有一条以上的夜光条。
本实用新型的有益效果是:具有多种功能:作为普通手电筒、警示灯、台灯、充电宝使用,同时照明灯角度可调;另外还具有太阳能充电,且采用柔性太阳能板方便收纳,不占空间。
附图说明
图1为本实施例1中一种具有充电宝功能的手电筒的结构示意图;
图2为实施例1中台灯部的结构剖视图;
图3为实施例1中手柄部的内部结构剖视图;
图4为实施例1中台灯部的内部结构剖视图;
图5为本实施例2中一种具有充电宝功能的手电筒的结构示意图。
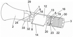
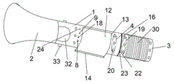
图中:手柄部1;照明灯2;台灯部3;第一灯体4;电池板5;控制板6;太阳能转换电路板7;第一USB接口8;照明灯控制开关9;安装支架10;卷绕轴11;柔性太阳能板12;通孔13;套筒14;扭簧15;第一磁铁16;第一铁片17;第一MicroUSB接口18;第二灯体19;LED灯珠20;充电电池21;第二USB接口22;第一开关23;第二开关24;长条安装槽25;支撑架26;环形磁铁27;环形铁皮28;夜光条29;防滑部30;旋转定位槽31;延伸部32;旋转定位轴33。
具体实施方式
下面将结合本实用新型实施例中的附图,对本实用新型实施例中的技术方案进行清楚、完整地描述,显然,所描述的实施例仅仅是本实用新型一部分实施例,而不是全部的实施例。
实施例1:
参照图1-图4,本实施例公开的一种具有充电宝功能的手电筒,包括手电筒本体,所述手电筒本体包括手柄部1、照明灯2以及台灯部3,所述照明灯2的后端与手柄部1的前端铰接,所述的手柄部1内设置有可充电的电池板5、与电池板5以及照明灯2电连接的控制板6以及将太阳能转换成电能的太阳能转换电路板7,所述的手柄部1的外壁环形分布有第一USB接口8、第一MicroUSB接口18、照明灯控制开关9以及一圈以上的第一灯体4,所述的太阳能转换电路板7与电池板5电连接,所述的手柄部1内壁设置有安装支架10,在安装支架10内贯穿有一根卷绕轴11,在卷绕轴11上卷绕有柔性太阳能板12,所述柔性太阳能板12的一端伸出手柄部1上的通孔13后与一个套筒14连接,在卷绕轴11的上下两端均设置有一个随着卷绕轴11旋转的扭簧15,所述扭簧15的另一端与卷绕轴11连接,扭簧15的另一端与安装支架10固定连接,所述柔性太阳能板12与太阳能转换电路板7电连接,所述的台灯部3的上端连接有第一磁铁16,所述手柄部1的下方连接有与第一磁铁16配合的第一铁片17,在台灯部3外壁设置有环形分布有一圈以上的第二灯体19,所述第一灯体4和第二灯体19均包括一个以上的LED灯珠20,在台灯部3内部设置有充电电池21,在台灯部3上设置有与充电电池21电连接的第二USB接口22以及与控制板6电连接并控制第二灯体19的第一开关23,在手柄部1侧边还设置有与控制板6电连接并控制第一灯体4的第二开关24,在台灯部3的底部设置有三条呈三角形分布的长条安装槽25,在每一个长条安装槽25内转动连接有一根支撑架26,三个支撑架26打开后构成三脚架。
通过上述结构设置实现以下技术效果:
1、实现多功能,第一种功能:作为临时小台灯使用时,将台灯部3从照明灯2上拆卸来;第二种功能:作为普通手电筒使用,打开照明灯控制开关9,此时照明灯2被打开,作为手电筒;第三种功能:作为充电宝使用时,利用第一USB接口8作为输入端口,可以把外部5V电源接入本产品,进而给可充电的电池板5充电;第一MicroUSB接口18作为输出端口,后期可以对外部需要5V充电的产品进行充电;而临时小台灯的充电通过将第二USB接口22作为输入端口,并通过数据线连接第一MicroUSB接口18对内部的充电电池21进行充电;第四种,将台灯部3下方的三个支撑架26打开后构成三脚架,将本装置的第二灯体19和第一灯体4全部打开,作为车辆应急警示灯,同时拆卸下来的台灯部3,将台灯部3底部的第一磁铁16的磁铁吸附在汽车车顶也可以当做故障警示灯。
2、在野外露营过程中,手电筒无电时,可以在白天拉出套筒14,在套筒上插接一根棍子并固定在地面,然后拉出柔性太阳能板12进行对内部的电池板5进行太阳能充电,在拉动时,扭簧被拉升,充电完成后,外力消失后,利用卷绕轴11上下两侧的扭簧15复位,不占空间,方便收纳柔性太阳能板12。
3、且照明灯2的后端与手柄部1的前端铰接,实现照明角度可调。
进一步,为了方便固定,在每一个长条安装槽25内设置有环形磁铁27,在每一个支撑架26上设置有与环形磁铁27配合的环形铁皮28,通过设置环形磁铁27与环形铁皮28,在收纳支撑架26时,能够对支撑架26起到固定作用,避免不用时,支撑架26自行打开。
进一步,在手握时,起到防滑作用,在台灯部3外还设置有防滑部30,通过设置防滑部30,在手握时,起到防滑作用。
进一步,为了方便操作,在手柄部1的前端设置有旋转定位槽31,所述照明灯2后端设置有插入到旋转定位槽31内的延伸部32,在延伸部32与旋转定位槽31上插接有一根贯穿手柄部1的旋转定位轴33,通过上述结构设置方便调节照明灯2的照明角度。
实施例2:
参照图5,本实施例公开的一种具有充电宝功能的手电筒,进一步,方便夜间快速找到本装置,在手柄部1外还设置有一条以上的夜光条29。
以上所述,仅为本实用新型较佳的具体实施方式,但本实用新型的保护范围并不局限于此,任何熟悉本技术领域的技术人员在本实用新型揭露的技术范围内,根据本实用新型的技术方案及其实用新型构思加以等同替换或改变,都应涵盖在本实用新型的保护范围之内。
Claims (5)
1.一种具有充电宝功能的手电筒,包括手电筒本体,其特征在于:所述手电筒本体包括手柄部(1)、照明灯(2)以及台灯部(3),所述照明灯(2)的后端与手柄部(1)的前端铰接,所述的手柄部(1)内设置有可充电的电池板(5)、与电池板(5)以及照明灯(2)电连接的控制板(6)以及将太阳能转换成电能的太阳能转换电路板(7),所述的手柄部(1)的外壁环形分布有第一USB接口(8)、第一MicroUSB接口(18)、照明灯控制开关(9)以及一圈以上的第一灯体(4),所述的太阳能转换电路板(7)与电池板(5)电连接,所述的手柄部(1)内壁设置有安装支架(10),在安装支架(10)内贯穿有一根卷绕轴(11),在卷绕轴(11)上卷绕有柔性太阳能板(12),所述柔性太阳能板(12)的一端伸出手柄部(1)上的通孔(13)后与一个套筒(14)连接,在卷绕轴(11)的上下两端均设置有一个随着卷绕轴(11)旋转的扭簧(15),所述扭簧(15)的另一端与卷绕轴(11)连接,扭簧(15)的另一端与安装支架(10)固定连接,所述柔性太阳能板(12)与太阳能转换电路板(7)电连接,所述的台灯部(3)的上端连接有第一磁铁(16),所述手柄部(1)的下方连接有与第一磁铁(16)配合的第一铁片(17),在台灯部(3)外壁设置有环形分布有一圈以上的第二灯体(19),所述第一灯体(4)和第二灯体(19)均包括一个以上的LED灯珠(20),在台灯部(3)内部设置有充电电池(21),在台灯部(3)上设置有与充电电池(21)电连接的第二USB接口(22)以及与控制板(6)电连接并控制第二灯体(19)的第一开关(23),在手柄部(1)侧边还设置有与控制板(6)电连接并控制第一灯体(4)的第二开关(24),在台灯部(3)的底部设置有三条呈三角形分布的长条安装槽(25),在每一个长条安装槽(25)内转动连接有一根支撑架(26),三个支撑架(26)打开后构成三脚架。
2.根据权利要求1所述的一种具有充电宝功能的手电筒,其特征在于:在每一个长条安装槽(25)内设置有环形磁铁(27),在每一个支撑架(26)上设置有与环形磁铁(27)配合的环形铁皮(28)。
3.根据权利要求1或2所述的一种具有充电宝功能的手电筒,其特征在于:在台灯部(3)外还设置有防滑部(30)。
4.根据权利要求1或2所述的一种具有充电宝功能的手电筒,其特征在于:在手柄部(1)的前端设置有旋转定位槽(31),所述照明灯(2)后端设置有插入到旋转定位槽(31)内的延伸部(32),在延伸部(32)与旋转定位槽(31)上插接有一根贯穿手柄部(1)的旋转定位轴(33)。
5.根据权利要求1或2所述的一种具有充电宝功能的手电筒,其特征在于:在手柄部(1)外还设置有一条以上的夜光条(29)。
Priority Applications (1)
| Application Number | Priority Date | Filing Date | Title |
|---|---|---|---|
| CN202120619629.XU CN215674843U (zh) | 2021-03-26 | 2021-03-26 | 一种具有充电宝功能的手电筒 |
Applications Claiming Priority (1)
| Application Number | Priority Date | Filing Date | Title |
|---|---|---|---|
| CN202120619629.XU CN215674843U (zh) | 2021-03-26 | 2021-03-26 | 一种具有充电宝功能的手电筒 |
Publications (1)
| Publication Number | Publication Date |
|---|---|
| CN215674843U true CN215674843U (zh) | 2022-01-28 |
Family
ID=79969610
Family Applications (1)
| Application Number | Title | Priority Date | Filing Date |
|---|---|---|---|
| CN202120619629.XU Expired - Fee Related CN215674843U (zh) | 2021-03-26 | 2021-03-26 | 一种具有充电宝功能的手电筒 |
Country Status (1)
| Country | Link |
|---|---|
| CN (1) | CN215674843U (zh) |
-
2021
- 2021-03-26 CN CN202120619629.XU patent/CN215674843U/zh not_active Expired - Fee Related
Similar Documents
| Publication | Publication Date | Title |
|---|---|---|
| CN203762442U (zh) | 一种多功能太阳能户外遮阳伞 | |
| CN102927518A (zh) | 一种多功能太阳能台灯 | |
| CN215674843U (zh) | 一种具有充电宝功能的手电筒 | |
| CN203477927U (zh) | 多功能太阳能野营灯 | |
| CN110822310B (zh) | 一种野营用照明灯 | |
| CN208243073U (zh) | 一种太阳能充电移动电源遮阳伞 | |
| CN202691878U (zh) | 一种多功能太阳能台灯 | |
| CN105822996A (zh) | 一种太阳能野营灯 | |
| CN215580495U (zh) | 一种可无线充电的车载手机底座 | |
| CN205716600U (zh) | 一种新型太阳能手提灯 | |
| CN211323332U (zh) | 一种带有led照明的多功能伞 | |
| CN209898541U (zh) | 一种多功能电工工具包 | |
| CN209678025U (zh) | 太阳能相框 | |
| CN202501361U (zh) | 旋转式折叠台灯 | |
| CN205824895U (zh) | 一种学生寝室用太阳能台灯 | |
| CN221098494U (zh) | 一种新型台灯 | |
| CN2345033Y (zh) | 组合式多用伞 | |
| CN215603630U (zh) | 一种多功能雨伞 | |
| CN222278285U (zh) | 一种多功能太阳能露营灯 | |
| CN208222338U (zh) | 一种led工作灯 | |
| CN221042368U (zh) | 一款便携式小型户外储能装置 | |
| CN208817355U (zh) | 一种具有两种充电方式且可供电的折叠式台灯 | |
| CN223204154U (zh) | 一种太阳能充电手电筒 | |
| CN211600522U (zh) | 一种实用性功能灯杆 | |
| CN202327958U (zh) | 带手电的折叠台灯 |
Legal Events
| Date | Code | Title | Description |
|---|---|---|---|
| GR01 | Patent grant | ||
| GR01 | Patent grant | ||
| CF01 | Termination of patent right due to non-payment of annual fee | ||
| CF01 | Termination of patent right due to non-payment of annual fee |
Granted publication date: 20220128 |