CN215671203U - 一种基于建筑施工的钢结构安装定位装置 - Google Patents
一种基于建筑施工的钢结构安装定位装置 Download PDFInfo
- Publication number
- CN215671203U CN215671203U CN202122108037.4U CN202122108037U CN215671203U CN 215671203 U CN215671203 U CN 215671203U CN 202122108037 U CN202122108037 U CN 202122108037U CN 215671203 U CN215671203 U CN 215671203U
- Authority
- CN
- China
- Prior art keywords
- fixedly connected
- supporting plate
- screw rod
- periphery
- screw
- Prior art date
- Legal status (The legal status is an assumption and is not a legal conclusion. Google has not performed a legal analysis and makes no representation as to the accuracy of the status listed.)
- Active
Links
- 229910000831 Steel Inorganic materials 0.000 title claims abstract description 44
- 239000010959 steel Substances 0.000 title claims abstract description 44
- 238000009434 installation Methods 0.000 title claims abstract description 20
- 238000010276 construction Methods 0.000 title claims description 6
- 238000009435 building construction Methods 0.000 claims abstract description 14
- 238000003466 welding Methods 0.000 abstract description 5
- 238000000034 method Methods 0.000 abstract 1
- 230000009286 beneficial effect Effects 0.000 description 1
- 230000007547 defect Effects 0.000 description 1
- 239000000463 material Substances 0.000 description 1
- 238000012986 modification Methods 0.000 description 1
- 230000004048 modification Effects 0.000 description 1
Images
Landscapes
- Conveying And Assembling Of Building Elements In Situ (AREA)
Abstract
本实用新型公开了一种基于建筑施工的钢结构安装定位装置,包括第一支撑板和第二支撑板,所述第一支撑板内侧的后端转动连接有第一螺杆,所述第一螺杆远离第一支撑板的另一端贯穿第二支撑板并固定连接在第一摇把上,所述第一螺杆外周的两端均螺纹连接在第二滑块后部的内侧,所述第二滑块的顶部均固定连接有箱体,所述箱体的中部均设置有开槽,所述开槽内部后侧下部的一边均转动连接有第二螺杆,所述第二螺杆的前端均贯穿箱体并固定连接在第二摇把上,所述第二螺杆外周的前后两端均螺纹连接在第一滑块一侧的内侧,所述第一固定杆的顶部均设置有凹槽。本实用新型中,实现焊接前的准确定位与合格安装,十分方便,值得大力推广。
Description
技术领域
本实用新型涉及钢结构安装技术领域,尤其涉及一种基于建筑施工的钢结构安装定位装置。
背景技术
钢结构是由钢制材料组成的结构,是主要的建筑结构类型之一,结构主要由型钢和钢板等制成的梁钢、钢柱、钢桁架等构件组成,其特点是强度高、自重轻、整体刚性好、变形能力强,故用于建造大跨度和超高、超重型的建筑物特别适宜,从而使得在建筑结构中,越来越多的钢结构被使用,通过钢结构的连接,实现建筑结构的稳定。
现如今建筑施工在对钢结构件安装时,通常都需要进行焊接安装,但是一般都是人工对两个钢结构件进行定位后再进行焊接,容易出现焊接偏移,造成钢结构件安装不合格,十分方便。
实用新型内容
本实用新型的目的是为了解决现有技术中存在的缺点,而提出的一种基于建筑施工的钢结构安装定位装置。
为了实现上述目的,本实用新型采用了如下技术方案:一种基于建筑施工的钢结构安装定位装置,包括第一支撑板和第二支撑板,所述第一支撑板内侧的后端转动连接有第一螺杆,所述第一螺杆远离第一支撑板的另一端贯穿第二支撑板并固定连接在第一摇把上,所述第一螺杆外周的两端均螺纹连接在第二滑块后部的内侧,所述第二滑块的前部的内侧均滑动连接在第二固定杆的外周,所述第二滑块的顶部均固定连接有箱体,所述箱体的中部均设置有开槽,所述开槽内部后侧下部的一边均转动连接有第二螺杆,所述第二螺杆的前端均贯穿箱体并固定连接在第二摇把上,所述第二螺杆外周的前后两端均螺纹连接在第一滑块一侧的内侧,所述第一滑块另一侧的内侧均滑动连接在第一固定杆的外周,所述第一固定杆的顶部均设置有凹槽,所述箱体的顶部均螺纹连接有两个螺栓。
作为上述技术方案的进一步描述:
所述第二固定杆的一端固定连接在第一支撑板内侧的前端,所述第二固定杆的另一端固定连接在第二支撑板内侧的前。
作为上述技术方案的进一步描述:
所述螺栓的底部固定连接有压板,所述压板的底部设置有橡胶垫。
作为上述技术方案的进一步描述:
所述第一固定杆的前后两端均固定连接在开槽内侧的下部。
作为上述技术方案的进一步描述:
所述第一螺杆外周两端的螺纹相互对立。
作为上述技术方案的进一步描述:
所述螺栓的顶部均向上延伸。
作为上述技术方案的进一步描述:
所述第二螺杆外周的前后两端的螺纹均相互对立。
本实用新型具有如下有益效果:
本实用新型中,首先通过开槽、第一滑块、第二摇把、第二螺杆、第一固定杆和凹槽之间配合,两个钢结构件均被夹持在开槽的中部,实现焊接前的准确定位,再通过第一摇把、第一螺杆、第二滑块的配合,两个钢结构件需焊接的一面相贴合,随后再对其进行焊接,实现合格安装,十分方便,值得大力推广。
附图说明
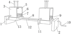
图1为本实用新型提出的一种基于建筑施工的钢结构安装定位装置的正视图;
图2为本实用新型提出的一种基于建筑施工的钢结构安装定位装置的侧视视图;
图3为图2中A处的放大图。
图例说明:
1、第一支撑板;2、第二支撑板;3、箱体;4、螺栓;5、开槽;6、凹槽;7、第一滑块;8、第一螺杆;9、第一固定杆;10、第一摇把;11、第二摇把;12、第二固定杆;13、第二滑块;14、第二螺杆;15、橡胶垫;16、压板。
具体实施方式
下面将结合本实用新型实施例中的附图,对本实用新型实施例中的技术方案进行清楚、完整地描述,显然,所描述的实施例仅仅是本实用新型一部分实施例,而不是全部的实施例。基于本实用新型中的实施例,本领域普通技术人员在没有做出创造性劳动前提下所获得的所有其他实施例,都属于本实用新型保护的范围。
在本实用新型的描述中,需要说明的是,术语“中心”、“上”、“下”、“左”、“右”、“竖直”、“水平”、“内”、“外”等指示的方位或位置关系为基于附图所示的方位或位置关系,仅是为了便于描述本实用新型和简化描述,而不是指示或暗示所指的装置或元件必须具有特定的方位、以特定的方位构造和操作,因此不能理解为对本实用新型的限制;术语“第一”、“第二”、“第三”仅用于描述目的,而不能理解为指示或暗示相对重要性,此外,除非另有明确的规定和限定,术语“安装”、“相连”、“连接”应做广义理解,例如,可以是固定连接,也可以是可拆卸连接,或一体地连接;可以是机械连接,也可以是电连接;可以是直接相连,也可以通过中间媒介间接相连,可以是两个元件内部的连通。对于本领域的普通技术人员而言,可以具体情况理解上述术语在本实用新型中的具体含义。
参照图1-3,本实用新型提供的一种实施例:一种基于建筑施工的钢结构安装定位装置,包括第一支撑板1和第二支撑板2,第一支撑板1内侧的后端转动连接有第一螺杆8,第一螺杆8远离第一支撑板1的另一端贯穿第二支撑板2并固定连接在第一摇把10上,第一螺杆8外周的两端均螺纹连接在第二滑块13后部的内侧,第二滑块13后部的内侧均设有和第一螺杆8外周螺纹相对应的内螺纹,第二滑块13的前部的内侧均滑动连接在第二固定杆12的外周,第二滑块13的顶部均固定连接有箱体3,转动第一摇把10来带动第一螺杆8转动,利用第一螺杆8外周两端的螺纹相互对立,使得第二滑块13在第一螺杆8和第二固定杆12的外周做相对运动,从而带动箱体3,直至两个钢结构件需焊接的一面相贴合,随后再对其进行焊接,箱体3的中部均设置有开槽5,开槽5内部后侧下部的一边均转动连接有第二螺杆14,第二螺杆14的前端均贯穿箱体3并固定连接在第二摇把11上,第二螺杆14外周的前后两端均螺纹连接在第一滑块7一侧的内侧,第一滑块7一侧的内侧均设有和第二螺杆14外周螺纹相对应的内螺纹,第一滑块7另一侧的内侧均滑动连接在第一固定杆9的外周,第一固定杆9的顶部均设置有凹槽6,转动第二摇把11来带动第二螺杆14转动使得两个第一滑块7在第二螺杆14和第一固定杆9的外周做相对运动,直至凹槽6夹持并夹紧钢结构件,箱体3的顶部均螺纹连接有两个螺栓4。
第二固定杆12的一端固定连接在第一支撑板1内侧的前端,第二固定杆12的另一端固定连接在第二支撑板2内侧的前端,螺栓4的底部固定连接有压板16,利用螺栓4向下带动压板16,对钢结构件进一步固定,压板16的底部设置有橡胶垫15,增强摩擦力,有效加强对钢结构件的固定,第一固定杆9的前后两端均固定连接在开槽5内侧的下部,第一螺杆8外周两端的螺纹相互对立,使得第二滑块13做相对运动,螺栓4的顶部均向上延伸,第二螺杆14外周的前后两端的螺纹均相互对立,使得第一滑块7做相对运动。
工作原理:首先把需焊接安装的两个钢结构件分别从箱体3的外侧放入开槽5中,并手持放在两个第一滑块7之间且需焊接的一面从箱体3的内侧伸出,随后转动第二摇把11来带动第二螺杆14转动,利用第二螺杆14外周的前后两端的螺纹均相互对立,使得两个第一滑块7在第二螺杆14和第一固定杆9的外周做相对运动,直至凹槽6夹持并夹紧钢结构件,由于两个第一滑块7同时运动,故两个钢结构件均被夹持在开槽5的中部,再转动第一摇把10来带动第一螺杆8转动,利用第一螺杆8外周两端的螺纹相互对立,使得第二滑块13在第一螺杆8和第二固定杆12的外周做相对运动,从而带动箱体3,直至两个钢结构件需焊接的一面相贴合,随后再对其进行焊接。
最后应说明的是:以上所述仅为本实用新型的优选实施例而已,并不用于限制本实用新型,尽管参照前述实施例对本实用新型进行了详细的说明,对于本领域的技术人员来说,其依然可以对前述各实施例所记载的技术方案进行修改,或者对其中部分技术特征进行等同替换,凡在本实用新型的精神和原则之内,所作的任何修改、等同替换、改进等,均应包含在本实用新型的保护范围之内。
Claims (7)
1.一种基于建筑施工的钢结构安装定位装置,包括第一支撑板(1)和第二支撑板(2),其特征在于:所述第一支撑板(1)内侧的后端转动连接有第一螺杆(8),所述第一螺杆(8)远离第一支撑板(1)的另一端贯穿第二支撑板(2)并固定连接在第一摇把(10)上,所述第一螺杆(8)外周的两端均螺纹连接在第二滑块(13)后部的内侧,所述第二滑块(13)的前部的内侧均滑动连接在第二固定杆(12)的外周,所述第二滑块(13)的顶部均固定连接有箱体(3),所述箱体(3)的中部均设置有开槽(5),所述开槽(5)内部后侧下部的一边均转动连接有第二螺杆(14),所述第二螺杆(14)的前端均贯穿箱体(3)并固定连接在第二摇把(11)上,所述第二螺杆(14)外周的前后两端均螺纹连接在第一滑块(7)一侧的内侧,所述第一滑块(7)另一侧的内侧均滑动连接在第一固定杆(9)的外周,所述第一固定杆(9)的顶部均设置有凹槽(6),所述箱体(3)的顶部均螺纹连接有两个螺栓(4)。
2.根据权利要求1所述的一种基于建筑施工的钢结构安装定位装置,其特征在于:所述第二固定杆(12)的一端固定连接在第一支撑板(1)内侧的前端,所述第二固定杆(12)的另一端固定连接在第二支撑板(2)内侧的前端。
3.根据权利要求1所述的一种基于建筑施工的钢结构安装定位装置,其特征在于:所述螺栓(4)的底部固定连接有压板(16),所述压板(16)的底部设置有橡胶垫(15)。
4.根据权利要求1所述的一种基于建筑施工的钢结构安装定位装置,其特征在于:所述第一固定杆(9)的前后两端均固定连接在开槽(5)内侧的下部。
5.根据权利要求1所述的一种基于建筑施工的钢结构安装定位装置,其特征在于:所述第一螺杆(8)外周两端的螺纹相互对立。
6.根据权利要求1所述的一种基于建筑施工的钢结构安装定位装置,其特征在于:所述螺栓(4)的顶部均向上延伸。
7.根据权利要求1所述的一种基于建筑施工的钢结构安装定位装置,其特征在于:所述第二螺杆(14)外周的前后两端的螺纹均相互对立。
Priority Applications (1)
| Application Number | Priority Date | Filing Date | Title |
|---|---|---|---|
| CN202122108037.4U CN215671203U (zh) | 2021-09-02 | 2021-09-02 | 一种基于建筑施工的钢结构安装定位装置 |
Applications Claiming Priority (1)
| Application Number | Priority Date | Filing Date | Title |
|---|---|---|---|
| CN202122108037.4U CN215671203U (zh) | 2021-09-02 | 2021-09-02 | 一种基于建筑施工的钢结构安装定位装置 |
Publications (1)
| Publication Number | Publication Date |
|---|---|
| CN215671203U true CN215671203U (zh) | 2022-01-28 |
Family
ID=79959281
Family Applications (1)
| Application Number | Title | Priority Date | Filing Date |
|---|---|---|---|
| CN202122108037.4U Active CN215671203U (zh) | 2021-09-02 | 2021-09-02 | 一种基于建筑施工的钢结构安装定位装置 |
Country Status (1)
| Country | Link |
|---|---|
| CN (1) | CN215671203U (zh) |
Cited By (1)
| Publication number | Priority date | Publication date | Assignee | Title |
|---|---|---|---|---|
| CN116140856A (zh) * | 2023-04-20 | 2023-05-23 | 西安大真信息科技有限责任公司 | 钢结构焊接工艺 |
-
2021
- 2021-09-02 CN CN202122108037.4U patent/CN215671203U/zh active Active
Cited By (2)
| Publication number | Priority date | Publication date | Assignee | Title |
|---|---|---|---|---|
| CN116140856A (zh) * | 2023-04-20 | 2023-05-23 | 西安大真信息科技有限责任公司 | 钢结构焊接工艺 |
| CN116140856B (zh) * | 2023-04-20 | 2023-09-08 | 西安大真信息科技有限责任公司 | 钢结构焊接工艺 |
Similar Documents
| Publication | Publication Date | Title |
|---|---|---|
| CN216326616U (zh) | 一种钢结构厂房安装用切割装置 | |
| CN111424994A (zh) | 一种建筑施工用钢结构对接装置 | |
| CN215671203U (zh) | 一种基于建筑施工的钢结构安装定位装置 | |
| CN213115492U (zh) | 一种转角立柱 | |
| CN112496611B (zh) | 一种建筑钢结构桁架自动化焊接成型系统 | |
| CN217096398U (zh) | 一种适用于焊接加工的装夹工装 | |
| CN217924093U (zh) | 一种钢结构横梁 | |
| CN222771629U (zh) | 一种装配式建筑结构的加强连接件 | |
| CN211939641U (zh) | 一种枕梁型材组焊工装 | |
| CN210917759U (zh) | 一种建筑钢结构施工锁紧装置 | |
| CN217254343U (zh) | 一种彩钢瓦生产用自动组焊矫一体机 | |
| CN213580466U (zh) | 一种建筑检测用钢材刚度检测装置 | |
| CN211915964U (zh) | 一种折板对接焊接辅助夹具 | |
| CN210173031U (zh) | 一种汽车连杆加工用夹具 | |
| CN210060916U (zh) | 一种钢结构件安装定位工具 | |
| CN209887016U (zh) | 一种管道焊接用定位对齐装置 | |
| CN222212516U (zh) | 一种栓钉焊后弯折检测用辅助工装 | |
| CN216740032U (zh) | 一种钢结构房屋拼装连接结构 | |
| CN218814554U (zh) | 一种异型边墙板组装工件 | |
| CN214868148U (zh) | 一种钢结构高效焊接装置 | |
| CN222362665U (zh) | 一种装配式单元幕墙系统 | |
| CN211341136U (zh) | 一种长寿命的新型环保钢构件 | |
| CN220339877U (zh) | 一种钢结构生产多性能检测装置 | |
| CN211916609U (zh) | 一种中空玻璃生产线用玻璃定位装置 | |
| CN216707255U (zh) | 一种执行器活塞加工专用卡箍式工装 |
Legal Events
| Date | Code | Title | Description |
|---|---|---|---|
| GR01 | Patent grant | ||
| GR01 | Patent grant |