CN215666796U - A crawler crane counterweight placement structure - Google Patents

A crawler crane counterweight placement structure Download PDF

Info

Publication number
CN215666796U
CN215666796U CN202022773370.2U CN202022773370U CN215666796U CN 215666796 U CN215666796 U CN 215666796U CN 202022773370 U CN202022773370 U CN 202022773370U CN 215666796 U CN215666796 U CN 215666796U
Authority
CN
China
Prior art keywords
frame body
sliding sleeve
counterweight
crawler crane
fixedly connected
Prior art date
Legal status (The legal status is an assumption and is not a legal conclusion. Google has not performed a legal analysis and makes no representation as to the accuracy of the status listed.)
Expired - Fee Related
Application number
CN202022773370.2U
Other languages
Chinese (zh)
Inventor
熊甸
Current Assignee (The listed assignees may be inaccurate. Google has not performed a legal analysis and makes no representation or warranty as to the accuracy of the list.)
Wuhan Huali Mechanical Casting Co ltd
Original Assignee
Wuhan Huali Mechanical Casting Co ltd
Priority date (The priority date is an assumption and is not a legal conclusion. Google has not performed a legal analysis and makes no representation as to the accuracy of the date listed.)
Filing date
Publication date
Application filed by Wuhan Huali Mechanical Casting Co ltd filed Critical Wuhan Huali Mechanical Casting Co ltd
Priority to CN202022773370.2U priority Critical patent/CN215666796U/en
Application granted granted Critical
Publication of CN215666796U publication Critical patent/CN215666796U/en
Expired - Fee Related legal-status Critical Current
Anticipated expiration legal-status Critical

Links

Images

Landscapes

  • Jib Cranes (AREA)

Abstract

本实用新型公开了一种履带起重机配重安置结构,包括架体,所述架体上滑动连接有滑套,所述滑套的下侧对称固定连接有两个连接杆,两个所述连接杆共同固定连接有配重块,所述架体的内侧设有导向组件,所述架体上设有用于滑套移动的驱动组件。本实用新型设计合理,通过设置驱动组件,使得伺服电机带动固定杆转动,在螺纹槽的作用下,使得固定筒在架体上水平运动,进而通过滑套和连接杆共同带动配重块在水平方向上运动,此时可以根据实际情况来改变配重块的位置,利用杠杆原理,使得起重机的吊装载荷可以根据实际需求进行调整,从而更利用人们的施工。

Figure 202022773370

The utility model discloses a counterweight placement structure for a crawler crane. The rods are fixedly connected with a counterweight, the inner side of the frame body is provided with a guide assembly, and the frame body is provided with a drive assembly for moving the sliding sleeve. The design of the utility model is reasonable. By setting the drive assembly, the servo motor drives the fixing rod to rotate, and under the action of the thread groove, the fixing cylinder moves horizontally on the frame body, and then the sliding sleeve and the connecting rod together drive the counterweight to move horizontally. Moving in the direction, the position of the counterweight can be changed according to the actual situation, and the lever principle can be used to adjust the hoisting load of the crane according to the actual needs, so as to make more use of people's construction.

Figure 202022773370

Description

Crawler crane counter weight mounting structure
Technical Field
The utility model relates to the technical field of crawler cranes, in particular to a counterweight mounting structure of a crawler crane.
Background
The crawler crane is a self-propelled crane for high-rise building construction and a movable arm rotary crane walking by using a crawler, has large crawler grounding area, good trafficability and strong adaptability, can walk with load, and is suitable for hoisting operation of building sites.
At present, the crawler crane at home and abroad adopts a fixed rear counterweight or a super-lifting counterweight to complete the whole machine stability when hoisting a heavy object, and the fixed counterweight has the defects that the hoisting load is relatively small and the position of a counterweight block cannot be adjusted according to actual conditions.
SUMMERY OF THE UTILITY MODEL
The utility model aims to solve the defects in the prior art and provides a counterweight installation structure of a crawler crane.
In order to achieve the purpose, the utility model adopts the following technical scheme:
the utility model provides a crawler crane counter weight arrangement structure, includes the support body, sliding connection has the sliding sleeve on the support body, two connecting rods of the downside symmetry fixedly connected with of sliding sleeve, two the common fixedly connected with balancing weight of connecting rod, the inboard of support body is equipped with the direction subassembly, be equipped with the drive assembly who is used for the sliding sleeve to remove on the support body.
Preferably, the direction subassembly includes a plurality of mount pads of fixed connection top in the sliding sleeve, and is a plurality of all rotate on the mount pad and be connected with the walking wheel, the upside of support body is equipped with and supplies a plurality of gliding guide rails of walking wheel.
Preferably, drive assembly is including setting up at support body upside opening, open-ended inboard fixedly connected with servo motor, two dead levers of fixedly connected with on servo motor's the output shaft, the cover is equipped with fixed cylinder on the support body, the inboard of fixed cylinder is equipped with the thread groove, two the one end that servo motor output shaft was kept away from to the dead lever is all inserted and is established in the thread groove.
Preferably, sliding connection is adopted between the fixed cylinder and the frame body, and the fixed cylinder is fixedly connected to the sliding sleeve.
Preferably, the support body is cylindric setting, the one end fixedly connected with dog that the sliding sleeve was kept away from to the support body.
Preferably, the downside of support body is equipped with the stopper, fixed section of thick bamboo is the setting of falling C form.
The utility model has the following beneficial effects:
1. the fixing rod is driven to rotate by the servo motor through the driving assembly, the fixing rod rotates in the thread groove, due to the fact that lines in the thread groove are arranged in an inclined mode, when the fixing rod rotates in the same direction, the fixing cylinder can be driven to move in one direction, the fixing cylinder drives the sliding sleeve to horizontally move on the frame body, the sliding sleeve drives the balancing weight to move through the connecting rod, and the purpose that the crane adapts to more loads is achieved by adjusting the position of the balancing weight through the lever principle;
2. through setting up the direction subassembly, the sliding sleeve motion drives the walking wheel through the mount pad and slides in the guide rail to reach the effect that reduces sliding sleeve frictional resistance, avoid the sliding sleeve to place for a long time, lead to sliding sleeve and frame contact surface to rust, thereby bring inconvenience for the removal of balancing weight.
Drawings
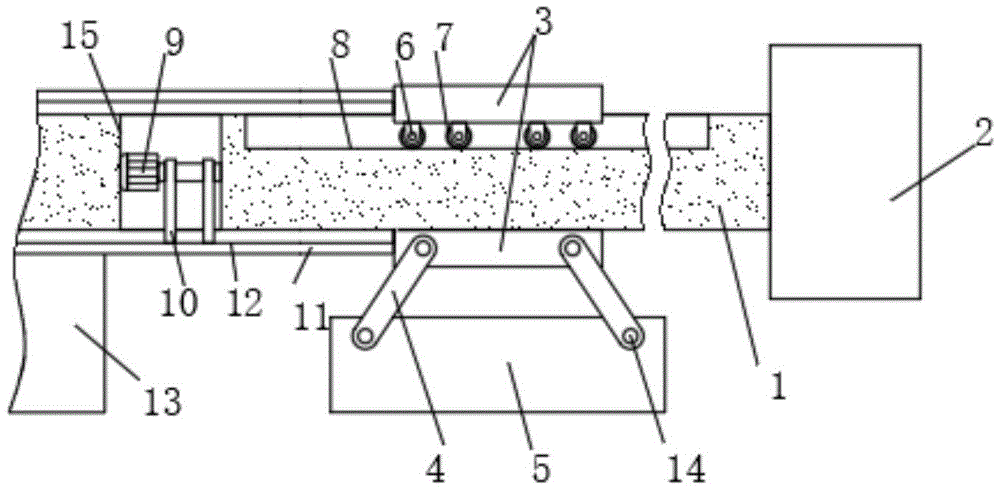
FIG. 1 is a schematic structural view of a counterweight mounting structure of a crawler crane according to the present invention;
FIG. 2 is a schematic view of a partial side view of a frame body;
fig. 3 is a partial side view of the guide assembly.
In the figure: the device comprises a frame body 1, a stop block 2, a sliding sleeve 3, a connecting rod 4, a balancing weight 5, a mounting seat 6, a walking wheel 7, a guide rail 8, a servo motor 9, a fixing rod 10, a fixing barrel 11, a thread groove 12, a limiting block 13, a guide pillar 14 and an opening 15.
Detailed Description
The technical solutions in the embodiments of the present invention will be clearly and completely described below with reference to the drawings in the embodiments of the present invention, and it is obvious that the described embodiments are only a part of the embodiments of the present invention, and not all of the embodiments.
In the description of the present invention, it is to be understood that the terms "upper", "lower", "front", "rear", "left", "right", "top", "bottom", "inner", "outer", and the like, indicate orientations or positional relationships based on the orientations or positional relationships shown in the drawings, are merely for convenience in describing the present invention and simplifying the description, and do not indicate or imply that the device or element being referred to must have a particular orientation, be constructed and operated in a particular orientation, and thus, should not be construed as limiting the present invention.
Referring to fig. 1-3, a crawler crane counter weight arrangement structure, includes support body 1, sliding connection has sliding sleeve 3 on support body 1, and two connecting rods 4 of the downside symmetry fixedly connected with of sliding sleeve 3, the common fixedly connected with balancing weight 5 of two connecting rods 4, the inboard of support body 1 is equipped with the direction subassembly, is equipped with the drive assembly who is used for sliding sleeve 3 to remove on support body 1.
The direction subassembly includes a plurality of mount pads 6 of fixed connection top in sliding sleeve 3, all rotate on a plurality of mount pads 6 and be connected with walking wheel 7, the upside of support body 1 is equipped with and supplies a plurality of gliding guide rails 8 of walking wheel 7, 3 movements of sliding sleeve drive walking wheel 7 through mount pad 6 and slide in guide rail 8, thereby reach the effect that reduces 3 frictional resistance of sliding sleeve, avoid sliding sleeve 3 to place for a long time, lead to sliding sleeve 3 and support body 1's contact surface to rust, thereby bring inconvenience for the removal of balancing weight 5.
The driving assembly comprises an opening 15 arranged at the upper side of the frame body 1, a servo motor 9 is fixedly connected at the inner side of the opening 15, two fixing rods 10 are fixedly connected on an output shaft of the servo motor 9, a fixing cylinder 11 is sleeved on the frame body 1, a thread groove 12 is arranged at the inner side of the fixing cylinder 11, one ends of the two fixing rods 10 far away from the output shaft of the servo motor 9 are inserted in the thread groove 12, the fixing rod 10 is driven by the servo motor 9 to rotate, the fixing rod 10 rotates and rotates in the thread groove 12, because the lines in the thread groove 12 are inclined, when the fixing rod 10 is rotated in the same direction, can drive a fixed section of thick bamboo 11 to a direction motion, a fixed section of thick bamboo 11 drives sliding sleeve 3 at support body 1 upper horizontal motion, and sliding sleeve 3 drives balancing weight 5 through connecting rod 4 and moves, utilizes lever principle, reaches the purpose that the hoist adapts to more loads through the position of adjusting balancing weight 5.
A sliding connection is arranged between the fixed cylinder 11 and the frame body 1, and the fixed cylinder 11 is fixedly connected on the sliding sleeve 3.
Support body 1 is cylindric setting, and the one end fixedly connected with dog 2 of sliding sleeve 3 is kept away from to support body 1, avoids sliding sleeve 3 from support body 1 roll-off.
The downside of support body 1 is equipped with stopper 13, and fixed section of thick bamboo 11 is the setting of falling C form, makes fixed section of thick bamboo 11 the condition that can not take place to deflect when the horizontal motion under stopper 13's effect.
According to the utility model, a switch of the servo motor 9 is turned on, an output shaft of the servo motor 9 rotates to drive the two fixing rods 10 to rotate, the rotating process of the fixing rods 10 is abutted against the thread groove 12, the grains in the thread groove 12 are obliquely arranged, and the fixing rods 10 can drive the fixing barrel 11 to move when rotating in the same direction, so that the purpose that the fixing barrel 11 drives the sliding sleeve 3 to horizontally move is realized, the sliding sleeve 3 drives the two connecting rods 4 to move, the two connecting rods 4 drive the balancing weight 5 to move, and the load loaded by the crane can be changed according to actual conditions by changing the position of the balancing weight 5, so that the adaptability of the crane is stronger.
The above description is only for the preferred embodiment of the present invention, but the scope of the present invention is not limited thereto, and any person skilled in the art should be considered to be within the technical scope of the present invention, and equivalent alternatives or modifications according to the technical solution of the present invention and the inventive concept thereof should be covered by the scope of the present invention.

Claims (6)

1.一种履带起重机配重安置结构,包括架体(1),其特征在于,所述架体(1)上滑动连接有滑套(3),所述滑套(3)的下侧对称固定连接有两个连接杆(4),两个所述连接杆(4)共同固定连接有配重块(5),所述架体(1)的内侧设有导向组件,所述架体(1)上设有用于滑套(3)移动的驱动组件。1. A crawler crane counterweight placement structure, comprising a frame body (1), characterized in that a sliding sleeve (3) is slidably connected on the frame body (1), and the lower side of the sliding sleeve (3) is symmetrical Two connecting rods (4) are fixedly connected, and a counterweight block (5) is fixedly connected to the two connecting rods (4). 1) is provided with a drive assembly for the movement of the sliding sleeve (3). 2.根据权利要求1所述的一种履带起重机配重安置结构,其特征在于,所述导向组件包括固定连接在滑套(3)内顶部的多个安装座(6),多个所述安装座(6)上均转动连接有行走轮(7),所述架体(1)的上侧设有供多个行走轮(7)滑动的导轨(8)。2 . The counterweight placement structure of a crawler crane according to claim 1 , wherein the guide assembly comprises a plurality of mounting seats ( 6 ) fixedly connected to the inner top of the sliding sleeve ( 3 ). The mounting bases (6) are rotatably connected with traveling wheels (7), and the upper side of the frame body (1) is provided with guide rails (8) for sliding the plurality of traveling wheels (7). 3.根据权利要求1所述的一种履带起重机配重安置结构,其特征在于,所述驱动组件包括设置在架体(1)上侧开口(15),所述开口(15)的内侧固定连接有伺服电机(9),所述伺服电机(9)的输出轴上固定连接有两个固定杆(10),所述架体(1)上套设有固定筒(11),所述固定筒(11)的内侧设有螺纹槽(12),两个所述固定杆(10)远离伺服电机(9)输出轴的一端均插设在螺纹槽(12)内。3 . The counterweight placement structure of a crawler crane according to claim 1 , wherein the drive assembly comprises an opening ( 15 ) disposed on the upper side of the frame body ( 1 ), and the inner side of the opening ( 15 ) is fixed. 4 . A servo motor (9) is connected, the output shaft of the servo motor (9) is fixedly connected with two fixing rods (10), and a fixing cylinder (11) is sleeved on the frame body (1), and the fixing The inner side of the cylinder (11) is provided with a threaded groove (12), and one end of the two fixing rods (10) away from the output shaft of the servo motor (9) is inserted into the threaded groove (12). 4.根据权利要求3所述的一种履带起重机配重安置结构,其特征在于,所述固定筒(11)与架体(1)之间为滑动连接,所述固定筒(11)固定连接在滑套(3)上。4 . The counterweight placement structure of a crawler crane according to claim 3 , wherein the fixing cylinder ( 11 ) and the frame body ( 1 ) are slidingly connected, and the fixing cylinder ( 11 ) is fixedly connected. 5 . on the sliding sleeve (3). 5.根据权利要求1所述的一种履带起重机配重安置结构,其特征在于,所述架体(1)呈圆柱状设置,所述架体(1)远离滑套(3)的一端固定连接有挡块(2)。5 . The counterweight placement structure of a crawler crane according to claim 1 , wherein the frame body ( 1 ) is arranged in a cylindrical shape, and one end of the frame body ( 1 ) away from the sliding sleeve ( 3 ) is fixed. 6 . A stop (2) is attached. 6.根据权利要求3所述的一种履带起重机配重安置结构,其特征在于,所述架体(1)的下侧设有限位块(13),所述固定筒(11)呈倒C状设置。6 . The counterweight placement structure of a crawler crane according to claim 3 , wherein a limit block ( 13 ) is arranged on the lower side of the frame body ( 1 ), and the fixing cylinder ( 11 ) is inverted C. 7 . state settings.
CN202022773370.2U 2020-11-25 2020-11-25 A crawler crane counterweight placement structure Expired - Fee Related CN215666796U (en)

Priority Applications (1)

Application Number Priority Date Filing Date Title
CN202022773370.2U CN215666796U (en) 2020-11-25 2020-11-25 A crawler crane counterweight placement structure

Applications Claiming Priority (1)

Application Number Priority Date Filing Date Title
CN202022773370.2U CN215666796U (en) 2020-11-25 2020-11-25 A crawler crane counterweight placement structure

Publications (1)

Publication Number Publication Date
CN215666796U true CN215666796U (en) 2022-01-28

Family

ID=79949200

Family Applications (1)

Application Number Title Priority Date Filing Date
CN202022773370.2U Expired - Fee Related CN215666796U (en) 2020-11-25 2020-11-25 A crawler crane counterweight placement structure

Country Status (1)

Country Link
CN (1) CN215666796U (en)

Similar Documents

Publication Publication Date Title
CN208856873U (en) Aerial work platform
CN109531536A (en) A kind of construction robot
CN215666796U (en) A crawler crane counterweight placement structure
CN202296907U (en) Suspension arm balanced movable arm tower crane capable of luffing based on steel rope traction
CN215711246U (en) Column cantilever crane
CN211765958U (en) Robot suitable for bumpy road surface movement
CN214532060U (en) Building structure design roof beam reinforced structure
CN201442806U (en) Mobile operator cabin device of crane
CN206530126U (en) A kind of Vertical Circulating multi-storied garage hanging basket anti-sway device
CN205604697U (en) Hook type high -place operation hanging basket
CN210029870U (en) A lift for vehicle maintenance
CN211366844U (en) Engineering vehicle support oil cylinder lifting device
CN109572953B (en) Fishing amusement equipment and mobile hoisting device thereof
CN214733993U (en) Hoisting accessory in mechanical engineering assembly
CN214935496U (en) Building material overhead hoist for fitment
CN212334437U (en) Crane for construction
CN212601143U (en) Turnover device for vortex polishing machine
CN207025824U (en) A kind of new type auto Sand screen
CN222102407U (en) A fire water supply pump
CN109721000B (en) Lifting equipment for gum dipping cord fabric convenient to operate
CN208152588U (en) A kind of curtain wall indoor location Autonomous Mobile Robot device
CN216937456U (en) Dust-absorbing rotary lifting appliance
CN221459657U (en) High stability hoist
CN221429668U (en) Height adjusting structure of greenhouse support
CN213120293U (en) Novel remove target frame

Legal Events

Date Code Title Description
GR01 Patent grant
GR01 Patent grant
CF01 Termination of patent right due to non-payment of annual fee

Granted publication date: 20220128