CN215582577U - Seed soaking and germination accelerating device for agricultural planting - Google Patents

Seed soaking and germination accelerating device for agricultural planting Download PDF

Info

Publication number
CN215582577U
CN215582577U CN202122293806.2U CN202122293806U CN215582577U CN 215582577 U CN215582577 U CN 215582577U CN 202122293806 U CN202122293806 U CN 202122293806U CN 215582577 U CN215582577 U CN 215582577U
Authority
CN
China
Prior art keywords
cover
main body
seed soaking
germination accelerating
heater
Prior art date
Legal status (The legal status is an assumption and is not a legal conclusion. Google has not performed a legal analysis and makes no representation as to the accuracy of the status listed.)
Expired - Fee Related
Application number
CN202122293806.2U
Other languages
Chinese (zh)
Inventor
陈超越
央卓
张楚悦
李瑞琪
王雨林
吴潇
沈梦瑶
Current Assignee (The listed assignees may be inaccurate. Google has not performed a legal analysis and makes no representation or warranty as to the accuracy of the list.)
Sichuan Agricultural University
Original Assignee
Sichuan Agricultural University
Priority date (The priority date is an assumption and is not a legal conclusion. Google has not performed a legal analysis and makes no representation as to the accuracy of the date listed.)
Filing date
Publication date
Application filed by Sichuan Agricultural University filed Critical Sichuan Agricultural University
Priority to CN202122293806.2U priority Critical patent/CN215582577U/en
Application granted granted Critical
Publication of CN215582577U publication Critical patent/CN215582577U/en
Expired - Fee Related legal-status Critical Current
Anticipated expiration legal-status Critical

Links

Images

Landscapes

  • Pretreatment Of Seeds And Plants (AREA)

Abstract

本实用新型涉及浸种催芽技术领域,尤其为一种农业种植用的浸种催芽装置,包括设备主体、机盖、供水机构以及转动机构,所述设备主体两侧设有供水机构,所述设备主体顶部设有机盖,所述机盖顶端中心处设有电机,所述机盖底部中心处设有转动机构,所述设备主体内部底端两侧设有泵机,所述泵机顶部管道连接有雾化喷头,所述设备主体内部底端中心处设有加热器,所述加热器一侧设有温度传感器,所述加热器另一侧设有湿度传感器,本实用新型通过设置的转动机构,通过电机带动主轴进行旋转,从而带动托盘旋转,保证能够均匀接受雾化喷淋,保证种子均匀湿润,且通过种子顶部覆盖棉层,能够有效锁水,保持种子湿润,使得设备使用时,催芽效果更好。

Figure 202122293806

The utility model relates to the technical field of seed soaking and germination, in particular to a seed soaking and germination device for agricultural planting, comprising an equipment main body, a machine cover, a water supply mechanism and a rotating mechanism. There is a cover, a motor is arranged at the top center of the cover, a rotating mechanism is arranged at the bottom center of the cover, and a pump is arranged on both sides of the bottom end of the main body of the equipment, and the pipe on the top of the pump is connected with mist A heater is provided at the center of the inner bottom end of the main body of the device, a temperature sensor is provided on one side of the heater, and a humidity sensor is provided on the other side of the heater. The motor drives the main shaft to rotate, thereby driving the tray to rotate, to ensure that the atomized spray can be uniformly received, to ensure that the seeds are evenly moistened, and the top of the seeds is covered with a cotton layer, which can effectively lock the water and keep the seeds moist, so that the germination effect is better when the equipment is used. it is good.

Figure 202122293806

Description

Seed soaking and germination accelerating device for agricultural planting
Technical Field
The utility model relates to the technical field of seed soaking and germination acceleration, in particular to a seed soaking and germination acceleration device for agricultural planting.
Background
The pregermination is a measure which can cause the growth of buds, the development of dormant buds and the germination of seeds or promote the early occurrence of the buds, and is called pregermination, and the pregermination is an important measure for ensuring that nutrients in the seeds are rapidly decomposed and operated after the seeds absorb enough water to supply for the growth of young embryos.
Most of the existing pregermination methods are that seeds are manually placed in pots and then water is injected to soak the seeds, so that the efficiency and the effect are not good, and the optimal pregermination environment cannot be provided, so that a seed soaking and pregermination device for agricultural planting is needed, and the current situation is changed.
SUMMERY OF THE UTILITY MODEL
The utility model aims to provide a seed soaking and germination accelerating device for agricultural planting, which solves the problems in the background technology.
In order to achieve the purpose, the utility model provides the following technical scheme:
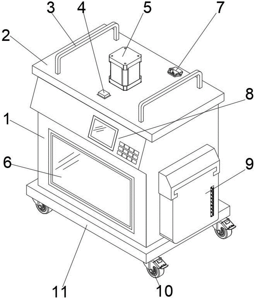
the utility model provides a seed soaking germination accelerating device that farming used, includes equipment principal, cover, water supply mechanism and slewing mechanism, equipment principal both sides are equipped with water supply mechanism, equipment principal top is equipped with the cover, the fixed handle that is equipped with in cover top both sides, cover top center department is equipped with the motor, the cover top is located the motor front side and is equipped with the switch, the cover top is located the motor rear side and is equipped with power source, cover bottom center department is equipped with slewing mechanism, the inside bottom both sides of equipment principal are equipped with the pump machine, pump machine top pipe connection has the atomizer, the inside bottom center department of equipment principal is equipped with the heater, heater one side is equipped with temperature sensor, the heater opposite side is equipped with humidity transducer.
According to the preferable scheme of the utility model, the water supply mechanism comprises a fixer, a water pumping pipe, a water tank, a scale and a clamping groove, the clamping groove is formed in the bottom end of the fixer, the water tank is installed on the fixer in a clamping mode through the clamping groove in the bottom, the scale is arranged on one side of the water tank, the water pumping pipe is arranged in the center of the bottom end of the fixer and inserted into the water tank, and the fixer is connected with the pump through a pipeline.
According to the preferable scheme of the utility model, the rotating mechanism comprises a main shaft, a connecting track, a cotton layer, seeds and a tray, wherein the connecting shaft is arranged at the center of the top of the main shaft, the connecting track is arranged on the outer side of the top of the main shaft, the tray is arranged on the main shaft, the seeds are uniformly placed on the tray, and the cotton layer covers the seeds.
As the preferable scheme of the utility model, the top of the connecting shaft penetrates through the cover to be connected with the motor, the top end of the connecting rail is connected to the bottom surface of the cover, and the inside of the connecting rail is provided with the pulley.
As a preferable scheme of the utility model, the front end of the equipment main body is provided with a front window, and a control panel is arranged above the front window.
As the preferable scheme of the utility model, the bottom of the equipment main body is provided with a bottom plate, and four corners of the bottom plate are provided with universal wheels.
Compared with the prior art, the utility model has the beneficial effects that:
1. according to the utility model, through the arranged atomizing nozzle and the heater, purified water stored in the water tank in advance is extracted through the pump, atomized through the atomizing nozzle and sprayed on seeds, the internal humidity is monitored in real time through the humidity sensor, the optimal internal humidity is ensured, the interior is heated through the heater, the internal temperature is monitored in real time through the temperature sensor, the constant temperature of the internal temperature is ensured, the optimal germination accelerating temperature is reached, when the equipment is used, the optimal environment for accelerating germination can be provided, and the germination accelerating efficiency and effect are improved.
2. According to the utility model, the motor drives the main shaft to rotate through the rotating mechanism, so that the tray is driven to rotate, the atomization spraying can be uniformly received, the seeds are uniformly wetted, the cotton layer is covered on the tops of the seeds, the water can be effectively locked, the seeds are kept moist, and the germination accelerating effect is better when the equipment is used.
Drawings
FIG. 1 is a schematic view of the overall structure of the present invention;
FIG. 2 is a schematic view of the internal structure of the present invention;
FIG. 3 is a schematic view of the structure of the water supply mechanism of the present invention;
fig. 4 is a schematic structural diagram of the rotating mechanism of the present invention.
In the figure: 1. an apparatus main body; 2. a machine cover; 3. a handle; 4. a switch; 5. a motor; 6. a front window; 7. a power interface; 8. a control panel; 9. a water supply mechanism; 10. a universal wheel; 11. a base plate; 12. a pump machine; 13. a rotating mechanism; 14. an atomizing spray head; 15. a temperature sensor; 16. a heater; 17. a humidity sensor; 18. a holder; 19. a water pumping pipe; 20. a water tank; 21. a dial gauge; 22. a card slot; 23. a main shaft; 24. a connecting shaft; 25. connecting the rails; 26. a cotton layer; 27. seeds; 28. a tray.
Detailed Description
The technical solutions in the embodiments of the present invention will be clearly and completely described below with reference to the drawings in the embodiments of the present invention, and it is obvious that the described embodiments are only a part of the embodiments of the present invention, and not all embodiments, and all other embodiments obtained by a person of ordinary skill in the art without creative efforts based on the embodiments of the present invention belong to the protection scope of the present invention.
To facilitate an understanding of the utility model, the utility model will now be described more fully with reference to the accompanying drawings. Several embodiments of the utility model are presented in the drawings. This invention may, however, be embodied in many different forms and should not be construed as limited to the embodiments set forth herein. Rather, these embodiments are provided so that this disclosure will be thorough and complete.
It will be understood that when an element is referred to as being "secured to" another element, it can be directly on the other element or intervening elements may also be present. When an element is referred to as being "connected" to another element, it can be directly connected to the other element or intervening elements may also be present. The terms "vertical," "horizontal," "left," "right," and the like as used herein are for illustrative purposes only.
Unless defined otherwise, all technical and scientific terms used herein have the same meaning as commonly understood by one of ordinary skill in the art to which this invention belongs. The terminology used in the description of the utility model herein is for the purpose of describing particular embodiments only and is not intended to be limiting of the utility model. As used herein, the term "and/or" includes any and all combinations of one or more of the associated listed items.
Referring to fig. 1-4, the present invention provides a technical solution:
the utility model provides a seed soaking germination accelerating device that farming used, including equipment principal 1, the cover 2, water supply mechanism 9 and slewing mechanism 13, 1 both sides of equipment principal are equipped with water supply mechanism 9, 1 top of equipment principal is equipped with cover 2, 2 fixed handles 3 that are equipped with in top both sides of cover, 2 top centers of cover department is equipped with motor 5, 2 tops of cover are located the motor 5 front side and are equipped with switch 4, 2 tops of cover are located the motor 5 rear side and are equipped with power source 7, 2 bottom centers of cover department is equipped with slewing mechanism 13, 1 inside bottom both sides of equipment principal are equipped with pump 12, 12 top pipe connection of pump has atomizer 14, 1 inside bottom center department of equipment principal is equipped with heater 16, heater 16 one side is equipped with temperature sensor 15, heater 16 opposite side is equipped with humidity transducer 17.
In the embodiment, referring to fig. 1, 2 and 3, two sides of the bottom end inside the main body 1 of the device are provided with a pump 12, a pipeline at the top of the pump 12 is connected with an atomizing nozzle 14, a heater 16 is arranged at the center of the bottom end inside the main body 1 of the device, one side of the heater 16 is provided with a temperature sensor 15, the other side of the heater 16 is provided with a humidity sensor 17, the water supply mechanism 9 comprises a fixer 18, a water pumping pipe 19, a water tank 20, a scale 21 and a clamping groove 22, the bottom end of the fixer 18 is provided with a clamping groove 22, the fixer 18 is clamped with the water tank 20 through the clamping groove 22 at the bottom, one side of the water tank 20 is provided with the scale 21, the center of the bottom end of the fixer 18 is provided with the water pumping pipe 19, the water pumping pipe 19 is inserted into the water tank 20, the fixer 18 is connected with the pump 12 through a pipeline, purified water stored in the water tank 9 in advance is pumped through the pump 12 and atomized through the atomizing nozzle 14, spray on the seed, and through the inside humidity of humidity transducer 17 real-time supervision, guarantee that inside humidity is best, heat the inside through heater 16 again to through the inside temperature of 15 real-time supervision of temperature sensor, guarantee inside temperature constant temperature, reach best vernalization temperature, when making equipment use, can provide the best environment of vernalization, improve vernalization efficiency and effect.
In the embodiment, please refer to fig. 1, 2 and 4, a cover 2 is disposed on the top of an apparatus main body 1, handles 3 are fixedly disposed on two sides of the top of the cover 2, a motor 5 is disposed at the center of the top of the cover 2, a switch 4 is disposed on the front side of the motor 5 at the top of the cover 2, a power source 7 is disposed on the rear side of the motor 5 at the top of the cover 2, a rotating mechanism 13 is disposed at the center of the bottom of the cover 2, the rotating mechanism 13 includes a main shaft 23, a connecting shaft 24, a connecting track 25, a cotton layer 26, seeds 27 and a tray 28, the connecting shaft 24 is disposed at the center of the top of the main shaft 23, the connecting track 25 is disposed on the outer side of the top of the main shaft 23, the tray 28 is uniformly disposed on the tray 28, the cotton layer 26 is covered on the seeds 27, the top of the connecting shaft 24 passes through the cover 2 to be connected with the motor 5, the top of the connecting track 25 is connected to the bottom surface of the cover 2, and pulleys are disposed inside the connecting track 25, through the slewing mechanism 13 that sets up, it is rotatory to drive main shaft 13 through motor 5 to it is rotatory to drive tray 28, guarantees to evenly accept the atomizing and sprays, guarantees that seed 27 is evenly moist, and covers cotton layer 26 through seed 27 top, can effectively lock water, keeps the seed moist, makes when the equipment uses, and the vernalization effect is better.
The working principle of the utility model is as follows: when the device is used, firstly, seeds 27 needing germination are uniformly placed in a tray 28, a rotating mechanism 13 is slowly inserted into the device main body 1, a cover 2 is covered, the germination accelerating condition is set through a control panel 8, purified water which is stored in a water tank 9 in advance is extracted through a pump 12 through an atomizing nozzle 14 and a heater 16, the purified water is atomized through the atomizing nozzle 14 and sprayed on the seeds 27, the internal humidity is monitored in real time through a humidity sensor 17 to ensure the optimal internal humidity, the inside is heated through the heater 16, the internal temperature is monitored in real time through a temperature sensor 15 to ensure the constant internal temperature, the optimal germination accelerating temperature is reached, when the device is used, the optimal environment for germination accelerating can be provided, the germination accelerating efficiency and effect are improved, the rotating mechanism 13 is arranged, a main shaft 13 is driven to rotate through a motor 5, so that the tray 28 is driven to rotate, guarantee can evenly accept the atomizing and spray, guarantee that seed 27 is even moist, and cover cotton layer 26 through 27 tops of seed, can effectively lock water, keep the seed moist for when the equipment uses, the vernalization effect is better.
Although embodiments of the present invention have been shown and described, it will be appreciated by those skilled in the art that changes, modifications, substitutions and alterations can be made in these embodiments without departing from the principles and spirit of the utility model, the scope of which is defined in the appended claims and their equivalents.

Claims (6)

1. The utility model provides a seed soaking and germination accelerating device that farming used, includes equipment main part (1), cover (2), water supply mechanism (9) and slewing mechanism (13), its characterized in that: two sides of the equipment main body (1) are provided with water supply mechanisms (9), the top of the equipment main body (1) is provided with a machine cover (2), handles (3) are fixedly arranged on two sides of the top of the machine cover (2), a motor (5) is arranged at the center of the top end of the machine cover (2), a switch (4) is arranged at the top end of the machine cover (2) and positioned at the front side of the motor (5), a power interface (7) is arranged at the top end of the machine cover (2) and is positioned at the rear side of the motor (5), a rotating mechanism (13) is arranged at the center of the bottom of the machine cover (2), pump machines (12) are arranged on two sides of the bottom end in the equipment main body (1), the top pipeline of the pump (12) is connected with an atomizing nozzle (14), a heater (16) is arranged at the center of the bottom end in the equipment main body (1), and a temperature sensor (15) is arranged on one side of the heater (16), and a humidity sensor (17) is arranged on the other side of the heater (16).
2. The seed soaking and germination accelerating device for agricultural planting according to claim 1, wherein: water supply mechanism (9) are including fixer (18), drinking-water pipe (19), water tank (20), graduation apparatus (21) and draw-in groove (22), fixer (18) bottom is equipped with draw-in groove (22), water tank (20) are installed through bottom draw-in groove (22) joint in fixer (18), water tank (20) one side is equipped with graduation apparatus (21), fixer (18) bottom center department is equipped with drinking-water pipe (19), and inside drinking-water pipe (19) inserted water tank (20), fixer (18) are connected with pump (12) through the pipeline.
3. The seed soaking and germination accelerating device for agricultural planting according to claim 1, wherein: slewing mechanism (13) are including main shaft (23), connecting axle (24), connection track (25), cotton layer (26), seed (27) and tray (28), main shaft (23) top center department is equipped with connecting axle (24), main shaft (23) top outside is equipped with connection track (25), be equipped with tray (28) on main shaft (23), seed (27) have evenly been placed on tray (28), seed (27) coats and is stamped cotton layer (26).
4. A seed soaking and germination accelerating device for agricultural planting according to claim 3, wherein: the top of the connecting shaft (24) penetrates through the cover (2) to be connected with the motor (5), the top end of the connecting rail (25) is connected to the bottom surface of the cover (2), and a pulley is arranged inside the connecting rail (25).
5. The seed soaking and germination accelerating device for agricultural planting according to claim 1, wherein: the equipment is characterized in that a front window (6) is arranged at the front end of the equipment main body (1), and a control panel (8) is arranged above the front window (6).
6. The seed soaking and germination accelerating device for agricultural planting according to claim 1, wherein: the device is characterized in that a bottom plate (11) is arranged at the bottom of the device main body (1), and universal wheels (10) are arranged at four corners of the bottom plate (11).
CN202122293806.2U 2021-09-18 2021-09-18 Seed soaking and germination accelerating device for agricultural planting Expired - Fee Related CN215582577U (en)

Priority Applications (1)

Application Number Priority Date Filing Date Title
CN202122293806.2U CN215582577U (en) 2021-09-18 2021-09-18 Seed soaking and germination accelerating device for agricultural planting

Applications Claiming Priority (1)

Application Number Priority Date Filing Date Title
CN202122293806.2U CN215582577U (en) 2021-09-18 2021-09-18 Seed soaking and germination accelerating device for agricultural planting

Publications (1)

Publication Number Publication Date
CN215582577U true CN215582577U (en) 2022-01-21

Family

ID=79886791

Family Applications (1)

Application Number Title Priority Date Filing Date
CN202122293806.2U Expired - Fee Related CN215582577U (en) 2021-09-18 2021-09-18 Seed soaking and germination accelerating device for agricultural planting

Country Status (1)

Country Link
CN (1) CN215582577U (en)

Similar Documents

Publication Publication Date Title
CN215582577U (en) Seed soaking and germination accelerating device for agricultural planting
CN207135795U (en) Bean sprout growing machine
CN211272598U (en) Agricultural is spray disinfection device for chicken farm
CN220432662U (en) Efficient fertilizer turns over throwing machine
CN214316501U (en) Glossy ganoderma case for glossy ganoderma incubator
CN216629250U (en) A kind of multifunctional disinfection equipment for medical staff
CN212212089U (en) Crop seedling raising device
CN216874366U (en) Atomizing device of growing seedlings
CN211275649U (en) A disinfection and cleaning device for acupuncture silver needles
CN212035206U (en) Seafood mushroom is planted and is used atomizing device
CN213127399U (en) Glossy ganoderma artificial containers
CN213256153U (en) Traditional chinese medical science cup uses self-cleaning device
CN211645634U (en) Novel wet piece of cloth production non-woven fabrics humidification device
CN211020257U (en) Agricultural is experimental with crop device of growing seedlings
CN221653271U (en) Agricultural product seed breeding device
CN222786329U (en) Vegetable seed germination box with partition structure
CN223681685U (en) Water supply and fertilizer application device for coconut seedling planting
CN215270353U (en) Spray water bath type pasteurization device
CN214593194U (en) A breeding device for big leaf albumen chrysanthemum seed
CN207820770U (en) A kind of planting unit facilitating diversion
CN222033152U (en) A mobile disinfection equipment for farms
CN222764397U (en) An automatic humidifying device for forestry engineering seedling cultivation
CN221016688U (en) Multi-angle spraying equipment
CN220528526U (en) Seed growth observation box
CN223288680U (en) Phalaenopsis cultivation bottle cleaning device

Legal Events

Date Code Title Description
GR01 Patent grant
GR01 Patent grant
CF01 Termination of patent right due to non-payment of annual fee

Granted publication date: 20220121

CF01 Termination of patent right due to non-payment of annual fee