CN215548725U - Clamping manipulator for workpiece assembly - Google Patents

Clamping manipulator for workpiece assembly Download PDF

Info

Publication number
CN215548725U
CN215548725U CN202121973959.5U CN202121973959U CN215548725U CN 215548725 U CN215548725 U CN 215548725U CN 202121973959 U CN202121973959 U CN 202121973959U CN 215548725 U CN215548725 U CN 215548725U
Authority
CN
China
Prior art keywords
clamping
clamping part
cleaning
cleaning piece
wall
Prior art date
Legal status (The legal status is an assumption and is not a legal conclusion. Google has not performed a legal analysis and makes no representation as to the accuracy of the status listed.)
Expired - Fee Related
Application number
CN202121973959.5U
Other languages
Chinese (zh)
Inventor
凌金晶
廉晓聪
李芋江
Current Assignee (The listed assignees may be inaccurate. Google has not performed a legal analysis and makes no representation or warranty as to the accuracy of the list.)
Zhijiang College of Zhejiang University of Technology
Original Assignee
Zhijiang College of Zhejiang University of Technology
Priority date (The priority date is an assumption and is not a legal conclusion. Google has not performed a legal analysis and makes no representation as to the accuracy of the date listed.)
Filing date
Publication date
Application filed by Zhijiang College of Zhejiang University of Technology filed Critical Zhijiang College of Zhejiang University of Technology
Priority to CN202121973959.5U priority Critical patent/CN215548725U/en
Application granted granted Critical
Publication of CN215548725U publication Critical patent/CN215548725U/en
Expired - Fee Related legal-status Critical Current
Anticipated expiration legal-status Critical

Links

Images

Landscapes

  • Manipulator (AREA)

Abstract

本实用新型公开了一种用于工件装配的夹持机械手,涉及机械手技术领域,包括用于夹持工件的夹持部,夹持部设置在驱动机构上,夹持部外部设置有清洁件,清洁件通过连接机构设置在驱动机构上,连接机构包括设置在驱动机构上的支撑组件和设置在支撑组件上与清洁件相连的带动组件,带动组件能够带动清洁件沿夹持部长度方向往复移动,以使清洁件对夹持部不同位置进行清理,传统的清理需要人工全程进行清理,本实用新型能够减少人工维护清理的劳动量。

Figure 202121973959

The utility model discloses a clamping manipulator for workpiece assembly, which relates to the technical field of manipulators. The utility model comprises a clamping part used for clamping the workpiece; the clamping part is arranged on a driving mechanism; The cleaning member is arranged on the driving mechanism through a connecting mechanism, and the connecting mechanism includes a supporting component arranged on the driving mechanism and a driving component arranged on the supporting component and connected to the cleaning component. The driving component can drive the cleaning component to reciprocate along the length direction of the clamping portion. , so that the cleaning piece can clean different positions of the clamping part. The traditional cleaning needs manual cleaning in the whole process. The utility model can reduce the labor amount of manual maintenance and cleaning.

Figure 202121973959

Description

Clamping manipulator for workpiece assembly
Technical Field
The utility model relates to the technical field of manipulators, in particular to a clamping manipulator for workpiece assembly.
Background
The manipulator is widely applied to modern production workshops, various manipulators can not be separated from various automatic equipment, can replace hands to perform repeated heavy work, is mainly used for fixing various materials, moving the materials to a processing station, facilitating operations of a drill bit, a die cutting head and the like, can obviously reduce the labor intensity of workers, improve the labor condition and improve the operation precision and efficiency, and is widely applied to departments of mechanical manufacturing, metallurgy, electronics, light industry, atomic energy and the like.
The traditional mechanical hands are many, the clamping mechanical hand is one of the traditional mechanical hands, in the production and processing process, the workpiece is often required to be clamped to realize the positioning or transferring of the workpiece, in particular, in the field of automated processing, a clamping manipulator is used for the purpose, the clamping manipulator is generally composed of a driving mechanism and a clamping mechanism which are matched, the driving mechanism drives the clamping mechanism to a proper position, the clamping mechanism is used for grabbing an assembly workpiece, compared with manual work, the automatic feeding device can be more suitable for assembly line type work, has certain working efficiency compared with manual work, however, the clamping part of the clamping manipulator is not protected, so that impurities are easy to adhere to the surface of the clamping manipulator over time, when the clamping manipulator is used for clamping and assembling workpieces, the workpiece surface is easily attached with impurities, the clamping part of the clamping manipulator is required to be maintained and cleaned periodically by personnel, and the whole manual labor amount is large.
SUMMERY OF THE UTILITY MODEL
The utility model aims to provide a clamping manipulator for workpiece assembly, which can reduce the labor amount of manual maintenance and cleaning.
The technical purpose of the utility model is realized by the following technical scheme: the utility model provides a centre gripping manipulator for work piece assembly, is including the clamping part that is used for the centre gripping work piece, the clamping part sets up on actuating mechanism, the clamping part outside is provided with the cleaning member, the cleaning member passes through coupling mechanism and sets up actuating mechanism is last, coupling mechanism is including setting up actuating mechanism last supporting component with set up on the supporting component with the drive subassembly that the cleaning member links to each other, the drive subassembly can drive the cleaning member is followed clamping part length direction reciprocating motion, so that the cleaning member is right the different positions of clamping part are cleared up.
Preferably, the driving assembly comprises a supporting block and a motor, one end of the supporting block is connected with the supporting assembly, the motor is arranged in the supporting block, a lead screw is connected to an output shaft of the motor, one end of the lead screw, far away from the motor, is rotatably connected with the inner wall of the supporting block, a support is slidably connected to the outer wall of the lead screw, one end of the cleaning piece is connected with the lead screw through the support, and the lead screw is driven to drive the cleaning piece to reciprocate along the length direction of the lead screw through the support.
Preferably, the supporting component comprises a fixing block arranged on the driving mechanism and a rotating rod rotatably arranged in the fixing block, one end of the rotating rod is rotatably connected with the outer wall of the supporting block, the two groups of rotating rods are respectively arranged on two opposite sides of the inner wall of the fixing block, and the supporting block can be driven to rotate around the central axis of the rotating rod in a reciprocating manner, so that the cleaning piece is in surface contact with the clamping part.
Preferably, the supporting block further comprises an air cylinder arranged inside the fixing block, sliding grooves are formed in two opposite sides of the inner wall of the supporting block, a driving plate is fixed to one end of a piston rod of the air cylinder, two opposite ends of the driving plate are respectively and rotatably connected with connecting rods, and two opposite ends of the two groups of connecting rods are respectively and slidably connected with the two groups of sliding grooves.
Preferably, a through hole is formed in one end, close to the clamping portion, of the cleaning piece, a dust suction pipe communicated with the through hole is arranged at one end of the outer wall of the cleaning piece, and a dust collector is communicated with one end, far away from the through hole, of the dust suction pipe.
Preferably, the support block has a total length longer than an overall length of the clip portion in the contracted state.
The utility model has the beneficial effects that: compared with the prior art, the cleaning part for cleaning the clamping part is arranged outside the clamping part, the connecting mechanism for driving the cleaning part to be in contact with the clamping part is arranged on the driving mechanism, the cleaning part is driven by the connecting mechanism to automatically clean the outer wall of the clamping part, the existing manual cleaning mode of personnel is changed, the working labor amount of the personnel is reduced, and meanwhile, the cleaning pipe communicated with the dust collector is communicated with the cleaning part to intensively convey cleaned impurities through the dust collecting pipe, so that the cleaning labor amount of the personnel is reduced.
Drawings
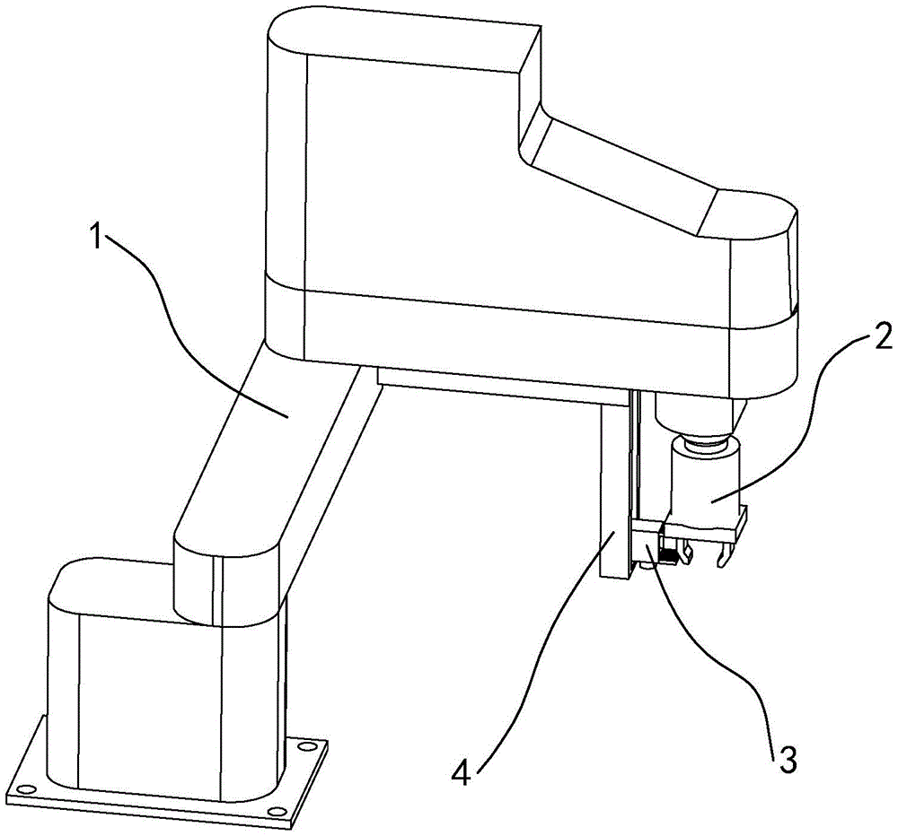
FIG. 1 is a schematic view illustrating a connection between a driving mechanism and a clamping portion according to an embodiment of the present invention;
FIG. 2 is a schematic structural view for showing an outer wall of a driving mechanism according to an embodiment of the present invention;
FIG. 3 is a schematic view of the structure of FIG. 2 taken along the line A-A;
FIG. 4 is an enlarged view of portion B of FIG. 3;
fig. 5 is an exploded view of the components within the connection mechanism shown separately in one embodiment of the utility model.
Reference numerals: 1. a drive mechanism; 2. a clamping portion; 3. a cleaning member; 4. a support block; 5. a cylinder; 6. a motor; 7. a dust collection pipe; 8. a support; 9. a screw rod; 10. a through hole; 11. a connecting rod; 12. driving the plate; 13. a fixed block; 14. a rotating rod; 15. a chute.
Detailed Description
The following description is only a preferred embodiment of the present invention, and the scope of protection is not limited to the embodiment, and any technical solutions that fall under the spirit of the present invention should fall under the scope of protection of the present invention, and it should be noted that, for those skilled in the art, several modifications and decorations can be made without departing from the principle of the present invention, and these modifications and decorations should also be regarded as the scope of protection of the present invention.
It should be noted that the directional terms such as "upper, lower, left, right" and the like in the present embodiment are only used in conjunction with the accompanying drawings to make those skilled in the art understand the relationship between the various features or parts and the like.
As shown in fig. 1 to 2, a clamping manipulator for workpiece assembly includes a driving mechanism 1 and a clamping portion 2 disposed on the driving mechanism 1, it should be noted that, in this embodiment, the driving mechanism 1 and the clamping portion 2 are operation means conventionally known to those skilled in the art, the driving mechanism 1 employs a three-stage mechanical arm, and the clamping portion 2 employs a mechanical clamping hand to clamp by a pneumatic method.
As shown in fig. 3 to 5, a cleaning member 3 is disposed at the left end of the clamping portion 2, in this embodiment, the cleaning member 3 is composed of a rectangular connecting block and a cleaning brush fixed at the right side of the fixing block 13, a through hole 10 is further formed in the middle of the right side of the connecting block, a dust suction pipe 7 communicated with the through hole 10 is inserted into the lower end of the connecting block, and the other end of the dust suction pipe 7 is connected with a dust collector, in this embodiment, the dust collector adopts a technology conventionally known by those skilled in the art, and the purpose of the technology is to generate suction force by which impurities cleaned by the cleaning brush are uniformly conveyed out through the through hole 10 and the dust suction pipe 7.
The left side of connecting block is provided with back's supporting shoe 4, and actuating mechanism 1 is provided with the fixed block 13 of U type with the one section downside of being connected of clamping part 2, and the fixed block 13 opening is downward, and the upper end of supporting shoe 4 is located the fixed block 13 inner wall right-hand member, and both sides are connected with the inner wall rotation of fixed block 13 through bull stick 14 around its outer wall.
Inside vertical lead screw 9 that is provided with of supporting shoe 4, the lower extreme of lead screw 9 is connected with 4 inner wall bottom sides of supporting shoe rotation, 4 inside upsides of supporting shoe are fixed with motor 6, motor 6's output shaft top passes through the shaft coupling with the upper end of lead screw 9 and links to each other, 9 outer wall sliding connection of lead screw has support 8, it is required to explain, in this embodiment, support 8 adopts this technical field technical personnel conventional familiar cuboid base with 9 sliding fit of lead screw, its aim at, when lead screw 9 is driven to rotate, support 8 can need not to rotate and must carry out and remove along 9 length direction of lead screw, support 8's right-hand member is fixed with the left end of cleaning member 3.
The inner wall left end of fixed block 13 is fixed with cylinder 5, the piston rod top of cylinder 5 is fixed with the drive board 12 of U type, and drive board 12 about both ends rotate separately and be connected with connecting rod 11, spout 15 that is the T type is seted up to the inner wall left and right sides of supporting shoe 4, two sets of connecting rods 11 wear to establish separately inside two sets of spouts 15, rather than sliding connection, it is required to explain that, the total length of supporting shoe 4 will be good at the whole length when clamping part 2 is in the contraction state, thereby make the cleaning brush can clear up the lower extreme of clamping part 2.
When the surface of the clamping part 2 does not need to be cleaned, the air cylinder 5 retracts, the driving plate 12 connected to the top end of the piston rod of the air cylinder 5 drives the supporting block 4 to rotate around the central axis of the rotating rod 14 in the direction away from the clamping part 2, so that the cleaning piece 3 is not contacted with the clamping part 2, the work of the clamping part 2 is prevented from being interfered, and the motor 6 is in a power failure state and can be located at any height on the screw rod 9.
When the surface of the clamping part 2 needs to be cleaned, the clamping part 2 is kept in a non-telescopic moving state, then a person controls the cylinder 5 to start through a control system (not shown in the attached drawing), a piston rod of the cylinder is pushed out, a driving plate 12 at the top end of the piston rod drives the supporting block 4 to rotate around the central axis of a rotating rod 14 in the direction close to the clamping part 2 and to contact with the left side of the clamping part 2, meanwhile, the motor 6 and the dust collector synchronously start to work, the motor 6 starts to rotate forwards and backwards at regular time, the screw rod 9 is driven to rotate, a support 8 on the outer wall of the screw rod 9 starts to vertically move upwards and downwards along the length direction of the screw rod 9, a cleaning brush is driven through a connecting block to start to clean the outer wall of the clamping part 2 up and down in a reciprocating mode, meanwhile, the dust collector starts to work by electrifying, and impurities cleaned by the cleaning brush are conveyed out through a dust collection pipe 7. As shown in fig. 3, in the present embodiment, when the cleaning brush in the cleaning element 3 contacts the surface of the clamping portion 2, the fixing block 13 is perpendicular to the supporting block 4, but only in this state, the cleaning element 3 can contact the surface of the clamping portion 2, and the person can properly adjust the included angle between the fixing block 13 and the supporting block 4 according to the length of the cleaning brush.
The above embodiments are illustrative of the present invention, and are not intended to limit the present invention, and any simple modifications of the present invention are within the scope of the present invention.

Claims (6)

1. A clamping manipulator for workpiece assembly comprises a clamping part (2) for clamping a workpiece, wherein the clamping part (2) is arranged on a driving mechanism (1),
the cleaning device is characterized in that a cleaning piece (3) is arranged outside the clamping part (2);
the cleaning piece (3) is arranged on the driving mechanism (1) through a connecting mechanism;
the connecting mechanism comprises a supporting component arranged on the driving mechanism (1) and a driving component arranged on the supporting component and connected with the cleaning piece (3);
the driving assembly can drive the cleaning piece (3) to reciprocate along the length direction of the clamping part (2), so that the cleaning piece (3) can clean different positions of the clamping part (2).
2. The clamping manipulator for workpiece assembly according to claim 1, wherein the driving assembly comprises a supporting block (4) and a motor (6), one end of the supporting block (4) is connected with the supporting assembly, the motor (6) is arranged inside the supporting block (4), an output shaft of the motor (6) is connected with a lead screw (9), one end, away from the motor (6), of the lead screw (9) is rotatably connected with the inner wall of the supporting block (4), a support (8) is slidably connected with the outer wall of the lead screw (9), one end of the cleaning piece (3) is connected with the lead screw (9) through the support (8), and the lead screw (9) is driven to drive the cleaning piece (3) to reciprocate along the length direction of the lead screw (9) through the support (8).
3. The clamping manipulator for workpiece assembly as claimed in claim 2, characterized in that the supporting component comprises a fixed block (13) arranged on the driving mechanism (1) and a rotating rod (14) rotatably arranged in the fixed block (13), one end of the rotating rod (14) is rotatably connected with the outer wall of the supporting block (4), two groups of rotating rods (14) are arranged on two opposite sides of the inner wall of the fixed block (13), and the supporting block (4) is driven to rotate around the central axis of the rotating rod (14) in a reciprocating manner, so that the cleaning piece (3) is in surface contact with the clamping part (2).
4. The clamping manipulator for workpiece assembly according to claim 3, further comprising an air cylinder (5) arranged inside the fixed block (13), wherein sliding grooves (15) are formed in two opposite sides of the inner wall of the supporting block (4), a driving plate (12) is fixed at one end of a piston rod of the air cylinder (5), two opposite ends of the driving plate (12) are respectively and rotatably connected with connecting rods (11), and two opposite ends of two groups of connecting rods (11) are respectively and slidably connected with the two groups of sliding grooves (15).
5. The clamping manipulator for workpiece assembly according to claim 1, wherein a through hole (10) is formed in one end, close to the clamping portion (2), of the cleaning piece (3), a dust suction pipe (7) communicated with the through hole (10) is arranged at one end of the outer wall of the cleaning piece (3), and a dust collector is communicated with one end, far away from the through hole (10), of the dust suction pipe (7).
6. Clamping robot for workpiece assembly according to claim 3, characterized in that the total length of the support block (4) is longer than the total length of the clamping part (2) in the retracted state.
CN202121973959.5U 2021-08-20 2021-08-20 Clamping manipulator for workpiece assembly Expired - Fee Related CN215548725U (en)

Priority Applications (1)

Application Number Priority Date Filing Date Title
CN202121973959.5U CN215548725U (en) 2021-08-20 2021-08-20 Clamping manipulator for workpiece assembly

Applications Claiming Priority (1)

Application Number Priority Date Filing Date Title
CN202121973959.5U CN215548725U (en) 2021-08-20 2021-08-20 Clamping manipulator for workpiece assembly

Publications (1)

Publication Number Publication Date
CN215548725U true CN215548725U (en) 2022-01-18

Family

ID=79840191

Family Applications (1)

Application Number Title Priority Date Filing Date
CN202121973959.5U Expired - Fee Related CN215548725U (en) 2021-08-20 2021-08-20 Clamping manipulator for workpiece assembly

Country Status (1)

Country Link
CN (1) CN215548725U (en)

Cited By (1)

* Cited by examiner, † Cited by third party
Publication number Priority date Publication date Assignee Title
CN113995516A (en) * 2022-01-04 2022-02-01 山东第一医科大学附属省立医院(山东省立医院) A high degree of freedom manipulator for vascular surgery

Cited By (2)

* Cited by examiner, † Cited by third party
Publication number Priority date Publication date Assignee Title
CN113995516A (en) * 2022-01-04 2022-02-01 山东第一医科大学附属省立医院(山东省立医院) A high degree of freedom manipulator for vascular surgery
CN113995516B (en) * 2022-01-04 2022-03-25 山东第一医科大学附属省立医院(山东省立医院) A high degree of freedom manipulator for vascular surgery

Similar Documents

Publication Publication Date Title
CN108284441B (en) Terminal clamping device of small-size arm
CN205166950U (en) A plug-in execution terminal of a manipulator with two heads and a large rotation angle
CN215548725U (en) Clamping manipulator for workpiece assembly
CN106826447A (en) A kind of SMART METALS sheet material trimmer of Multifunctional high abrasion-resistant
CN111511117B (en) Punching equipment for circuit board
CN110480757A (en) Carving device is used in a kind of production of timber
CN210938781U (en) An automatic grinding wheel replacement device and its industrial robot
CN209737655U (en) A device for automatically replacing end pickers with a manipulator
CN104354057A (en) Automatic piston ring fetching and handling device
CN111375722A (en) Full-automatic riveting production line
CN215848211U (en) A manipulator for electronic machining
CN214641630U (en) Automatic locking and punching assembly equipment for steel wire thread insert
CN203370974U (en) Mechanical hand feeder
CN109968403B (en) A device and method for automatically replacing an end picker with a manipulator
CN118544380B (en) Terminal clamping device for cooperative robot
CN210705122U (en) Drilling machine manipulator
CN217394449U (en) Telescopic numerical control machine tool material taking and feeding device
CN214922686U (en) High-precision chip blowing device for machine tool
CN213412530U (en) Glass cutting device
CN212043449U (en) An automatic screwing device
CN106826457A (en) The low-loss plate-shape metal workpiece trimmer assembly with video recording apparatus of high abrasion
CN222038323U (en) Spinning Cylinder Fixture
CN220841295U (en) Clamp for injection molding machine workpiece taking manipulator and manipulator
CN204195385U (en) A kind of piston ring automatic material taking and carrying device
CN222200557U (en) Spring plate automatic clamping equipment

Legal Events

Date Code Title Description
GR01 Patent grant
GR01 Patent grant
CF01 Termination of patent right due to non-payment of annual fee
CF01 Termination of patent right due to non-payment of annual fee

Granted publication date: 20220118