CN215537072U - Auxiliary drawing device for sputum suction tube - Google Patents

Auxiliary drawing device for sputum suction tube Download PDF

Info

Publication number
CN215537072U
CN215537072U CN202122035314.3U CN202122035314U CN215537072U CN 215537072 U CN215537072 U CN 215537072U CN 202122035314 U CN202122035314 U CN 202122035314U CN 215537072 U CN215537072 U CN 215537072U
Authority
CN
China
Prior art keywords
suction tube
gear
sputum suction
rotating shaft
box
Prior art date
Legal status (The legal status is an assumption and is not a legal conclusion. Google has not performed a legal analysis and makes no representation as to the accuracy of the status listed.)
Expired - Fee Related
Application number
CN202122035314.3U
Other languages
Chinese (zh)
Inventor
吴红梅
黄茜
彭茜
Current Assignee (The listed assignees may be inaccurate. Google has not performed a legal analysis and makes no representation or warranty as to the accuracy of the list.)
Second Affiliated Hospital of Army Medical University
Original Assignee
Second Affiliated Hospital of Army Medical University
Priority date (The priority date is an assumption and is not a legal conclusion. Google has not performed a legal analysis and makes no representation as to the accuracy of the date listed.)
Filing date
Publication date
Application filed by Second Affiliated Hospital of Army Medical University filed Critical Second Affiliated Hospital of Army Medical University
Priority to CN202122035314.3U priority Critical patent/CN215537072U/en
Application granted granted Critical
Publication of CN215537072U publication Critical patent/CN215537072U/en
Expired - Fee Related legal-status Critical Current
Anticipated expiration legal-status Critical

Links

Images

Landscapes

  • External Artificial Organs (AREA)

Abstract

本实用新型提供了一种吸痰管用辅助抽拉装置,包括手摇盒和吸痰管;手摇盒还包括转轴、齿轮和通过孔,齿轮位于手摇盒内,齿轮圆心位置处设有转轴,转轴的两端从手摇盒两侧穿出并与手摇盒转动连接,通过孔的轴线垂直于转轴,且齿轮的圆周一侧位于通过孔中;吸痰管穿过通过孔并与通过孔沿轴线方向滑动连接,吸痰管靠近齿轮的一侧沿吸痰管轴线方向还设有齿条,齿条与齿轮相互啮合传动连接。在具体使用时,只需转动转轴即可使齿轮带动齿条传动,从而带动吸痰管在通过孔中来回往返滑动,有利于简化医护人员吸痰时的操作,减小操作时的动作幅度,同时借由齿轮操控吸痰管的滑动能够更好的把控吸痰管的伸入距离。

Figure 202122035314

The utility model provides an auxiliary pulling device for a sputum suction tube, which comprises a hand-cranked box and a sputum suction tube; the hand-cranked box further comprises a rotating shaft, a gear and a through hole, the gear is located in the hand-cranked box, and a rotating shaft is arranged at the center of the gear circle , the two ends of the rotating shaft protrude from both sides of the hand-crank box and are connected in rotation with the hand-crank box, the axis of the passing hole is perpendicular to the rotating shaft, and one side of the circumference of the gear is located in the passing hole; the suction pipe passes through the passing hole and is connected with the passing hole. The holes are slidably connected along the axis direction, the side of the suction pipe close to the gear is also provided with a rack along the axis direction of the suction pipe, and the rack and the gear are mutually meshed and connected for transmission. In specific use, only need to rotate the shaft to make the gear drive the rack drive, so as to drive the suction tube to slide back and forth in the through hole, which is conducive to simplifying the operation of medical staff when suctioning sputum and reducing the range of motion during operation. At the same time, the sliding of the sputum suction tube is controlled by the gear to better control the insertion distance of the sputum suction tube.

Figure 202122035314

Description

Auxiliary drawing device for sputum suction tube
Technical Field
The utility model relates to the field of sputum suction tubes, in particular to an auxiliary drawing device for a sputum suction tube.
Background
The severe patients lie in bed for a long time, and most of the patients have trachea cannula, so that sputum cannot be coughed out automatically; the sputum is left in the oral cavity and the slits between the teeth, so that bacteria are easy to breed, peculiar smell is generated, even erosion is generated, and lower respiratory tract infection is caused, so that the sputum suction and the oral cavity nursing of serious patients are very important. The sputum suction tube is used as a therapeutic tool, and is used for sucking out sputum in the trachea under the condition that the sputum is accumulated in the respiratory tract of a patient. At present, the conventional sputum suction tube needs medical staff to manually pull and suck the sputum tube when sucking sputum, the action range is large during pulling, the operation is inconvenient, and the length of the sputum suction tube extending into each time is difficult to control in the operation process.
SUMMERY OF THE UTILITY MODEL
Aiming at the defects in the prior art, the utility model provides an auxiliary drawing device for a sputum suction tube, which aims to solve the problems that when sputum is sucked, medical staff manually draws the sputum suction tube, the action range is large, the operation is inconvenient, and the length of the sputum suction tube which is inserted each time is difficult to control in the operation process.
The purpose of the utility model is realized by the following technical scheme:
the utility model provides an auxiliary drawing device for a sputum suction tube, which comprises a hand-operated box and a sputum suction tube, wherein the hand-operated box is provided with a handle;
the hand-cranking box further comprises a rotating shaft, a gear and a through hole, the gear is located in the hand-cranking box, the rotating shaft is arranged at the circle center of the gear, two ends of the rotating shaft penetrate out of two sides of the hand-cranking box and are rotatably connected with the hand-cranking box, the through hole is a through hole, the axis of the through hole is perpendicular to the rotating shaft, and one side of the circumference of the gear is located in the through hole;
the sputum suction pipe penetrates through the through hole and is in sliding connection with the through hole along the axis direction, a rack is further arranged on one side, close to the gear, of the sputum suction pipe along the axis direction of the sputum suction pipe, and the rack is in meshed transmission connection with the gear.
According to the technical scheme, when the auxiliary drawing device for the sputum suction tube is used specifically, the gear can drive the rack to rotate only by rotating the rotating shaft, so that the sputum suction tube is driven to slide back and forth in the through hole, the operation of medical personnel in sputum suction is facilitated, the action amplitude in operation is reduced, and the gear is used for controlling the sliding of the sputum suction tube, so that the inserting distance of the sputum suction tube can be better controlled.
Furthermore, a rack groove is formed in one side, close to the gear, of the sputum suction pipe in the axial direction of the sputum suction pipe, and the rack is located in the rack groove. Is favorable for preventing the rack on one side of the sputum suction tube from scraping and touching the patient to cause discomfort of the patient.
Furthermore, the rack and the rack groove are positioned at one end of the sputum suction tube, and the other end of the sputum suction tube is a smooth section and is connected with the patient end. Is favorable for ensuring that the sputum suction tube entering the trachea of the patient is smooth enough and the discomfort of the patient is relieved.
Furthermore, one end of the sputum suction tube is provided with a first connecting head, and the first connecting head is connected with a negative pressure suction apparatus; a second connector is further arranged on one side of the hand-cranking box, which is far away from the first connector, and the second connector is connected with the patient end; the hand-operated box is connected with the first connecting head through a protecting sleeve, and the protecting sleeve is sleeved on the outer side of the sputum suction tube. Be favorable to preventing to inhale the phlegm pipe and receive bacterial contamination and lead to the patient to be healthy to receive the threat, when specifically using, the lag has good extension flexible performance, and when inhaling the phlegm pipe and slide, the first connector of inhaling the one end of phlegm pipe is followed and is inhaled the phlegm pipe and move, and the lag wraps up the outside of inhaling the phlegm pipe all the time and plays the guard action.
Furthermore, a winding reel is also arranged at one end of the rotating shaft, which penetrates out of the hand-cranking box; a coil spring box is further arranged on one side, close to the winding reel, of the hand-operated box, and a coil spring is arranged in the coil spring box; and one side of the circumference of the winding reel is fixedly connected with a connecting wire, and the other end of the connecting wire penetrates into the coil spring box and is connected with the coil spring. Be favorable to taking out fast at the internal phlegm pipe of inhaling of patient when inhaling the phlegm operation, save medical personnel's physical power and work load, when specifically using, the coil spring has resilience performance, a structure similar to the tape measure, when the pivot drives and inhales the phlegm pipe and stretch into to patient's end when rotating, the spool curls up the connecting wire and constantly tightens up the inside coil spring of coil spring box, accumulate the potential energy of coil spring, release the pivot behind the start negative pressure aspirator, the coil spring kick-backs and drives the spool gyration, the spool drives the pivot gyration, thereby make and inhale the internal roll-off of phlegm pipe follow patient.
Furthermore, a rotating handle is further arranged at the other end of the rotating shaft, which penetrates out of the hand-cranking box, one end of the rotating handle is hinged with the rotating shaft, and a retaining ring is further arranged at the other end of the rotating handle; the hand box is close to one side of twist grip still is equipped with the buckle, the buckle can be dismantled with the buckle and be linked. The sputum suction tube is beneficial to helping medical staff to overcome the resilience force of the coil spring, the operation of starting the negative pressure suction device is facilitated for the medical staff, the buckle is buckled at the buckle after the sputum suction tube extends into the designated position in a patient body, the rotation of the rotating shaft under stress is prevented, and the sputum suction tube can automatically slide out of the patient end after the negative pressure suction device is started and the buckle is disassembled.
Furthermore, a window is arranged on one side of the hand-cranking box and penetrates into one side of the through hole from outside to inside, and the window is made of transparent materials; the sputum suction pipe is characterized in that a scale mark is further arranged on one side, close to the window, of the sputum suction pipe, and a pointer is further arranged on one side, close to the scale mark, of the window. Is favorable for conveniently checking the distance of the sputum suction tube extending into the body of the patient at any time.
Drawings
In order to more clearly illustrate the embodiments of the present invention, the drawings, which are required to be used in the embodiments, will be briefly described below. In all the drawings, the elements or parts are not necessarily drawn to actual scale.
FIG. 1 is a front view of the auxiliary drawing device for a sputum suction catheter of the present invention;
FIG. 2 is a cross-sectional view taken at A-A of FIG. 1;
FIG. 3 is a sectional view of the front view of the auxiliary drawing device for a sputum suction catheter of the present invention;
FIG. 4 is an enlarged view of a portion of FIG. 3 at B;
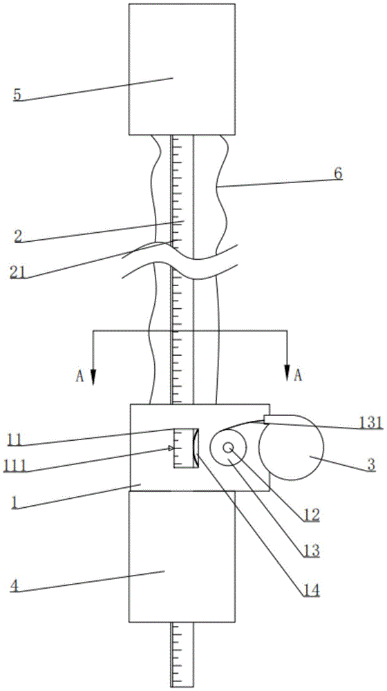
reference numerals:
the hand-cranking box 1, the window 11, the pointer 111, the rotating shaft 12, the winding reel 13, the connecting wire 131, the gear 14, the rotating handle 15, the retaining ring 151, the buckle 16 and the through hole 17;
the sputum suction tube 2, the scale marks 21, the rack 22 and the rack groove 23;
a coil spring case 3;
a second connector 4;
a first connector 5;
a protective jacket 6.
Detailed Description
Embodiments of the present invention will be described in detail below with reference to the accompanying drawings. The following examples are only for illustrating the technical solutions of the present invention more clearly, and therefore are only examples, and the protection scope of the present invention is not limited thereby.
As shown in fig. 1-4, the auxiliary drawing device for a sputum suction tube provided by the present embodiment includes a hand-operated box 1 and a sputum suction tube 2.
Referring to fig. 1-4, the hand-cranking box 1 further includes a rotating shaft 12, a gear 14 and a through hole 17, the gear 14 is located in the hand-cranking box 1, the rotating shaft 12 is disposed at a position of a circle center of the gear 14, two ends of the rotating shaft 12 penetrate through two sides of the hand-cranking box 1 and are rotatably connected with the hand-cranking box 1, the through hole 17 is a through hole, an axis of the through hole 17 is perpendicular to the rotating shaft 12, and one side of a circumference of the gear 14 is located in the through hole 17.
Referring to fig. 1-4, the sputum aspirator 2 passes through the through hole 17 and is connected with the through hole 17 in a sliding manner along the axial direction, a rack 22 is further arranged on one side of the sputum aspirator 2 close to the gear 14 along the axial direction of the sputum aspirator 2, and the rack 22 is in meshed transmission connection with the gear 14. When the sputum suction device is used specifically, the sputum suction device is generally suitable for patients with tracheal intubation, the gear 14 can drive the rack 22 to transmit only by rotating the rotating shaft 12, so that the sputum suction tube 2 is driven to slide back and forth in the through hole 17, the operation of medical personnel in sputum suction is facilitated to be simplified, the action range in operation is reduced, and the extending distance of the sputum suction tube 2 can be better controlled by controlling the sliding of the sputum suction tube 2 through the gear 14. In order to prevent the rack 22 on one side of the sputum aspirator 2 from scraping the patient and causing discomfort, it is preferable that the side of the sputum aspirator 2 close to the gear 14 is provided with a rack groove 23 along the axial direction of the sputum aspirator 2, and the rack 22 is positioned in the rack groove 23. In order to ensure that the sputum suction tube (2) entering the trachea of the patient is smooth enough and relieve the discomfort of the patient, in particular, the rack 22 and the rack groove 23 are positioned at one end of the sputum suction tube 2, the other end of the sputum suction tube 2 is a smooth section, and the end is connected with the patient end.
In order to prevent the sputum-aspirating tube from being contaminated by bacteria and threatening the health of a patient during the service life of the sputum-aspirating tube, please refer to fig. 1-3, in one embodiment, one end of the sputum-aspirating tube 2 is provided with a first connector 5, and the first connector 5 is connected with a negative pressure suction apparatus; a second connector 4 is further arranged on one side of the hand-cranking box 1, which is far away from the first connector 5, and the second connector 4 is connected with the patient end; hand box 1 is connected through lag 6 with first connector 5, and lag 6 cover is put and is being inhaled the phlegm pipe 2 outside. When specifically using, lag 6 has good extension flexible performance, and when inhaling phlegm pipe 2 and slide, inhale the first connector 5 of the one end of phlegm pipe 2 and follow and inhale phlegm pipe 2 and move, and lag 6 wraps up the outside of inhaling phlegm pipe 2 all the time and plays the guard action.
In order to save the physical strength and workload of medical staff, please refer to fig. 1-2, in one embodiment, a winding reel 13 is further disposed at one end of the rotating shaft 12 penetrating through the hand-cranking box 1; a coil spring box 3 is also arranged on one side of the hand-cranking box 1 close to the winding reel 13, and a coil spring is arranged in the coil spring box 3; a connecting wire 131 is fixedly connected to one side of the circumference of the winding reel 13, and the other end of the connecting wire 131 penetrates through the coil spring case 3 and is connected with the coil spring. When the utility model is used specifically, the coil spring has resilience performance, and is similar to the structure of a tape measure, when the rotating shaft 12 is rotated to drive the sputum aspirator 2 to extend to the patient end, the winding reel 13 winds up the connecting wire 131 and continuously tightens up the coil spring in the coil spring box 3, the potential energy of the coil spring is collected, the rotating shaft 12 is released after the negative pressure aspirator is started, the coil spring rebounds and drives the winding reel 13 to rotate, and the winding reel 13 drives the rotating shaft 12 to rotate, so that the sputum aspirator 2 slides out from the patient body. Because the potential energy of the coil spring is continuously increased when the sputum suction tube 2 continuously extends towards the patient end, medical personnel need to overcome the resilience force of the coil spring at any time, so that the operation of starting the negative pressure aspirator by the medical personnel is not facilitated, and further, the other end of the rotating shaft 12 penetrating out of the hand-cranking box 1 is also provided with a rotating handle 15, one end of the rotating handle 15 is hinged with the rotating shaft 12, and the other end of the rotating handle 15 is also provided with a retaining ring 151; the hand cranking box 1 is also provided with a buckle 16 at one side close to the rotating handle 15, and the buckle 151 is detachably connected with the buckle 16. After the sputum suction tube 2 is stretched into a designated position in a patient body, the retaining ring 151 is buckled at the buckle 16 to prevent the rotating shaft 12 from rotating under stress, and the sputum suction tube 2 can automatically slide out of the patient end by detaching the retaining ring 151 after the negative pressure aspirator is started. In order to conveniently check the distance of the sputum suction tube 2 extending into the patient at any time, a window 11 is further arranged on one side of the hand-cranking box 1, the window 11 penetrates into one side of the through hole 17 from outside to inside, and the window 11 is made of transparent materials; the sputum suction tube 2 is also provided with a scale mark 21 at one side close to the window 11, and a pointer 111 is also arranged at one side of the window 11 close to the scale mark 21.
The above examples are only intended to illustrate the technical solution of the present invention, but not to limit it; while the utility model has been described in detail and with reference to the foregoing embodiments, it will be understood by those skilled in the art that: the technical solutions described in the foregoing embodiments may still be modified, or some or all of the technical features may be equivalently replaced; such modifications and substitutions do not depart from the spirit and scope of the present invention, and they should be construed as being included in the following claims and description.

Claims (7)

1.一种吸痰管用辅助抽拉装置,其特征在于,包括手摇盒(1)和吸痰管(2);1. an auxiliary pumping device for a sputum suction tube, is characterized in that, comprises a hand crank box (1) and a sputum suction tube (2); 所述手摇盒(1)还包括转轴(12)、齿轮(14)和通过孔(17),所述齿轮(14)位于手摇盒(1)内,所述齿轮(14)圆心位置处设有转轴(12),所述转轴(12)的两端从手摇盒(1)两侧穿出并与手摇盒(1)转动连接,所述通过孔(17)为通孔,所述通过孔(17)的轴线垂直于转轴(12),且所述齿轮(14)的圆周一侧位于通过孔(17)中;The hand crank box (1) further comprises a rotating shaft (12), a gear (14) and a through hole (17), the gear (14) is located in the hand crank box (1), and the gear (14) is at the center of the circle A rotating shaft (12) is provided, two ends of the rotating shaft (12) protrude from both sides of the hand crank box (1) and are rotatably connected with the hand crank box (1), and the through hole (17) is a through hole, so The axis of the through hole (17) is perpendicular to the rotating shaft (12), and the circumferential side of the gear (14) is located in the through hole (17); 所述吸痰管(2)穿过通过孔(17)并与通过孔(17)沿轴线方向滑动连接,所述吸痰管(2)靠近齿轮(14)的一侧沿吸痰管(2)轴线方向还设有齿条(22),所述齿条(22)与齿轮(14)相互啮合传动连接。The suction pipe (2) passes through the through hole (17) and is slidably connected to the through hole (17) along the axis direction, and the side of the suction pipe (2) close to the gear (14) is along the suction pipe (2). ) axis direction is also provided with a rack (22), the rack (22) and the gear (14) are meshed and connected to each other for transmission. 2.根据权利要求1所述的一种吸痰管用辅助抽拉装置,其特征在于,所述吸痰管(2)靠近齿轮(14)的一侧沿吸痰管(2)轴线方向设有齿条槽(23),所述齿条(22)位于齿条槽(23)中。2. A kind of auxiliary pulling device for sputum suction tube according to claim 1, is characterized in that, the side of described sputum suction tube (2) close to gear (14) is provided with along the axial direction of sputum suction tube (2) A rack slot (23), the rack (22) is located in the rack slot (23). 3.根据权利要求2所述的一种吸痰管用辅助抽拉装置,其特征在于,所述齿条(22)和齿条槽(23)位于吸痰管(2)的一端,所述吸痰管(2)的另一端为光滑段且此端连接患者端。3. The auxiliary pulling device for a sputum suction tube according to claim 2, wherein the rack (22) and the rack groove (23) are located at one end of the sputum suction tube (2), and the suction The other end of the sputum tube (2) is a smooth section and this end is connected to the patient end. 4.根据权利要求1所述的一种吸痰管用辅助抽拉装置,其特征在于,所述吸痰管(2)的一端设有第一连接头(5),所述第一连接头(5)与负压吸引器连接;所述手摇盒(1)远离第一连接头(5)的一侧还设有第二连接头(4),所述第二连接头(4)与患者端连接;所述手摇盒(1)与第一连接头(5)通过防护套(6)连接,且所述防护套(6)套置在吸痰管(2)外侧。4. The auxiliary pumping device for a sputum suction tube according to claim 1, wherein one end of the sputum suction tube (2) is provided with a first connector (5), and the first connector ( 5) Connect with the negative pressure suction device; the side of the hand crank box (1) away from the first connector (5) is also provided with a second connector (4), and the second connector (4) is connected to the patient The hand crank box (1) is connected with the first connector (5) through a protective cover (6), and the protective cover (6) is sleeved on the outside of the suction tube (2). 5.根据权利要求1所述的一种吸痰管用辅助抽拉装置,其特征在于,所述转轴(12)穿出手摇盒(1)的一端还设有卷线筒(13);所述手摇盒(1)靠近卷线筒(13)的一侧还设有卷簧盒(3),所述卷簧盒(3)内设有卷簧;所述卷线筒(13)的圆周一侧还固定连接有连接线(131),所述连接线(131)的另一端穿入卷簧盒(3)并与卷簧连接。5. The auxiliary pulling device for a sputum suction tube according to claim 1, wherein the end of the rotating shaft (12) passing through the hand crank box (1) is also provided with a reel (13); The side of the hand crank box (1) close to the reel (13) is also provided with a coil spring box (3), and a coil spring is arranged in the coil spring box (3); A connecting wire (131) is also fixedly connected on one side of the circumference, and the other end of the connecting wire (131) is inserted into the coil spring box (3) and connected with the coil spring. 6.根据权利要求5所述的一种吸痰管用辅助抽拉装置,其特征在于,所述转轴(12)穿出手摇盒(1)的另一端还设有旋转手柄(15),所述旋转手柄(15)的一端与转轴(12)铰接,所述旋转手柄(15)的另一端还设有扣环(151);所述手摇盒(1)靠近旋转手柄(15)的一侧还设有卡扣(16),所述扣环(151)与卡扣(16)可拆卸链接。6. The auxiliary pulling device for a sputum suction tube according to claim 5, wherein the other end of the rotating shaft (12) passing through the hand crank box (1) is also provided with a rotating handle (15), so One end of the rotating handle (15) is hinged with the rotating shaft (12), and the other end of the rotating handle (15) is also provided with a retaining ring (151); A buckle (16) is also provided on the side, and the buckle (151) is detachably linked with the buckle (16). 7.根据权利要求1所述的一种吸痰管用辅助抽拉装置,其特征在于,所述手摇盒(1)的一侧还设有视窗(11),所述视窗(11)由外向内穿入至通过孔(17)一侧,所述视窗(11)采用透明材质;所述吸痰管(2)靠近视窗(11)的一侧还设有刻度线(21),所述视窗(11)靠近刻度线(21)的一侧还设有指针(111)。7 . The auxiliary pulling device for a sputum suction tube according to claim 1 , wherein a viewing window ( 11 ) is further provided on one side of the hand crank box ( 1 ), and the viewing window ( 11 ) is directed outward from the outside. 8 . The inside is penetrated to the side of the through hole (17), the viewing window (11) is made of transparent material; the side of the suction tube (2) close to the viewing window (11) is also provided with a scale line (21), the viewing window (11) A pointer (111) is also provided on the side close to the scale line (21).
CN202122035314.3U 2021-08-27 2021-08-27 Auxiliary drawing device for sputum suction tube Expired - Fee Related CN215537072U (en)

Priority Applications (1)

Application Number Priority Date Filing Date Title
CN202122035314.3U CN215537072U (en) 2021-08-27 2021-08-27 Auxiliary drawing device for sputum suction tube

Applications Claiming Priority (1)

Application Number Priority Date Filing Date Title
CN202122035314.3U CN215537072U (en) 2021-08-27 2021-08-27 Auxiliary drawing device for sputum suction tube

Publications (1)

Publication Number Publication Date
CN215537072U true CN215537072U (en) 2022-01-18

Family

ID=79842969

Family Applications (1)

Application Number Title Priority Date Filing Date
CN202122035314.3U Expired - Fee Related CN215537072U (en) 2021-08-27 2021-08-27 Auxiliary drawing device for sputum suction tube

Country Status (1)

Country Link
CN (1) CN215537072U (en)

Cited By (1)

* Cited by examiner, † Cited by third party
Publication number Priority date Publication date Assignee Title
CN119656414A (en) * 2025-02-24 2025-03-21 成都市青羊区中医医院 Internal medicine nursing sputum excretion device and application method thereof

Cited By (1)

* Cited by examiner, † Cited by third party
Publication number Priority date Publication date Assignee Title
CN119656414A (en) * 2025-02-24 2025-03-21 成都市青羊区中医医院 Internal medicine nursing sputum excretion device and application method thereof

Similar Documents

Publication Publication Date Title
CN113907977B (en) Trachea cannula device of difficult air flue
CN215537072U (en) Auxiliary drawing device for sputum suction tube
CN215690744U (en) Emergency internal medicine department double-purpose formula respiratory device
CN112006644A (en) A kind of intubation rigid endoscope with sputum suction function
CN215915870U (en) A respiratory care device
CN215083746U (en) Nursing tracheal intubation with fixed structure
CN201906246U (en) Sputum suction device
CN211862914U (en) A retrograde tracheal intubation needle
CN214859619U (en) Improved disposable sterile sputum aspirator
CN212308533U (en) Closed sputum aspirator
CN211634540U (en) Novel department of respiration is with inhaling phlegm supplementary device
CN221787521U (en) Visual sputum aspirator of paediatrics nursing
CN221866779U (en) Sputum aspirator special for low-age children
CN208989778U (en) A sputum suction device
CN221637045U (en) Storage device of sputum suction connecting pipe
CN222765538U (en) Bite block suitable for bronchofiberscope guide trachea cannula
CN221286454U (en) Breathe internal medicine sputum aspirator
CN219185117U (en) Sputum suction device for emergency care
CN221557031U (en) Sputum scab remover for respiratory clinic
CN211675586U (en) Breathe internal medicine sputum discharging device that cleans breath
CN217794034U (en) Double-cavity tracheal catheter with rotatable upper right-leaf bronchial opening
CN218529394U (en) Sputum suction device for respiratory and critical medical nursing
CN219185126U (en) Quick sputum aspirator for paediatrics
CN221831284U (en) A sputum suction nursing device
CN118743793B (en) A sputum suction device for deep sputum suction

Legal Events

Date Code Title Description
GR01 Patent grant
GR01 Patent grant
CF01 Termination of patent right due to non-payment of annual fee

Granted publication date: 20220118

CF01 Termination of patent right due to non-payment of annual fee