CN215514322U - Roller type bag feeding vacuum sealing machine - Google Patents
Roller type bag feeding vacuum sealing machine Download PDFInfo
- Publication number
- CN215514322U CN215514322U CN202120834298.1U CN202120834298U CN215514322U CN 215514322 U CN215514322 U CN 215514322U CN 202120834298 U CN202120834298 U CN 202120834298U CN 215514322 U CN215514322 U CN 215514322U
- Authority
- CN
- China
- Prior art keywords
- bag
- vacuum
- roller shaft
- pumping chamber
- bag feeding
- Prior art date
- Legal status (The legal status is an assumption and is not a legal conclusion. Google has not performed a legal analysis and makes no representation as to the accuracy of the status listed.)
- Active
Links
- 238000007789 sealing Methods 0.000 title claims abstract description 83
- 238000005086 pumping Methods 0.000 claims abstract description 69
- 230000005540 biological transmission Effects 0.000 claims description 65
- 238000010438 heat treatment Methods 0.000 claims description 7
- 239000007769 metal material Substances 0.000 claims description 3
- 238000005096 rolling process Methods 0.000 claims description 3
- 238000007599 discharging Methods 0.000 claims 1
- 210000004907 gland Anatomy 0.000 abstract description 16
- 230000010354 integration Effects 0.000 abstract description 5
- 238000009461 vacuum packaging Methods 0.000 description 18
- 230000000694 effects Effects 0.000 description 3
- 230000007547 defect Effects 0.000 description 1
- 238000012423 maintenance Methods 0.000 description 1
- 238000004519 manufacturing process Methods 0.000 description 1
- 239000000463 material Substances 0.000 description 1
- 239000002184 metal Substances 0.000 description 1
Images
Landscapes
- Vacuum Packaging (AREA)
Abstract
The utility model discloses a roller type bag feeding vacuum sealing machine.A bag inlet opening is formed in the front side surface of a vacuum pumping chamber, a bag inserting opening is formed in the front side surface of a shell, an automatic bag feeding mechanism is arranged between the bag inlet opening and the bag inserting opening and is movably connected with the vacuum pumping chamber, and when the automatic bag feeding mechanism abuts against the bag inlet opening, the automatic bag feeding mechanism and the vacuum pumping chamber form a sealed vacuum pumping chamber. The vacuum sealing machine does not need to be divided into an upper gland and a lower seat body, and the roller type bag feeding is realized, so that the repeated opening and closing operation of the upper gland is avoided, and the efficiency and the operation convenience are improved. The vacuum pumping chamber is sealed by horizontally moving the vacuum pumping chamber, the locking upper cover does not need to be pressed by hand to realize sealing, and the use is more labor-saving. The heat sealing device is arranged inside the roll shaft, so that the structure is simple and the cost is low; the vacuum sealing machine has high integration degree, and the sealing surface of the vacuumizing chamber is arranged in the vacuum sealing machine, so that the damage risk of the sealing rubber strip is reduced, and the failure rate is reduced.
Description
Technical Field
The utility model relates to the technical field of vacuum sealing machines, in particular to a roller type bag feeding vacuum sealing machine.
Background
The vacuum sealing machine is used for vacuumizing and heat-sealing the bag opening of the vacuum packaging bag, and the vacuum packaging bag with the vacuumized and heat-sealed bag opening can better store food.
The household vacuum sealing machine comprises an upper gland and a lower base body, wherein the inner side of the upper gland is hinged to the lower base body, a lower vacuumizing groove and a heat sealing device are arranged on the lower base body, a vacuum packaging bag is vacuumized through the lower vacuumizing groove, the bag opening of the vacuum packaging bag is thermally melted through the heat sealing device, and a heat sealing strip is formed at the bag opening, so that the vacuum packaging bag is kept in a sealing state.
When the vacuum packaging bag is used, the upper gland is rotated to open, the bag opening of the vacuum packaging bag is inserted into the vacuum-pumping groove, the upper gland is closed to seal the vacuum packaging bag, and then the vacuum-pumping operation is performed. In order to ensure the sealing performance when the upper cover is closed, a larger pressure is required to be applied to deform the sealing strip so as to ensure the sealing performance, and the sealing strip is difficult to operate and easy to fatigue when frequently operated for users with weak strength; when the upper gland is closed, the vacuum packaging bag is easy to displace, so that the bag opening is moved out of the vacuum groove, the vacuum effect is poor or the success rate of vacuum pumping is low; because the sealing surface is exposed outside, the sealing rubber strip is easy to damage, and the failure rate of the vacuum sealing machine is increased, so that the improvement is needed.
SUMMERY OF THE UTILITY MODEL
Aiming at the defects in the prior art, the utility model aims to provide a roller type bag feeding vacuum sealing machine which is high in integration degree, simple in structure and convenient and fast to use, and can feed bags automatically without opening and closing an upper gland.
In order to achieve the purpose, the utility model adopts the technical scheme that: the utility model provides a roll shaft type advances vacuum capper of bag, includes the casing, sets up in the evacuating device of casing inside and the evacuation room of being connected with evacuating device, and the front side of evacuation room is provided with sealing device, its characterized in that: the automatic bag feeding mechanism is movably connected with the vacuum pumping chamber, and when the automatic bag feeding mechanism abuts against the bag inlet, the automatic bag feeding mechanism and the vacuum pumping chamber form a sealed vacuum pumping chamber.
In a further technical scheme, the automatic bag feeding mechanism comprises at least one bag feeding roller shaft group, fixing supports arranged at two ends of the bag feeding roller shaft group, a bag feeding transmission mechanism in transmission connection with the bag feeding roller shaft group and a driving mechanism used for driving the bag feeding roller shaft group to rotate, the bag feeding roller shaft group comprises an upper roller shaft and a lower roller shaft which are arranged up and down, the upper roller shaft is in rolling press fit with the lower roller shaft, the bag feeding transmission mechanism is respectively in transmission connection with the upper roller shaft and the lower roller shaft, and the driving mechanism is in transmission connection with the transmission mechanism.
In a further technical scheme, the upper roll shaft and the lower roll shaft are made of rubber, and anti-skid grains are respectively arranged on the outer surfaces of the upper roll shaft and the lower roll shaft.
In a further technical scheme, the upper roll shaft and the lower roll shaft are made of metal materials, the outer sides of the upper roll shaft and the lower roll shaft are respectively wrapped with a circle of rubber anti-skidding sleeve, and anti-skidding lines are arranged on the outer surface of the rubber anti-skidding sleeve.
In a further technical scheme, the cross section of the front side surface of the vacuum pumping chamber is matched with the bag inlet roller shaft group, the bag inlet roller shaft group is matched with the vacuum pumping chamber in a propping mode, and the front side surface of the vacuum pumping chamber is sleeved with a layer of sealing rubber to seal the vacuum pumping chamber.
In a further technical scheme, advance a bag drive mechanism and include last roller gear, lower roller gear, driving rack and drive gear, it installs in the tip of last roller to go up the roller gear, lower roller gear installs in the tip of roller down, go up roller gear and the cooperation of lower roller gear toothing, driving rack fixed mounting is in the tip of evacuation room, driving rack and last roller gear or lower roller gear toothing, driving rack and drive gear toothing, drive gear is connected with the drive mechanism transmission, in order to realize that drive mechanism drives evacuation room simultaneously and reciprocates along advancing a bag direction, go up roller and lower roller looks counter rotation.
In a further technical scheme, the vacuumizing device comprises a control device, a control circuit and a vacuumizing pump, the control circuit is electrically connected with the vacuumizing pump and the control device respectively, the vacuumizing pump is connected with the vacuumizing chamber to realize vacuumizing of the vacuumizing chamber, and the driving mechanism and the heat sealing device are electrically connected with the control circuit respectively.
In a further technical scheme, the control device comprises a first control switch, a second control switch and a pressure relief mechanism, a control circuit is electrically connected with the first control switch and the second control switch respectively, the first control switch is installed on the rear side of the transmission rack, the first control switch is in triggering fit with the transmission rack, a touch part extends upwards or downwards from the middle part of the transmission rack, the second control switch is installed below the touch part, and the second control switch is in triggering fit with the touch part;
the pressure relief mechanism comprises an electromagnetic valve and a pressure sensor for pressure relief, the vacuumizing chamber is connected with the electromagnetic valve and the pressure sensor, and the control device is electrically connected with the electromagnetic valve and the pressure sensor respectively to realize automatic pressure relief of the vacuumizing chamber after vacuumizing is finished.
In a further technical scheme, the vacuum sealing machine is provided with a bag inlet state, a vacuum sealing state and a bag outlet state,
in the bag feeding state, the transmission rack moves towards the front side of the vacuum sealing machine, the vacuum pumping chamber moves towards the bag feeding roller shaft group, the upper roller shaft and the lower roller shaft rotate in opposite directions, and the touch part moves towards the second control switch;
in a vacuum sealing state, the vacuum pumping chamber is in abutting fit with the bag inlet roller shaft group to form a sealed vacuum pumping chamber, and the second control switch is in triggering fit with the touch part;
and in the bag outlet state, the transmission rack moves towards the first control switch, the vacuum pumping chamber is separated from the bag inlet roller shaft group, the upper roller shaft and the lower roller shaft rotate outwards oppositely, and the touch part is matched with the first control switch in a triggering mode.
In a further technical scheme, the heat sealing device comprises at least one heating strip, the heating strip is arranged inside the upper roller shaft and/or the lower roller shaft, and the heating strip is electrically connected with the control circuit;
the driving mechanism adopts a servo motor, and the servo motor is in transmission connection with the driving gear.
After adopting the structure, compared with the prior art, the utility model has the advantages that: the vacuum sealing machine is a whole, an upper gland and a lower seat body are not separated, the bag is fed in a roller type mode, the operation of repeatedly opening and closing the upper gland is omitted, and the efficiency and the convenience in operation are improved. The vacuum pumping chamber is sealed by horizontally moving the vacuum pumping chamber, the upper cover does not need to be pressed and locked manually to realize sealing, the operation threshold of a user is reduced, and the use is more labor-saving. The heat sealing device is arranged inside the roll shaft, so that the structure is simple and the cost is low; the vacuum sealing machine has high integration degree, and the sealing surface of the vacuumizing chamber is arranged in the vacuum sealing machine, so that the damage risk of the sealing rubber strip is reduced, and the failure rate is reduced.
Drawings
The utility model is further illustrated with reference to the following figures and examples.
FIG. 1 is an external structural view of the present invention;
FIG. 2 is a cross-sectional view of the present invention;
FIG. 3 is a schematic view of the internal structure of the present invention;
FIG. 4 is a schematic view showing the internal structure of the vacuum sealed state of the present invention;
FIG. 5 is a schematic view showing the internal structure of the bag-entering state of the present invention;
fig. 6 is a schematic view of the internal structure of the bag outlet state of the present invention.
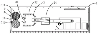
In the figure:
1, a shell and 11 pocket openings;
a vacuum pump 21, a first control switch 22, a second control switch 23, an electromagnetic valve 24 and a pressure sensor 25;
3, vacuumizing chamber, 31 bag inlet and 32 vacuumizing chamber;
4, a heat sealing device;
51 bag feeding roller group, 511 upper roller shaft, 512 lower roller shaft, 52 fixed bracket, 53 bag feeding transmission mechanism, 531 upper roller shaft gear, 532 lower roller shaft gear, 533 transmission rack, 534 drive gear, 535 touch part and 54 drive mechanism.
Detailed Description
The following are merely preferred embodiments of the present invention, and do not limit the scope of the present invention.
A roller type bag feeding vacuum sealing machine is shown in figures 1 to 6 and comprises a shell 1, a vacuumizing device arranged inside the shell 1 and a vacuumizing chamber 3 connected with the vacuumizing device, wherein a heat sealing device 4 is arranged on the front side of the vacuumizing chamber 3, and the roller type bag feeding vacuum sealing machine is characterized in that: the front side surface of the vacuum pumping chamber 3 is provided with a bag inlet 31, the front side surface of the shell 1 is provided with a bag inserting opening 11, an automatic bag feeding mechanism is arranged between the bag inlet 31 and the bag inserting opening 11 and is movably connected with the vacuum pumping chamber 3, and when the automatic bag feeding mechanism abuts against the bag inlet 31, the automatic bag feeding mechanism and the vacuum pumping chamber 3 form a sealed vacuum pumping chamber 32.
The traditional vacuum sealing machine is of an upper cover and lower cover structure, an upper gland is opened by rotating, a bag opening of a vacuum packaging bag is placed in a vacuumizing groove, then the gland is closed by force, the vacuumizing groove is sealed, and vacuumizing sealing is carried out, the structure needs to use larger force to carry out pressing sealing when the gland is closed, so that the upper gland is locked on a lower seat body, when vacuumizing sealing is carried out for multiple times, a user is easy to fatigue, the vacuumizing sealing efficiency is low, the vacuum sealing machine adopting the automatic locking upper gland structure has a complex structure and high production cost, a sealing rubber strip is exposed outside, the service life is short, the integration degree is not high, and the operation is inconvenient, but the vacuum packaging bag is automatically sent into a vacuumizing chamber 3 by an automatic bag feeding mechanism, the vacuumizing chamber 3 is abutted and matched with the automatic bag feeding mechanism to form a sealed vacuumizing chamber 32, so as to vacuumize the vacuum packaging bag, need not rotatory manual bagging-off of gland, it is practical convenient, integration degree is high.
Specifically, the automatic bag feeding mechanism comprises at least one bag feeding roller shaft group 51, a fixing support 52 arranged at two ends of the bag feeding roller shaft group 51, a bag feeding transmission mechanism 53 in transmission connection with the bag feeding roller shaft group 51 and a driving mechanism 54 for driving the bag feeding roller shaft group 51 to rotate, wherein the bag feeding roller shaft group 51 comprises an upper roller shaft 511 and a lower roller shaft 512 which are arranged up and down, the upper roller shaft 511 is in rolling fit with the lower roller shaft 512, the bag feeding transmission mechanism 53 is respectively in transmission connection with the upper roller shaft 511 and the lower roller shaft 512, and the driving mechanism 54 is in transmission connection with the transmission mechanism. The vacuum packaging bag is sent into the vacuum chamber 3 from the space between the upper roller 511 and the lower roller 512 through the upper roller 511 and the lower roller 512 which rotate relatively, the structure is simple, and the reliability is high.
Specifically, the upper roller 511 and the lower roller 512 are made of rubber, and the outer surfaces of the upper roller 511 and the lower roller 512 are respectively provided with anti-skid lines. The upper roll shaft 511 and the lower roll shaft 512 are made of rubber materials, rubber anti-skid sleeves do not need to be sleeved additionally, the cost is low, preferably, anti-skid grains are arranged on the surfaces of the upper roll shaft 511 and the lower roll shaft 512, and the anti-skid effect is better.
Specifically, the upper roller 511 and the lower roller 512 are made of metal, the outer sides of the upper roller 511 and the lower roller 512 are respectively wrapped with a circle of rubber anti-slip sleeve, and anti-slip lines are arranged on the outer surface of the rubber anti-slip sleeve. The upper roll shaft 511 and the lower roll shaft 512 are made of metal materials, the service life is longer, the rubber anti-slip sleeve is wrapped on the outer side of the upper roll shaft and the lower roll shaft, when the rubber anti-slip sleeve is damaged or aged, only the rubber anti-slip sleeve needs to be replaced, and the maintenance cost is low.
Specifically, the cross-sectional shape of the front side of the vacuum pumping chamber 3 is matched with the bag inlet roller set 51, the bag inlet roller set 51 is in abutting fit with the vacuum pumping chamber 3, and the front side of the vacuum pumping chamber 3 is sleeved with a layer of sealing rubber to seal the vacuum pumping chamber 32. The front side surface of the vacuum-pumping chamber 3 is matched with the outer surface of the bag-feeding roller shaft group 51, and a layer of sealing rubber is sleeved on the connecting surface of the vacuum-pumping chamber 3 and the bag-feeding roller shaft group 51, so that the sealing effect is better.
Specifically, the bag feeding transmission mechanism 53 includes an upper roller gear 531, a lower roller gear 532, a transmission rack 533 and a driving gear 534, the upper roller gear 531 is mounted at the end of the upper roller 511, the lower roller gear 532 is mounted at the end of the lower roller 512, the upper roller gear 531 is in toothed engagement with the lower roller gear 532, the transmission rack 533 is fixedly mounted at the end of the vacuum pumping chamber 3, the transmission rack 533 is in toothed engagement with the upper roller gear 531 or the lower roller gear 532, the transmission rack 533 is in toothed engagement with the driving gear 534, and the driving gear 534 is in transmission connection with the driving mechanism 54, so that the driving mechanism 54 simultaneously drives the vacuum pumping chamber 32 to reciprocate along the bag feeding direction and the upper roller 511 and the lower roller 512 rotate relatively.
The upper roller shaft gear 531 and the lower roller shaft gear 532 are respectively connected with the upper roller shaft 511 and the lower roller shaft 512 in a transmission way, the driving mechanism 54 drives the transmission rack 533 to reciprocate along the straight direction of the vacuum sealing machine, so that the upper roller shaft gear 531 and the lower roller shaft gear 532 are driven to relatively rotate, and the vacuum packaging bag is sent into the vacuum pumping chamber 3 from the space between the upper roller shaft 511 and the lower roller shaft 512; preferably, the transmission rack 533 is connected to the evacuation chamber 3, when the transmission rack 533 moves towards the bag feeding roller set 51, the evacuation chamber 3 is driven to move towards the bag feeding roller set 51 together, and simultaneously the transmission rack 533 drives the upper roller gear 531 and the lower roller gear 532 to rotate relatively inwards, at this time, the upper roller 511 and the lower roller 512 feed the bag to the evacuation chamber 3, the evacuation chamber 3 and the bag feeding roller set 51 are in abutting fit, so as to form the sealed evacuation chamber 32, and the evacuation chamber 3 and the bag feeding roller set 51 share one driving mechanism 54, so that the structure is simple and the cost is low.
Specifically, the vacuum pumping device comprises a control device, a control circuit and a vacuum pumping pump 21, the control circuit is electrically connected with the vacuum pumping pump 21 and the control device respectively, the vacuum pumping pump 21 is connected with the vacuum pumping chamber 3 to realize the vacuum pumping of the vacuum pumping chamber 32, and the driving mechanism 54 and the heat sealing device 4 are electrically connected with the control circuit respectively.
Specifically, the control device includes a first control switch 22, a second control switch 23 and a pressure relief mechanism, the control circuit is electrically connected to the first control switch 22 and the second control switch 23, the first control switch 22 is installed at the rear side of the transmission rack 533, the first control switch 22 is in triggering fit with the transmission rack 533, a touch portion 535 extends upwards or downwards from the middle of the transmission rack 533, the second control switch 23 is installed below the touch portion 535, and the second control switch 23 is in triggering fit with the touch portion 535; the pressure relief mechanism comprises an electromagnetic valve 24 and a pressure sensor 25, the vacuum pumping chamber 3 is connected with the electromagnetic valve 24 and the pressure sensor 25, and the control device is electrically connected with the electromagnetic valve 24 and the pressure sensor 25 respectively, so that the vacuum pumping chamber 3 is relieved automatically after vacuum pumping is completed. The driving rack 533 moves back and forth to trigger the first control switch 22 and the second control switch 23; the transmission rack 533 moves towards the bag inlet roller shaft group 51, and when the evacuation room 3 is abutted and matched with the bag inlet roller shaft group 51, the transmission rack 533 triggers the second control switch 23 to stop the driving mechanism 54 and start evacuation; after the pressure sensor 25 detects that the vacuumizing is finished, the vacuumizing pump 21 is stopped, and the electromagnetic valve 24 is opened to release the pressure; the transmission rack 533 moves towards the first control switch 22 and triggers the first control switch 22 to stop the driving mechanism 54, so that the vacuum pumping chamber 3 is separated from the bag inlet roller shaft group 51, the vacuum pumping operation is completed through continuous triggering, manual step-by-step operation is not needed, and the use is more convenient.
In particular, the vacuum sealing machine is provided with a bag inlet state, a vacuum sealing state and a bag outlet state,
in the bag feeding state, as shown in fig. 5, the transmission rack 533 moves to the front side of the vacuum sealing machine, the evacuation room 3 moves to the bag feeding roller set 51, the upper roller 511 and the lower roller 512 rotate inward relatively, and the touch portion 535 moves to the second control switch 23;
in a vacuum sealing state, as shown in fig. 4, the vacuum pumping chamber 3 is in abutting fit with the bag feeding roller set 51 to form a sealed vacuum pumping chamber 32, and the second control switch 23 is in triggering fit with the touch portion 535;
in the bag-out state, as shown in fig. 6, the transmission rack 533 moves toward the first control switch 22, the evacuation chamber 3 is separated from the bag-in roller set 51, the upper roller 511 and the lower roller 512 rotate outward relatively, and the touch portion 535 is in triggering engagement with the first control switch 22.
The working principle of the utility model is as follows:
before vacuum pumping, the vacuum sealing machine enters a bag inlet state, the driving mechanism 54 drives the transmission rack 533 to move towards the bag inlet roller shaft group 51, the transmission rack 533 simultaneously drives the upper roller shaft 511 and the lower roller shaft 512 to rotate relatively inwards and drives the vacuum pumping chamber 3 to move towards the bag inlet roller shaft group 51, and a vacuum packaging bag enters between the upper roller shaft 511 and the lower roller shaft 512 from the bag inserting port 11 and moves towards the vacuum pumping chamber 3;
when vacuumizing, the vacuum sealing machine enters a vacuum sealing state, the transmission rack 533 moves to the second control switch 23, the second control switch 23 sends a stop instruction to the control circuit to stop the driving mechanism 54, at the moment, the vacuumizing chamber 3 is in abutting fit with the bag feeding roller shaft group 51 to form a sealed vacuumizing chamber 32, the bag opening of a vacuum packaging bag is positioned in the vacuumizing chamber 323, the control circuit starts the vacuumizing pump 21 to vacuumize the vacuumizing chamber 32, when the pressure sensor 25 detects that the pressure of the vacuumizing chamber 32 reaches a preset value, the pressure sensor 25 sends a sealing instruction to the control circuit, and the control circuit starts the heat sealing device 4 to seal, so that vacuumizing and sealing work are completed;
after vacuumizing, the heat sealing device 4 sends a bag outlet instruction to the control circuit after heat sealing is completed, the vacuum sealing machine enters a bag outlet state, the control circuit controls the vacuumizing pump 21 to stop and opens the electromagnetic valve 24 to relieve the pressure of the vacuumizing cavity 32, the driving mechanism 54 is started to drive the transmission rack 533 to move towards the first control switch 22 after pressure relief is completed, the transmission rack 533 simultaneously drives the upper roller shaft 511 and the lower roller shaft 512 to rotate towards the outer side relatively and drive the vacuumizing chamber 3 to move towards the opposite direction until the transmission rack 533 triggers the first control switch 22, the first control switch 22 sends a stop instruction to the control circuit to stop the driving mechanism 54, at the moment, the vacuum packaging bag is moved out of the vacuum sealing machine, and the vacuumizing chamber 3 is separated from the bag inlet roller shaft group 51.
Specifically, the heat sealing device 4 includes at least one heat generating bar, the heat generating bar is installed inside the upper roller 511 and/or the lower roller 512, and the heat generating bar is electrically connected to the control circuit; the driving mechanism 54 is a servo motor, and the servo motor is in transmission connection with the driving gear 534. The heating strip heats the upper roller 511 and/or the lower roller 512, and the vacuum packaging bag is sealed through the upper roller 511 and/or the lower roller 512, so that the structure is simple, and the cost is low.
The above description is only a preferred embodiment of the present invention, and for those skilled in the art, the present invention should not be limited by the description of the present invention, which should be interpreted as a limitation.
Claims (10)
1. The utility model provides a roll shaft type advances vacuum capper of bag, includes casing (1), sets up in inside evacuating device of casing (1) and evacuation room (3) of being connected with evacuating device, and the front side of evacuation room (3) is provided with sealing device (4), its characterized in that: the front side surface of the vacuum pumping chamber (3) is provided with a bag inlet (31), the front side surface of the shell (1) is provided with a bag inserting opening (11), an automatic bag feeding mechanism is arranged between the bag inlet (31) and the bag inserting opening (11), the automatic bag feeding mechanism is movably connected with the vacuum pumping chamber (3), and when the automatic bag feeding mechanism abuts against the bag inlet (31), the automatic bag feeding mechanism and the vacuum pumping chamber (3) form a sealed vacuum pumping chamber (32).
2. The roll-to-roll bag feeding vacuum capper of claim 1 further comprising: the automatic bag feeding mechanism comprises at least one bag feeding roller shaft group (51), fixing supports (52) arranged at two ends of the bag feeding roller shaft group (51), a bag feeding transmission mechanism (53) in transmission connection with the bag feeding roller shaft group (51) and a driving mechanism (54) used for driving the bag feeding roller shaft group (51) to rotate, the bag feeding roller shaft group (51) comprises an upper roller shaft (511) and a lower roller shaft (512) which are arranged up and down, the upper roller shaft (511) is in rolling fit with the lower roller shaft (512), the bag feeding transmission mechanism (53) is in transmission connection with the upper roller shaft (511) and the lower roller shaft (512) respectively, and the driving mechanism (54) is in transmission connection with the transmission mechanism.
3. The roll-to-roll bag feeding vacuum capper of claim 2 further comprising: the upper roll shaft (511) and the lower roll shaft (512) are made of rubber, and anti-skid grains are arranged on the outer surfaces of the upper roll shaft (511) and the lower roll shaft (512) respectively.
4. The roll-to-roll bag feeding vacuum capper of claim 2 further comprising: the upper roll shaft (511) and the lower roll shaft (512) are made of metal materials, the outer sides of the upper roll shaft (511) and the lower roll shaft (512) are respectively wrapped with a circle of rubber anti-slip sleeve, and anti-slip lines are arranged on the outer surface of the rubber anti-slip sleeve.
5. The roll-to-roll bag feeding vacuum capper of claim 2 further comprising: the cross section of the front side surface of the vacuum pumping chamber (3) is matched with the bag inlet roller shaft group (51), the bag inlet roller shaft group (51) is matched with the vacuum pumping chamber (3) in a propping mode, and a layer of sealing rubber is sleeved on the front side surface of the vacuum pumping chamber (3) to seal the vacuum pumping chamber (32).
6. The roller bag-feeding vacuum sealing machine according to claim 5, wherein: the bag feeding transmission mechanism (53) comprises an upper roller gear (531), a lower roller gear (532), a transmission rack (533) and a drive gear (534), the upper roller gear (531) is installed at the end part of the upper roller (511), the lower roller gear (532) is installed at the end part of the lower roller (512), the upper roller gear (531) is in toothed connection with the lower roller gear (532) for matching, the transmission rack (533) is fixedly installed at the end part of the vacuum pumping chamber (3), the transmission rack (533) is in toothed connection with the upper roller gear (531) or the lower roller gear (532), the transmission rack (533) is in toothed connection with the drive gear (534), and the drive gear (534) is in transmission connection with the drive mechanism (54), so that the driving mechanism (54) drives the vacuum pumping chamber (32) to move back and forth along the bag feeding direction and the upper roller shaft (511) and the lower roller shaft (512) rotate relatively.
7. The roller bag-feeding vacuum sealing machine according to claim 6, wherein: the vacuumizing device comprises a control device, a control circuit and a vacuumizing pump (21), the control circuit is electrically connected with the vacuumizing pump (21) and the control device respectively, the vacuumizing pump (21) is connected with the vacuumizing chamber (3) to vacuumize the vacuumizing chamber (32), and the driving mechanism (54) and the heat sealing device (4) are electrically connected with the control circuit respectively.
8. The roll-to-roll bag feeding vacuum capper of claim 7 further comprising: the control device comprises a first control switch (22), a second control switch (23) and a pressure relief mechanism, the control circuit is electrically connected with the first control switch (22) and the second control switch (23) respectively, the first control switch (22) is installed on the rear side of the transmission rack (533), the first control switch (22) is in trigger fit with the transmission rack (533), a touch part (535) extends upwards or downwards from the middle of the transmission rack (533), the second control switch (23) is installed below the touch part (535), and the second control switch (23) is in trigger fit with the touch part (535);
the pressure relief mechanism comprises an electromagnetic valve (24) and a pressure sensor (25) which are used for pressure relief, the vacuum pumping chamber (3) is connected with the electromagnetic valve (24) and the pressure sensor (25), and the control device is electrically connected with the electromagnetic valve (24) and the pressure sensor (25) respectively so as to realize automatic pressure relief of the vacuum pumping chamber (3) after vacuum pumping is finished.
9. The roll-to-roll bag feeding vacuum capper of claim 8 further comprising: the vacuum sealing machine is provided with a bag inlet state, a vacuum sealing state and a bag outlet state,
in a bag feeding state, the transmission rack (533) moves towards the front side of the vacuum sealing machine, the vacuum pumping chamber (3) moves towards the bag feeding roller shaft group (51), the upper roller shaft (511) and the lower roller shaft (512) relatively rotate inwards, and the touch part (535) moves towards the second control switch (23);
in a vacuum sealing state, the vacuum pumping chamber (3) is matched with the bag inlet roller shaft group (51) in an abutting mode to form the sealed vacuum pumping chamber (32), and the second control switch (23) is matched with the touch control part (535) in a triggering mode;
in the bag discharging state, the transmission rack (533) moves towards the first control switch (22), the vacuum pumping chamber (3) is separated from the bag inlet roller shaft group (51), the upper roller shaft (511) and the lower roller shaft (512) rotate outwards relatively, and the touch part (535) is in trigger fit with the first control switch (22).
10. The roll-to-roll bag feeding vacuum capper of claim 7 further comprising: the heat sealing device (4) comprises at least one heating strip, the heating strip is arranged inside the upper roller shaft (511) and/or the lower roller shaft (512), and the heating strip is electrically connected with the control circuit;
the driving mechanism (54) adopts a servo motor, and the servo motor is in transmission connection with the driving gear (534).
Priority Applications (1)
| Application Number | Priority Date | Filing Date | Title |
|---|---|---|---|
| CN202120834298.1U CN215514322U (en) | 2021-04-22 | 2021-04-22 | Roller type bag feeding vacuum sealing machine |
Applications Claiming Priority (1)
| Application Number | Priority Date | Filing Date | Title |
|---|---|---|---|
| CN202120834298.1U CN215514322U (en) | 2021-04-22 | 2021-04-22 | Roller type bag feeding vacuum sealing machine |
Publications (1)
| Publication Number | Publication Date |
|---|---|
| CN215514322U true CN215514322U (en) | 2022-01-14 |
Family
ID=79802504
Family Applications (1)
| Application Number | Title | Priority Date | Filing Date |
|---|---|---|---|
| CN202120834298.1U Active CN215514322U (en) | 2021-04-22 | 2021-04-22 | Roller type bag feeding vacuum sealing machine |
Country Status (1)
| Country | Link |
|---|---|
| CN (1) | CN215514322U (en) |
Cited By (1)
| Publication number | Priority date | Publication date | Assignee | Title |
|---|---|---|---|---|
| CN115092450A (en) * | 2022-08-11 | 2022-09-23 | 桂林航天工业学院 | A vacuum sealing machine |
-
2021
- 2021-04-22 CN CN202120834298.1U patent/CN215514322U/en active Active
Cited By (1)
| Publication number | Priority date | Publication date | Assignee | Title |
|---|---|---|---|---|
| CN115092450A (en) * | 2022-08-11 | 2022-09-23 | 桂林航天工业学院 | A vacuum sealing machine |
Similar Documents
| Publication | Publication Date | Title |
|---|---|---|
| CN215514322U (en) | Roller type bag feeding vacuum sealing machine | |
| CN209939076U (en) | Full-automatic vacuum sealing machine | |
| CN214058027U (en) | A vacuum sealing machine with improved trigger switch and automatic cover locking | |
| CN113401411A (en) | Improved vacuum-pumping sealing machine with automatic cover locking function | |
| CN113071736A (en) | Automatic vacuum packaging machine for coarse cereals | |
| CN209410430U (en) | A kind of vacuum sealer with cover forced locking device | |
| CN110155430B (en) | Material bagging machine | |
| CN114620268B (en) | Vacuum sealing machine and vacuum sealing method | |
| CN218464031U (en) | Bag arranging mechanism and heat sealing machine comprising same | |
| CN209939126U (en) | An automatic vacuum sealing machine with screw lifting device | |
| CN209410431U (en) | A vacuum sealing machine with cover rotation locking device | |
| CN212196066U (en) | Vacuum packaging machine | |
| CN213620431U (en) | Tea vacuum packaging machine | |
| CN214002166U (en) | An improved vacuum sealing machine with automatic lid locking | |
| CN110182419A (en) | A kind of packed food closing device based on high-frequency heat sealing | |
| CN114701705A (en) | Full-intelligent vacuum sealing machine | |
| CN115117456B (en) | A battery centrifugal double-sealing device | |
| CN210311120U (en) | Material bagging machine | |
| CN215945010U (en) | Full-automatic white tea vacuum packaging device | |
| CN222555237U (en) | A fresh-keeping machine | |
| CN221189394U (en) | Automatic vacuum packaging machine of pay-off | |
| CN218299849U (en) | Battery air-extracting packaging machine | |
| CN220997078U (en) | Sealing device for vacuum bag | |
| CN112478317A (en) | Vacuum suction hot-pressing bag opening sealing mechanism in food packaging line | |
| CN217171070U (en) | Vacuum bagged product sealing device |
Legal Events
| Date | Code | Title | Description |
|---|---|---|---|
| GR01 | Patent grant | ||
| GR01 | Patent grant |