CN215509044U - 一种具有防震功能的五金加工用钻床 - Google Patents

一种具有防震功能的五金加工用钻床 Download PDF

Info

Publication number
CN215509044U
CN215509044U CN202121640739.0U CN202121640739U CN215509044U CN 215509044 U CN215509044 U CN 215509044U CN 202121640739 U CN202121640739 U CN 202121640739U CN 215509044 U CN215509044 U CN 215509044U
Authority
CN
China
Prior art keywords
wall
fixedly connected
sliding
rod
drill floor
Prior art date
Legal status (The legal status is an assumption and is not a legal conclusion. Google has not performed a legal analysis and makes no representation as to the accuracy of the status listed.)
Expired - Fee Related
Application number
CN202121640739.0U
Other languages
English (en)
Inventor
郝伟
Current Assignee (The listed assignees may be inaccurate. Google has not performed a legal analysis and makes no representation or warranty as to the accuracy of the list.)
Individual
Original Assignee
Individual
Priority date (The priority date is an assumption and is not a legal conclusion. Google has not performed a legal analysis and makes no representation as to the accuracy of the date listed.)
Filing date
Publication date
Application filed by Individual filed Critical Individual
Priority to CN202121640739.0U priority Critical patent/CN215509044U/zh
Application granted granted Critical
Publication of CN215509044U publication Critical patent/CN215509044U/zh
Expired - Fee Related legal-status Critical Current
Anticipated expiration legal-status Critical

Links

Images

Landscapes

  • Earth Drilling (AREA)

Abstract

本实用新型公开了一种具有防震功能的五金加工用钻床,包括底座,底座上固定连接有圆柱,圆柱的外壁滑动套有滑架,滑架上滑动套有钻台,钻台上安装有钻杆,钻台相对于钻杆的外壁均匀固定连接有两个滑轨,滑轨的外壁滑动套有滑块,滑块的底端固定连接有固定板,固定板的外壁均匀转动安装有钢珠,固定板的外壁固定连接有滑杆,滑杆的外壁滑动套有限位块,限位块的外壁与钻台的外壁固定连接,滑杆的外壁套有弹簧。通过设置滑轨等结构,利用上述部件的配合使用,防止钻杆的震动导致钻孔的精度受到影响。

Description

一种具有防震功能的五金加工用钻床
技术领域
本实用新型属于钻床技术领域,具体涉及一种具有防震功能的五金加工用钻床。
背景技术
钻床指主要用钻头在工件上加工孔的机床。通常钻头旋转为主运动,钻头轴向移动为进给运动。钻床结构简单,加工精度相对较低,可钻通孔、盲孔,更换特殊刀具,可扩、锪孔,铰孔或进行攻丝等加工。加工过程中工件不动,让刀具移动,将刀具中心对正孔中心,并使刀具转动(主运动)。钻床的特点是工件固定不动,刀具做旋转运动。
一般的钻床在对物件进行钻孔的时候,钻杆与物件接触时,钻杆由于高速运转,使得钻杆会出现小幅度的震动,从而使得钻杆可能出现偏移,进而影响钻孔的精度,而且钻床的操作较为复杂,新人操作的时候需要观看操作手册,但是一般的钻床没有能放置操作手册的地方,造成新人难以双手操作机器的同时观看手册,使得新人要花更多的时间去学习操作钻床,浪费了一定的时间。
实用新型内容
针对现有技术存在的不足,本实用新型目的是提供一种具有防震功能的五金加工用钻床,具备避免钻头震动幅度过大的优点。
为实现上述目的,本实用新型提供如下技术方案:一种具有防震功能的五金加工用钻床,包括底座,所述底座上固定连接有圆柱,所述圆柱的外壁滑动套有滑架,所述滑架上滑动套有钻台,所述钻台上安装有钻杆,所述钻台相对于钻杆的外壁均匀固定连接有两个滑轨,所述滑轨的外壁滑动套有滑块,所述滑块的底端固定连接有固定板,所述固定板的外壁均匀转动安装有钢珠,所述固定板的外壁固定连接有滑杆,所述滑杆的外壁滑动套有限位块,所述限位块的外壁与钻台的外壁固定连接,所述滑杆的外壁套有弹簧。
优选的,所述底座的顶端固定连接有基座,所述基座的内部转动插设有伸缩杆,所述伸缩杆的内部活动插设有插销,所述伸缩杆的外壁均匀开设有定位孔,所述定位孔的内壁与插销的外壁相适配,所述伸缩杆的顶端固定连接有定位板。
优选的,所述限位块上活动贯穿有插杆,两个所述插杆的外壁固定连接有支架,所述支架的内部螺纹插设有螺栓,所述螺栓活动插在钻台的内部。
优选的,所述定位板的外壁活动连接有磁架,所述磁架和定位板彼此靠近的一端互为异名磁极。
与现有技术相比,本实用新型的有益效果是:
1、通过设置滑轨等结构,使用时利用弹簧的弹力,连个滑杆在弹簧的弹力作用下,让两个固定板沿着滑轨的反向逐渐靠近,直到固定板上的钢珠与钻杆的表面接触,此时启动钻杆,钻杆的震动会带动滑杆运动,而弹簧会将震动抵消,同时钢珠会与钻杆发生转动,不会影响钻杆的运行,而在不使用钻杆时,拉动两个滑杆到合适位置,此时将插杆贯穿限位块,然后将螺栓螺纹贯穿支架插进钻台的内部,进而将两个滑杆固定住,利用上述部件的配合使用,防止钻杆的震动导致钻孔的精度受到影响。
2、通过设置基座等结构,使用时将手册放在定位板上,然后将伸缩杆拉动到合适的高度,此时将插销贯穿伸缩杆,使得插销将伸缩杆固定住,接着将伸缩杆转动到合适位置,方便人员观看定位板上的手册,而由于磁架与定位板彼此靠近的一端互为异名磁极,所以手册可以被磁架夹在定位板上,使得手册被固定得更牢固,利用上述部件的配合使用,方便人员双手操作机器的同时观看手册。
附图说明
图1为本实用新型的结构示意图;
图2为本实用新型固定板处的结构示意图;
图3为本实用新型图2的左侧部分结构示意图;
图4为本实用新型支架处的结构示意图;
图5为本实用新型伸缩杆处的结构示意图。
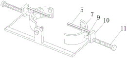
图中:1、底座;2、圆柱;3、滑架;4、钻台;5、滑轨;6、滑块;7、固定板;8、钢珠;9、滑杆;10、限位块;11、弹簧;12、插杆;13、支架;14、螺栓;15、基座;16、伸缩杆;17、定位板;18、磁架;19、插销;20、定位孔;21、钻杆。
具体实施方式
下面将结合本实用新型实施例中的附图,对本实用新型实施例中的技术方案进行清楚、完整地描述,显然,所描述的实施例仅仅是本实用新型一部分实施例,而不是全部的实施例。基于本实用新型中的实施例,本领域普通技术人员在没有做出创造性劳动前提下所获得的所有其他实施例,都属于本实用新型保护的范围。
请参阅图1-5,本实用新型提供一种技术方案:一种具有防震功能的五金加工用钻床,包括底座1,底座1上固定连接有圆柱2,圆柱2的外壁滑动套有滑架3,滑架3上滑动套有钻台4,钻台4上安装有钻杆21,钻台4相对于钻杆21的外壁均匀固定连接有两个滑轨5,滑轨5的外壁滑动套有滑块6,滑块6的底端固定连接有固定板7,固定板7的外壁均匀转动安装有钢珠8,固定板7的外壁固定连接有滑杆9,滑杆9的外壁滑动套有限位块10,限位块10的外壁与钻台4的外壁固定连接,滑杆9的外壁套有弹簧11。
本实施方案中,通过设置滑轨5等结构,使用时利用弹簧11的弹力,两个滑杆9在弹簧11的弹力作用下,让两个固定板7沿着滑轨5的反向逐渐靠近,直到固定板7上的钢珠8与钻杆21的表面接触,此时启动钻杆21,钻杆21的震动会带动滑杆9运动,而弹簧11会将震动抵消,同时钢珠8会与钻杆21发生转动,不会影响钻杆21的运行。
具体的,底座1的顶端固定连接有基座15,基座15的内部转动插设有伸缩杆16,伸缩杆16的内部活动插设有插销19,伸缩杆16的外壁均匀开设有定位孔20,定位孔20的内壁与插销19的外壁相适配,伸缩杆16的顶端固定连接有定位板17。
本实施方案中,通过设置基座15等结构,使用时将手册放在定位板17上,然后将伸缩杆16拉动到合适的高度,此时将插销19贯穿伸缩杆16,使得插销19将伸缩杆16固定住,接着将伸缩杆16转动到合适位置,方便人员观看定位板17上的手册。
具体的,限位块10上活动贯穿有插杆12,两个插杆12的外壁固定连接有支架13,支架13的内部螺纹插设有螺栓14,螺栓14活动插在钻台4的内部。
本实施方案中,不使用钻杆21时,拉动两个滑杆9到合适位置,此时将插杆12贯穿限位块10,然后将螺栓14螺纹贯穿支架13插进钻台4的内部,进而将两个滑杆9固定住。
具体的,定位板17的外壁活动连接有磁架18,磁架18和定位板17彼此靠近的一端互为异名磁极。
本实施方案中,由于磁架18与定位板17彼此靠近的一端互为异名磁极,所以手册可以被磁架18夹在定位板17上,使得手册被固定得更牢固。
本实用新型的工作原理及使用流程:通过设置滑轨5等结构,使用时利用弹簧11的弹力,两个滑杆9在弹簧11的弹力作用下,让两个固定板7沿着滑轨5的反向逐渐靠近,直到固定板7上的钢珠8与钻杆21的表面接触,此时启动钻杆21,钻杆21的震动会带动滑杆9运动,而弹簧11会将震动抵消,同时钢珠8会与钻杆21发生转动,不会影响钻杆21的运行,而在不使用钻杆21时,拉动两个滑杆9到合适位置,此时将插杆12贯穿限位块10,然后将螺栓14螺纹贯穿支架13插进钻台4的内部,进而将两个滑杆9固定住,利用上述部件的配合使用,防止钻杆21的震动导致钻孔的精度受到影响,而通过设置基座15等结构,使用时将手册放在定位板17上,然后将伸缩杆16拉动到合适的高度,此时将插销19贯穿伸缩杆16,使得插销19将伸缩杆16固定住,接着将伸缩杆16转动到合适位置,方便人员观看定位板17上的手册,而由于磁架18与定位板17彼此靠近的一端互为异名磁极,所以手册可以被磁架18夹在定位板17上,使得手册被固定得更牢固,利用上述部件的配合使用,方便人员双手操作机器的同时观看手册。
尽管已经示出和描述了本实用新型的实施例,对于本领域的普通技术人员而言,可以理解在不脱离本实用新型的原理和精神的情况下可以对这些实施例进行多种变化、修改、替换和变型,本实用新型的范围由所附权利要求及其等同物限定。

Claims (4)

1.一种具有防震功能的五金加工用钻床,包括底座(1),其特征在于:所述底座(1)上固定连接有圆柱(2),所述圆柱(2)的外壁滑动套有滑架(3),所述滑架(3)上滑动套有钻台(4),所述钻台(4)上安装有钻杆(21),所述钻台(4)相对于钻杆(21)的外壁均匀固定连接有两个滑轨(5),所述滑轨(5)的外壁滑动套有滑块(6),所述滑块(6)的底端固定连接有固定板(7),所述固定板(7)的外壁均匀转动安装有钢珠(8),所述固定板(7)的外壁固定连接有滑杆(9),所述滑杆(9)的外壁滑动套有限位块(10),所述限位块(10)的外壁与钻台(4)的外壁固定连接,所述滑杆(9)的外壁套有弹簧(11)。
2.根据权利要求1所述的一种具有防震功能的五金加工用钻床,其特征在于:所述底座(1)的顶端固定连接有基座(15),所述基座(15)的内部转动插设有伸缩杆(16),所述伸缩杆(16)的内部活动插设有插销(19),所述伸缩杆(16)的外壁均匀开设有定位孔(20),所述定位孔(20)的内壁与插销(19)的外壁相适配,所述伸缩杆(16)的顶端固定连接有定位板(17)。
3.根据权利要求1所述的一种具有防震功能的五金加工用钻床,其特征在于:所述限位块(10)上活动贯穿有插杆(12),两个所述插杆(12)的外壁固定连接有支架(13),所述支架(13)的内部螺纹插设有螺栓(14),所述螺栓(14)活动插在钻台(4)的内部。
4.根据权利要求2所述的一种具有防震功能的五金加工用钻床,其特征在于:所述定位板(17)的外壁活动连接有磁架(18),所述磁架(18)和定位板(17)彼此靠近的一端互为异名磁极。
CN202121640739.0U 2021-07-19 2021-07-19 一种具有防震功能的五金加工用钻床 Expired - Fee Related CN215509044U (zh)

Priority Applications (1)

Application Number Priority Date Filing Date Title
CN202121640739.0U CN215509044U (zh) 2021-07-19 2021-07-19 一种具有防震功能的五金加工用钻床

Applications Claiming Priority (1)

Application Number Priority Date Filing Date Title
CN202121640739.0U CN215509044U (zh) 2021-07-19 2021-07-19 一种具有防震功能的五金加工用钻床

Publications (1)

Publication Number Publication Date
CN215509044U true CN215509044U (zh) 2022-01-14

Family

ID=79813935

Family Applications (1)

Application Number Title Priority Date Filing Date
CN202121640739.0U Expired - Fee Related CN215509044U (zh) 2021-07-19 2021-07-19 一种具有防震功能的五金加工用钻床

Country Status (1)

Country Link
CN (1) CN215509044U (zh)

Similar Documents

Publication Publication Date Title
CN103008718B (zh) 柴油机缸套安装孔冷却水道的水平孔钻孔装置
CN211360713U (zh) 一种可多角度固定的零件加工车床
CN215509044U (zh) 一种具有防震功能的五金加工用钻床
CN202240418U (zh) 一种自动锁螺丝机
CN210548252U (zh) 产品的多孔加工结构
CN216326474U (zh) 一种高精度节能数控立车机床
CN207771988U (zh) 一种适用于家具板材的高效打孔装置
CN107953159A (zh) 一种钝化机
CN209792797U (zh) 一种花篮螺丝生产用多头攻丝机
CN112238235A (zh) 一种门窗加工用钻孔装置
CN215879967U (zh) 一种多头钻机
CN219211681U (zh) 一种电梯导轨自动钻孔机构
CN106424817A (zh) 导轨钻孔装置
CN214314894U (zh) 一种高减震型齿轮电机
CN207914619U (zh) 一种自动化零部件加工用钻孔装置
CN216454125U (zh) 一种可以限制滑轨珠架跑动的结构
CN208914281U (zh) 一种便于快速定位的侧孔机
CN108356322B (zh) 一种便捷式小型钻孔装置
CN214720782U (zh) 一种多孔位同步钻孔的板材用侧边钻孔机
CN218990164U (zh) 一种抗浮锚杆安装的辅助机构
CN216938564U (zh) 一种数控六面钻双夹钳机构
CN203109622U (zh) 一种针杆架夹装工具
CN215281669U (zh) 机械加工用多功能夹具
CN219605115U (zh) 一种具有缓冲结构的移动门轨道
CN219026015U (zh) 一种同步加工大小孔的钻头装置

Legal Events

Date Code Title Description
GR01 Patent grant
GR01 Patent grant
CF01 Termination of patent right due to non-payment of annual fee

Granted publication date: 20220114

CF01 Termination of patent right due to non-payment of annual fee