CN215469724U - Machining clamp structure - Google Patents

Machining clamp structure Download PDF

Info

Publication number
CN215469724U
CN215469724U CN202122111105.2U CN202122111105U CN215469724U CN 215469724 U CN215469724 U CN 215469724U CN 202122111105 U CN202122111105 U CN 202122111105U CN 215469724 U CN215469724 U CN 215469724U
Authority
CN
China
Prior art keywords
fixed
block
seat
fixing
fixing base
Prior art date
Legal status (The legal status is an assumption and is not a legal conclusion. Google has not performed a legal analysis and makes no representation as to the accuracy of the status listed.)
Expired - Fee Related
Application number
CN202122111105.2U
Other languages
Chinese (zh)
Inventor
夏飞云
夏玉保
Current Assignee (The listed assignees may be inaccurate. Google has not performed a legal analysis and makes no representation or warranty as to the accuracy of the list.)
Guilin Xinye Machinery Manufacturing Co ltd
Original Assignee
Guilin Xinye Machinery Manufacturing Co ltd
Priority date (The priority date is an assumption and is not a legal conclusion. Google has not performed a legal analysis and makes no representation as to the accuracy of the date listed.)
Filing date
Publication date
Application filed by Guilin Xinye Machinery Manufacturing Co ltd filed Critical Guilin Xinye Machinery Manufacturing Co ltd
Priority to CN202122111105.2U priority Critical patent/CN215469724U/en
Application granted granted Critical
Publication of CN215469724U publication Critical patent/CN215469724U/en
Expired - Fee Related legal-status Critical Current
Anticipated expiration legal-status Critical

Links

Images

Landscapes

  • Jigs For Machine Tools (AREA)

Abstract

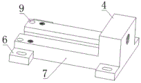
The utility model discloses a machining clamp structure which comprises a U-shaped fixed seat, wherein a fixed block is fixedly arranged at the left end of the fixed seat, an adjusting screw rod is screwed on the fixed block and inserted in the fixed block, one end of the adjusting screw rod, which penetrates through the fixed block, is rotatably connected with a movable clamping block, a detachable fixed clamping block is arranged on the upper surface of the fixed seat, which is close to the left end, and the left end of the fixed seat is detachably connected with a U-shaped extension seat.

Description

Machining clamp structure
Technical Field
The utility model relates to the technical field of machining clamps, in particular to a machining clamp structure.
Background
The fixture is a device which is used for fixing a processing object to enable the processing object to occupy a correct position to receive processing or detection in the mechanical manufacturing process, and clamping and fixing of some workpieces are usually completed by clamping and fixing the workpieces through the fixture in the machining process.
The applicant of the utility model finds that the clamping size range of the existing clamp for clamping the workpiece is limited when the workpiece is clamped, and when the size of the workpiece exceeds the clamping size range of the clamp, a larger clamp needs to be replaced for clamping, so that the use flexibility of a single clamp is poor.
SUMMERY OF THE UTILITY MODEL
The utility model aims to provide a machining clamp structure, and aims to solve the problem that a single clamp is poor in use flexibility when an existing clamp clamps a workpiece.
The utility model is realized by the following steps:
the utility model provides a machining fixture structure, includes the fixing base of U type, and the left end of fixing base is fixed to be provided with the fixed block, and the fixed block top spin is twisted to alternate and is had accommodate the lead screw, and accommodate the lead screw's one end rotatable coupling that passes the fixed block has the movable clamp splice that removes about, and the upper surface of fixing base is close to the left end and is provided with detachable fixed clamp splice, and the extension seat that is connected with the U type can be dismantled to the left end of fixing base.
Furthermore, two positioning pins are arranged on the lower surface of the fixing clamping block close to one side, and two fixing screws are inserted into the position of the fixing clamping block close to the other side.
Furthermore, the lower extreme of activity clamp splice is fixed and is provided with the slider, and the inboard of extension seat and fixing base all is provided with the sliding tray that clamps the direction to the slider.
Further, carry out the joint through the connecting block of two I shapes between two ends of extension seat and two ends of fixing base, and the connecting block through alternate screw and extension seat and fixing base fixed connection in the through-hole, the downside of extension seat and fixing base all is provided with the draw-in groove with connecting block complex.
Furthermore, the upper surfaces of the extension seat and the fixing seat are provided with positioning holes matched with the positioning pins, the front side and the rear side of the extension seat and the front side and the rear side of the fixing seat are provided with mounting blocks, and the mounting blocks are provided with long round holes.
Compared with the prior art, the utility model has the beneficial effects that:
when a workpiece is clamped, the workpiece is placed between the fixed clamping block and the movable clamping block, the movable clamping block is driven to move by rotating the adjusting screw rod to clamp and fix the workpiece, when the workpiece to be clamped greatly exceeds the clamping size range, the extension seat is fixedly connected with the fixed seat, and then the fixed clamping block is detachably mounted on the extension seat so as to clamp the larger workpiece, so that the clamp has better flexibility in clamping.
Drawings
In order to more clearly illustrate the technical solutions of the embodiments of the present invention, the drawings that are required to be used in the embodiments will be briefly described below, it should be understood that the following drawings only illustrate some embodiments of the present invention and therefore should not be considered as limiting the scope, and for those skilled in the art, other related drawings can be obtained according to the drawings without inventive efforts.
FIG. 1 is a perspective view of a machining fixture configuration of the present invention;
FIG. 2 is a schematic view of a stationary clamping block of a machining fixture configuration of the present invention;
FIG. 3 is a schematic view of a movable clamp block of a machining clamp configuration of the present invention;
FIG. 4 is a schematic view of a connection block of a machining fixture configuration of the present invention;
FIG. 5 is a schematic view of an extension base of a machining fixture configuration of the present invention;
fig. 6 is a schematic view of a fixing seat of a machining jig structure according to the present invention.
In the figure: 1. an extension base; 2. fixing the clamping block; 21. positioning pins; 22. fixing screws; 3. a movable clamping block; 31. a slider; 4. a fixed block; 5. adjusting the screw rod; 6. mounting blocks; 7. a fixed seat; 8. connecting blocks; 81. a through hole; 9. positioning holes; 10. a sliding groove; 11. a clamping groove.
Detailed Description
In order to make the objects, technical solutions and advantages of the embodiments of the present invention more apparent, the technical solutions of the embodiments of the present invention will be described clearly and completely with reference to the accompanying drawings of the embodiments of the present invention, and it is obvious that the described embodiments are some, but not all embodiments of the present invention. All other embodiments, which can be obtained by a person skilled in the art without any inventive step based on the embodiments of the present invention, are within the scope of the present invention. Thus, the following detailed description of the embodiments of the present invention, presented in the figures, is not intended to limit the scope of the utility model, as claimed, but is merely representative of selected embodiments of the utility model.
Embodiment 1, please refer to fig. 1, fig. 2 and fig. 3 specifically, a machining fixture structure includes a U-shaped fixing base 7, a fixing block 4 is fixed at the left end of the fixing base 7, an adjusting screw 5 is screwed on the fixing block 4, one end of the adjusting screw 5 passing through the fixing block 4 is rotatably connected with a movable clamping block 3 moving left and right, a detachable fixing clamping block 2 is arranged at the upper surface of the fixing base 7 near the left end, two positioning pins 21 are arranged at the lower surface of the fixing clamping block 2 near one side, two fixing screws 22 are inserted at the position of the fixing clamping block 2 near the other side, the fixing clamping block 2 is positioned and mounted on an extension base 1 or the fixing base 7 through the positioning pins 21 and is fixed and locked through the fixing screws 22, the U-shaped extension base 1 is detachably connected at the left end of the fixing base 7, a sliding block 31 is fixed at the lower end of the movable clamping block 3, the inboard of extension seat 1 and fixing base 7 all is provided with the sliding tray 10 that clamps the direction to slider 31, thereby slide the direction to slider 31 through the sliding tray 10 that sets up and accomplish the regulation of the activity to activity clamp splice 3, when carrying out the clamping to the work piece, place the work piece between fixed clamp splice 2 and activity clamp splice 3, it is fixed to press from both sides the clamp to move the work piece through rotating accommodate the lead screw 5 drive activity clamp splice 3, when the work piece that needs the clamping is great exceedes clamping size range, with extension seat 1 and fixing base 7 fixed connection, then install the dismantlement of fixed clamp splice 2 and then can clamp great work piece on extension seat 1, make the clamping use of anchor clamps have better flexibility.
Referring to fig. 4, 5 and 6, two ends of the extension base 1 and two ends of the fixing base 7 are clamped by two i-shaped connecting blocks 8, the connecting block 8 is fixedly connected with the extension seat 1 and the fixed seat 7 through screws inserted in the through holes 81, the lower side surfaces of the extension seat 1 and the fixed seat 7 are both provided with clamping grooves 11 matched with the connecting block 8, the extension seat 1 and the fixed seat 7 are detachably connected by clamping the connecting block 8 in the clamping groove 11, the upper surfaces of the extension seat 1 and the fixed seat 7 are both provided with positioning holes 9 matched with the positioning pins 21, and both sides all are provided with installation piece 6 around extension seat 1 and the fixing base 7, are provided with the slotted hole on installation piece 6, and extension seat 1 and fixing base 7 realize the location installation to fixed clamp splice 2 through locating hole 9, and extension seat 1 and fixing base 7 realize the installation fixed on the processing platform of lathe through installation piece 6.
The working principle is that a fixed seat 7 is fixed on a machine table through a screw penetrating through an installation block 6, then a workpiece is placed between a fixed clamping block 2 and a movable clamping block 3, then an adjusting screw rod 5 is rotated to drive the movable clamping block 3 to move to clamp and fix the workpiece, when the workpiece needing to be clamped is larger than the clamping size range, an extension seat 1 is fixedly connected with the fixed seat 7 through a connecting block 8, the extension seat 1 is fixed on the machine table through the installation block 6, and then the fixed clamping block 2 is detached and installed on the extension seat 1 to clamp the larger workpiece.
The device obtained by the design can basically meet the requirement of the existing clamp that the single clamp has good use flexibility when clamping a workpiece, but the designer further improves the device with the aim of further improving the function.
The above description is only a preferred embodiment of the present invention and is not intended to limit the present invention, and various modifications and changes may be made by those skilled in the art. Any modification, equivalent replacement, or improvement made within the spirit and principle of the present invention should be included in the protection scope of the present invention.

Claims (5)

1. The utility model provides a machining clamp structure, includes fixing base (7) of U type, its characterized in that: the left end of fixing base (7) is fixed and is provided with fixed block (4), and fixed block (4) top spin is twisted and is alternates there are accommodate the lead screw (5), the one end rotatable coupling that passes fixed block (4) of accommodate the lead screw (5) has movable clamp splice (3) of controlling, the upper surface of fixing base (7) is close to the left end and is provided with detachable fixed clamp splice (2), and the left end of fixing base (7) can be dismantled and be connected with extension seat (1) of U type.
2. The machining clamp structure according to claim 1, characterized in that two positioning pins (21) are arranged on the lower surface of the fixing clamp block (2) near one side, and two fixing screws (22) are inserted into the fixing clamp block (2) near the other side.
3. The machining clamp structure according to claim 1, wherein a sliding block (31) is fixedly arranged at the lower end of the movable clamping block (3), and sliding grooves (10) for clamping and guiding the sliding block (31) are formed in the inner sides of the extension seat (1) and the fixed seat (7).
4. A machining fixture structure according to claim 1, characterized in that the two ends of the extension base (1) and the two ends of the fixing base (7) are clamped by two i-shaped connecting blocks (8), the connecting blocks (8) are fixedly connected with the extension base (1) and the fixing base (7) by screws inserted into the through holes (81), and the lower side surfaces of the extension base (1) and the fixing base (7) are provided with clamping grooves (11) matched with the connecting blocks (8).
5. The machining clamp structure according to claim 1, wherein the upper surfaces of the extension seat (1) and the fixed seat (7) are provided with positioning holes (9) matched with the positioning pins (21), the front side and the rear side of the extension seat (1) and the fixed seat (7) are provided with mounting blocks (6), and the mounting blocks (6) are provided with oblong holes.
CN202122111105.2U 2021-09-02 2021-09-02 Machining clamp structure Expired - Fee Related CN215469724U (en)

Priority Applications (1)

Application Number Priority Date Filing Date Title
CN202122111105.2U CN215469724U (en) 2021-09-02 2021-09-02 Machining clamp structure

Applications Claiming Priority (1)

Application Number Priority Date Filing Date Title
CN202122111105.2U CN215469724U (en) 2021-09-02 2021-09-02 Machining clamp structure

Publications (1)

Publication Number Publication Date
CN215469724U true CN215469724U (en) 2022-01-11

Family

ID=79767517

Family Applications (1)

Application Number Title Priority Date Filing Date
CN202122111105.2U Expired - Fee Related CN215469724U (en) 2021-09-02 2021-09-02 Machining clamp structure

Country Status (1)

Country Link
CN (1) CN215469724U (en)

Cited By (1)

* Cited by examiner, † Cited by third party
Publication number Priority date Publication date Assignee Title
CN114683076A (en) * 2022-04-28 2022-07-01 中建六局华南建设有限公司 Adjustable bench clamp

Cited By (1)

* Cited by examiner, † Cited by third party
Publication number Priority date Publication date Assignee Title
CN114683076A (en) * 2022-04-28 2022-07-01 中建六局华南建设有限公司 Adjustable bench clamp

Similar Documents

Publication Publication Date Title
CN209110625U (en) A kind of clamping device for milling spindle keyway
CN215469724U (en) Machining clamp structure
CN213003151U (en) Linear cutting clamp
CN114406745A (en) Automatic quick clamp tooling system for round workpieces
CN213003150U (en) Electric spark machining clamp
CN221388967U (en) End cover processing clamping and fixing tool
CN221110773U (en) Clamp for milling
CN219598328U (en) Multi-angle clamping positioning wire cutting combined clamp
CN220372521U (en) Sheet metal clamping positioner
CN216967055U (en) Multi-station clamp for numerical control cutting machine tool
CN114278648A (en) Power matching test tool for hydraulic element
CN213319759U (en) Bidirectional positioning fixture
CN214292798U (en) Use nimble anti-frock of pressing from both sides
CN219254793U (en) Machine tool machining fixture based on multi-arm clamping
CN219786648U (en) Positioning tool for drilling machine
CN220241250U (en) Positioning jig for processing precise hardware
CN222999962U (en) But angle regulation's welding tool equipment
CN105458762A (en) Pliers type clamping worktable
CN219787490U (en) Clamping type vice positioning tool clamp
CN214291978U (en) Multi-station clamp for three-axis machining center
CN216990872U (en) General type mechanical automation frock clamp
CN111015314A (en) CNC machine tool mounting fixture
CN217860027U (en) Special-shaped part machining clamp
CN214489128U (en) Special fixture for screw tap
CN217452307U (en) Right angle milling head installing support

Legal Events

Date Code Title Description
GR01 Patent grant
GR01 Patent grant
CF01 Termination of patent right due to non-payment of annual fee

Granted publication date: 20220111

CF01 Termination of patent right due to non-payment of annual fee