CN215417463U - Outdoor billboard convenient to clearance dust - Google Patents
Outdoor billboard convenient to clearance dust Download PDFInfo
- Publication number
- CN215417463U CN215417463U CN202121587949.8U CN202121587949U CN215417463U CN 215417463 U CN215417463 U CN 215417463U CN 202121587949 U CN202121587949 U CN 202121587949U CN 215417463 U CN215417463 U CN 215417463U
- Authority
- CN
- China
- Prior art keywords
- fixedly connected
- fixing frame
- convenient
- outdoor billboard
- wall
- Prior art date
- Legal status (The legal status is an assumption and is not a legal conclusion. Google has not performed a legal analysis and makes no representation as to the accuracy of the status listed.)
- Active
Links
- 239000000428 dust Substances 0.000 title claims abstract description 27
- 238000002347 injection Methods 0.000 claims abstract description 30
- 239000007924 injection Substances 0.000 claims abstract description 30
- 238000004140 cleaning Methods 0.000 claims abstract description 23
- 239000011521 glass Substances 0.000 claims abstract description 16
- 238000007789 sealing Methods 0.000 claims abstract description 15
- 230000000007 visual effect Effects 0.000 claims abstract description 12
- 230000005540 biological transmission Effects 0.000 claims description 12
- XEEYBQQBJWHFJM-UHFFFAOYSA-N Iron Chemical compound [Fe] XEEYBQQBJWHFJM-UHFFFAOYSA-N 0.000 claims description 6
- 229910052742 iron Inorganic materials 0.000 claims description 3
- 238000001179 sorption measurement Methods 0.000 claims description 2
- 238000000034 method Methods 0.000 abstract description 10
- 230000000694 effects Effects 0.000 abstract description 6
- 230000008021 deposition Effects 0.000 abstract description 3
- 238000010521 absorption reaction Methods 0.000 description 4
- 238000004519 manufacturing process Methods 0.000 description 2
- 239000000463 material Substances 0.000 description 2
- 239000000243 solution Substances 0.000 description 2
- 230000004075 alteration Effects 0.000 description 1
- 230000009286 beneficial effect Effects 0.000 description 1
- 230000005389 magnetism Effects 0.000 description 1
- 238000012986 modification Methods 0.000 description 1
- 230000004048 modification Effects 0.000 description 1
- 239000007921 spray Substances 0.000 description 1
- 238000006467 substitution reaction Methods 0.000 description 1
Images
Landscapes
- Displays For Variable Information Using Movable Means (AREA)
Abstract
The utility model discloses an outdoor billboard convenient for cleaning dust, which comprises an inverted T-shaped support column, wherein the top end of the inverted T-shaped support column is fixedly connected with a rain shelter, the side surface of the inverted T-shaped support column is provided with a sliding groove, the inner wall of the sliding groove is connected with a sliding block in a sliding manner, the side surface of the sliding block is fixedly connected with an advertisement fixing frame, the inner wall of the advertisement fixing frame is fixedly connected with visible glass, the back surface of the advertisement fixing frame is rotatably connected with a sealing door through a hinge, and the inner bottom wall and the inner top wall of the advertisement fixing frame are both provided with sliding grooves. This outdoor billboard convenient to clearance dust, through setting up driving motor, accommodate the lead screw, clean pole and clean sponge, the deposition on the visual glass surface of the cleanness of being convenient for, through setting up gas injection case, piston, adjusting threaded rod, air hose, clean pole, gas injection chamber and the shower nozzle of giving vent to anger, be convenient for at the in-process that clean pole removed, utilize the air to blow away the ash floating on the visual glass surface to make whole outdoor billboard have the effect of conveniently clearing up the dust.
Description
Technical Field
The utility model relates to the technical field of billboards, in particular to an outdoor billboard convenient for cleaning dust.
Background
The fundamental purpose of billboard manufacture is to let consumers know the products familiar with enterprises, and the process of information transmission through billboard manufacture can be said to be one of the fastest, most economical and most effective means.
In the process of using the billboard, because the billboard is installed outdoors, the surface of the billboard is inevitably subjected to the phenomenon of dust adhesion, if the dust is accumulated too much, the propaganda effect of the billboard can be directly influenced, the existing treatment mode is to regularly arrange cleaning personnel to clean the dust on the surface of the billboard, but the mode can increase the labor intensity of the cleaning personnel.
The utility model provides an outdoor billboard convenient for cleaning dust.
SUMMERY OF THE UTILITY MODEL
The utility model aims to provide an outdoor billboard convenient for cleaning dust, which solves the problems in the prior art.
In order to achieve the purpose, the utility model provides the following technical scheme: an outdoor advertising board convenient for cleaning dust comprises an inverted T-shaped support column, wherein the top end of the inverted T-shaped support column is fixedly connected with a rain shelter, the side surface of the inverted T-shaped support column is provided with a sliding groove, the inner wall of the sliding groove is slidably connected with a sliding block, the side surface of the sliding block is fixedly connected with an advertisement fixing frame, the inner wall of the advertisement fixing frame is fixedly connected with visible glass, the back surface of the advertisement fixing frame is rotatably connected with a sealing door through a hinge, the inner bottom wall and the inner top wall of the advertisement fixing frame are respectively provided with a sliding groove, the inner side walls of the two sliding grooves are respectively rotatably connected with an adjusting screw rod, the outer surface of the two adjusting screw rods is in threaded connection with a cleaning rod, the cleaning rod is internally provided with an air injection cavity, the side surface of the cleaning rod is fixedly connected with a plurality of air outlet spray nozzles communicated with the air injection cavity, the upper surface of the advertisement fixing frame is fixedly connected with an air injection box, the inner side wall of the air injection box is rotatably connected with an adjusting threaded rod, the outer surface of the adjusting threaded rod is in threaded connection with a piston, the lower surface of the gas injection box is fixedly connected with a gas transmission hose, and a gas outlet end of the gas transmission hose extends to the inside of the cleaning rod and is communicated with the gas injection cavity.
Preferably, the back of the inverted T-shaped support column and the back of the slide block are both provided with positioning threaded holes, and the inner wall of each positioning threaded hole is in threaded connection with a bolt positioning bolt.
Preferably, the upper surface and the lower surface of the advertisement fixing frame are fixedly connected with motor boxes, driving motors are arranged inside the two motor boxes, and the output ends of the two driving motors and one ends of the two adjusting screw rods are fixedly connected with bevel gears which are meshed with each other.
Preferably, the material of sealing door is iron, and the front magnetism of sealing door adsorbs has a plurality of absorption magnetic path that are used for fixed poster paper.
Preferably, the back of the cleaning rod is fixedly connected with a cleaning sponge, and the back of the cleaning sponge is in lap joint with the front of the visible glass.
Preferably, one end of each adjusting threaded rod and one end of each adjusting threaded rod are fixedly connected with transmission gears which are meshed with each other, an air inlet is formed in the upper surface of the air injection box, and a one-way valve is arranged inside each air inlet.
Advantageous effects
The utility model provides an outdoor billboard convenient for cleaning dust, which has the following beneficial effects:
1. this outdoor billboard convenient to clearance dust, through setting up driving motor, accommodate the lead screw, clean pole and clean sponge, the deposition on the visual glass surface of the cleanness of being convenient for, through setting up gas injection case, piston, adjusting threaded rod, air hose, clean pole, gas injection chamber and the shower nozzle of giving vent to anger, be convenient for at the in-process that clean pole removed, utilize the air to blow away the ash floating on the visual glass surface to make whole outdoor billboard have the effect of conveniently clearing up the dust.
2. This outdoor billboard convenient to clearance dust through setting up bolt positioning bolt, slider and spout, is convenient for reduce the height of the fixed frame of advertisement at the in-process of changing poster paper, through setting up sealing door and absorption magnetic path, is convenient for fix poster paper in the front of sealing door, makes things convenient for the change of poster paper.
Drawings
FIG. 1 is a schematic perspective view of the present invention;
FIG. 2 is a schematic view of a rear perspective structure of the present invention;
fig. 3 is a schematic front sectional view of the advertisement fixing frame of the present invention.
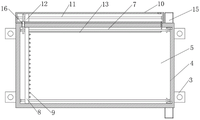
In the figure: the automatic advertising system comprises an inverted T-shaped support column 1, a rain shelter 2, a sliding block 3, an advertisement fixing frame 4, visual glass 5, a sealing door 6, an adjusting screw rod 7, a cleaning rod 8, an air outlet nozzle 9, an air injection box 10, an adjusting threaded rod 11, a piston 12, an air delivery hose 13, a bolt positioning bolt 14, a motor box 15 and a transmission gear 16.
Detailed Description
The technical solutions in the embodiments of the present invention will be clearly and completely described below with reference to the drawings in the embodiments of the present invention, and it is obvious that the described embodiments are only a part of the embodiments of the present invention, and not all of the embodiments. All other embodiments, which can be derived by a person skilled in the art from the embodiments given herein without making any creative effort, shall fall within the protection scope of the present invention.
Referring to fig. 1-3, the present invention provides a technical solution: the utility model provides an outdoor advertising board convenient to clearance dust, includes type of falling T support column 1, and the top fixedly connected with canopy 2 of type of falling T support column 1, the spout has been seted up to the side of type of falling T support column 1, and the inner wall sliding connection of spout has slider 3, and positioning screw hole has all been seted up at the back of type of falling T support column 1 and slider 3, and positioning screw hole's inner wall threaded connection has bolt positioning bolt 14.
The fixed frame 4 of side fixedly connected with advertisement of slider 3, through setting up bolt positioning bolt 14, slider 3 and spout, be convenient for reduce the height of the fixed frame 4 of advertisement at the in-process of changing the poster paper, the visual glass of inner wall fixedly connected with 5 of the fixed frame 4 of advertisement, the back of the fixed frame 4 of advertisement is connected with sealing door 6 through the hinge rotation, the material of sealing door 6 is iron, and the front magnetic adsorption of sealing door 6 has a plurality of to be used for the absorption magnetic path of fixed poster paper, through setting up sealing door 6 and absorption magnetic path, be convenient for fix the poster paper in the front of sealing door 6, make things convenient for the change of poster paper.
The sliding tray has all been seted up to the interior diapire of the fixed frame 4 of advertisement and interior roof, and the inside wall of two sliding trays all rotates and is connected with accommodate the lead screw 7, and the equal fixedly connected with motor case 15 of upper surface and the lower surface of the fixed frame 4 of advertisement, and the inside of two motor cases 15 all is provided with driving motor, the output of two driving motor and the equal fixedly connected with of one end of two accommodate the lead screw 7 bevel gear that meshes mutually.
Outer surface threaded connection of two accommodate the lead screw 7 has clean pole 8, the clean sponge of the back fixedly connected with of clean pole 8, the back of clean sponge and visual glass 5's positive overlap joint, the gas injection chamber has been seted up to clean pole 8's inside, and the shower nozzle 9 of giving vent to anger that the side fixedly connected with a plurality of clean pole 8 and gas injection chamber are linked together, the last fixed surface of the fixed frame 4 of advertisement is connected with gas injection case 10, the inside wall of gas injection case 10 rotates and is connected with adjusting threaded rod 11, the equal fixedly connected with of one end of adjusting threaded rod 11 and accommodate the lead screw 7 meshed drive gear 16, the inlet port has been seted up to the upper surface of gas injection case 10, and the inside of inlet port is provided with check valve.
The surface threaded connection of adjusting screw 11 has piston 12, the lower fixed surface of gas injection case 10 is connected with gas transmission hose 13, gas transmission hose 13's the end of giving vent to anger extends to the inside of clean pole 8 and is linked together with the gas injection chamber, through setting up driving motor, adjusting screw 7, clean pole 8 and clean sponge, be convenient for clean the deposition on visual glass 5 surface, through setting up gas injection case 10, piston 12, adjusting screw 11, gas transmission hose 13, clean pole 8, gas injection chamber and the shower nozzle 9 of giving vent to anger, be convenient for at the in-process that clean pole 8 removed, utilize the air to blow away the ash floating on visual glass 5 surface, thereby make whole outdoor billboard have the effect of convenient clearance dust.
The working principle is as follows: when needing to this outdoor billboard clearance dust, utilize driving motor, bevel gear and drive gear 16 drive accommodate the lead screw 7 and adjust threaded rod 11 and rotate, accommodate the lead screw 7 pivoted in-process drives clean pole 8 and removes, at the in-process that clean pole 8 removed, utilize clean sponge to clear up the dust on visual glass 5 surface, at adjust threaded rod 11 pivoted in-process, drive piston 12 and remove, and will annotate the air in gas injection case 10 into the gas injection chamber through gas transmission hose 13, and spout by air outlet nozzle 9, can blow away the superficial ash on visual glass 5 surface through the air, thereby make whole outdoor billboard have the effect of convenient clearance dust.
Although embodiments of the present invention have been shown and described, it will be appreciated by those skilled in the art that changes, modifications, substitutions and alterations can be made in these embodiments without departing from the principles and spirit of the utility model, the scope of which is defined in the appended claims and their equivalents.
Claims (6)
1. The utility model provides an outdoor bill-board convenient to clearance dust, includes type of falling T support column (1), its characterized in that: the top end of the inverted T-shaped support column (1) is fixedly connected with a rain shelter (2), the side surface of the inverted T-shaped support column (1) is provided with a sliding chute, the inner wall of the sliding chute is connected with a sliding block (3) in a sliding way, the side surface of the sliding block (3) is fixedly connected with an advertisement fixing frame (4), the inner wall of the advertisement fixing frame (4) is fixedly connected with visible glass (5), the back surface of the advertisement fixing frame (4) is rotatably connected with a sealing door (6) through a hinge, the inner bottom wall and the inner top wall of the advertisement fixing frame (4) are both provided with sliding grooves, the inner side walls of the two sliding grooves are both rotatably connected with adjusting screw rods (7), the outer surfaces of the two adjusting screw rods (7) are in threaded connection with cleaning rods (8), the inside of the cleaning rods (8) is provided with an air injection cavity, the side surface of the cleaning rods (8) is fixedly connected with a plurality of air outlet nozzles (9) communicated with the air injection cavity, the upper surface of the advertisement fixing frame (4) is fixedly connected with an air injection box (10), the inside wall of gas injection case (10) rotates and is connected with adjusting threaded rod (11), and the surface threaded connection of adjusting threaded rod (11) has piston (12), and the lower fixed surface of gas injection case (10) is connected with gas transmission hose (13), and the end of giving vent to anger of gas transmission hose (13) extends to the inside of cleaning rod (8) and is linked together with the gas injection chamber.
2. An outdoor billboard convenient to clean dust according to claim 1, characterized in that: positioning threaded holes are formed in the back faces of the inverted T-shaped supporting columns (1) and the back faces of the sliding blocks (3), and the inner walls of the positioning threaded holes are in threaded connection with bolt positioning bolts (14).
3. An outdoor billboard convenient to clean dust according to claim 1, characterized in that: the upper surface and the lower surface of the advertisement fixing frame (4) are fixedly connected with motor boxes (15), driving motors are arranged inside the two motor boxes (15), and output ends of the two driving motors and one ends of the two adjusting screw rods (7) are fixedly connected with bevel gears which are meshed with each other.
4. An outdoor billboard convenient to clean dust according to claim 1, characterized in that: the sealing door (6) is made of iron, and a plurality of adsorption magnetic blocks for fixing the advertising paper are magnetically adsorbed on the front surface of the sealing door (6).
5. An outdoor billboard convenient to clean dust according to claim 1, characterized in that: the back of the cleaning rod (8) is fixedly connected with a cleaning sponge, and the back of the cleaning sponge is in lap joint with the front of the visual glass (5).
6. An outdoor billboard convenient to clean dust according to claim 1, characterized in that: one end of each of the adjusting threaded rod (11) and the adjusting threaded rod (7) is fixedly connected with a transmission gear (16) which is meshed with each other, an air inlet hole is formed in the upper surface of the air injection box (10), and a one-way valve is arranged inside the air inlet hole.
Priority Applications (1)
| Application Number | Priority Date | Filing Date | Title |
|---|---|---|---|
| CN202121587949.8U CN215417463U (en) | 2021-07-13 | 2021-07-13 | Outdoor billboard convenient to clearance dust |
Applications Claiming Priority (1)
| Application Number | Priority Date | Filing Date | Title |
|---|---|---|---|
| CN202121587949.8U CN215417463U (en) | 2021-07-13 | 2021-07-13 | Outdoor billboard convenient to clearance dust |
Publications (1)
| Publication Number | Publication Date |
|---|---|
| CN215417463U true CN215417463U (en) | 2022-01-04 |
Family
ID=79648929
Family Applications (1)
| Application Number | Title | Priority Date | Filing Date |
|---|---|---|---|
| CN202121587949.8U Active CN215417463U (en) | 2021-07-13 | 2021-07-13 | Outdoor billboard convenient to clearance dust |
Country Status (1)
| Country | Link |
|---|---|
| CN (1) | CN215417463U (en) |
Cited By (1)
| Publication number | Priority date | Publication date | Assignee | Title |
|---|---|---|---|---|
| CN118135908A (en) * | 2024-04-02 | 2024-06-04 | 南京昌拓信息技术有限公司 | Display screen with self-adaptive brightness adjustment function |
-
2021
- 2021-07-13 CN CN202121587949.8U patent/CN215417463U/en active Active
Cited By (1)
| Publication number | Priority date | Publication date | Assignee | Title |
|---|---|---|---|---|
| CN118135908A (en) * | 2024-04-02 | 2024-06-04 | 南京昌拓信息技术有限公司 | Display screen with self-adaptive brightness adjustment function |
Similar Documents
| Publication | Publication Date | Title |
|---|---|---|
| CN210667478U (en) | Architectural design model display device | |
| CN113436552A (en) | Intelligent lamp box capable of changing advertisement | |
| CN206489836U (en) | A kind of moveable LED display screen | |
| CN112116862B (en) | Diversified display device of city planning overall arrangement | |
| CN215417463U (en) | Outdoor billboard convenient to clearance dust | |
| CN211044918U (en) | Advertising lamp box with self-cleaning function | |
| CN212391955U (en) | Display screen for building engineering convenient to installation | |
| CN115457884A (en) | A display device with an anti-reflective structure | |
| CN208384943U (en) | A kind of Agro-ecology garden display box | |
| CN207979410U (en) | A kind of outdoor show stand for high-tech product displaying | |
| CN217342740U (en) | Photovoltaic solar panel cleaning and maintaining device | |
| CN217426320U (en) | Outdoor advertising media device convenient to remove | |
| CN114005377B (en) | An educational bulletin board | |
| CN209607356U (en) | A kind of outdoor displaying device of ring skill design poster | |
| CN221920444U (en) | Environmentally friendly bus stop shelter | |
| CN208570037U (en) | A kind of energy-saving and environment-friendly small spacing full color display | |
| CN210402978U (en) | Energy-saving electronic advertisement display screen | |
| CN211957013U (en) | Light plate of advertising lamp box | |
| CN209547268U (en) | A kind of project cost tool box | |
| CN211044723U (en) | A dynamic data display device for regional economics | |
| CN216569348U (en) | Glass screen with stainless steel frame structure | |
| CN209545524U (en) | A kind of solar bracket with cleaning function | |
| CN216800861U (en) | Wisdom community information display device convenient to it is clean | |
| CN207217051U (en) | A kind of greening advocation propaganda board for being convenient to clean dust | |
| CN219609972U (en) | Outdoor advertisement display board |
Legal Events
| Date | Code | Title | Description |
|---|---|---|---|
| GR01 | Patent grant | ||
| GR01 | Patent grant |