CN215398250U - Dustproof radiating electric pile that fills of intelligence - Google Patents

Dustproof radiating electric pile that fills of intelligence Download PDF

Info

Publication number
CN215398250U
CN215398250U CN202121817261.4U CN202121817261U CN215398250U CN 215398250 U CN215398250 U CN 215398250U CN 202121817261 U CN202121817261 U CN 202121817261U CN 215398250 U CN215398250 U CN 215398250U
Authority
CN
China
Prior art keywords
wall
charging
welded
fan
sliding
Prior art date
Legal status (The legal status is an assumption and is not a legal conclusion. Google has not performed a legal analysis and makes no representation as to the accuracy of the status listed.)
Expired - Fee Related
Application number
CN202121817261.4U
Other languages
Chinese (zh)
Inventor
李福春
聂正红
Current Assignee (The listed assignees may be inaccurate. Google has not performed a legal analysis and makes no representation or warranty as to the accuracy of the list.)
Nanjing Xinjuli New Energy Technology Co Ltd
Original Assignee
Nanjing Xinjuli New Energy Technology Co Ltd
Priority date (The priority date is an assumption and is not a legal conclusion. Google has not performed a legal analysis and makes no representation as to the accuracy of the date listed.)
Filing date
Publication date
Application filed by Nanjing Xinjuli New Energy Technology Co Ltd filed Critical Nanjing Xinjuli New Energy Technology Co Ltd
Priority to CN202121817261.4U priority Critical patent/CN215398250U/en
Application granted granted Critical
Publication of CN215398250U publication Critical patent/CN215398250U/en
Expired - Fee Related legal-status Critical Current
Anticipated expiration legal-status Critical

Links

Images

Classifications

    • YGENERAL TAGGING OF NEW TECHNOLOGICAL DEVELOPMENTS; GENERAL TAGGING OF CROSS-SECTIONAL TECHNOLOGIES SPANNING OVER SEVERAL SECTIONS OF THE IPC; TECHNICAL SUBJECTS COVERED BY FORMER USPC CROSS-REFERENCE ART COLLECTIONS [XRACs] AND DIGESTS
    • Y02TECHNOLOGIES OR APPLICATIONS FOR MITIGATION OR ADAPTATION AGAINST CLIMATE CHANGE
    • Y02TCLIMATE CHANGE MITIGATION TECHNOLOGIES RELATED TO TRANSPORTATION
    • Y02T10/00Road transport of goods or passengers
    • Y02T10/60Other road transportation technologies with climate change mitigation effect
    • Y02T10/70Energy storage systems for electromobility, e.g. batteries
    • YGENERAL TAGGING OF NEW TECHNOLOGICAL DEVELOPMENTS; GENERAL TAGGING OF CROSS-SECTIONAL TECHNOLOGIES SPANNING OVER SEVERAL SECTIONS OF THE IPC; TECHNICAL SUBJECTS COVERED BY FORMER USPC CROSS-REFERENCE ART COLLECTIONS [XRACs] AND DIGESTS
    • Y02TECHNOLOGIES OR APPLICATIONS FOR MITIGATION OR ADAPTATION AGAINST CLIMATE CHANGE
    • Y02TCLIMATE CHANGE MITIGATION TECHNOLOGIES RELATED TO TRANSPORTATION
    • Y02T10/00Road transport of goods or passengers
    • Y02T10/60Other road transportation technologies with climate change mitigation effect
    • Y02T10/7072Electromobility specific charging systems or methods for batteries, ultracapacitors, supercapacitors or double-layer capacitors
    • YGENERAL TAGGING OF NEW TECHNOLOGICAL DEVELOPMENTS; GENERAL TAGGING OF CROSS-SECTIONAL TECHNOLOGIES SPANNING OVER SEVERAL SECTIONS OF THE IPC; TECHNICAL SUBJECTS COVERED BY FORMER USPC CROSS-REFERENCE ART COLLECTIONS [XRACs] AND DIGESTS
    • Y02TECHNOLOGIES OR APPLICATIONS FOR MITIGATION OR ADAPTATION AGAINST CLIMATE CHANGE
    • Y02TCLIMATE CHANGE MITIGATION TECHNOLOGIES RELATED TO TRANSPORTATION
    • Y02T90/00Enabling technologies or technologies with a potential or indirect contribution to GHG emissions mitigation
    • Y02T90/10Technologies relating to charging of electric vehicles
    • Y02T90/12Electric charging stations

Landscapes

  • Drying Of Gases (AREA)

Abstract

The utility model relates to the field of charging piles, in particular to an intelligent dustproof and heat-dissipation charging pile which comprises a charging box, wherein a lifting structure is arranged on the outer wall of the back of the charging box, a box door and an overhauling plate are respectively hinged to the outer wall of one side of the charging box, a partition plate is welded to the inner wall of the charging box, an installation structure is installed on the inner wall of the charging box at the bottom of the partition plate, a heat dissipation structure is arranged on the inner wall of the charging box at the top of the partition plate, and a charging device body is installed on the outer wall of the installation structure. According to the utility model, after moisture is adsorbed by the drying agent bag in the drying tube, the charging device body is cooled, the fan is started to cool the fan, and the charging device body is in a closed environment through the charging box and the box door.

Description

Dustproof radiating electric pile that fills of intelligence
Technical Field
The utility model relates to the technical field of charging piles, in particular to an intelligent dustproof and heat-dissipation charging pile.
Background
The charging pile has the function similar to an oiling machine in a gas station, can be fixed on the ground or on the wall, is installed in public buildings (public buildings, markets, public parking lots and the like) and residential district parking lots or charging stations, and can charge various types of electric vehicles according to different voltage grades. The input end of the charging pile is directly connected with an alternating current power grid, and the output end of the charging pile is provided with a charging plug for charging the electric automobile. The charging pile generally provides two charging modes of conventional charging and quick charging, people can use a specific charging card to swipe the card on a human-computer interaction operation interface provided by the charging pile for use, and perform operations such as corresponding charging mode, charging time, cost data printing and the like, and a display screen of the charging pile can display data such as charging amount, cost, charging time and the like; fill electric pile slowly for some are domestic, and the majority all hangs in moist underground parking stall, leads to the internals corrosion for a long time easily, and fills electric pile and expose and suffer destruction and dust cover outside easily, fills electric pile and can produce the heat in charging process, and traditional radiating effect is relatively poor.
SUMMERY OF THE UTILITY MODEL
The utility model aims to solve the defects in the prior art and provides an intelligent dustproof heat-dissipation charging pile.
In order to achieve the purpose, the utility model adopts the following technical scheme:
the utility model provides a dustproof radiating electric pile that fills of intelligence, includes the charging case, the back outer wall of charging case is equipped with elevation structure, and one side outer wall of charging case articulates respectively has chamber door and spiro union to have the access panel, the inner wall welding of charging case has the baffle, and is located the charging case inner wall of baffle bottom department and installs mounting structure, is located the charging case inner wall of baffle top department is equipped with heat radiation structure, and mounting structure's outer wall installs the charging device body, the hasp has all been welded to one side outer wall of chamber door and charging case, and the entrance hole has been seted up to the bottom of charging case.
Preferably, heat radiation structure is including installing the fan at charging box top inner wall, installing at the rose pipe and the drying tube of charging box inner wall, connecting the intake pipe at the rose pipe other end, installing at the first temperature sensor of charging device body outer wall, installing at the second temperature sensor of charging box outer wall, installing at the controller of baffle top outer wall and seting up the louvre of locating at the charging box top.
Preferably, the input and the filter tube of fan are connected, and the output and the drying tube of fan are connected, the one end of intake pipe extends to the charging case outer wall, and the other end of drying tube passes through the bottom intercommunication of pipeline and baffle, the filter screen is installed to the inner wall of filter tube, and the inside drier package of having placed of drying tube, install the fan in the louvre, and the inside venthole of having seted up in top of charging case.
Preferably, the mounting structure includes two buffer rods welded on the inner wall of the charging box, a sliding groove formed in the buffer rods, a first spring welded on the outer wall of the bottom of the sliding groove, a sliding block connected in the sliding groove, a first mounting plate welded on the outer wall of one side of the sliding block, a second spring welded on the outer wall of one side of the first mounting plate at equal intervals, a second mounting plate welded on the other end of the second spring, and a limiting block welded on the outer wall of the four sides of the first mounting plate.
Preferably, elevation structure is including the sliding block of welding at charging case back outer wall, slide at the inboard slide bar of sliding block, set up in the inside rotation hole of slide bar, rotate the lifting screw who connects in rotating the hole, the crank of welding in lifting screw bottom and the mounting bar of the outer wall of slide bar top and bottom one side of keeping away from the sliding block.
Preferably, the first temperature sensor and the second temperature sensor are both connected with a signal input end of the controller through signal lines, the fan and the fan are connected with the controller through conducting wires, and the controller is connected with a power supply through the conducting wires.
Preferably, the center of the sliding block is provided with a thread block matched with the lifting screw and the rotating hole, and the outer wall of the inner wall of the sliding block is connected to the outer wall of the sliding rod in a sliding manner.
The utility model has the beneficial effects that:
1. the sliding rod is installed in the wall through the installation strip, the charging box is installed in the sliding rod through the sliding block, and the crank is rotated to drive the lifting screw to rotate and drive the charging box to move up and down, so that the height of the charging box can be conveniently adjusted, and people with different heights can be conveniently charged;
2. the door is opened, the charging device body is installed on the installation structure, the up-and-down force is buffered for the charging device body under the action of the buffer rod, the first spring and the sliding block in the installation structure, and the front-and-back force is buffered for the charging device body through the first installation plate, the second spring and the second installation plate, so that compared with the traditional mode, the damping of the charging device is facilitated, and the charging stability is improved;
3. in the charging process, first temperature sensor and second temperature sensor carry out temperature measuring to charging device body and external environment respectively, when the high temperature condition that charges appears in the charging device body, first temperature sensor gives the controller with signal transmission, the controller starts the fan, the fan passes through the intake pipe and extracts external gas, and carry into the drying tube after the filtration of filter screen in the filter tube, after the absorption moisture of drying tube inside drier package, cool down the charging device body, start the fan and cool down for the fan, through charging case and chamber door, make the charging device body be in the closed environment, compare in traditional mode, be favorable to intelligent heat dissipation, be favorable to avoiding the probability that the dust gets into the charging case, be favorable to dehumidification and filter great impurity.
Drawings
Fig. 1 is a schematic view of an overall structure of an intelligent dustproof and heat-dissipating charging pile according to the present invention;
fig. 2 is a schematic structural diagram of a charging box of an intelligent dustproof and heat-dissipating charging pile according to the present invention;
fig. 3 is a schematic view of an internal structure of a charging box of the intelligent dustproof and heat-dissipating charging pile according to the present invention;
fig. 4 is a schematic structural view of a buffer rod of the intelligent dustproof and heat-dissipating charging pile provided by the utility model;
fig. 5 is a schematic structural diagram of an installation structure of an intelligent dustproof and heat-dissipating charging pile according to the present invention;
fig. 6 is a schematic view of a lifting structure of the intelligent dustproof and heat-dissipating charging pile according to the present invention.
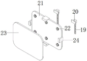
In the figure: 1 charging box, 2 elevation structure, 3 chamber doors, 4 access panels, 5 baffles, 6 mounting structures, 7 charging device bodies, 8 heat radiation structures, 9 hasp, 10 fans, 11 filter tubes, 12 drying tubes, 13 intake pipes, 14 first temperature sensor, 15 second temperature sensor, 16 controllers, 17 louvres, 18 buffer rods, 19 first springs, 20 sliders, 21 first mounting plates, 22 second springs, 23 second mounting plates, 24 limiting blocks, 25 sliders, 26 sliders, 27 mounting bars, 28 elevation screw rods, 29 cranks.
Detailed Description
The technical solutions in the embodiments of the present invention will be clearly and completely described below with reference to the drawings in the embodiments of the present invention, and it is obvious that the described embodiments are only a part of the embodiments of the present invention, and not all of the embodiments.
Referring to fig. 1-6, an intelligent dustproof and heat-dissipation charging pile comprises a charging box 1, wherein a lifting structure 2 is arranged on the outer wall of the back of the charging box 1, a box door 3 and an access panel 4 are respectively hinged and screwed on the outer wall of one side of the charging box 1, a partition plate 5 is welded on the inner wall of the charging box 1, an installation structure 6 is installed on the inner wall of the charging box 1 at the bottom of the partition plate 5, a heat dissipation structure 8 is arranged on the inner wall of the charging box 1 at the top of the partition plate 5, a charging device body 7 is installed on the outer wall of the installation structure 6, a lock catch 9 is respectively welded on the outer walls of the box door 3 and one side of the charging box 1, and a wire inlet hole is formed in the bottom of the charging box 1;
the heat dissipation structure 8 comprises a fan 10 arranged on the inner wall of the top of the charging box 1, a filter pipe 11 and a drying pipe 12 arranged on the inner wall of the charging box 1, an air inlet pipe 13 connected to the other end of the filter pipe 11, a first temperature sensor 14 arranged on the outer wall of the charging device body 7, a second temperature sensor 15 arranged on the outer wall of the charging box 1, a controller 16 arranged on the outer wall of the top of the partition plate 5 and a heat dissipation hole 17 formed in the top of the charging box 1;
the input end of the fan 10 is connected with the filter pipe 11, the output end of the fan 10 is connected with the drying pipe 12, one end of the air inlet pipe 13 extends to the outer wall of the charging box 1, the other end of the drying pipe 12 is communicated with the bottom of the partition plate 5 through a pipeline, the filter screen is installed on the inner wall of the filter pipe 11, the drying agent bag is placed inside the drying pipe 12, the fan is installed in the heat dissipation hole 17, and the air outlet is formed in the top of the charging box 1;
the mounting structure 6 comprises two buffer rods 18 welded on the inner wall of the charging box 1, a sliding chute formed in the buffer rods 18, a first spring 19 welded on the outer wall of the bottom of the sliding chute, a sliding block 20 connected in the sliding chute in a sliding manner, a first mounting plate 21 welded on the outer wall of one side of the sliding block 20, a second spring 22 welded on the outer wall of one side of the first mounting plate 21 at equal intervals, a second mounting plate 23 welded on the other end of the second spring 22 and a limiting block 24 welded on the outer wall of four sides of the first mounting plate 21;
the lifting structure 2 comprises a sliding block 25 welded on the outer wall of the back of the charging box 1, a sliding rod 26 sliding on the inner side of the sliding block 25, a rotating hole formed in the sliding rod 26, a lifting screw 28 rotatably connected in the rotating hole, a crank 29 welded at the bottom of the lifting screw 28 and a mounting strip 27 welded on the outer wall of the top and the bottom of the sliding rod 26 far away from the sliding block 25;
the first temperature sensor 14 and the second temperature sensor 15 are respectively connected with a signal input end of a controller 16 through signal lines, the fan 10 and the fan are connected with the controller 16 through conducting wires, and the controller 16 is connected with a power supply through conducting wires;
the center department of sliding block 25 sets up at the screw thread piece with lifting screw 28 and rotation hole looks adaptation, and sliding block 25's inner wall outer wall sliding connection is at slide bar 26's outer wall, compares in traditional mode, is favorable to intelligent heat dissipation, is favorable to avoiding the dust to get into the probability of charging case, is favorable to dehumidifying and filtering great impurity, is favorable to carrying out the shock attenuation to charging device, improves the stability of charging, is convenient for adjust the height of charging case, and the personnel of the co-altitude of being convenient for charge.
The working principle is as follows: the sliding rod 26 is installed in the wall through the installation strip 27, the charging box 1 is installed in the sliding rod 26 through the sliding block 25, the crank 29 is rotated to drive the lifting screw 28 to rotate through rotating the crank 29, the charging box 1 is driven to move up and down, the height of the charging box 1 is convenient to adjust, the box door 3 is opened, the charging device body 7 is installed on the installation structure 6, up and down force is buffered for the charging device body 7 under the action of the buffer rod 18, the first spring 19 and the sliding block 20 in the installation structure 6, force before and after the charging device body 7 is buffered through the first installation plate 21, the second spring 22 and the second installation plate 23, the first temperature sensor 14 and the second temperature sensor 15 respectively detect the temperature of the charging device body 7 and the external environment in the charging process, when the charging device body 7 has a high temperature condition, the first temperature sensor 14 transmits a signal to the controller 16, the controller 16 starts the fan 10, and the fan 10 extracts the external gas through the intake pipe 13, and carries into the drying tube 12 after the filtration of filter screen in the filter tube 11, and after the absorption moisture of the inside drier package of drying tube 12, cools down the charging device body 7, starts the fan and cools down for the fan 10, through charging box 1 and chamber door 3 for the charging device body 7 is in the closed environment.
In the description of the present invention, it is to be understood that the terms "center", "longitudinal", "lateral", "length", "width", "thickness", "upper", "lower", "front", "rear", "left", "right", "vertical", "horizontal", "top", "bottom", "inner", "outer", "clockwise", "counterclockwise", and the like, indicate orientations and positional relationships based on those shown in the drawings, and are used only for convenience of description and simplicity of description, and do not indicate or imply that the equipment or element being referred to must have a particular orientation, be constructed and operated in a particular orientation, and thus, should not be considered as limiting the present invention.
Furthermore, the terms "first", "second" and "first" are used for descriptive purposes only and are not to be construed as indicating or implying relative importance or implicitly indicating the number of technical features indicated. Thus, a feature defined as "first" or "second" may explicitly or implicitly include one or more of that feature. In the description of the present invention, "a plurality" means two or more unless specifically defined otherwise.
The above description is only for the preferred embodiment of the present invention, but the scope of the present invention is not limited thereto, and any person skilled in the art should be considered to be within the technical scope of the present invention, and equivalent alternatives or modifications according to the technical solution of the present invention and the inventive concept thereof should be covered by the scope of the present invention.

Claims (7)

1. The utility model provides a dustproof radiating electric pile that fills of intelligence, includes charging case (1), its characterized in that, the back outer wall of charging case (1) is equipped with elevation structure (2), and one side outer wall of charging case (1) articulates respectively has chamber door (3) and spiro union has access panel (4), the inner wall welding of charging case (1) has baffle (5), and is located baffle (5) bottom department charging case (1) inner wall and installs mounting structure (6), is located baffle (5) top department charging case (1) inner wall is equipped with heat radiation structure (8), and the outer wall of mounting structure (6) installs charging device body (7), hasp (9) have all been welded to one side outer wall of chamber door (3) and charging case (1), and the entrance hole has been seted up to the bottom of charging case (1).
2. The intelligent dustproof and heat-dissipation charging pile according to claim 1, wherein the heat dissipation structure (8) comprises a fan (10) installed on the inner wall of the top of the charging box (1), a filter pipe (11) and a drying pipe (12) installed on the inner wall of the charging box (1), an air inlet pipe (13) connected to the other end of the filter pipe (11), a first temperature sensor (14) installed on the outer wall of the charging device body (7), a second temperature sensor (15) installed on the outer wall of the charging box (1), a controller (16) installed on the outer wall of the top of the partition plate (5) and heat dissipation holes (17) formed in the top of the charging box (1).
3. The dustproof radiating stake of charging of intelligence of claim 2, characterized in that, the input and the filter tube (11) of fan (10) are connected, and the output and the drying tube (12) of fan (10) are connected, the one end of intake pipe (13) extends to charging case (1) outer wall, and the other end of drying tube (12) passes through the bottom intercommunication of pipeline with baffle (5), the filter screen is installed to the inner wall of filter tube (11), and drying tube (12) inside has placed the drier package, install the fan in louvre (17), and charging case (1) top inside has seted up the venthole.
4. The intelligent dustproof and heat-dissipation charging pile according to claim 1, characterized in that the mounting structure (6) comprises two buffer rods (18) welded on the inner wall of the charging box (1), a sliding groove formed in the buffer rods (18), a first spring (19) welded on the outer wall of the bottom of the sliding groove, a sliding block (20) connected in the sliding groove in a sliding mode, a first mounting plate (21) welded on the outer wall of one side of the sliding block (20), second springs (22) welded on the outer wall of one side of the first mounting plate (21) at equal intervals, a second mounting plate (23) welded on the other end of the second spring (22), and limiting blocks (24) welded on the outer walls of the four sides of the first mounting plate (21).
5. The intelligent dustproof and heat-dissipation charging pile according to claim 1, wherein the lifting structure (2) comprises a sliding block (25) welded on the outer wall of the back of the charging box (1), a sliding rod (26) sliding on the inner side of the sliding block (25), a rotating hole formed in the sliding rod (26), a lifting screw (28) rotatably connected in the rotating hole, a crank (29) welded at the bottom of the lifting screw (28), and a mounting bar (27) welded on the outer wall of the top and the bottom of the sliding rod (26) far away from the sliding block (25).
6. The intelligent dustproof and heat dissipation charging pile according to claim 2, wherein the first temperature sensor (14) and the second temperature sensor (15) are both connected with a signal input end of a controller (16) through signal lines, the fan (10) and the fan are connected with the controller (16) through wires, and the controller (16) is connected with a power supply through wires.
7. The intelligent dustproof and heat-dissipation charging pile according to claim 5, wherein a threaded block matched with the lifting screw rod (28) and the rotating hole is formed in the center of the sliding block (25), and the outer wall of the inner wall of the sliding block (25) is connected to the outer wall of the sliding rod (26) in a sliding mode.
CN202121817261.4U 2021-08-05 2021-08-05 Dustproof radiating electric pile that fills of intelligence Expired - Fee Related CN215398250U (en)

Priority Applications (1)

Application Number Priority Date Filing Date Title
CN202121817261.4U CN215398250U (en) 2021-08-05 2021-08-05 Dustproof radiating electric pile that fills of intelligence

Applications Claiming Priority (1)

Application Number Priority Date Filing Date Title
CN202121817261.4U CN215398250U (en) 2021-08-05 2021-08-05 Dustproof radiating electric pile that fills of intelligence

Publications (1)

Publication Number Publication Date
CN215398250U true CN215398250U (en) 2022-01-04

Family

ID=79657393

Family Applications (1)

Application Number Title Priority Date Filing Date
CN202121817261.4U Expired - Fee Related CN215398250U (en) 2021-08-05 2021-08-05 Dustproof radiating electric pile that fills of intelligence

Country Status (1)

Country Link
CN (1) CN215398250U (en)

Cited By (2)

* Cited by examiner, † Cited by third party
Publication number Priority date Publication date Assignee Title
CN115091993A (en) * 2022-07-11 2022-09-23 山东雷风新能源科技有限公司 A charging pile that is anti-dumping and can be lifted and lowered for convenient installation and transportation
CN118336548A (en) * 2024-06-11 2024-07-12 江苏北辰互邦电力股份有限公司 An intelligent capacity-adjustable underground charging box transformer and charging method thereof

Cited By (3)

* Cited by examiner, † Cited by third party
Publication number Priority date Publication date Assignee Title
CN115091993A (en) * 2022-07-11 2022-09-23 山东雷风新能源科技有限公司 A charging pile that is anti-dumping and can be lifted and lowered for convenient installation and transportation
CN118336548A (en) * 2024-06-11 2024-07-12 江苏北辰互邦电力股份有限公司 An intelligent capacity-adjustable underground charging box transformer and charging method thereof
CN118336548B (en) * 2024-06-11 2024-09-06 江苏北辰互邦电力股份有限公司 An intelligent capacity-adjustable underground charging box transformer and charging method thereof

Similar Documents

Publication Publication Date Title
CN215398250U (en) Dustproof radiating electric pile that fills of intelligence
CN206423031U (en) A kind of charging pile heat radiation box structure
CN115339342A (en) Car fills electric pile with dehumidification cooling
CN107829381B (en) Fill electric pile device that possesses sharing parking stall lock function
CN213861916U (en) Novel electric automobile fills electric pile with monitoring function
CN213920722U (en) Movable residential area electric automobile intelligent charging stake
CN216413636U (en) Outdoor waterproof type electric-energy metering box with double-door structure
CN220483118U (en) Outdoor charging pile with rainproof structure for new energy automobile
CN215500264U (en) ETC switch board
CN216390146U (en) Power cabinet with fire early warning function
CN213831393U (en) An intelligent charging pile for electric bicycles with current detection function
CN211235975U (en) A power metering box with anti-stealing function
CN211731101U (en) A waterproof and dustproof split intelligent charging device for new energy electric vehicles
CN215883364U (en) A real-time monitoring device for charging and discharging of new energy vehicle charging piles
CN209896462U (en) Floor type double-side DC screen power cabinet
CN217145696U (en) Fill electric pile heat radiation structure
CN217863782U (en) Household new energy automobile charging pile
CN221315838U (en) Dustproof and moistureproof electric automobile fills electric pile
CN213649359U (en) New energy charging pile
CN215513292U (en) A new energy vehicle charging pile
CN112848944A (en) Mobile charging pile and using method thereof
CN219369902U (en) Fill electric pile stability detection device
CN220785476U (en) Dustproof electric pile that fills of heat dissipation
CN215812962U (en) Dormitory ammeter with remote upgrading function
CN220314751U (en) Charging pile cabinet air outlet

Legal Events

Date Code Title Description
GR01 Patent grant
GR01 Patent grant
CF01 Termination of patent right due to non-payment of annual fee

Granted publication date: 20220104

CF01 Termination of patent right due to non-payment of annual fee