CN215350646U - A kind of Wentong scraping and smoking device - Google Patents

A kind of Wentong scraping and smoking device Download PDF

Info

Publication number
CN215350646U
CN215350646U CN202120410763.9U CN202120410763U CN215350646U CN 215350646 U CN215350646 U CN 215350646U CN 202120410763 U CN202120410763 U CN 202120410763U CN 215350646 U CN215350646 U CN 215350646U
Authority
CN
China
Prior art keywords
scraping
cylinder
hole
wall
groove
Prior art date
Legal status (The legal status is an assumption and is not a legal conclusion. Google has not performed a legal analysis and makes no representation as to the accuracy of the status listed.)
Expired - Fee Related
Application number
CN202120410763.9U
Other languages
Chinese (zh)
Inventor
林田琼
罗翱翔
李巧萍
洪松
黄亦莲
Current Assignee (The listed assignees may be inaccurate. Google has not performed a legal analysis and makes no representation or warranty as to the accuracy of the list.)
Guangdong Pharmaceutical University
Original Assignee
Guangdong Pharmaceutical University
Priority date (The priority date is an assumption and is not a legal conclusion. Google has not performed a legal analysis and makes no representation as to the accuracy of the date listed.)
Filing date
Publication date
Application filed by Guangdong Pharmaceutical University filed Critical Guangdong Pharmaceutical University
Priority to CN202120410763.9U priority Critical patent/CN215350646U/en
Application granted granted Critical
Publication of CN215350646U publication Critical patent/CN215350646U/en
Expired - Fee Related legal-status Critical Current
Anticipated expiration legal-status Critical

Links

Images

Landscapes

  • Finger-Pressure Massage (AREA)

Abstract

本实用新型公开了一种温通刮痧吸烟装置,包括刮痧筒,刮痧筒的顶部到内部之间开设有通孔一,刮痧筒的内部顶面焊接有固定筒,固定筒的外壁开设有螺纹面,固定筒的内壁到外壁之间开设有通孔二,固定筒的下方设有底盖,底盖的顶部开设有螺纹槽一,螺纹面与螺纹槽一螺纹连接,底盖的外壁到螺纹槽之间开设有通孔三,刮痧筒的内壁且靠近刮痧筒底部的位置固定套接有封盖,封盖的顶部到底部之间开设有通孔四,通过固定筒和底盖可以是实现放置艾条,从而实现艾灸的功能,当刮痧出现烟雾时,通过海绵垫可以吸收从而过滤掉烟雾,降低了烟雾给给护理人员带来的不适,通过固定块的底部给患者进行刮痧,从而实现刮痧、艾灸一体的功效,实现了多功能。

Figure 202120410763

The utility model discloses a warm-pass scraping and smoking device, which comprises a scraping cylinder, a through hole is formed between the top of the scraping cylinder and the interior, a fixed cylinder is welded on the inner top surface of the scraping cylinder, and the outer wall of the fixed cylinder is provided with a threaded surface There is a second through hole between the inner wall and the outer wall of the fixing cylinder, a bottom cover is arranged under the fixing cylinder, and a thread groove 1 is opened on the top of the bottom cover. There is a through hole 3 between them, a cover is fixedly sleeved on the inner wall of the scraping cylinder and close to the bottom of the scraping cylinder, and a through hole 4 is opened between the top and the bottom of the cover, which can be placed through the fixed cylinder and the bottom cover. moxa sticks, so as to realize the function of moxibustion. When there is smoke in scraping, it can be absorbed by the sponge pad to filter out the smoke, reducing the discomfort caused by the smoke to the nursing staff, and scraping the patient through the bottom of the fixed block, so as to achieve The combined effect of scraping and moxibustion realizes multiple functions.

Figure 202120410763

Description

Temperature-sensitive skin scraping smoking device
Technical Field
The utility model relates to the technical field of a warming and dredging scraping smoking device, in particular to a warming and dredging scraping smoking device.
Background
The device of popular science with warm expert's popular practice for scraping therapy on the market generally can produce smog at the in-process of scraping therapy, and nursing staff can be found to smog to can bring the discomfort for nursing staff, and popular science with warm expert's popular science with scraping therapy device can only carry out the popular science with warm expert's popular science with scraping therapy and can't carry out the moxa-moxibustion function, single function.
SUMMERY OF THE UTILITY MODEL
The utility model aims to solve the defects in the prior art and provides a warming, dredging, scraping and smoking device.
In order to achieve the purpose, the utility model adopts the following technical scheme:
a warming and dredging scraping smoking device comprises a scraping cylinder, a first through hole is formed from the top to the inside of the scraping cylinder, a fixed cylinder is welded on the top surface of the inside of the scraping cylinder, a threaded surface is formed on the outer wall of the fixed cylinder, a second through hole is formed from the inner wall to the outer wall of the fixed cylinder, a bottom cover is arranged below the fixed cylinder, a first threaded groove is formed in the top of the bottom cover, the threaded surface is in threaded connection with the first threaded groove, a third through hole is formed from the outer wall of the bottom cover to the threaded groove, a sealing cover is fixedly sleeved on the inner wall of the scraping cylinder and close to the bottom of the scraping cylinder, a fourth through hole is formed from the top to the bottom of the sealing cover, a second threaded groove is formed in the bottom of the sealing cover, a fixed block is in threaded connection with the inner wall of the second threaded groove, a groove is formed in the top of the fixed block, and a sponge cushion is filled in the groove, and a fifth through hole is formed in the bottom of the fixing block.
Further, the shape and the size of the spongy cushion are matched with those of the groove.
Furthermore, the number of the second through hole, the third through hole, the fourth through hole, the fifth through hole and the first through hole is more than two.
Furthermore, the second through holes are uniformly distributed on all the surfaces of the fixed cylinder.
Furthermore, the scraping cylinder and the sealing cover are in transition connection.
Compared with the prior art, the utility model has the beneficial effects that:
the moxa stick can be placed through the fixed cylinder and the bottom cover, so that the function of moxibustion is realized, when smoke appears in scraping, the sponge pad can absorb smoke to filter the smoke, discomfort caused by the smoke to nursing staff is reduced, and scraping is performed on a patient through the bottom of the fixed block, so that the effect of scraping and moxibustion integration is realized, and multiple functions are realized.
Drawings
The accompanying drawings, which are included to provide a further understanding of the utility model and are incorporated in and constitute a part of this specification, illustrate embodiments of the utility model and together with the description serve to explain the principles of the utility model and not to limit the utility model.
Fig. 1 is a schematic view of a skin-warming and scraping smoking device according to the present invention;
fig. 2 is a top view of a popular scraping therapy smoking device according to the present invention;
fig. 3 is a cross-sectional view taken along line a-a in fig. 2 of a skin-scraping smoking device according to the present invention.
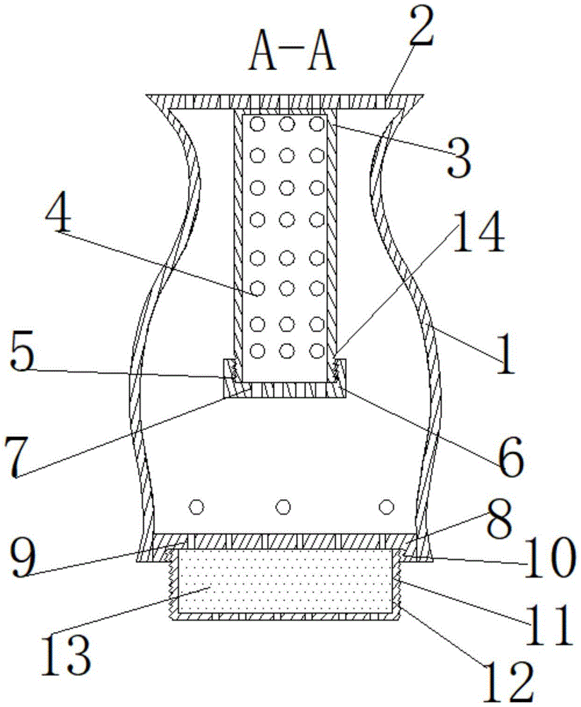
In the figure: the device comprises a scraping cylinder 1, a top cover 2, a fixing cylinder 3, a through hole II 4, a thread groove I5, a bottom cover 6, a through hole III 7, a sealing cover 8, a through hole IV 9, a thread groove II 10, a groove 11, a fixing block 12, a sponge cushion 13 and a thread surface 14.
Detailed Description
The technical solutions in the embodiments of the present invention will be clearly and completely described below with reference to the drawings in the embodiments of the present invention, and it is obvious that the described embodiments are only a part of the embodiments of the present invention, and not all of the embodiments.
In the description of the present invention, it is to be understood that the terms "upper", "lower", "front", "rear", "left", "right", "top", "bottom", "inner", "outer", and the like, indicate orientations or positional relationships based on the orientations or positional relationships shown in the drawings, are merely for convenience in describing the present invention and simplifying the description, and do not indicate or imply that the device or element being referred to must have a particular orientation, be constructed and operated in a particular orientation, and thus, should not be construed as limiting the present invention.
Referring to fig. 1-3, a temperature-sensitive skin scraping smoking device comprises a skin scraping cylinder 1, the skin scraping cylinder 1 and a sealing cover 8 are in transitional connection, a first through hole is formed between the top and the inside of the skin scraping cylinder 1, a fixed cylinder 3 is welded on the top surface of the inside of the skin scraping cylinder 1, moxa sticks can be placed through the fixed cylinder 3 and a bottom cover 6, so that the moxibustion function is realized, when smoke is generated in skin scraping, the smoke can be absorbed and filtered through a sponge pad 13, the discomfort of nursing personnel caused by the smoke is reduced, the skin scraping is performed on a patient through the bottom of a fixed block 12, so that the skin scraping and moxibustion are integrated, the multifunctional effect is realized, a threaded surface 14 is formed on the outer wall of the fixed cylinder 3, a second through hole 4 is formed between the inner wall and the outer wall of the fixed cylinder 3, the second through hole 4 is uniformly distributed on all surfaces of the fixed cylinder 3, the second through hole 4, the third through hole 7, the fourth through hole 9, the fourth through hole 4, the fourth through hole 4, and the fourth through hole 4, the fourth through hole, the fourth through hole, the fourth through hole, the fourth, Through-hole five, the quantity of through-hole one all is greater than two, the below of fixed cylinder 3 is equipped with bottom 6, thread groove one 5 has been seted up at the top of bottom 6, flank of thread 14 and thread groove one 5 threaded connection, through-hole three 7 has been seted up between the outer wall of bottom 6 to the thread groove, the inner wall of scraping a popular treatment for sunstroke treatment 1 and the rigidity that is close to scraping a popular treatment for sunstroke treatment 1 bottom have cup jointed closing cap 8, through-hole four 9 has been seted up between the top of closing cap 8 to the bottom, thread groove two 10 has been seted up to the bottom of closing cap 8, the inner wall threaded connection of thread groove two 10 has fixed block 12, the bottom of fixed block 12 is the same with current scraping a popular treatment for sunstroke treatment and human skin contact department, recess 11 has been seted up at the top of fixed block 12, the inside packing of recess 11 has foam-rubber cushion 13, the shape and the size phase-match of foam-rubber cushion 13, through-rubber cushion five has been seted up to the bottom of fixed block 12.
The working principle and the using process of the utility model are as follows: the moxa stick can be placed through the fixed cylinder 3 and the bottom cover 6, so that the moxibustion function is realized, when smoke is generated in scraping therapy, the sponge pad 13 can absorb the smoke to filter the smoke, discomfort caused by the smoke to nursing staff is reduced, and the scraping therapy is performed on a patient through the bottom of the fixed block 12, so that the effect of the integration of the scraping therapy and the moxibustion is realized, and the multifunction is realized.
The above description is only for the preferred embodiment of the present invention, but the scope of the present invention is not limited thereto, and any person skilled in the art should be considered to be within the technical scope of the present invention, and equivalent alternatives or modifications according to the technical solution of the present invention and the inventive concept thereof should be covered by the scope of the present invention.

Claims (5)

1. The utility model provides a temperature leads to popular treatment for sunstroke by scraping patient's neck, includes a section of thick bamboo (1) of scraping patient's neck, its characterized in that: the scraping therapy device is characterized in that a first through hole is formed from the top to the inside of the scraping therapy cylinder (1), a fixed cylinder (3) is welded on the top surface of the inside of the scraping therapy cylinder (1), a thread surface (14) is formed on the outer wall of the fixed cylinder (3), a second through hole (4) is formed from the inner wall to the outer wall of the fixed cylinder (3), a bottom cover (6) is arranged below the fixed cylinder (3), a first thread groove (5) is formed in the top of the bottom cover (6), the thread surface (14) is in threaded connection with the first thread groove (5), a third through hole (7) is formed from the outer wall to the thread groove of the bottom cover (6), a sealing cover (8) is fixedly sleeved on the inner wall of the scraping therapy cylinder (1) and is close to the bottom of the scraping therapy cylinder (1), a fourth through hole (9) is formed from the top to the bottom of the sealing cover (8), a second thread groove (10) is formed in the bottom of the sealing cover (8), the inner wall of the second threaded groove (10) is in threaded connection with a fixing block (12), the top of the fixing block (12) is provided with a groove (11), a sponge pad (13) is filled in the groove (11), and the bottom of the fixing block (12) is provided with a fifth through hole.
2. The device according to claim 1, wherein the device comprises:
the shape and the size of the spongy cushion (13) are matched with those of the groove (11).
3. The device according to claim 1, wherein the device comprises: the number of the through holes II (4), the number of the through holes III (7), the number of the through holes IV (9), the number of the through holes V and the number of the through holes I are all larger than two.
4. The device according to claim 1, wherein the device comprises: the second through holes (4) are uniformly distributed on all surfaces of the fixed cylinder (3).
5. The device according to claim 1, wherein the device comprises:
the scraping cylinder (1) and the sealing cover (8) are in transition connection.
CN202120410763.9U 2021-02-23 2021-02-23 A kind of Wentong scraping and smoking device Expired - Fee Related CN215350646U (en)

Priority Applications (1)

Application Number Priority Date Filing Date Title
CN202120410763.9U CN215350646U (en) 2021-02-23 2021-02-23 A kind of Wentong scraping and smoking device

Applications Claiming Priority (1)

Application Number Priority Date Filing Date Title
CN202120410763.9U CN215350646U (en) 2021-02-23 2021-02-23 A kind of Wentong scraping and smoking device

Publications (1)

Publication Number Publication Date
CN215350646U true CN215350646U (en) 2021-12-31

Family

ID=79623099

Family Applications (1)

Application Number Title Priority Date Filing Date
CN202120410763.9U Expired - Fee Related CN215350646U (en) 2021-02-23 2021-02-23 A kind of Wentong scraping and smoking device

Country Status (1)

Country Link
CN (1) CN215350646U (en)

Similar Documents

Publication Publication Date Title
CN215350646U (en) A kind of Wentong scraping and smoking device
CN205924305U (en) Intelligence heating nursing eye -shade
CN201316347Y (en) Face shield for applying face
CN108338909A (en) A kind of simple and practical cold compress and hot compress automatic nursing apparatus
CN206025879U (en) A massaging pillow
CN213218111U (en) Traditional chinese medicine hot compress device is used in gynaecology's nursing
CN204995643U (en) Medical neck spill ice bag
CN211382698U (en) Auxiliary device for acupuncture of fire needle therapy
CN212090204U (en) Skin cleaning device for treating skin diseases
CN218009206U (en) Multifunctional pillow beneficial to sleep
CN203841889U (en) Auxiliary hot water bag for breasts
CN221106215U (en) Buckwheat husk ice cap
CN215022323U (en) Cerebrovascular patient is with acupuncture moxa-moxibustion combination device
CN220833528U (en) A special pillow for endoscope
CN207270348U (en) A kind of Infectious Disease's dedicated stethoscope set
CN222397854U (en) Ear therapy pillow
CN221308844U (en) Moxibustion tool for ear
CN208404853U (en) A disposable perforated towel
CN210493885U (en) Bathing device for pediatric nursing
CN216933940U (en) Multifunctional scraping plate
CN214910505U (en) Traditional Chinese medicine electronic auxiliary acupuncture device for tumor treatment
CN206434417U (en) A kind of stethoscope receiver
CN208372285U (en) The twisting device of the twisting soak pad of cotion for being soaked with medical fluid
CN223627777U (en) Multifunctional head and face muscle-pulling scraping device
CN211536201U (en) traditional Chinese medicine health nap pillow

Legal Events

Date Code Title Description
GR01 Patent grant
GR01 Patent grant
CF01 Termination of patent right due to non-payment of annual fee

Granted publication date: 20211231

CF01 Termination of patent right due to non-payment of annual fee