CN215345656U - An electrical control cabinet with high safety performance for electrical automation engineering - Google Patents

An electrical control cabinet with high safety performance for electrical automation engineering Download PDF

Info

Publication number
CN215345656U
CN215345656U CN202121663476.5U CN202121663476U CN215345656U CN 215345656 U CN215345656 U CN 215345656U CN 202121663476 U CN202121663476 U CN 202121663476U CN 215345656 U CN215345656 U CN 215345656U
Authority
CN
China
Prior art keywords
control cabinet
electrical control
inner cavity
fixedly installed
cabinet body
Prior art date
Legal status (The legal status is an assumption and is not a legal conclusion. Google has not performed a legal analysis and makes no representation as to the accuracy of the status listed.)
Expired - Fee Related
Application number
CN202121663476.5U
Other languages
Chinese (zh)
Inventor
张兆金
Current Assignee (The listed assignees may be inaccurate. Google has not performed a legal analysis and makes no representation or warranty as to the accuracy of the list.)
Shanghai Tengxi Electric Technology Co ltd
Original Assignee
Shanghai Tengxi Electric Technology Co ltd
Priority date (The priority date is an assumption and is not a legal conclusion. Google has not performed a legal analysis and makes no representation as to the accuracy of the date listed.)
Filing date
Publication date
Application filed by Shanghai Tengxi Electric Technology Co ltd filed Critical Shanghai Tengxi Electric Technology Co ltd
Priority to CN202121663476.5U priority Critical patent/CN215345656U/en
Application granted granted Critical
Publication of CN215345656U publication Critical patent/CN215345656U/en
Expired - Fee Related legal-status Critical Current
Anticipated expiration legal-status Critical

Links

Images

Landscapes

  • Devices That Are Associated With Refrigeration Equipment (AREA)

Abstract

本实用新型公开了一种电气自动化工程用安全性能高的电气控制柜,包括底座和第二滤网,所述底座的顶部固定安装有电气控制柜本体,所述电气控制柜本体的顶部固定安装有制冷箱,所述制冷箱内腔的上下两侧均固定安装有卡座,所述卡座的内腔卡接有第一滤网,所述制冷箱内腔的上下两侧且位于第一滤网的左侧均固定安装有固定块,所述固定块的内表面开设有第一卡槽。本实用新型通过风机的输入端经过第一喇叭管将外界的空气吸入,然后风机的输出端将空气输送至制冷箱的内腔中,通过设置第一滤网,可以吸附空气中的灰尘,通过制冷棒对空气进行制冷,制冷后的空气通过散热管和第二喇叭管进入电气控制柜本体的内腔中进行散热。

Figure 202121663476

The utility model discloses an electrical control cabinet with high safety performance for electrical automation engineering, comprising a base and a second filter screen, an electrical control cabinet body is fixedly installed on the top of the base, and the top of the electrical control cabinet body is fixedly installed There is a refrigerating box, the upper and lower sides of the inner cavity of the refrigerating box are fixedly installed with a card seat, the inner cavity of the card seat is clamped with a first filter screen, and the upper and lower sides of the inner cavity of the refrigerating box are located in the first filter screen. A fixing block is fixedly installed on the left side of the filter screen, and the inner surface of the fixing block is provided with a first card slot. The utility model sucks the air from the outside through the first horn tube through the input end of the fan, and then the output end of the fan transports the air into the inner cavity of the refrigerating box. The refrigerating rod refrigerates the air, and the refrigerated air enters the inner cavity of the electrical control cabinet body through the radiating pipe and the second horn pipe for heat dissipation.

Figure 202121663476

Description

Electrical automation engineering is with electrical control cabinet that security performance is high
Technical Field
The utility model relates to the technical field of electrical engineering, in particular to an electrical control cabinet with high safety performance for electrical automation engineering.
Background
Electrical engineering, which is a core subject and a key subject in the modern science and technology field, the traditional electrical engineering is defined as the sum of related subjects for creating electrical and electronic systems, and the definition is originally very broad, but with the rapid development of scientific technology, the current electrical engineering concept is far beyond the scope of the definition, and the information era based on computer networks is promoted just by the huge progress of electronic technology, and various aspects including human life and working modes are changed, the electrical engineering subject of the american university, which is also called an electrical engineering system, an electrical engineering and information department, an electrical engineering and computer department, and the like, mainly takes computers and information technology as research direction and key points, and an electrical control cabinet is needed in electrical automation engineering, but the existing electrical control cabinet has an unsatisfactory heat dissipation effect, resulting in poor safety performance, often the switch board has the potential safety hazard because of high temperature leads to the short circuit or the burning easily after long-time use, consequently not convenient to use by people.
SUMMERY OF THE UTILITY MODEL
Aiming at the defects of the prior art, the utility model provides the electrical control cabinet with high safety performance for the electrical automation engineering, which has the advantage of high safety performance and solves the problems of poor safety performance and inconvenience for people due to the fact that the existing electrical control cabinet is not ideal in heat dissipation effect.
In order to achieve the purpose, the utility model provides the following technical scheme: an electrical control cabinet with high safety performance for electrical automation engineering comprises a base and a second filter screen, wherein an electrical control cabinet body is fixedly installed at the top of the base, a refrigeration box is fixedly installed at the top of the electrical control cabinet body, clamping seats are fixedly installed on the upper side and the lower side of the inner cavity of the refrigeration box, a first filter screen is clamped in the inner cavity of each clamping seat, fixed blocks are fixedly installed on the upper side and the lower side of the inner cavity of the refrigeration box and positioned on the left side of the first filter screen, first clamping grooves are formed in the inner surface of each fixed block, refrigeration rods are clamped in the inner cavities of the first clamping grooves, a fan is fixedly installed at the top of the electrical control cabinet body and positioned on the right side of the refrigeration box, the output end of the fan penetrates into the inner cavity of the refrigeration box, a first horn tube is fixedly installed at the input end of the fan, the left side of the refrigeration box is communicated with a radiating tube, and a second horn tube is fixedly installed at one end far away from the radiating tube, a plurality of radiating holes which are distributed equidistantly and have the same size are formed in the right side of the inner cavity of the electrical control cabinet body, second clamping grooves are formed in the upper side and the lower side of the right side of the inner cavity of the electrical control cabinet body, clamping blocks are fixedly mounted on the upper side and the lower side of the right side of the second filter screen, and the right sides of the clamping blocks are clamped in the inner cavity of the second clamping grooves.
Preferably, the left middle end of the electric control cabinet body is provided with a reserved groove, and one end, far away from the refrigeration box, of the radiating pipe penetrates through the inner cavity of the reserved groove and extends into the inner cavity of the electric control cabinet body.
Preferably, the front side and the rear side of the top of the refrigeration box are fixedly provided with supporting rods, and the top of each supporting rod is fixedly provided with a rain baffle.
Preferably, the left and right sides of the inner surface of the base are in threaded connection with foundation screws, and the bottoms of the foundation screws penetrate through the inner surface of the base and extend to the bottom of the base.
Preferably, the front side of electrical control cabinet body has the cabinet door through hinge movable mounting, the front side of refrigeration case has the chamber door through hinge movable mounting.
Preferably, the fixing rod is fixedly installed at the top of the left side of the electric control cabinet body, and the left side of the fixing rod is fixedly installed at the inner side of the radiating pipe.
Compared with the prior art, the utility model provides an electrical control cabinet with high safety performance for electrical automation engineering, which has the following beneficial effects:
1. according to the utility model, the input end of the fan sucks external air through the first flared tube, then the output end of the fan conveys the air into the inner cavity of the refrigeration box, the first filter screen is arranged, dust in the air can be adsorbed, the air is refrigerated through the refrigeration rod, the refrigerated air enters the inner cavity of the electric control cabinet body through the radiating tube and the second flared tube for radiating, and through the matching of the structures, the problems that the radiating effect of the existing electric control cabinet is not ideal, the safety performance is poor and the use is inconvenient are solved.
2. According to the electric control cabinet, the second filter screen is arranged, dust can be prevented from entering the inner cavity of the electric control cabinet body through the heat dissipation holes, the rain-proof effect can be achieved through the rain baffle, and the heat dissipation pipe can be prevented from falling off through the fixing rod.
Drawings
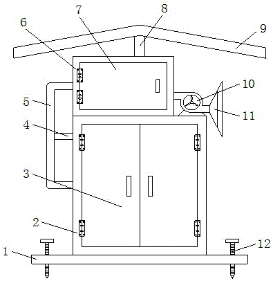
FIG. 1 is a schematic structural view of the present invention;
FIG. 2 is a schematic cross-sectional view of the present invention;
FIG. 3 is an enlarged schematic view of the structure at A of the present invention.
In the figure: 1. a base; 2. an electrical control cabinet body; 3. a cabinet door; 4. fixing the rod; 5. a radiating pipe; 6. a refrigeration case; 7. a box door; 8. a support bar; 9. a rain shield; 10. a fan; 11. a first flare; 12. a foundation screw; 13. reserving a groove; 14. a second flare; 15. a fixed block; 16. a first card slot; 17. a refrigeration stick; 18. a card holder; 19. a first filter screen; 20. a second filter screen; 21. a clamping block; 22. a second card slot; 23. and (4) heat dissipation holes.
Detailed Description
The technical solutions in the embodiments of the present invention will be clearly and completely described below with reference to the drawings in the embodiments of the present invention, and it is obvious that the described embodiments are only a part of the embodiments of the present invention, and not all of the embodiments. All other embodiments, which can be derived by a person skilled in the art from the embodiments given herein without making any creative effort, shall fall within the protection scope of the present invention.
In the description of the present invention, it should be noted that the terms "upper", "lower", "inner", "outer", "front", "rear", "both ends", "one end", "the other end", and the like indicate orientations or positional relationships based on the orientations or positional relationships shown in the drawings, and are only for convenience of describing the present invention and simplifying the description, but do not indicate or imply that the referred device or element must have a specific orientation, be constructed in a specific orientation, and be operated, and thus, should not be construed as limiting the present invention. Furthermore, the terms "first" and "second" are used for descriptive purposes only and are not to be construed as indicating or implying relative importance.
In the description of the present invention, it is to be noted that, unless otherwise explicitly specified or limited, the terms "mounted", "provided", "connected", and the like are to be construed broadly, such as "connected", which may be fixedly connected, detachably connected, or integrally connected; can be mechanically or electrically connected; they may be connected directly or indirectly through intervening media, or they may be interconnected between two elements. The specific meanings of the above terms in the present invention can be understood in specific cases to those skilled in the art.
The base 1, the electrical control cabinet body 2, the cabinet door 3, the fixing rod 4, the radiating pipe 5, the refrigeration box 6, the cabinet door 7, the supporting rod 8, the rain baffle 9, the fan 10, the first flared pipe 11, the anchor screw 12, the preformed groove 13, the second flared pipe 14, the fixing block 15, the first clamping groove 16, the refrigeration rod 17, the clamping seat 18, the first filter screen 19, the second filter screen 20, the clamping block 21, the second clamping groove 22 and the radiating hole 23 are all universal standard parts or parts known by technicians in the field, and the structure and principle of the utility model can be known by technicians or conventional experimental methods.
Referring to fig. 1-3, an electrical control cabinet with high safety performance for electrical automation engineering comprises a base 1 and a second filter screen 20, wherein the left side and the right side of the inner surface of the base 1 are in threaded connection with ground screws 12, the bottoms of the ground screws 12 penetrate through the inner surface of the base 1 and extend to the bottom of the base 1, an electrical control cabinet body 2 is fixedly installed at the top of the base 1, a refrigeration box 6 is fixedly installed at the top of the electrical control cabinet body 2, support rods 8 are fixedly installed at the front side and the rear side of the top of the refrigeration box 6, a rain shield 9 is fixedly installed at the top of the support rods 8, a rainproof effect can be achieved by arranging the rain shield 9, a cabinet door 3 is movably installed at the front side of the electrical control cabinet body 2 through a hinge, a cabinet door 7 is movably installed at the front side of the refrigeration box 6 through a hinge, and clamping seats 18 are fixedly installed at the upper side and the lower side of the inner cavity of the refrigeration box 6, a first filter screen 19 is clamped in an inner cavity of the clamping seat 18, fixed blocks 15 are fixedly arranged on the upper side and the lower side of an inner cavity of the refrigeration box 6 and on the left side of the first filter screen 19, a first clamping groove 16 is formed in the inner surface of each fixed block 15, a refrigeration rod 17 is clamped in the inner cavity of each first clamping groove 16, a fan 10 is fixedly arranged on the top of the electric control cabinet body 2 and on the right side of the refrigeration box 6, an output end of the fan 10 penetrates into the inner cavity of the refrigeration box 6, a first horn tube 11 is fixedly arranged at an input end of the fan 10, a radiating tube 5 is communicated with the left side of the refrigeration box 6, a second horn tube 14 is fixedly arranged at one end, away from the refrigeration box 6, of the radiating tube 5, a reserved groove 13 is formed in the middle end of the left side of the electric control cabinet body 2, one end, away from the refrigeration box 6, of the radiating tube 5 penetrates through the inner cavity of the reserved groove 13 and extends into the inner cavity of the electric control cabinet body 2, a fixed rod 4 is fixedly arranged on the top of the left side of the electric control cabinet body 2, and the left side fixed mounting of dead lever 4 is in the inboard of cooling tube 5, through setting up dead lever 4, can avoid cooling tube 5 to drop, a plurality of equidistance distribute and the same louvre 23 of size have been seted up on the right side of 2 inner chambers of electrical control cabinet body, second draw-in groove 22 has all been seted up to the upper and lower both sides on 2 inner chambers of electrical control cabinet body right sides, the equal fixed mounting in upper and lower both sides on second filter screen 20 right side has fixture block 21, and the right side joint of fixture block 21 is in the inner chamber of second draw-in groove 22, through setting up second filter screen 20, can avoid the dust to pass through louvre 23 and get into in the inner chamber of electrical control cabinet body 2.
When using, start fan 10 through external controller, the input through fan 10 inhales external air through first horn pipe 11, then fan 10's output with air transportation to the inner chamber of refrigeration case 6, through setting up first filter screen 19, dust in the adsorbable air, refrigerate the air through refrigeration stick 17, the air after the refrigeration dispels the heat in the inner chamber that cooling tube 5 and second horn pipe 14 got into electrical control cabinet body 2, cooperation through above structure, it is not ideal to have solved current electrical control cabinet radiating effect, lead to the security performance relatively poor, the problem of people's use of being not convenient for (external controller is the PLC controller in this application, and simultaneously, two wiring ends of external controller are connected with power plug through the wire, and adopt the commercial power to supply power in this application).
While embodiments of the present invention have been shown and described, it will be apparent to those skilled in the art that various modifications and changes may be made in the present invention. Any modification, equivalent replacement, improvement, etc. made within the spirit and principle of the present invention should be included in the scope of the claims of the present invention.

Claims (6)

1.一种电气自动化工程用安全性能高的电气控制柜,包括底座(1)和第二滤网(20),其特征在于:所述底座(1)的顶部固定安装有电气控制柜本体(2),所述电气控制柜本体(2)的顶部固定安装有制冷箱(6),所述制冷箱(6)内腔的上下两侧均固定安装有卡座(18),所述卡座(18)的内腔卡接有第一滤网(19),所述制冷箱(6)内腔的上下两侧且位于第一滤网(19)的左侧均固定安装有固定块(15),所述固定块(15)的内表面开设有第一卡槽(16),所述第一卡槽(16)的内腔卡接有制冷棒(17),所述电气控制柜本体(2)的顶部且位于制冷箱(6)的右侧固定安装有风机(10),且风机(10)的输出端贯穿至制冷箱(6)的内腔中,所述风机(10)的输入端固定安装有第一喇叭管(11),所述制冷箱(6)的左侧连通有散热管(5),且散热管(5)远离制冷箱(6)的一端固定安装有第二喇叭管(14),所述电气控制柜本体(2)内腔的右侧开设有多个等距分布且大小相同的散热孔(23),所述电气控制柜本体(2)内腔右侧的上下两侧均开设有第二卡槽(22),所述第二滤网(20)右侧的上下两侧均固定安装有卡块(21),且卡块(21)的右侧卡接于第二卡槽(22)的内腔中。1. An electrical control cabinet with high safety performance for electrical automation engineering, comprising a base (1) and a second filter screen (20), characterized in that: an electrical control cabinet body ( 2), a refrigeration box (6) is fixedly installed on the top of the electrical control cabinet body (2), and a card seat (18) is fixedly installed on the upper and lower sides of the inner cavity of the refrigeration box (6). The inner cavity of (18) is clamped with a first filter screen (19), and a fixing block (15) is fixedly installed on the upper and lower sides of the inner cavity of the refrigeration box (6) and on the left side of the first filter screen (19). ), the inner surface of the fixing block (15) is provided with a first clamping slot (16), the inner cavity of the first clamping slot (16) is clamped with a refrigeration rod (17), and the electrical control cabinet body ( 2) A fan (10) is fixedly installed on the top of the refrigerating box (6) and on the right side, and the output end of the fan (10) penetrates into the inner cavity of the refrigerating box (6). The input of the fan (10) A first horn tube (11) is fixedly installed at the end, a heat dissipation pipe (5) is connected to the left side of the refrigeration box (6), and a second horn is fixedly installed at one end of the heat dissipation pipe (5) away from the refrigeration box (6). Pipe (14), the right side of the inner cavity of the electrical control cabinet body (2) is provided with a plurality of equidistantly distributed heat dissipation holes (23) of the same size, and the right side of the inner cavity of the electrical control cabinet body (2) The upper and lower sides are provided with second clamping slots (22), and the upper and lower sides of the right side of the second filter screen (20) are fixedly installed with clamping blocks (21), and the right side of the clamping block (21) is clamped. in the inner cavity of the second card slot (22). 2.根据权利要求1所述的一种电气自动化工程用安全性能高的电气控制柜,其特征在于:所述电气控制柜本体(2)左侧的中端开设有预留槽(13),所述散热管(5)远离制冷箱(6)的一端贯穿预留槽(13)的内腔并延伸至电气控制柜本体(2)的内腔中。2. An electrical control cabinet with high safety performance for electrical automation engineering according to claim 1, characterized in that: a reserved slot (13) is provided in the middle end of the left side of the electrical control cabinet body (2), One end of the heat dissipation pipe (5) away from the refrigeration box (6) penetrates the inner cavity of the reserved groove (13) and extends into the inner cavity of the electrical control cabinet body (2). 3.根据权利要求1所述的一种电气自动化工程用安全性能高的电气控制柜,其特征在于:所述制冷箱(6)顶部的前后两侧均固定安装有支撑杆(8),所述支撑杆(8)的顶部固定安装有挡雨板(9)。3. An electrical control cabinet with high safety performance for electrical automation engineering according to claim 1, characterized in that: the front and rear sides of the top of the refrigeration box (6) are fixedly installed with support rods (8), so A rain shield (9) is fixedly installed on the top of the support rod (8). 4.根据权利要求1所述的一种电气自动化工程用安全性能高的电气控制柜,其特征在于:所述底座(1)内表面的左右两侧均螺纹连接有地脚螺丝(12),且地脚螺丝(12)的底部贯穿底座(1)的内表面并延伸至底座(1)的底部。4. An electrical control cabinet with high safety performance for electrical automation engineering according to claim 1, characterized in that: the left and right sides of the inner surface of the base (1) are threadedly connected with anchor screws (12), And the bottom of the anchor screw (12) penetrates through the inner surface of the base (1) and extends to the bottom of the base (1). 5.根据权利要求1所述的一种电气自动化工程用安全性能高的电气控制柜,其特征在于:所述电气控制柜本体(2)的前侧通过合页活动安装有柜门(3),所述制冷箱(6)的前侧通过合页活动安装有箱门(7)。5. An electrical control cabinet with high safety performance for electrical automation engineering according to claim 1, characterized in that a cabinet door (3) is movably installed on the front side of the electrical control cabinet body (2) through hinges , the front side of the refrigeration box (6) is movably installed with a box door (7) through hinges. 6.根据权利要求1所述的一种电气自动化工程用安全性能高的电气控制柜,其特征在于:所述电气控制柜本体(2)左侧的顶部固定安装有固定杆(4),且固定杆(4)的左侧固定安装于散热管(5)的内侧。6. An electrical control cabinet with high safety performance for electrical automation engineering according to claim 1, characterized in that: a fixing rod (4) is fixedly installed on the top of the left side of the electrical control cabinet body (2), and The left side of the fixing rod (4) is fixedly installed on the inner side of the cooling pipe (5).
CN202121663476.5U 2021-07-21 2021-07-21 An electrical control cabinet with high safety performance for electrical automation engineering Expired - Fee Related CN215345656U (en)

Priority Applications (1)

Application Number Priority Date Filing Date Title
CN202121663476.5U CN215345656U (en) 2021-07-21 2021-07-21 An electrical control cabinet with high safety performance for electrical automation engineering

Applications Claiming Priority (1)

Application Number Priority Date Filing Date Title
CN202121663476.5U CN215345656U (en) 2021-07-21 2021-07-21 An electrical control cabinet with high safety performance for electrical automation engineering

Publications (1)

Publication Number Publication Date
CN215345656U true CN215345656U (en) 2021-12-28

Family

ID=79569002

Family Applications (1)

Application Number Title Priority Date Filing Date
CN202121663476.5U Expired - Fee Related CN215345656U (en) 2021-07-21 2021-07-21 An electrical control cabinet with high safety performance for electrical automation engineering

Country Status (1)

Country Link
CN (1) CN215345656U (en)

Similar Documents

Publication Publication Date Title
CN215771353U (en) Drawer type multilayer power battery cabinet
CN215345656U (en) An electrical control cabinet with high safety performance for electrical automation engineering
CN210326637U (en) Lighting distribution box
CN210444231U (en) A power amplifier with good heat dissipation
CN216530434U (en) Bus duct easy to radiate heat
CN212064614U (en) Wall-mounted electric appliance control cabinet not easy to fall off
CN207235316U (en) A kind of multi-action computer network equipment storage cabinet
CN210424736U (en) LED ceiling lamp with good heat dissipation performance
CN215682114U (en) Step-down switching power supply based on triode parallel structure
CN210297753U (en) Intelligent network risk information filter
CN219395396U (en) DTU terminal equipment supporting high frequency data acquisition
CN209625118U (en) An embedded computer motherboard structure
CN223859136U (en) A tri-band radio frequency receiver module
CN110972452A (en) An all-pass communication filter structure
CN220139061U (en) Closed power distribution cabinet utilizing inert gas circulation heat dissipation
CN218678659U (en) An electric control integrated motor
CN217984162U (en) Low-voltage power distribution cabinet equipment with adjustable inner space
CN211743988U (en) Closed intensive waterproof bus duct
CN214592614U (en) A communication management machine with heat dissipation structure
CN212321694U (en) Electric power management user external ammeter case
CN223729260U (en) Control equipment for power distribution cabinet
CN218072147U (en) Intelligence chicken coop management is with indoor air quality monitoring adjusting device
CN222655022U (en) Heat radiation structure for electric converter
CN212013405U (en) Information security monitoring device heat abstractor
CN215570888U (en) High-heat-regeneration-efficiency semiconductor dehumidifier

Legal Events

Date Code Title Description
GR01 Patent grant
GR01 Patent grant
CF01 Termination of patent right due to non-payment of annual fee
CF01 Termination of patent right due to non-payment of annual fee

Granted publication date: 20211228