CN215331909U - 一种道路桥梁施工用安全防护围栏 - Google Patents

一种道路桥梁施工用安全防护围栏 Download PDF

Info

Publication number
CN215331909U
CN215331909U CN202121411546.8U CN202121411546U CN215331909U CN 215331909 U CN215331909 U CN 215331909U CN 202121411546 U CN202121411546 U CN 202121411546U CN 215331909 U CN215331909 U CN 215331909U
Authority
CN
China
Prior art keywords
rods
sliding
blocks
road
rotating
Prior art date
Legal status (The legal status is an assumption and is not a legal conclusion. Google has not performed a legal analysis and makes no representation as to the accuracy of the status listed.)
Expired - Fee Related
Application number
CN202121411546.8U
Other languages
English (en)
Inventor
焦凯明
Current Assignee (The listed assignees may be inaccurate. Google has not performed a legal analysis and makes no representation or warranty as to the accuracy of the list.)
Individual
Original Assignee
Individual
Priority date (The priority date is an assumption and is not a legal conclusion. Google has not performed a legal analysis and makes no representation as to the accuracy of the date listed.)
Filing date
Publication date
Application filed by Individual filed Critical Individual
Priority to CN202121411546.8U priority Critical patent/CN215331909U/zh
Application granted granted Critical
Publication of CN215331909U publication Critical patent/CN215331909U/zh
Expired - Fee Related legal-status Critical Current
Anticipated expiration legal-status Critical

Links

Images

Landscapes

  • Refuge Islands, Traffic Blockers, Or Guard Fence (AREA)

Abstract

本实用新型属于防护栏技术领域,尤其是一种道路桥梁施工用安全防护围栏,针对现有的防护栏在移动时,大多是采用人工搬运,加大了工作人员的劳动强度,且在存放时,占用空间较大的问题,现提出如下方案,其包括主支撑柱,所述主支撑柱的两侧均固定设置有伸缩杆,两个伸缩杆上均固定连接有次支撑柱,所述主支撑柱内开设有内腔,所述内腔内固定设置有电机,所述电机的输出轴上连接有延伸机构,所述延伸机构包括两个转轮、皮带、两个螺杆、两个滑动块、两个第一连接杆、两个第二连接杆、两个连接块,本实用新型在需要移动时,不需要工作人员人工搬动,减少工作人员的劳动强度,且存放时,占用空间小,方便使用。

Description

一种道路桥梁施工用安全防护围栏
技术领域
本实用新型涉及防护栏技术领域,尤其涉及一种道路桥梁施工用安全防护围栏。
背景技术
近年来,城镇化建设步伐不断加快,各个乡镇都在建造房屋、铺修道路,从而对道路施工用的设备需求有着极大的提高,防护栏是道路施工必不可少的工具之一,它能够很好的隔绝来往的车辆,确保施工环境的安全,也可保障车辆行驶的安全,在使用时,会随着道路的维修而移动。
现有的防护栏在移动时,大多是采用人工搬运,加大了工作人员的劳动强度,且在存放时,占用空间较大。
实用新型内容
本实用新型的目的是为了解决现有的防护栏在移动时,大多是采用人工搬运,加大了工作人员的劳动强度,且在存放时,占用空间较大的缺点,而提出的一种道路桥梁施工用安全防护围栏。
为了实现上述目的,本实用新型采用了如下技术方案:
一种道路桥梁施工用安全防护围栏,包括主支撑柱,所述主支撑柱的两侧均固定设置有伸缩杆,两个伸缩杆上均固定连接有次支撑柱,且两个次支撑柱均为中空结构,所述主支撑柱内开设有内腔,所述内腔内固定设置有电机,所述电机的输出轴上连接有延伸机构,所述延伸机构包括两个转轮、皮带、两个螺杆、两个滑动块、两个第一连接杆、两个第二连接杆、两个连接块,两个转轮中的一个转轮与电机的输出轴固定连接,两个转轮中的另一个转轮转动设置在内腔内,两个转轮的外侧与同一个皮带传动连接,两个转轮与两个螺杆固定连接,两个滑动块与两个螺杆螺纹连接,两个滑动块与同一个内腔滑动连接,两个第一连接杆的一端与两个滑动块转动连接,两个第一连接杆的另一端与两个次支撑柱转动连接,两个第二连接杆的一端与主支撑柱转动连接,两个第二连接杆的另一端与两个连接块转动连接,两个第一连接杆分别与两个第二连接杆转动连接,两个连接块滑动设置在两个次支撑柱内,所述次支撑柱内设置有伸缩机构。
优选的,所述伸缩机构包括滑动柱、两个转动杆、两个支撑腿,两个所述转动杆与同一个滑动柱转动连接,两个转动杆与两个支撑腿转动连接,两个支撑腿与同一个次支撑柱滑动连接,且伸缩机构有两个,两个所述机构设置在两个次支撑柱内,两个伸缩机构内的两个滑动柱与两个连接块固定连接。
优选的,两个所述次支撑柱上均设置有滚轮,两个滚轮上均转动连接有安装块,两个安装块上固定设置有两个滑动板。
优选的,两个次支撑柱上均转动安装有丝杆,两个丝杆与两个滑动板螺纹连接,两个滑动板与两个次支撑柱滑动连接。
与现有技术相比,本实用新型的优点在于:
(1)本方案由于设置了转轮、皮带、螺杆、滑动块、第一连接杆、第二连接杆和连接块的相互配合,能在使用时将防护栏展开,并在不使用时使防护栏重新闭合,节约存放空间,方便使用。
(2)本方案由于设置了滑动柱、转动杆和支撑腿的相互配合,能在防护栏展开时扩大支撑腿的伸出长度,提高稳定性,实用性强。
(3)本方案由于设置了滚轮、安装块、滑动板和丝杆的相互配合,能随时使滚轮缩回或伸出次支撑柱,方便移动。
本实用新型在需要移动时,不需要工作人员人工搬动,减少工作人员的劳动强度,且存放时,占用空间小,方便使用。
附图说明
图1为本实用新型提出的一种道路桥梁施工用安全防护围栏的立体结构示意图;
图2为本实用新型提出的一种道路桥梁施工用安全防护围栏的正视结构示意图;
图3为本实用新型提出的一种道路桥梁施工用安全防护围栏的侧视结构示意图。
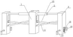
图中:1、主支撑柱;2、伸缩杆;3、次支撑柱;4、内腔;5、电机;6、转轮;7、皮带;8、螺杆;9、滑动块;10、第一连接杆;11、第二连接杆;12、连接块;13、滑动柱;14、转动杆;15、支撑腿;16、滚轮;17、安装块;18、滑动板;19、丝杆。
具体实施方式
下面将结合本实施例中的附图,对本实施例中的技术方案进行清楚、完整地描述,显然,所描述的实施例仅仅是本实施例一部分实施例,而不是全部的实施例。
参照图1-3,一种道路桥梁施工用安全防护围栏,包括主支撑柱1,主支撑柱1的两侧均固定设置有伸缩杆2,两个伸缩杆2上均固定连接有次支撑柱3,且两个次支撑柱3均为中空结构,主支撑柱1内开设有内腔4,内腔4内固定设置有电机5,电机5的输出轴上连接有延伸机构,延伸机构包括两个转轮6、皮带7、两个螺杆8、两个滑动块9、两个第一连接杆10、两个第二连接杆11、两个连接块12,两个转轮6中的一个转轮6与电机5的输出轴固定连接,两个转轮6中的另一个转轮6转动设置在内腔4内,两个转轮6的外侧与同一个皮带7传动连接,两个转轮6与两个螺杆8固定连接,两个滑动块9与两个螺杆8螺纹连接,两个滑动块9与同一个内腔4滑动连接,两个第一连接杆10的一端与两个滑动块9转动连接,两个第一连接杆10的另一端与两个次支撑柱3转动连接,两个第二连接杆11的一端与主支撑柱1转动连接,两个第二连接杆11的另一端与两个连接块12转动连接,两个第一连接杆10分别与两个第二连接杆11转动连接,两个连接块12滑动设置在两个次支撑柱3内,次支撑柱3内设置有伸缩机构。
本实施例中,伸缩机构包括滑动柱13、两个转动杆14、两个支撑腿15,两个转动杆14与同一个滑动柱13转动连接,两个转动杆14与两个支撑腿15转动连接,两个支撑腿15与同一个次支撑柱3滑动连接,且伸缩机构有两个,两个机构设置在两个次支撑柱3内,两个伸缩机构内的两个滑动柱13与两个连接块12固定连接。
本实施例中,两个次支撑柱3上均设置有滚轮16,两个滚轮16上均转动连接有安装块17,两个安装块17上固定设置有两个滑动板18。
本实施例中,两个次支撑柱3上均转动安装有丝杆19,两个丝杆19与两个滑动板18螺纹连接,两个滑动板18与两个次支撑柱3滑动连接。
本实施例中,使用时,启动电机5,电机5通过两个转轮6和一个皮带7带动两个螺杆8转动,两个螺杆8上的螺纹牙转向相反,从而使两个螺杆8带动两个滑动块9向下滑动,两个滑动块9下滑时带动两个第一连接杆10发生转动,而两个第一连接杆10的一端转动设置在两个次支撑柱3上,进而使两个次支撑柱3移动,且两个次支撑柱3移动的方向相反,实现延伸效果,将防护栏打开,两个次支撑柱3延伸时,两个连接块12会向下滑动,此时连接块12带动伸缩机构进行运动,连接块12带动滑动柱13向下滑动,滑动柱13挤压两个转动杆14,使两个转动杆14发生转动,从而使两个转动杆14带动两个支撑腿15伸出,而伸缩机构有两个,进而能同时使两个伸缩机构内的支撑腿15同时伸出,加强防护栏的稳定,当防护栏完全打开时,工作人员转动两个丝杆19,两个丝杆19通过两个滑动板18、两个安装块17将两个滚轮16缩回两个次支撑柱3内,避免使用时滚轮16发生移动,使用完毕或需要移动防护栏时,只需通过上述传动的逆向传动,使两个滚轮16重新与地面接触,并反转启动电机5使防护栏闭合,随后直接推动防护栏即可,方便使用。
以上所述,仅为本实施例较佳的具体实施方式,但本实施例的保护范围并不局限于此,任何熟悉本技术领域的技术人员在本实施例揭露的技术范围内,根据本实施例的技术方案及其实用新型构思加以等同替换或改变,都应涵盖在本实施例的保护范围之内。

Claims (4)

1.一种道路桥梁施工用安全防护围栏,包括主支撑柱(1),其特征在于,所述主支撑柱(1)的两侧均固定设置有伸缩杆(2),两个伸缩杆(2)上均固定连接有次支撑柱(3),且两个次支撑柱(3)均为中空结构,所述主支撑柱(1)内开设有内腔(4),所述内腔(4)内固定设置有电机(5),所述电机(5)的输出轴上连接有延伸机构;
所述延伸机构包括两个转轮(6)、皮带(7)、两个螺杆(8)、两个滑动块(9)、两个第一连接杆(10)、两个第二连接杆(11)、两个连接块(12),两个转轮(6)中的一个转轮(6)与电机(5)的输出轴固定连接,两个转轮(6)中的另一个转轮(6)转动设置在内腔(4)内,两个转轮(6)的外侧与同一个皮带(7)传动连接,两个转轮(6)与两个螺杆(8)固定连接,两个滑动块(9)与两个螺杆(8)螺纹连接,两个滑动块(9)与同一个内腔(4)滑动连接,两个第一连接杆(10)的一端与两个滑动块(9)转动连接,两个第一连接杆(10)的另一端与两个次支撑柱(3)转动连接,两个第二连接杆(11)的一端与主支撑柱(1)转动连接,两个第二连接杆(11)的另一端与两个连接块(12)转动连接,两个第一连接杆(10)分别与两个第二连接杆(11)转动连接,两个连接块(12)滑动设置在两个次支撑柱(3)内,所述次支撑柱(3)内设置有伸缩机构。
2.根据权利要求1所述的一种道路桥梁施工用安全防护围栏,其特征在于,所述伸缩机构包括滑动柱(13)、两个转动杆(14)、两个支撑腿(15),两个所述转动杆(14)与同一个滑动柱(13)转动连接,两个转动杆(14)与两个支撑腿(15)转动连接,两个支撑腿(15)与同一个次支撑柱(3)滑动连接,且伸缩机构有两个,两个所述机构设置在两个次支撑柱(3)内,两个伸缩机构内的两个滑动柱(13)与两个连接块(12)固定连接。
3.根据权利要求1所述的一种道路桥梁施工用安全防护围栏,其特征在于,两个所述次支撑柱(3)上均设置有滚轮(16),两个滚轮(16)上均转动连接有安装块(17),两个安装块(17)上固定设置有两个滑动板(18)。
4.根据权利要求3所述的一种道路桥梁施工用安全防护围栏,其特征在于,两个次支撑柱(3)上均转动安装有丝杆(19),两个丝杆(19)与两个滑动板(18)螺纹连接,两个滑动板(18)与两个次支撑柱(3)滑动连接。
CN202121411546.8U 2021-06-24 2021-06-24 一种道路桥梁施工用安全防护围栏 Expired - Fee Related CN215331909U (zh)

Priority Applications (1)

Application Number Priority Date Filing Date Title
CN202121411546.8U CN215331909U (zh) 2021-06-24 2021-06-24 一种道路桥梁施工用安全防护围栏

Applications Claiming Priority (1)

Application Number Priority Date Filing Date Title
CN202121411546.8U CN215331909U (zh) 2021-06-24 2021-06-24 一种道路桥梁施工用安全防护围栏

Publications (1)

Publication Number Publication Date
CN215331909U true CN215331909U (zh) 2021-12-28

Family

ID=79561178

Family Applications (1)

Application Number Title Priority Date Filing Date
CN202121411546.8U Expired - Fee Related CN215331909U (zh) 2021-06-24 2021-06-24 一种道路桥梁施工用安全防护围栏

Country Status (1)

Country Link
CN (1) CN215331909U (zh)

Cited By (1)

* Cited by examiner, † Cited by third party
Publication number Priority date Publication date Assignee Title
CN114856306A (zh) * 2022-05-23 2022-08-05 江西经匠建设有限公司 一种市政道路桥梁施工用护栏

Cited By (2)

* Cited by examiner, † Cited by third party
Publication number Priority date Publication date Assignee Title
CN114856306A (zh) * 2022-05-23 2022-08-05 江西经匠建设有限公司 一种市政道路桥梁施工用护栏
CN114856306B (zh) * 2022-05-23 2023-09-15 山东冠县万庆德交通设施有限公司 一种市政道路桥梁施工用护栏

Similar Documents

Publication Publication Date Title
CN211114717U (zh) 一种可调节高度的房屋建设用脚手架
CN215331909U (zh) 一种道路桥梁施工用安全防护围栏
CN215760907U (zh) 一种土木工程用建筑防护装置
CN203603548U (zh) 一种多功能可移动座体
CN211422065U (zh) 一种土建施工用移动式防护栏
CN219710924U (zh) 一种便于移动的建筑施工平台
CN215485168U (zh) 一种用于路桥施工过程中便捷可折叠围栏
CN210684560U (zh) 市政绿化护栏
CN223062146U (zh) 一种具有防护作用的房屋建筑防护栏
CN222376160U (zh) 一种工程建筑用道路隔断装置
CN218991141U (zh) 一种建筑用多功能防护栏
CN114715821A (zh) 一种环保型信息通信基站用维修支架
CN210459059U (zh) 一种道路护栏清洗用的翻转架
CN217461710U (zh) 一种电力作业用防护围栏
CN217712066U (zh) 一种土木建筑防护栏
CN217557916U (zh) 一种市政工程施工时用的便携式围栏
CN219316587U (zh) 一种电气安全防护装置
CN221646600U (zh) 一种拼接式护栏
CN217174510U (zh) 一种道路安全防护装置
CN212350206U (zh) 建筑用钢筋弯箍设备
CN220469270U (zh) 一种棚伸缩牵引结构
CN110080143B (zh) 一种道路护栏清洗用的翻转架
CN214705351U (zh) 一种道路工程用宣告栏
CN220869006U (zh) 一种防护围栏
CN219864441U (zh) 一种房屋建筑工程用防护栏

Legal Events

Date Code Title Description
GR01 Patent grant
GR01 Patent grant
CF01 Termination of patent right due to non-payment of annual fee

Granted publication date: 20211228

CF01 Termination of patent right due to non-payment of annual fee