CN215320387U - A kind of rubber plug production mold with ejection structure - Google Patents

A kind of rubber plug production mold with ejection structure Download PDF

Info

Publication number
CN215320387U
CN215320387U CN202121696115.0U CN202121696115U CN215320387U CN 215320387 U CN215320387 U CN 215320387U CN 202121696115 U CN202121696115 U CN 202121696115U CN 215320387 U CN215320387 U CN 215320387U
Authority
CN
China
Prior art keywords
template
ejection
electric push
base plate
push rod
Prior art date
Legal status (The legal status is an assumption and is not a legal conclusion. Google has not performed a legal analysis and makes no representation as to the accuracy of the status listed.)
Expired - Fee Related
Application number
CN202121696115.0U
Other languages
Chinese (zh)
Inventor
陈芳
景步高
李爱东
夏鑫
王冬梅
Current Assignee (The listed assignees may be inaccurate. Google has not performed a legal analysis and makes no representation or warranty as to the accuracy of the list.)
Haian Jianmin Rubber And Plastic Co ltd
Original Assignee
Haian Jianmin Rubber And Plastic Co ltd
Priority date (The priority date is an assumption and is not a legal conclusion. Google has not performed a legal analysis and makes no representation as to the accuracy of the date listed.)
Filing date
Publication date
Application filed by Haian Jianmin Rubber And Plastic Co ltd filed Critical Haian Jianmin Rubber And Plastic Co ltd
Priority to CN202121696115.0U priority Critical patent/CN215320387U/en
Application granted granted Critical
Publication of CN215320387U publication Critical patent/CN215320387U/en
Expired - Fee Related legal-status Critical Current
Anticipated expiration legal-status Critical

Links

Images

Landscapes

  • Moulds For Moulding Plastics Or The Like (AREA)

Abstract

本实用新型提供一种具有顶出结构的橡胶塞生产模具,包括上模板、下模板、流道、顶块、顶杆、活动槽、支撑板、电动推杆、底座板、传动连杆、铰接头以及铰接座,上模板下侧设置有下模板,上模板内部上侧设置有流道,下模板下侧设置有底座板,底座板与下模板连接处安装有支撑板,底座板上端面左右两侧安装有电动推杆,电动推杆端面安装有铰接头,下模板下端面内部开设有活动槽,活动槽内部安装有顶杆,顶杆上端面安装有顶块,顶杆下端面安装有铰接座,铰接座与铰接头连接处安装有传动连杆,该设计能够快速的将橡胶塞从模具内部顶出,有效防止橡胶塞与成型模腔内壁发生粘连,方便对橡胶塞进行取出操作,取料便捷。

Figure 202121696115

The utility model provides a rubber plug production mold with an ejection structure, which comprises an upper template, a lower template, a flow channel, a top block, an ejector rod, a movable groove, a support plate, an electric push rod, a base plate, a transmission link, a hinged joint The head and the hinge seat, a lower template is arranged on the lower side of the upper template, a flow channel is arranged on the inner upper side of the upper template, a base plate is arranged on the lower side of the lower template, a support plate is installed at the connection between the base plate and the lower template, and the left and right ends of the base plate are Electric push rods are installed on both sides, hinged joints are installed on the end face of the electric push rod, movable grooves are arranged inside the lower end face of the lower formwork, and ejector rods are installed inside the movable grooves. The hinged seat is equipped with a transmission link at the connection between the hinged seat and the hinged head. This design can quickly eject the rubber plug from the inside of the mold, effectively prevent the rubber plug from sticking to the inner wall of the molding cavity, and facilitate the removal of the rubber plug. Easy to pick up.

Figure 202121696115

Description

Rubber buffer production mould with ejecting structure
Technical Field
The utility model discloses a rubber plug production die with an ejection structure, and belongs to the technical field of dies.
Background
Moulds (Mule) are used for obtaining various moulds and tools of required products by injection moulding, blow moulding, extrusion, die casting or forging forming, smelting, stamping and other methods in industrial production. In short, a mold is a tool used to make a shaped article, the tool being made up of various parts, different molds being made up of different parts. The processing of the appearance of an article is realized mainly through the change of the physical state of a formed material. The element has the name of "industrial mother". The rubber stopper is produced by using a mold in the production process.
The in-process of producing is being carried out the rubber buffer to current mould, needs the workman to take out the rubber buffer from the mould with the use of tools after the die sinking, because rubber adopts injection moulding process production, the rubber buffer temperature after the shaping is higher, can produce the adhesion with mould die cavity inner wall, is not convenient for take out it, and it is not convenient enough to get the material, influences production efficiency, and the rubber buffer production mould that has ejecting structure now urgently needs to solve the problem that the aforesaid appears.
SUMMERY OF THE UTILITY MODEL
Aiming at the defects in the prior art, the utility model aims to provide a rubber plug production mold with an ejection structure, which is used for solving the problems in the background art.
In order to achieve the purpose, the utility model is realized by the following technical scheme: the utility model provides a rubber buffer production mould with ejection structure, includes injection moulding mouth, cope match-plate pattern, lower bolster, the ejection mechanism of being convenient for, runner, rubber buffer main part and shaping die cavity, the cope match-plate pattern downside is provided with the lower bolster, the injection moulding mouth is installed to the cope match-plate pattern upside, the lower bolster downside is provided with the ejection mechanism of being convenient for, the inside upside of cope match-plate pattern is provided with the runner, cope match-plate pattern and the inside shaping die cavity that is provided with of lower bolster, the shaping die cavity inside is provided with the rubber buffer main part, the ejection mechanism of being convenient for includes kicking block, ejector pin, movable groove, backup pad, electric putter, bed plate, drive link, hinge and hinge seat, the lower bolster downside is provided with the bed plate, the backup pad is installed with the lower bolster junction to the bed plate, electric putter is installed to the up end face left and right sides of bed plate, the hinge is installed to electric putter end face, the improved die is characterized in that a movable groove is formed in the inner portion of the lower end face of the lower die plate, an ejector rod is mounted inside the movable groove, an ejector block is mounted on the upper end face of the ejector rod, a hinged seat is mounted on the lower end face of the ejector rod, and a transmission connecting rod is mounted at the joint of the hinged seat and a hinged joint.
Furthermore, the specification of the movable groove is matched with the specification of the ejector rod and the ejector block.
Furthermore, a pin shaft penetrates through the inside of the joint of the transmission connecting rod and the hinged seat, and the transmission connecting rod is rotatably connected with the hinged seat through the pin shaft.
Further, transmission connecting rod, articulated joint and electric putter have constituteed and have pushed up the subassembly, and it is provided with two sets ofly to go up the subassembly, and two sets ofly to go up the subassembly specification the same, and two sets ofly to go up the subassembly symmetry and set up in the bed plate up end left and right sides.
Furthermore, a through hole is formed in the supporting plate, the inner diameter of the through hole is the same as the diameter of the electric push rod, and the position where the through hole is formed corresponds to the installation position of the electric push rod.
The utility model has the beneficial effects that: according to the rubber plug production die with the ejection structure, due to the fact that the ejector block, the ejector rod, the movable groove, the supporting plate, the electric push rod, the base plate, the transmission connecting rod, the hinge joint and the hinge seat are added, the rubber plug can be ejected out of the die rapidly through the design, the rubber plug is effectively prevented from being adhered to the inner wall of the forming die cavity, the rubber plug is convenient to take out, and material taking is convenient.
Drawings
Other features, objects and advantages of the utility model will become more apparent upon reading of the detailed description of non-limiting embodiments with reference to the following drawings:
fig. 1 is a schematic structural view of a rubber plug production mold with an ejection structure according to the present invention;
fig. 2 is a front sectional view of a mechanism facilitating ejection in a rubber plug production mold having an ejection structure according to the present invention;
fig. 3 is an ejection schematic view of a rubber plug in a rubber plug production mold with an ejection structure according to the present invention;
FIG. 4 is an enlarged view of A in FIG. 2;
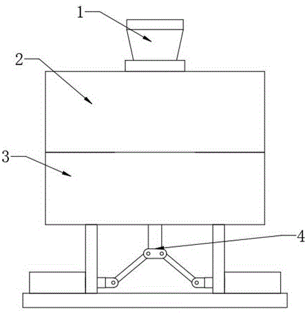
in the figure: 1-injection nozzle, 2-upper template, 3-lower template, 4-convenient ejection mechanism, 5-runner, 6-rubber plug main body, 7-molding die cavity, 41-ejector block, 42-ejector rod, 43-movable groove, 44-supporting plate, 45-electric push rod, 46-base plate, 47-transmission connecting rod, 48-hinge joint, 49-hinge seat and 491-pin shaft.
Detailed Description
In order to make the technical means, the creation characteristics, the achievement purposes and the effects of the utility model easy to understand, the utility model is further described with the specific embodiments.
Referring to fig. 1-4, the present invention provides a technical solution: the utility model provides a rubber buffer production mould with ejecting structure, including moulding plastics mouth 1, cope match-plate pattern 2, lower bolster 3, ejection mechanism 4 of being convenient for, runner 5, rubber buffer main part 6 and shaping die cavity 7, 2 downside of cope match-plate pattern are provided with lower bolster 3, 2 upside of cope match-plate pattern are installed and are moulded plastics mouth 1, 3 downside of lower bolster are provided with ejection mechanism 4 of being convenient for, 2 inside upsides of cope match-plate pattern are provided with runner 5, cope match- plate pattern 2 and 3 inside shaping die cavities 7 that are provided with of lower bolster, 7 inside rubber buffer main parts 6 that are provided with of shaping die cavity.
The ejection mechanism 4 comprises an ejection block 41, an ejector rod 42, a movable groove 43, a support plate 44, an electric push rod 45, a base plate 46, a transmission connecting rod 47, a hinge joint 48 and a hinge seat 49, wherein the lower side of the lower template 3 is provided with the base plate 46, the support plate 44 is arranged at the joint of the base plate 46 and the lower template 3, the electric push rod 45 is arranged at the left side and the right side of the upper end surface of the base plate 46, the hinge joint 48 is arranged on the end surface of the electric push rod 45, the movable groove 43 is arranged inside the lower end surface of the lower template 3, the ejector rod 42 is arranged inside the movable groove 43, the ejection block 41 is arranged on the upper end surface of the ejector rod 42, the hinge seat 49 is arranged on the lower end surface of the ejector rod 42, the transmission connecting rod 47 is arranged at the joint of the hinge seat 49 and the hinge joint 48, this design can be quick ejecting from mould inside with the rubber buffer, effectively prevents that rubber buffer and 7 inner walls in shaping die cavity from taking place the adhesion, and the convenience is taken out the operation to the rubber buffer, and it is convenient to get the material.
The specifications of the movable groove 43 are matched with those of the ejector rod 42 and the ejector block 41, and the ejector rod 42 can move up and down conveniently through the movable groove 43.
The pin 491 is installed inside the joint of the transmission link 47 and the hinge seat 49, and the transmission link 47 is rotatably connected with the hinge seat 49 through the pin 491.
The upward pushing assembly comprises a transmission connecting rod 47, a hinge joint 48 and an electric push rod 45, the upward pushing assembly is provided with two groups, the specifications of the two groups of upward pushing assemblies are the same, the two groups of upward pushing assemblies are symmetrically arranged on the left side and the right side of the upper end face of the base plate 46, and the rubber plug main body 6 can be conveniently ejected out of the forming die cavity 7 through the two groups of upward pushing assemblies.
The supporting plate 44 is provided with a through hole, the inner diameter of the through hole is the same as the diameter of the electric push rod 45, and the position of the through hole corresponds to the installation position of the electric push rod 45.
As an embodiment of the present invention: when the rubber plug main body 6 needs to be taken out from the inside of the molding cavity 7, a worker firstly connects the electric push rod 45 with an external power supply through a wire, then takes the upper template 2 down, the electric push rod 45 is controlled to extend towards the inner side through the external power supply, the electric push rod 45 is rotationally connected with the transmission connecting rod 47 through the hinge joint 48, the transmission connecting rod 47 is driven to rotationally move towards the inner side through the electric push rod 45, the transmission connecting rod 47 is rotationally connected with the hinge seat 49 through the pin shaft 491, the ejector rod 42 is upwards pushed through the movement of the transmission connecting rod 47, the ejector block 41 is upwards pushed through the ejector rod 42, and then the rubber plug main body 6 is upwards pushed through the ejector block 41, the rubber plug main body 6 is ejected out of the molding cavity 7, the adhesion between the rubber plug and the inner wall of the molding cavity 7 is prevented, the rubber plug is conveniently taken out, and the taking is convenient.
While there have been shown and described what are at present considered the fundamental principles and essential features of the utility model and its advantages, it will be apparent to those skilled in the art that the utility model is not limited to the details of the foregoing exemplary embodiments, but is capable of other specific forms without departing from the spirit or essential characteristics thereof. The present embodiments are therefore to be considered in all respects as illustrative and not restrictive, the scope of the utility model being indicated by the appended claims rather than by the foregoing description, and all changes which come within the meaning and range of equivalency of the claims are therefore intended to be embraced therein. Any reference sign in a claim should not be construed as limiting the claim concerned.
Furthermore, it should be understood that although the present description refers to embodiments, not every embodiment may contain only a single embodiment, and such description is for clarity only, and those skilled in the art should integrate the description, and the embodiments may be combined as appropriate to form other embodiments understood by those skilled in the art.

Claims (5)

1. The utility model provides a rubber buffer production mould with ejecting structure, includes mouth (1), cope match-plate pattern (2), lower bolster (3), ejection mechanism (4), runner (5), rubber buffer main part (6) and shaping die cavity (7) of being convenient for of moulding plastics, its characterized in that: a lower template (3) is arranged on the lower side of the upper template (2), an injection nozzle (1) is installed on the upper side of the upper template (2), a mechanism (4) convenient to eject is arranged on the lower side of the lower template (3), a runner (5) is arranged on the upper side inside the upper template (2), a molding die cavity (7) is arranged inside the upper template (2) and the lower template (3), and a rubber plug main body (6) is arranged inside the molding die cavity (7);
the ejection mechanism (4) comprises an ejection block (41), an ejector rod (42), a movable groove (43), a support plate (44), an electric push rod (45), a base plate (46), a transmission connecting rod (47), a hinge joint (48) and a hinge seat (49), a base plate (46) is arranged at the lower side of the lower template (3), a supporting plate (44) is arranged at the joint of the base plate (46) and the lower template (3), electric push rods (45) are arranged on the left side and the right side of the upper end surface of the base plate (46), the end surface of the electric push rod (45) is provided with a hinge joint (48), the inner part of the lower end surface of the lower template (3) is provided with a movable groove (43), a mandril (42) is arranged in the movable groove (43), a jacking block (41) is arranged on the upper end surface of the mandril (42), articulated seat (49) are installed to ejector pin (42) lower terminal surface, transmission connecting rod (47) are installed to articulated seat (49) and articulated joint (48) junction.
2. The rubber stopper production mold with ejection structure as claimed in claim 1, wherein: the specification of the movable groove (43) is matched with the specification of the ejector rod (42) and the ejector block (41).
3. The rubber stopper production mold with ejection structure as claimed in claim 1, wherein: a pin shaft (491) penetrates through the inside of the joint of the transmission connecting rod (47) and the hinge seat (49), and the transmission connecting rod (47) is rotatably connected with the hinge seat (49) through the pin shaft (491).
4. The rubber stopper production mold with ejection structure as claimed in claim 1, wherein: the transmission connecting rod (47), the hinge joint (48) and the electric push rod (45) form an upper ejection assembly, the upper ejection assembly is provided with two groups, the specifications of the two groups of upper ejection assemblies are the same, and the two groups of upper ejection assemblies are symmetrically arranged on the left side and the right side of the upper end face of the base plate (46).
5. The rubber stopper production mold with ejection structure as claimed in claim 1, wherein: the supporting plate (44) is internally provided with a through hole, the inner diameter of the through hole is the same as the diameter of the electric push rod (45), and the opening position of the through hole corresponds to the installation position of the electric push rod (45).
CN202121696115.0U 2021-07-26 2021-07-26 A kind of rubber plug production mold with ejection structure Expired - Fee Related CN215320387U (en)

Priority Applications (1)

Application Number Priority Date Filing Date Title
CN202121696115.0U CN215320387U (en) 2021-07-26 2021-07-26 A kind of rubber plug production mold with ejection structure

Applications Claiming Priority (1)

Application Number Priority Date Filing Date Title
CN202121696115.0U CN215320387U (en) 2021-07-26 2021-07-26 A kind of rubber plug production mold with ejection structure

Publications (1)

Publication Number Publication Date
CN215320387U true CN215320387U (en) 2021-12-28

Family

ID=79569989

Family Applications (1)

Application Number Title Priority Date Filing Date
CN202121696115.0U Expired - Fee Related CN215320387U (en) 2021-07-26 2021-07-26 A kind of rubber plug production mold with ejection structure

Country Status (1)

Country Link
CN (1) CN215320387U (en)

Similar Documents

Publication Publication Date Title
CN205033505U (en) Three -plate mold structure
CN213166644U (en) Injection mold convenient to drawing
CN215320387U (en) A kind of rubber plug production mold with ejection structure
CN212219187U (en) Novel modified plastic injection molding die
CN216329851U (en) Mould demoulding mechanism for plastic product processing
CN209903826U (en) Side core-pulling straight-face locking mechanism of inclined guide block of injection mold
CN111152419A (en) Injection molding die convenient for demolding
CN216683130U (en) Many acupuncture points earlap mould structure
CN216230301U (en) Product rapid demoulding structure
CN214294222U (en) Apron mould convenient to unload
CN114210948A (en) Front mold ejection mechanism and die-casting mold
CN212979049U (en) Mould is used in processing of T font water pipe
CN218462832U (en) Fan blade mould
CN216804115U (en) Mould structure for gliding of slide
CN216941635U (en) Display screen support injection mold with secondary ejecting device
CN217192445U (en) Improved die beneficial to one-time automatic forming of metal tube shell
CN223604879U (en) Guide pillar type double-parting-surface die
CN218462812U (en) Plastic injection mold easy to demould
CN222832271U (en) Injection molds for easy demoulding
CN110466118A (en) A kind of automotive connector product forming mould and the opening and closing method based on mold
CN222271144U (en) Ejection mechanism of injection mold
CN215750483U (en) Die for producing car wheel cover
CN219381426U (en) Mould is used in production of PS bicolor plastic cup
CN219968626U (en) Mould convenient to take out arm-tie
CN223013771U (en) A lower shell bracket injection mold

Legal Events

Date Code Title Description
GR01 Patent grant
GR01 Patent grant
CF01 Termination of patent right due to non-payment of annual fee

Granted publication date: 20211228

CF01 Termination of patent right due to non-payment of annual fee