CN215241257U - Automatic assembly device with dust removal function - Google Patents

Automatic assembly device with dust removal function Download PDF

Info

Publication number
CN215241257U
CN215241257U CN202121361992.2U CN202121361992U CN215241257U CN 215241257 U CN215241257 U CN 215241257U CN 202121361992 U CN202121361992 U CN 202121361992U CN 215241257 U CN215241257 U CN 215241257U
Authority
CN
China
Prior art keywords
automatic
machine body
punching machine
fixedly connected
automatic punching
Prior art date
Legal status (The legal status is an assumption and is not a legal conclusion. Google has not performed a legal analysis and makes no representation as to the accuracy of the status listed.)
Expired - Fee Related
Application number
CN202121361992.2U
Other languages
Chinese (zh)
Inventor
任民
李俊男
马忠杰
Current Assignee (The listed assignees may be inaccurate. Google has not performed a legal analysis and makes no representation or warranty as to the accuracy of the list.)
Individual
Original Assignee
Individual
Priority date (The priority date is an assumption and is not a legal conclusion. Google has not performed a legal analysis and makes no representation as to the accuracy of the date listed.)
Filing date
Publication date
Application filed by Individual filed Critical Individual
Priority to CN202121361992.2U priority Critical patent/CN215241257U/en
Application granted granted Critical
Publication of CN215241257U publication Critical patent/CN215241257U/en
Expired - Fee Related legal-status Critical Current
Anticipated expiration legal-status Critical

Links

Images

Landscapes

  • Filtering Of Dispersed Particles In Gases (AREA)

Abstract

本实用新型公开了一种具备除尘功能的自动化装配装置,包括自动打孔机本体,所述自动打孔机本体的左侧固定连接有工作台,所述工作台顶部的右侧开设有位于自动打孔机本体打孔端底部的通孔,所述工作台的左侧滑动连接有收集盒,所述收集盒位于通孔的底部,所述收集盒的正面镶嵌有过滤网一。本实用新型通过设置自动打孔机本体、工作台、通孔、收集盒、过滤网一、支撑板、伸缩管、密封罩、固定箱和风机的配合使用,解决了现有的自动打孔机不具备一定除尘的机构,在使用者打孔的过程中会产生一些打孔废屑,一般是使用者工作完毕后进行手动清扫,这样会大大提高了使用者的不便性,降低了自动打孔机实用性的问题。

Figure 202121361992

The utility model discloses an automatic assembly device with a dust removal function, comprising an automatic punching machine body, a workbench is fixedly connected to the left side of the automatic punching machine body, and a A through hole at the bottom of the punched end of the punching machine body, a collection box is slidably connected to the left side of the worktable, the collection box is located at the bottom of the through hole, and a filter screen is inlaid on the front of the collection box. The utility model solves the problem of the existing automatic punching machine by arranging the automatic punching machine body, the working table, the through hole, the collecting box, the filter net, the supporting plate, the telescopic pipe, the sealing cover, the fixed box and the fan. Without a certain dust removal mechanism, some punching waste will be generated during the user's punching process. Generally, the user should manually clean after the work is completed, which will greatly improve the inconvenience of the user and reduce the automatic punching. machine usability issues.

Figure 202121361992

Description

Automatic assembly device with dust removal function
Technical Field
The utility model relates to an automatic technical field specifically is an automatic assembly quality who possesses dust removal function.
Background
The automatic assembly refers to an assembly technique that replaces manual labor with automatic machinery, including automatic punching machine, but current automatic punching machine does not possess the mechanism of certain dust removal, can produce some sweeps that punch at the in-process that the user punched, generally is that the user finishes to carry out manual cleaning after working, can improve user's inconvenience greatly like this, has reduced automatic punching machine's practicality.
SUMMERY OF THE UTILITY MODEL
For solving the problem that provides in the above-mentioned background art, the utility model aims to provide an automatic assembly quality who possesses dust removal function has possessed the advantage that removes dust and bits function, has solved the mechanism that current automatic puncher did not possess certain dust removal, can produce some sweeps of punching at the in-process that the user punched, and it is generally that the user finishes the back and carries out manual cleaning to be user's work, can improve user's inconvenience so greatly, has reduced the problem of automatic puncher practicality.
In order to achieve the above object, the utility model provides a following technical scheme: an automatic assembly device with a dust removal function comprises an automatic punching machine body;
the left side of the automatic perforating machine body is fixedly connected with a workbench, the right side of the top of the workbench is provided with a through hole positioned at the bottom of the perforating end of the automatic perforating machine body, the left side of the workbench is slidably connected with a collecting box, the collecting box is positioned at the bottom of the through hole, the front of the collecting box is embedded with a first filter screen, the left side of the bottom of the automatic perforating machine body is fixedly connected with a supporting plate positioned at the outer side of the perforating end of the automatic perforating machine body, the bottom of the supporting plate is fixedly connected with a telescopic pipe positioned at the outer side of the perforating end of the automatic perforating machine body, and the bottom of the telescopic pipe is fixedly connected with a sealing cover positioned at the outer side of the perforating end of the automatic perforating machine body;
the automatic punching machine is characterized in that a fixed box is fixedly connected to the right side of the automatic punching machine body, a fan is fixedly mounted on the rear side of the inner wall of the fixed box, the front side of the workbench is communicated with an air suction pipe, the front side of the air suction pipe is transversely communicated with a gas collecting pipe, and the suction end of the fan is communicated with the right side of the back side of the gas collecting pipe through a pipeline.
As the utility model discloses preferred, the left side fixedly connected with handle of collecting the box, the shape of fixed bottom of the case portion is the arc.
As the utility model discloses it is preferred, the fixed surface of handle is connected with skid proof block, skid proof block's quantity is a plurality of.
As the utility model discloses it is preferred, the top of fixed case is provided with fixed frame, the width of fixed frame is less than the width at fixed roof portion.
As the utility model discloses it is preferred, the inner wall fixedly connected with filter screen two of fixed frame, the aperture of filter screen two is greater than the aperture of filter screen one.
As the utility model discloses preferred, the quantity of filter screen one is a plurality of, and a plurality of filter screen one is evenly distributed.
Compared with the prior art, the beneficial effects of the utility model are as follows:
1. the utility model discloses a set up the cooperation of automatic puncher body, workstation, through-hole, collection box, filter screen one, backup pad, flexible pipe, sealed cowling, fixed case and fan and use, solved the mechanism that current automatic puncher did not possess certain dust removal, can produce some sweeps that punch at the in-process that the user punched, generally be that the user finishes, carries out manual cleaning after finishing, can improve user's inconvenience like this greatly, reduced the problem of automatic puncher practicality.
2. The utility model discloses a set up the handle, convenient to use person stimulates the collection box through the handle, has improved the practicality of collecting the box.
3. The utility model discloses a set up skid proof block, can increase the frictional force between handle and the user's palm, improved the travelling comfort of user when using the handle simultaneously.
4. The utility model discloses a set up fixed frame, can support filter screen two, improved filter screen two's stability.
5. The utility model discloses a set up filter screen two, can protect the filtration to the top of fixed case, avoided external rubbish to enter into the inside of fixed case, convenient to use person uses.
6. The utility model discloses a set up the quantity of filter screen one into a plurality of, can increase the suction power of collecting box inside, improved the suction power of through-hole, convenient to use person uses.
Drawings
Fig. 1 is a schematic perspective view of the structure of the present invention;
FIG. 2 is a schematic perspective view of the structure fixing box of the present invention;
fig. 3 is a perspective sectional view of the structure workbench of the present invention.
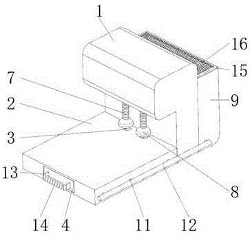
In the figure: 1. an automatic punch body; 2. a work table; 3. a through hole; 4. a collection box; 5. a first filter screen; 6. a support plate; 7. a telescopic pipe; 8. a sealing cover; 9. a fixed box; 10. a fan; 11. an air intake duct; 12. a gas collecting pipe; 13. a handle; 14. an anti-slip bump; 15. a fixing frame; 16. and a second filter screen.
Detailed Description
The technical solutions in the embodiments of the present invention will be described clearly and completely with reference to the accompanying drawings in the embodiments of the present invention, and it is obvious that the described embodiments are only some embodiments of the present invention, not all embodiments. Based on the embodiments in the present invention, all other embodiments obtained by a person skilled in the art without creative work belong to the protection scope of the present invention.
As shown in fig. 1 to 3, the automatic assembling device with dust removing function provided by the present invention comprises an automatic hole punching machine body 1;
the left side of the automatic perforating machine body 1 is fixedly connected with a workbench 2, the right side of the top of the workbench 2 is provided with a through hole 3 positioned at the bottom of the perforating end of the automatic perforating machine body 1, the left side of the workbench 2 is connected with a collecting box 4 in a sliding manner, the collecting box 4 is positioned at the bottom of the through hole 3, the front side of the collecting box 4 is embedded with a filter screen I5, the left side of the bottom of the automatic perforating machine body 1 is fixedly connected with a supporting plate 6 positioned at the outer side of the perforating end of the automatic perforating machine body 1, the bottom of the supporting plate 6 is fixedly connected with a telescopic pipe 7 positioned at the outer side of the perforating end of the automatic perforating machine body 1, and the bottom of the telescopic pipe 7 is fixedly connected with a sealing cover 8 positioned at the outer side of the perforating end of the automatic perforating machine body 1;
the right side of the automatic perforating machine body 1 is fixedly connected with a fixed box 9, a fan 10 is fixedly mounted on the rear side of the inner wall of the fixed box 9, the front of the workbench 2 is communicated with an air suction pipe 11, the front of the air suction pipe 11 is transversely communicated with a gas collecting pipe 12, and the suction end of the fan 10 is communicated with the right side of the back of the gas collecting pipe 12 through a pipeline.
Referring to fig. 1, a handle 13 is fixedly connected to the left side of the collecting box 4, and the bottom of the fixing box 9 is arc-shaped.
As a technical optimization scheme of the utility model, through setting up handle 13, convenient to use person stimulates collection box 4 through handle 13, has improved the practicality of collecting box 4.
Referring to fig. 1, the surface of the handle 13 is fixedly connected with the anti-slip bumps 14, and the number of the anti-slip bumps 14 is several.
As a technical optimization scheme of the utility model, through setting up skid proof block 14, can increase the frictional force between handle 13 and the user's palm, travelling comfort when having improved user's use handle 13 simultaneously.
Referring to fig. 1, the top of the fixed box 9 is provided with a fixed frame 15, and the width of the fixed frame 15 is smaller than that of the top of the fixed box 9.
As the utility model discloses a technical optimization scheme through setting up fixed frame 15, can support filter screen two 16, has improved filter screen two 16's stability.
Referring to fig. 1, a second filter screen 16 is fixedly connected to the inner wall of the fixing frame 15, and the aperture of the second filter screen 16 is larger than that of the first filter screen 5.
As a technical optimization scheme of the utility model, through setting up filter screen two 16, can protect the filtration to the top of fixed case 9, avoided external rubbish to enter into the inside of fixed case 9, convenient to use person uses.
Referring to fig. 3, the number of the first filter screens 5 is several, and the several first filter screens 5 are uniformly distributed.
As the utility model discloses a technical optimization scheme sets up to a plurality of through the quantity with filter screen 5, can increase the suction power of collecting 4 inside of box, has improved the suction power of through-hole 3, and convenient to use person uses.
The utility model discloses a theory of operation and use flow: when the automatic perforating machine is used, when a user starts the automatic perforating machine body 1 to perform perforating operation, the fan 10 is started, the suction end of the fan 10 generates suction force to the inside of the air suction pipe 11 through the pipeline and the air collecting pipe 12, the air suction pipe 11 generates suction force to the inside of the workbench 2, the filter screen I5 on the surface of the collecting box 4 sucks air in the collecting box 4, the inside of the through hole 3 generates suction force, when the perforating end of the automatic perforating machine body 1 performs operation, the sealing cover 8 at the bottom of the perforating end of the automatic perforating machine body 1 is contacted with the top of an article to be perforated, then the sealing cover 8 drives the telescopic pipe 7 to shrink through the supporting plate 6, so that sealing is generated between the sealing cover 8 and the article to be perforated, when dust and waste chips generated by the perforating end of the automatic perforating machine body 1 performs operation, the dust and the waste chips are sucked into the collecting box 4 through the suction force of the through hole 3, convenient to use person's later stage will collect the inside that box 4 pulled out workstation 2 through handle 13 and unify the clearance to reach the effect of dust removal and desquamation function.
In summary, the following steps: this automatic assembly quality who possesses dust removal function, through setting up automatic puncher body 1, workstation 2, through-hole 3, collect box 4, filter screen 5, backup pad 6, flexible pipe 7, sealed cowling 8, fixed case 9 and fan 10's cooperation is used, the mechanism that current automatic puncher did not possess certain dust removal has been solved, the in-process that punches at the user can produce some sweeps that punch, it is generally that the manual cleaning of carrying out after the user finishes work, user's inconvenience has been improved greatly like this, the problem of automatic puncher practicality has been reduced.
It is noted that, herein, relational terms such as first and second, and the like may be used solely to distinguish one entity or action from another entity or action without necessarily requiring or implying any actual such relationship or order between such entities or actions. Also, the terms "comprises," "comprising," or any other variation thereof, are intended to cover a non-exclusive inclusion, such that a process, method, article, or apparatus that comprises a list of elements does not include only those elements but may include other elements not expressly listed or inherent to such process, method, article, or apparatus.
Although embodiments of the present invention have been shown and described, it will be appreciated by those skilled in the art that changes, modifications, substitutions and alterations can be made in these embodiments without departing from the principles and spirit of the invention, the scope of which is defined in the appended claims and their equivalents.

Claims (6)

1. An automatic assembly device with a dust removal function comprises an automatic punching machine body (1);
the method is characterized in that: the left side of the automatic punching machine body (1) is fixedly connected with a workbench (2), the right side of the top of the workbench (2) is provided with a through hole (3) positioned at the bottom of the punching end of the automatic punching machine body (1), the left side of the workbench (2) is connected with a collecting box (4) in a sliding way, the collecting box (4) is positioned at the bottom of the through hole (3), a first filter screen (5) is embedded in the front of the collecting box (4), a supporting plate (6) positioned at the outer side of the punching end of the automatic punching machine body (1) is fixedly connected to the left side of the bottom of the automatic punching machine body (1), the bottom of the supporting plate (6) is fixedly connected with a telescopic pipe (7) positioned outside the punching end of the automatic punching machine body (1), the bottom of the telescopic pipe (7) is fixedly connected with a sealing cover (8) positioned at the outer side of the punching end of the automatic punching machine body (1);
the automatic punching machine is characterized in that a fixed box (9) is fixedly connected to the right side of the automatic punching machine body (1), a fan (10) is fixedly mounted on the rear side of the inner wall of the fixed box (9), the front side of the workbench (2) is communicated with an air suction pipe (11), the front side of the air suction pipe (11) is transversely communicated with a gas collecting pipe (12), and the suction end of the fan (10) is communicated with the right side of the back side of the gas collecting pipe (12) through a pipeline.
2. The automated assembling device with dust removing function of claim 1, wherein: the left side fixedly connected with handle (13) of collecting box (4), the shape of fixed case (9) bottom is the arc.
3. The automatic assembling device with the dust removing function according to claim 2, wherein: the surface of the handle (13) is fixedly connected with anti-skidding lugs (14), and the number of the anti-skidding lugs (14) is a plurality.
4. The automated assembling device with dust removing function of claim 1, wherein: the top of fixed case (9) is provided with fixed frame (15), the width of fixed frame (15) is less than the width at fixed case (9) top.
5. The automatic assembling device with the dust removing function according to claim 4, wherein: the inner wall of the fixing frame (15) is fixedly connected with a second filter screen (16), and the aperture of the second filter screen (16) is larger than that of the first filter screen (5).
6. The automated assembling device with dust removing function of claim 1, wherein: the number of the first filter screens (5) is a plurality, and the first filter screens (5) are uniformly distributed.
CN202121361992.2U 2021-06-18 2021-06-18 Automatic assembly device with dust removal function Expired - Fee Related CN215241257U (en)

Priority Applications (1)

Application Number Priority Date Filing Date Title
CN202121361992.2U CN215241257U (en) 2021-06-18 2021-06-18 Automatic assembly device with dust removal function

Applications Claiming Priority (1)

Application Number Priority Date Filing Date Title
CN202121361992.2U CN215241257U (en) 2021-06-18 2021-06-18 Automatic assembly device with dust removal function

Publications (1)

Publication Number Publication Date
CN215241257U true CN215241257U (en) 2021-12-21

Family

ID=79481574

Family Applications (1)

Application Number Title Priority Date Filing Date
CN202121361992.2U Expired - Fee Related CN215241257U (en) 2021-06-18 2021-06-18 Automatic assembly device with dust removal function

Country Status (1)

Country Link
CN (1) CN215241257U (en)

Similar Documents

Publication Publication Date Title
CN215241257U (en) Automatic assembly device with dust removal function
CN216707789U (en) Cutting device capable of effectively preventing dust from diffusing during wood floor cutting
CN218361593U (en) High-efficient integration punching equipment
CN217224690U (en) Dust collector is used in bedstead production cutting
CN214813498U (en) Dust suction device of plate cutting machine
CN212977630U (en) Piece cleaning device convenient to machining
CN221953506U (en) A dust removal mechanism for recycling sawdust
CN215238026U (en) Environment-friendly drilling equipment for field of sheet metal processing
CN217491982U (en) Clamping device is used in automotive interior spare processing
CN213997848U (en) Punching equipment for machining mechanical parts
CN219175944U (en) Gap cleaning device is repaired to building
CN223171703U (en) Punch press is used in automobile parts processing
CN215919472U (en) Welding device is used in production of key machine parts of intelligence
CN215470176U (en) Environment-friendly polishing equipment for machining connecting pipe pressing plate
CN216179467U (en) Polishing machine with dust removal structure for automobile part production
CN222078723U (en) A machine tool for producing diesel generators
CN217800908U (en) Rust removal device for metal processing
CN223644254U (en) Trimming device for hot-formed part
CN214642139U (en) Sweeps cleaning device is used in processing of support palm
CN221621650U (en) Bit sharpening machine cleaning device
CN215357829U (en) Waste collecting device for stainless steel polishing
CN216781413U (en) Surface polishing device for building steel structure
CN2592259Y (en) Improvement of Simple Cleaning Structure of Dust Collector
CN222790120U (en) A vibrating screen high-efficiency dust collection mechanism
CN218169636U (en) Dust collecting device of metal cutting machine tool

Legal Events

Date Code Title Description
GR01 Patent grant
GR01 Patent grant
CF01 Termination of patent right due to non-payment of annual fee

Granted publication date: 20211221

CF01 Termination of patent right due to non-payment of annual fee