CN215218200U - 一种环境检测用水样抽取装置 - Google Patents
一种环境检测用水样抽取装置 Download PDFInfo
- Publication number
- CN215218200U CN215218200U CN202121820971.2U CN202121820971U CN215218200U CN 215218200 U CN215218200 U CN 215218200U CN 202121820971 U CN202121820971 U CN 202121820971U CN 215218200 U CN215218200 U CN 215218200U
- Authority
- CN
- China
- Prior art keywords
- fixedly connected
- water sample
- sampling
- environmental detection
- sample extraction
- Prior art date
- Legal status (The legal status is an assumption and is not a legal conclusion. Google has not performed a legal analysis and makes no representation as to the accuracy of the status listed.)
- Active
Links
- XLYOFNOQVPJJNP-UHFFFAOYSA-N water Substances O XLYOFNOQVPJJNP-UHFFFAOYSA-N 0.000 title claims abstract description 48
- 230000007613 environmental effect Effects 0.000 title claims abstract description 20
- 238000001514 detection method Methods 0.000 title claims abstract description 19
- 238000000605 extraction Methods 0.000 title claims abstract description 17
- 238000005070 sampling Methods 0.000 claims abstract description 60
- 238000007789 sealing Methods 0.000 claims description 26
- 230000000149 penetrating effect Effects 0.000 claims description 4
- 238000012360 testing method Methods 0.000 abstract description 5
- 238000000034 method Methods 0.000 abstract description 3
- 210000001503 joint Anatomy 0.000 description 3
- 230000000694 effects Effects 0.000 description 2
- 238000001125 extrusion Methods 0.000 description 2
- 239000000463 material Substances 0.000 description 2
- 238000012544 monitoring process Methods 0.000 description 2
- 241000196324 Embryophyta Species 0.000 description 1
- 241001465754 Metazoa Species 0.000 description 1
- 239000012298 atmosphere Substances 0.000 description 1
- 210000002421 cell wall Anatomy 0.000 description 1
- 230000000994 depressogenic effect Effects 0.000 description 1
- 238000010586 diagram Methods 0.000 description 1
- 244000005700 microbiome Species 0.000 description 1
- 238000005457 optimization Methods 0.000 description 1
- 238000001303 quality assessment method Methods 0.000 description 1
- 239000002689 soil Substances 0.000 description 1
Images
Landscapes
- Sampling And Sample Adjustment (AREA)
Abstract
本实用新型提供一种环境检测用水样抽取装置,包括装置本体、取样箱、储存箱,装置本体顶部固定连接有手柄,且手柄顶部设有转轮,转轮底部中心固定连接有伸缩杆,且转轮右侧设有按钮,装置本体内部设有限位板,且限位板底部固定连接有活动管,活动管底部固定连接有取样箱,且取样箱内部设有储存箱,本实用新型提供一种环境检测用水样抽取装置为解决现有的环境检测用水样抽取装置不方便携带,取样时只能抽取水样表面的样品,容易造成检测数据不准确,同时当工作环境需要多次取样时,现有装置取样过程繁琐容易引起失误和数据混杂等问题。
Description
技术领域
本实用新型涉及环境检测技术领域,尤其涉及一种环境检测用水样抽取装置。
背景技术
环境既包括以大气、水、土壤、植物、动物、微生物等为内容的物质因素,也包括以观念、制度、行为准则等为内容的非物质因素,既包括自然因素,也包括社会因素,既包括非生命体形式,也包括生命体形式,用指定的方法检验测试某种物体指定的技术性能指标,适用于各种行业范畴的质量评定,环境监测用水样抽取装置是一种对水进行抽取检测的装置,一般的水样抽取装置的方法是通过绳子直接绑在瓶子上面,把瓶子直接扔在水里进行取样,但是在收取绳子的时候较为不便,且不便储存,取样时只能抽取水样表面的样品,容易造成检测数据不准确,因此针对上述问题提出一种新的优化方案。
实用新型内容
为解决上述技术问题,本实用新型提供一种环境检测用水样抽取装置,以解决现有的环境检测用水样抽取装置不方便携带,取样时只能抽取水样表面的样品,容易造成检测数据不准确,同时当工作环境需要多次取样时,现有装置取样过程繁琐容易引起失误和数据混杂等问题。
本实用新型一种环境检测用水样抽取装置的目的与功效,由以下具体技术手段达成:一种环境检测用水样抽取装置,包括装置本体、取样箱、储存箱,所述装置本体顶部固定连接有手柄,且手柄顶部设有转轮,所述转轮底部中心固定连接有伸缩杆,且转轮右侧设有按钮,所述装置本体内部设有限位板,且限位板底部固定连接有活动管,所述活动管底部固定连接有取样箱,且取样箱内部设有储存箱。
进一步的,所述装置本体侧面内壁上设有螺纹,且限位板侧壁上设有螺纹,所述限位板与装置本体内壁螺纹连接。
进一步的,所述伸缩杆贯穿连接手柄,且伸缩杆贯穿连接限位板,所述活动管套接在伸缩杆上。
进一步的,所述取样箱内顶部右侧固定连接有取样管,且取样管上端设有电动阀。
进一步的,所述取样箱内底部中心转动连接有转轴,且转轴上固定连接有转盘,所述转盘顶部中心与伸缩杆底部固定连接,且转盘上固定连接储存箱。
进一步的,所述储存箱顶部内壁中开设有密封槽,且密封槽上方开设有活动口,所述密封槽下方开设有进水口,且密封槽内滑动连接有密封板。
进一步的,所述进水口位于取样管下方,且取样管底端与活动口紧密贴合。
进一步的,所述密封板上方固定连接有圆柱,且圆柱位于取样管左侧的位置,所述密封板右端与密封槽左侧槽壁之间固定连接有弹簧。
有益效果:
(1)通过设置装置本体、限位板、活动管、按钮、取样管、电动阀,使得扭动活动管带动限位板转动时,可以使得活动管伸出所需求的长度对水样不同深度进行取样。
(2)通过设置转轮、伸缩杆、转盘、转轴、储存箱,使得当第一个储存箱取样完成后,扭动转动使得转轮带动伸缩杆转动,从而带动转盘转动使下一个储存箱位于取样管下方。
(3)通过设置密封板、圆柱、弹簧、密封槽、活动口、进水口,使得当储存箱移动到取样管下方时,圆柱和取样管挤压后向弹簧一侧移动挤压弹簧,从而带动密封板移开,使得进水口和取样管对接方便取样,在储存箱离开后弹簧推动密封板对进水口密封防止取样完成后储存箱内部样本洒落。
附图说明
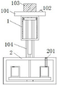
图1为本实用新型整体结构示意图。
图2为本实用新型整体正视剖面结构示意图。
图3为本实用新型装置本体正视剖面结构示意图。
图4为本实用新型取样箱正视剖面局部结构示意图。
图5为本实用新型图4中A处放大结构示意图。
图1-5中,部件名称与附图编号的对应关系为:
1-装置本体、101-手柄、102-按钮、103-转轮、104-活动管、105-限位板、106-伸缩杆、2-取样箱、201-取样管、202-电动阀、203-转盘、204-转轴、3-储存箱、301-活动口、302-密封槽、303-进水口、304-密封板、305-圆柱、306-弹簧。
具体实施方式
下面将结合本实用新型实施例中的附图,对本实用新型实施例中的技术方案进行清楚、完整的描述,显然,所描述的实施例仅仅是本实用新型一部分实施例,而不是全部的实施例,基于本实用新型中的实施例,本领域普通技术人员在没有做出创造性劳动前提下所获得的所有其他实施例,都属于本实用新型保护的范围。
实施例:
如附图1至附图5所示:一种环境检测用水样抽取装置,包括装置本体1、取样箱2、储存箱3,装置本体1顶部固定连接有手柄101,且手柄101顶部设有转轮103,转轮103底部中心固定连接有伸缩杆106,且转轮103右侧设有按钮102,装置本体1内部设有限位板105,且限位板105底部固定连接有活动管104,活动管104底部固定连接有取样箱2,且取样箱2内部设有储存箱3。
其中,装置本体1侧面内壁上设有螺纹,且限位板105侧壁上设有螺纹,限位板105与装置本体1内壁螺纹连接。当限位板105转动时能在装置本体1内部上下移动。
其中,伸缩杆106贯穿连接手柄101,且伸缩杆106贯穿连接限位板105,活动管104套接在伸缩杆106上。使得限位板105和伸缩杆106之间的活动互不影响。
其中,取样箱2内顶部右侧固定连接有取样管201,且取样管201上端设有电动阀202,电动阀202与按钮102电信连接,且电动阀202旁设有供电电池为电动阀供电。当到达指定位置时可以按压按钮102打开电动阀202进行取样,实现了对不同深度的水样进行取样的效果。
其中,取样箱2内底部中心转动连接有转轴204,且转轴204上固定连接有转盘203,所述转盘203顶部中心与伸缩杆106底部固定连接,且转盘203上固定连接储存箱3。当扭动转轮103转动时,转轮可以带动转盘203进行转动。
其中,储存箱3顶板内壁中开设有密封槽302,且密封槽302顶部开设有活动口301,密封槽302下方开设有进水口303,且密封槽302内滑动连接有密封板304。密封板304可以对储存箱3进行密封,防止内部样品洒落。
其中,进水口303位于取样管201下方,且取样管201底端与活动口301紧密贴合。取样管201与进水口303对接,方便取样同时避免取样时洒出。
其中,密封板304上方固定连接有圆柱305,且圆柱305位于取样管201左侧,密封板304左侧与密封槽302左侧槽壁间固定连接有弹簧306。当储存箱3移动到取样管201下方时,圆柱305与取样管201接触后向弹簧306一侧挤压,从而带动密封板304移开使得取样管201与进水口303接通方便取样,在储存箱3离开后弹簧306推动密封板304对进水口303密封防止取样完成后储存箱3内部样本洒落。
工作原理:首先,工作人员先扭动活动管104,使得活动管104带动限位板105转动从而使得限位板105向下移动,限位板105带动活动管104向下移动到指定长度后停止扭动,抓住手柄101将取样箱2放入水面下,当取样箱2到达指定高度后按压按钮102,使得电动阀202打开使得水进入储存箱3内,数秒后再次按压按钮102关闭电动阀202,然后扭动转轮103转动,转轮103可以带动转盘203进行转动,转盘203带动下一个储存箱3移动到取样管201下方时,圆柱305与取样管201接触后向弹簧306一侧挤压,从而带动密封板304移开使得取样管201与进水口303接通方便取样,同时上一个储存箱3离开后,弹簧306推动密封板304对进水口303密封防止取样完成后储存箱3内部样本洒落,然后在扭动活动管104使得取样箱2达到另一个深度再次按下按钮102取样。
Claims (8)
1.一种环境检测用水样抽取装置,包括装置本体(1)、取样箱(2)、储存箱(3),其特征在于:所述装置本体(1)顶部固定连接有手柄(101),且手柄(101)顶部设有转轮(103),所述转轮(103)底部中心固定连接有伸缩杆(106),且转轮(103)右侧设有按钮(102),所述装置本体(1)内部设有限位板(105),且限位板(105)底部固定连接有活动管(104),所述活动管(104)底部固定连接有取样箱(2),且取样箱(2)内部设有储存箱(3)。
2.根据权利要求1所述的环境检测用水样抽取装置,其特征在于:所述装置本体(1)侧面内壁上设有螺纹,且限位板(105)侧壁上设有螺纹,所述限位板(105)与装置本体(1)内壁螺纹连接。
3.根据权利要求1所述的环境检测用水样抽取装置,其特征在于:所述伸缩杆(106)贯穿连接手柄(101),且伸缩杆(106)贯穿连接限位板(105),所述活动管(104)套接在伸缩杆(106)上。
4.根据权利要求1所述的环境检测用水样抽取装置,其特征在于:所述取样箱(2)内顶部右侧固定连接有取样管(201),且取样管(201)上端设有电动阀(202)。
5.根据权利要求1所述的环境检测用水样抽取装置,其特征在于:所述取样箱(2)内底部中心转动连接有转轴(204),且转轴(204)上固定连接有转盘(203),所述转盘(203)顶部中心与伸缩杆(106)底部固定连接,且转盘(203)上固定连接储存箱(3)。
6.根据权利要求1所述的环境检测用水样抽取装置,其特征在于:所述储存箱(3)顶部内壁中开设有密封槽(302),且密封槽(302)上方开设有活动口(301),所述密封槽(302)下方开设有进水口(303),且密封槽(302)内滑动连接有密封板(304)。
7.根据权利要求6所述的环境检测用水样抽取装置,其特征在于:所述进水口(303)位于取样管(201)下方,且取样管(201)底端与活动口(301)紧密贴合。
8.根据权利要求6所述的环境检测用水样抽取装置,其特征在于:所述密封板(304)上方固定连接有圆柱(305),且圆柱(305)位于取样管(201)左侧的位置,所述密封板(304)左端与密封槽(302)左侧槽壁之间固定连接有弹簧(306)。
Priority Applications (1)
| Application Number | Priority Date | Filing Date | Title |
|---|---|---|---|
| CN202121820971.2U CN215218200U (zh) | 2021-08-05 | 2021-08-05 | 一种环境检测用水样抽取装置 |
Applications Claiming Priority (1)
| Application Number | Priority Date | Filing Date | Title |
|---|---|---|---|
| CN202121820971.2U CN215218200U (zh) | 2021-08-05 | 2021-08-05 | 一种环境检测用水样抽取装置 |
Publications (1)
| Publication Number | Publication Date |
|---|---|
| CN215218200U true CN215218200U (zh) | 2021-12-17 |
Family
ID=79427246
Family Applications (1)
| Application Number | Title | Priority Date | Filing Date |
|---|---|---|---|
| CN202121820971.2U Active CN215218200U (zh) | 2021-08-05 | 2021-08-05 | 一种环境检测用水样抽取装置 |
Country Status (1)
| Country | Link |
|---|---|
| CN (1) | CN215218200U (zh) |
Cited By (1)
| Publication number | Priority date | Publication date | Assignee | Title |
|---|---|---|---|---|
| CN115753232A (zh) * | 2022-11-17 | 2023-03-07 | 宁波跃阳电源设备有限公司 | 一种电源生产用污水处理检测设备及其检测方法 |
-
2021
- 2021-08-05 CN CN202121820971.2U patent/CN215218200U/zh active Active
Cited By (2)
| Publication number | Priority date | Publication date | Assignee | Title |
|---|---|---|---|---|
| CN115753232A (zh) * | 2022-11-17 | 2023-03-07 | 宁波跃阳电源设备有限公司 | 一种电源生产用污水处理检测设备及其检测方法 |
| CN115753232B (zh) * | 2022-11-17 | 2024-06-04 | 宁波跃阳电源设备有限公司 | 一种电源生产用污水处理检测设备及其检测方法 |
Similar Documents
| Publication | Publication Date | Title |
|---|---|---|
| CN101545831B (zh) | 原状土壤取样器 | |
| CN114047031B (zh) | 一种石油发酵处理用检测取样装置 | |
| CN215218200U (zh) | 一种环境检测用水样抽取装置 | |
| CN207019927U (zh) | 一种土壤检测采样收集车 | |
| CN213301804U (zh) | 一种液化天然气取样装置 | |
| CN206348171U (zh) | 一种用于指定深度淡水的质量检测取样装置 | |
| CN208443597U (zh) | 取土器 | |
| CN209102466U (zh) | 一种空气监测用气体取样装置 | |
| CN207114223U (zh) | 一种食品检测不同深度取样装置 | |
| CN206556922U (zh) | 一种自闭式深层水样采集器 | |
| CN213842765U (zh) | 静态水域分层取样装置 | |
| CN214608979U (zh) | 一种用于陶瓷劈刀加工的陶瓷分散剂存储装置 | |
| CN222188905U (zh) | 用于水质监测的取水装置 | |
| CN208270250U (zh) | 一种食品营养安全检测取样装置 | |
| CN202582929U (zh) | 粮食检测用全封闭自动取样机 | |
| CN202322827U (zh) | 一种沼气发酵及集气装置 | |
| CN220170606U (zh) | 一种污水治理用污水采样装置 | |
| CN206583637U (zh) | 一种新型环境工程用淡水质量检测取样装置 | |
| CN215065409U (zh) | 一种土壤养分连续检测装置 | |
| CN208476573U (zh) | 一种林业土壤深度取样装置 | |
| CN208672385U (zh) | 一种环境监测用水质采样器 | |
| CN223389490U (zh) | 一种用于粘稠食品的取样装置 | |
| CN221025006U (zh) | 一种环境监测用样品储存箱 | |
| CN207074125U (zh) | 一种定点水质采样器 | |
| CN212228471U (zh) | 一种便于调节的检验用样品提取装置 |
Legal Events
| Date | Code | Title | Description |
|---|---|---|---|
| GR01 | Patent grant | ||
| GR01 | Patent grant |