CN215181832U - A computer case with self-cooling function - Google Patents

A computer case with self-cooling function Download PDF

Info

Publication number
CN215181832U
CN215181832U CN202121769419.5U CN202121769419U CN215181832U CN 215181832 U CN215181832 U CN 215181832U CN 202121769419 U CN202121769419 U CN 202121769419U CN 215181832 U CN215181832 U CN 215181832U
Authority
CN
China
Prior art keywords
case
wall
self
cooling function
fixedly connected
Prior art date
Legal status (The legal status is an assumption and is not a legal conclusion. Google has not performed a legal analysis and makes no representation as to the accuracy of the status listed.)
Expired - Fee Related
Application number
CN202121769419.5U
Other languages
Chinese (zh)
Inventor
贾名准
Current Assignee (The listed assignees may be inaccurate. Google has not performed a legal analysis and makes no representation or warranty as to the accuracy of the list.)
Zhonghong Yimai Beijing Technology Co ltd
Original Assignee
Zhonghong Yimai Beijing Technology Co ltd
Priority date (The priority date is an assumption and is not a legal conclusion. Google has not performed a legal analysis and makes no representation as to the accuracy of the date listed.)
Filing date
Publication date
Application filed by Zhonghong Yimai Beijing Technology Co ltd filed Critical Zhonghong Yimai Beijing Technology Co ltd
Priority to CN202121769419.5U priority Critical patent/CN215181832U/en
Application granted granted Critical
Publication of CN215181832U publication Critical patent/CN215181832U/en
Expired - Fee Related legal-status Critical Current
Anticipated expiration legal-status Critical

Links

Images

Landscapes

  • Cooling Or The Like Of Electrical Apparatus (AREA)

Abstract

本实用新型公开了一种带有自冷却功能的计算机机箱,包括机箱,机箱内壁的底部开设有通口,通口的内表面固定连接有垫环,垫环的顶部放置有过滤板,机箱内壁底部的两侧均设置有锁紧组件,机箱的底部开设有活动槽,活动槽与通口的内部连通,活动槽的内部和通口的内部之间设置有清理组件,机箱内壁的两侧之间设置有风扇。本实用新型,具有自冷却功能,避免高温造成内部元件的损坏,而且通过过滤板的设置,可以对进入机箱内部的气流进行过滤,避免气体携带粉尘进入机箱的内部,造成机箱的污染,通过清理组件的设置,可以对附着在过滤板上的灰尘进行清理,避免灰尘的存在,影响后续的冷却效果,不需要人工手动操作,提高了机箱的实用性。

Figure 202121769419

The utility model discloses a computer case with a self-cooling function, which comprises a case, a bottom of an inner wall of the case is provided with a through opening, an inner surface of the through opening is fixedly connected with a backing ring, a filter plate is placed on the top of the backing ring, and the inner wall of the case is provided with a grommet. Both sides of the bottom are provided with locking components, the bottom of the chassis is provided with a movable slot, the movable slot is communicated with the interior of the port, a cleaning component is arranged between the interior of the movable slot and the interior of the port, and the two sides of the inner wall of the chassis are located. There is a fan in the room. The utility model has the function of self-cooling, which can avoid damage to the internal components caused by high temperature, and through the setting of the filter plate, the airflow entering the inside of the cabinet can be filtered, so as to prevent the gas from carrying dust into the inside of the cabinet and causing the pollution of the cabinet. The setting of the components can clean the dust attached to the filter plate, avoid the existence of dust and affect the subsequent cooling effect, and does not require manual operation, which improves the practicability of the chassis.

Figure 202121769419

Description

Computer machine case with from cooling function
Technical Field
The utility model relates to a computer machine case technical field especially relates to a computer machine case with from cooling function.
Background
The chassis is used as a part of computer accessories, has the main function of placing and fixing various computer accessories, plays a role in supporting and protecting, has the important function of shielding electromagnetic radiation, and is not classified as a key consideration object in DIY because the chassis can not rapidly improve the performance of the whole machine unlike the accessories such as a CPU, a display card, a mainboard and the like. However, the chassis is not useless, and after some users buy the fake-brand chassis, the system becomes unstable because the main board and the chassis form a loop, which causes a short circuit.
In the related art, a chassis is one of the most important parts of a computer, and contains a large number of power components inside, so that a large amount of heat is generated in the working process, and if the heat cannot be released, the chassis is easily damaged.
SUMMERY OF THE UTILITY MODEL
The utility model aims at solving the prior art in that the cooling effect is relatively poor, the dust enters into quick-witted incasement portion easily, causes the shortcoming of quick-witted case pollution, and the computer machine case with from cooling function that provides.
In order to achieve the above purpose, the utility model adopts the following technical scheme:
a computer case with a self-cooling function comprises a case, wherein the bottom of the inner wall of the case is provided with an opening, the inner surface of the opening is fixedly connected with a backing ring, a filter plate is placed at the top of the backing ring, two sides of the bottom of the inner wall of the case are provided with locking assemblies respectively, the bottom of the case is provided with a movable groove, the movable groove is communicated with the inside of the opening, a cleaning assembly is arranged between the inside of the movable groove and the inside of the opening, and a fan is arranged between two sides of the inner wall of the case;
the fan is started, so that air can be blown into the case, the ventilation effect of the case is improved, the heat dissipation and cooling treatment can be further performed on the case, the damage to internal elements caused by high temperature is avoided, and the self-cooling function is achieved;
through the setting of filter, can filter the air current that gets into quick-witted incasement portion, avoid gaseous inside that carries the dust entering quick-witted case, cause the pollution of quick-witted case.
Preferably, the locking assembly comprises a U-shaped frame fixed at the bottom of the inner wall of the case, a Z-shaped limiting plate is rotatably connected between two sides of the inner wall of the U-shaped frame, and one side of the Z-shaped limiting plate is in contact with the top of the filter plate.
Preferably, the bottom fixedly connected with fixed block of quick-witted incasement wall, the inside threaded connection of fixed block has the lead screw, the one end of lead screw is rotated and is connected with the slope piece, the inclined plane of slope piece with the opposite side contact of Z type limiting plate, the other end fixedly connected with rotating handle of lead screw, the slope piece sliding connection in quick-witted incasement wall's bottom.
Preferably, the clearance subassembly is including being fixed in the inside motor of activity inslot, the output shaft fixedly connected with threaded rod of motor, the one end of threaded rod rotate connect in one side of opening inner wall.
Preferably, the outer surface of the threaded rod is in threaded connection with a cleaning block, a cleaning brush is arranged at the top of the cleaning block, and the bottom of the case is fixedly connected with a cover plate through a fastening bolt.
Preferably, a baffle is fixedly connected to one side of the case through a fastening bolt.
Compared with the prior art, the beneficial effects of the utility model are that:
the utility model discloses in, start through the fan, can blow to the inside of quick-witted case, improve the ventilation effect of quick-witted case, and then can carry out the cooling process that dispels the heat to quick-witted case, avoid high temperature to cause the damage of internal element, have a self-cooling function, and through the setting of filter, can filter the air current that gets into quick-witted incasement portion, avoid gas to carry the inside that the dust got into quick-witted case, cause the pollution of quick-witted case, and through the setting of clearance subassembly, can clear up the dust of attaching to on the filter, avoid the existence of dust, influence subsequent cooling effect, and do not need artifical manual operation, the practicality of quick-witted case has been improved.
Drawings
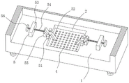
Fig. 1 is a schematic structural diagram of a computer case with a self-cooling function according to the present invention;
FIG. 2 is a side view of the enclosure of FIG. 1;
FIG. 3 is a cross-sectional top view of the enclosure of FIG. 2;
FIG. 4 is a bottom view of the housing of FIG. 1;
FIG. 5 is a schematic diagram of the processing assembly of FIG. 4.
In the figure: 1. a chassis; 2. a port; 3. a backing ring; 4. a filter plate; 5. a locking assembly; 51. a U-shaped frame; 52. a Z-shaped limiting plate; 53. a fixed block; 54. a screw rod; 55. an inclined block; 56. rotating the handle; 6. a movable groove; 7. cleaning the assembly; 71. a motor; 72. a threaded rod; 73. cleaning the block; 74. a cover plate; 8. a fan; 9. and a baffle plate.
Detailed Description
The technical solution of the present invention will be further explained with reference to the accompanying drawings and specific embodiments.
As shown in fig. 1-5, the utility model provides a computer case with self-cooling function, including case 1, opening 2 has been seted up to the bottom of case 1 inner wall, the internal surface of opening 2 is fixedly connected with backing ring 3, filter 4 has been placed at the top of backing ring 3, the both sides of case 1 inner wall bottom all are provided with locking Assembly 5, case 1 bottom has been seted up movable groove 6, movable groove 6 with the inside of opening 2 communicates, be provided with clearance subassembly 7 between the inside of movable groove 6 and the inside of opening 2, be provided with fan 8 between the both sides of case 1 inner wall;
by starting the fan 8, air can be blown into the case 1, the ventilation effect of the case 1 is improved, the heat dissipation and cooling treatment can be further performed on the case 1, the damage of internal elements caused by high temperature is avoided, and the self-cooling function is achieved;
through the arrangement of the filter plate 4, the airflow entering the case 1 can be filtered, and the case 1 is prevented from being polluted due to the fact that the air carries dust to enter the case 1;
through the setting of clearance subassembly 7, can clear up the dust that adheres to on filter 4, avoid the existence of dust, influence subsequent cooling effect, do not need artifical manually operation moreover, improved quick-witted case 1's practicality.
The locking assembly 5 comprises a U-shaped frame 51 fixed at the bottom of the inner wall of the case 1, a Z-shaped limiting plate 52 is rotatably connected between two sides of the inner wall of the U-shaped frame 51, and one side of the Z-shaped limiting plate 52 is in contact with the top of the filter plate 4;
through the setting of Z type limiting plate 52, can extrude filter 4 for filter 4 is in the inside stability of opening 2.
A fixed block 53 is fixedly connected to the bottom of the inner wall of the case 1, a screw rod 54 is connected to the inner portion of the fixed block 53 in a threaded manner, one end of the screw rod 54 is rotatably connected with an inclined block 55, an inclined surface of the inclined block 55 is in contact with the other side of the Z-shaped limiting plate 52, the other end of the screw rod 54 is fixedly connected with a rotating handle 56, and the inclined block 55 is slidably connected to the bottom of the inner wall of the case 1;
through manual rotatory handle 56 of rotating, can drive lead screw 54 and rotate, and lead screw 54's rotation, can drive the motion about tilting block 55, through the motion about tilting block 55, can extrude Z type limiting plate 52, or lose the extrusion force, through the extrusion to Z type limiting plate 52, make a lateral filter 4's of Z type limiting plate 52 position motion, and then can extrude filter 4, form fixedly, guarantee the position of its filter 4 installation, on the contrary, can lose the extrusion to filter 4, be convenient for the dismantlement of filter 4.
The cleaning assembly 7 comprises a motor 71 fixed inside the movable groove 6, an output shaft of the motor 71 is fixedly connected with a threaded rod 72, and one end of the threaded rod 72 is rotatably connected to one side of the inner wall of the through hole 2;
the motor 71 is a forward and reverse rotation motor in the prior art, and is arranged in a mode and a coding mode in the prior art to drive the threaded rod 72 to rotate forward and reverse.
The outer surface of the threaded rod 72 is in threaded connection with a cleaning block 73, a cleaning brush is arranged at the top of the cleaning block 73, and the bottom of the case 1 is fixedly connected with a cover plate 74 through a fastening bolt;
through the rotation of threaded rod 72, can drive clearance piece 73 side-to-side movement, and the motion about clearance piece 73 can drive the same direction motion of clearance brush, cleans the bottom of filter 4.
One side of the case 1 is fixedly connected with a baffle plate 9 through a fastening bolt;
through the setting of baffle 9, be convenient for shelter from one side of quick-witted case 1, be convenient for moreover the manual work to the cleanness or the maintenance of quick-witted case.
The working principle is as follows: the fan 8 is started to blow air into the case 1, heat inside the case 1 is taken away through air flow, and dust in gas entering the case 1 can be filtered through the filter plate 4, so that pollution to the inside of the case 1 caused by the dust in the gas is avoided;
the motor 71 is started to drive the threaded rod 72 to rotate positively and negatively, the cleaning block 73 can be driven to move left and right by the rotation of the threaded rod 72, and the cleaning block 73 can be driven to move left and right to drive the cleaning brushes to move in the same direction to clean the bottom of the filter plate 4;
the screw rod 54 can be driven to rotate by manually rotating the rotating handle 56, the inclined block 55 can be driven to move left and right by the rotation of the screw rod 54, and the Z-shaped limiting plate 52 can be extruded or the extrusion force is lost by the left and right movement of the inclined block 55;
through the extrusion to Z type limiting plate 52 for a side of Z type limiting plate 52 is to the position motion of filter 4, and then can extrude filter 4, forms fixedly, guarantees the position of its filter 4 installation, and on the contrary, can lose the extrusion to filter 4, the filter 4's of being convenient for dismantlement.
The above, only be the concrete implementation of the preferred embodiment of the present invention, but the protection scope of the present invention is not limited thereto, and any person skilled in the art is in the technical scope of the present invention, according to the technical solution of the present invention and the utility model, the concept of which is equivalent to replace or change, should be covered within the protection scope of the present invention.

Claims (6)

1.一种带有自冷却功能的计算机机箱,包括机箱(1),其特征在于,所述机箱(1)内壁的底部开设有通口(2),所述通口(2)的内表面固定连接有垫环(3),所述垫环(3)的顶部放置有过滤板(4),所述机箱(1)内壁底部的两侧均设置有锁紧组件(5),所述机箱(1)的底部开设有活动槽(6),所述活动槽(6)与所述通口(2)的内部连通,所述活动槽(6)的内部和所述通口(2)的内部之间设置有清理组件(7),所述机箱(1)内壁的两侧之间设置有风扇(8)。1. A computer case with a self-cooling function, comprising a case (1), characterized in that a through port (2) is provided at the bottom of the inner wall of the case (1), and an inner surface of the through port (2) is provided. A backing ring (3) is fixedly connected, a filter plate (4) is placed on the top of the backing ring (3), and locking components (5) are provided on both sides of the bottom of the inner wall of the case (1). The bottom of (1) is provided with a movable groove (6), the movable groove (6) communicates with the inside of the through port (2), and the inside of the movable groove (6) is connected with the inside of the through port (2). A cleaning assembly (7) is arranged between the interiors, and a fan (8) is arranged between two sides of the inner wall of the case (1). 2.根据权利要求1所述的一种带有自冷却功能的计算机机箱,其特征在于,所述锁紧组件(5)包括固定于所述机箱(1)内壁底部的U型架(51),所述U型架(51)内壁的两侧之间转动连接有Z型限位板(52),所述Z型限位板(52)的一侧与所述过滤板(4)的顶部接触。2. A computer case with a self-cooling function according to claim 1, wherein the locking assembly (5) comprises a U-shaped frame (51) fixed on the bottom of the inner wall of the case (1) A Z-shaped limit plate (52) is rotatably connected between the two sides of the inner wall of the U-shaped frame (51), and one side of the Z-shaped limit plate (52) is connected to the top of the filter plate (4). touch. 3.根据权利要求2所述的一种带有自冷却功能的计算机机箱,其特征在于,所述机箱(1)内壁的底部固定连接有固定块(53),所述固定块(53)的内部螺纹连接有丝杆(54),所述丝杆(54)的一端转动连接有倾斜块(55),所述倾斜块(55)的倾斜面与所述Z型限位板(52)的另一侧接触,所述丝杆(54)的另一端固定连接有旋转把手(56),所述倾斜块(55)滑动连接于所述机箱(1)内壁的底部。3. A computer case with a self-cooling function according to claim 2, wherein a fixing block (53) is fixedly connected to the bottom of the inner wall of the case (1), and the A lead screw (54) is internally threadedly connected, and one end of the lead screw (54) is rotatably connected with an inclined block (55). The other side is in contact, the other end of the screw rod (54) is fixedly connected with a rotating handle (56), and the inclined block (55) is slidably connected to the bottom of the inner wall of the case (1). 4.根据权利要求1所述的一种带有自冷却功能的计算机机箱,其特征在于,所述清理组件(7)包括固定于所述活动槽(6)内部的马达(71),所述马达(71)的输出轴固定连接有螺纹杆(72),所述螺纹杆(72)的一端转动连接于所述通口(2)内壁的一侧。4. A computer case with a self-cooling function according to claim 1, wherein the cleaning assembly (7) comprises a motor (71) fixed inside the movable slot (6), the A threaded rod (72) is fixedly connected to the output shaft of the motor (71), and one end of the threaded rod (72) is rotatably connected to one side of the inner wall of the through port (2). 5.根据权利要求4所述的一种带有自冷却功能的计算机机箱,其特征在于,所述螺纹杆(72)的外表面螺纹连接有清理块(73),所述清理块(73)的顶部设置有清理毛刷,所述机箱(1)的底部通过紧固螺栓固定连接有盖板(74)。5. A computer case with a self-cooling function according to claim 4, wherein a cleaning block (73) is threadedly connected to the outer surface of the threaded rod (72), and the cleaning block (73) The top of the casing (1) is provided with a cleaning brush, and the bottom of the chassis (1) is fixedly connected with a cover plate (74) through fastening bolts. 6.根据权利要求1所述的一种带有自冷却功能的计算机机箱,其特征在于,所述机箱(1)的一侧通过紧固螺栓固定连接有挡板(9)。6. A computer case with a self-cooling function according to claim 1, wherein a baffle plate (9) is fixedly connected to one side of the case (1) through fastening bolts.
CN202121769419.5U 2021-08-01 2021-08-01 A computer case with self-cooling function Expired - Fee Related CN215181832U (en)

Priority Applications (1)

Application Number Priority Date Filing Date Title
CN202121769419.5U CN215181832U (en) 2021-08-01 2021-08-01 A computer case with self-cooling function

Applications Claiming Priority (1)

Application Number Priority Date Filing Date Title
CN202121769419.5U CN215181832U (en) 2021-08-01 2021-08-01 A computer case with self-cooling function

Publications (1)

Publication Number Publication Date
CN215181832U true CN215181832U (en) 2021-12-14

Family

ID=79404610

Family Applications (1)

Application Number Title Priority Date Filing Date
CN202121769419.5U Expired - Fee Related CN215181832U (en) 2021-08-01 2021-08-01 A computer case with self-cooling function

Country Status (1)

Country Link
CN (1) CN215181832U (en)

Cited By (1)

* Cited by examiner, † Cited by third party
Publication number Priority date Publication date Assignee Title
CN118819242A (en) * 2024-09-18 2024-10-22 南通八诀信息科技有限公司 A chassis with self-cleaning function

Cited By (1)

* Cited by examiner, † Cited by third party
Publication number Priority date Publication date Assignee Title
CN118819242A (en) * 2024-09-18 2024-10-22 南通八诀信息科技有限公司 A chassis with self-cleaning function

Similar Documents

Publication Publication Date Title
CN109038304B (en) Dustproof and ventilated outdoor power distribution cabinet
CN211580476U (en) Electrical cabinet with good heat dissipation performance
CN207976827U (en) The computer cabinet of good heat dissipation effect
CN215181832U (en) A computer case with self-cooling function
CN211580032U (en) Surveillance camera head convenient to dismantle and have automatically cleaning structure
CN209949715U (en) Double-panel integrated cabinet
CN215576430U (en) Computer machine case heat dissipation dust collector
CN210693118U (en) Wall-hanging electric power cabinet with stabilize installing support
CN210488475U (en) Heat radiation structure for industrial control host computer convenient to dismouting
CN212781891U (en) Remove convenient computer machine case
CN212966065U (en) An easy-to-install computer cooling device
CN214409894U (en) Automatic change computer constant temperature equipment
CN214528336U (en) Heat dissipation device for circulating water electromagnetic descaling instrument host
CN210431208U (en) A switching power supply with dust removal structure
CN223167083U (en) A heat dissipation mechanism for a computing module
CN220492520U (en) Ventilation power distribution cabinet
CN222052399U (en) A distribution box with dustproof mechanism
CN221710342U (en) PLC electric control cabinet
CN218042275U (en) Console back wall with information display function
CN221885692U (en) Low-voltage switch cabinet with reactive compensation function
CN219843299U (en) Efficient heat dissipation's dust protected switch board
CN222508405U (en) A dust-proof and dehumidification switch cabinet
CN220173540U (en) Electrical cabinet with dustproof function
CN212626815U (en) Dustproof outdoor type electric automation control cabinet of heat dissipation
CN221994992U (en) A safe power distribution equipment control cabinet that is easy to dissipate heat

Legal Events

Date Code Title Description
GR01 Patent grant
GR01 Patent grant
CF01 Termination of patent right due to non-payment of annual fee
CF01 Termination of patent right due to non-payment of annual fee

Granted publication date: 20211214