CN215123011U - A pig house ventilation system with exhaust air treatment - Google Patents

A pig house ventilation system with exhaust air treatment Download PDF

Info

Publication number
CN215123011U
CN215123011U CN202120898483.7U CN202120898483U CN215123011U CN 215123011 U CN215123011 U CN 215123011U CN 202120898483 U CN202120898483 U CN 202120898483U CN 215123011 U CN215123011 U CN 215123011U
Authority
CN
China
Prior art keywords
air
pig house
wet curtain
trench
air inlet
Prior art date
Legal status (The legal status is an assumption and is not a legal conclusion. Google has not performed a legal analysis and makes no representation as to the accuracy of the status listed.)
Active
Application number
CN202120898483.7U
Other languages
Chinese (zh)
Inventor
郑炜超
邓森中
李宗刚
张志豪
李保明
王阳
Current Assignee (The listed assignees may be inaccurate. Google has not performed a legal analysis and makes no representation or warranty as to the accuracy of the list.)
China Agricultural University
Original Assignee
China Agricultural University
Priority date (The priority date is an assumption and is not a legal conclusion. Google has not performed a legal analysis and makes no representation as to the accuracy of the date listed.)
Filing date
Publication date
Application filed by China Agricultural University filed Critical China Agricultural University
Priority to CN202120898483.7U priority Critical patent/CN215123011U/en
Application granted granted Critical
Publication of CN215123011U publication Critical patent/CN215123011U/en
Active legal-status Critical Current
Anticipated expiration legal-status Critical

Links

Images

Landscapes

  • Housing For Livestock And Birds (AREA)

Abstract

本实用新型涉及一种带排风处理的猪舍通风系统,包括:顶棚,顶棚由屋顶与吊顶构成,吊顶上设置有若干进风口,进风口处设置有角度可调的进风风门;湿帘间和湿帘,湿帘间由外侧墙与内侧墙之间的空间组成,湿帘设置于外侧墙上,内侧墙的顶端与屋顶之间设置有若干侧墙进风窗,侧墙进风窗位于吊顶的上方;湿帘、侧墙进风窗以及进风口共同构成进风通道;地沟,设置于吊顶的下方,地沟的上方架设有漏缝地板,漏缝地板被配置为将猪舍中的粪便和空气排入所述地沟中,地沟内设置有地沟风机,地沟风机通过排风通道与外界大气连通。本实用新型的猪舍通过冬季进风预热,降低猪只冷应激;通过通风优化,降低舍内有害污染物浓度。

Figure 202120898483

The utility model relates to a pig house ventilation system with exhaust air treatment, comprising: a ceiling, the ceiling is composed of a roof and a suspended ceiling, a plurality of air inlets are arranged on the suspended ceiling, and an air inlet door with an adjustable angle is arranged at the air inlet; a wet curtain The wet curtain room is composed of the space between the outer wall and the inner wall. The wet curtain is arranged on the outer wall, and there are several side wall air inlet windows between the top of the inner wall and the roof. The side wall air inlet windows It is located above the suspended ceiling; the wet curtain, the side wall air inlet window and the air inlet together constitute the air intake channel; Excrement and air are discharged into the trench, and a trench fan is arranged in the trench, and the trench fan communicates with the outside atmosphere through an exhaust passage. The pig house of the utility model reduces the cold stress of pigs by preheating the air in winter; and reduces the concentration of harmful pollutants in the house by optimizing the ventilation.

Figure 202120898483

Description

Pig house ventilation system of processing of airing exhaust in area
Technical Field
The utility model relates to a pig house ventilation system of processing of airing exhaust in area belongs to the facility agricultural engineering field.
Background
The modern large-scale live pig breeding mostly adopts a fully-closed pigsty, the breeding density is high, and the production efficiency is high. The environment in the pigsty is an important factor influencing the health and high-efficiency production of pigs, and ventilation is the most important means for controlling the environment of the pigsty. At present, most pigsties adopt a longitudinal ventilation mode, wherein a gable wet curtain at one end supplies air, and a gable fan at the other end exhausts air. However, with the increasing of the feeding amount and the breeding density of a single pigsty, the problems of healthy breeding and environmental pollution of pigs are increasingly emphasized, and the defects of the ventilation system of the conventional pigsty are highlighted. The main performance is as follows: the uniformity of the temperature of the pigsty is poor. Because the longitudinal distance is longer, the temperature of the pigsty rises gradually from the air inlet gable to the air exhaust gable, so that the temperature difference between the front and the back in the pigsty is larger. Secondly, the temperature of inlet air is low in winter, and the pig directly enters the house without preheating, so that the pig is easily subjected to cold stress. The temperature of fresh air entering a pigsty in winter is low, and a low-temperature area is easily formed, so that pigs in the area suffer from cold stress, the health of the pigs is influenced, and the production efficiency of the pigs is reduced. And thirdly, the concentration of harmful gas in the house is high, and the air quality is poor. Excrement is the main source of harmful gas and air microorganism in the house, and outside pig house excrement and urine passed through the leak floor and the ditch discharge house, harmful gas and air microorganism got into in the house can increase harmful gas concentration and air microorganism concentration in the ditch, are unfavorable for that the pig is healthy. High concentration of air pollutants discharged from the piggery and great environmental hazard, and the emission of pathogenic microorganisms in the air pollutants can influence the biological safety of the field and the surrounding environment. The air of the piggery contains a large amount of harmful gases such as ammonia gas, odor and the like, and a large amount of air particles and microorganisms. Harmful gas, air particles and microorganisms are directly discharged to the outside of the pigsty through a ventilation system of the pigsty, so that the field and the surrounding environment are polluted, and the biological safety of the field and the surrounding environment is threatened by the pathogenic microorganisms.
SUMMERY OF THE UTILITY MODEL
Aiming at the outstanding problems, the utility model provides a pigsty ventilation system with air exhaust treatment, aiming at improving the uniformity of the pigsty temperature distribution by reasonably arranging an air inlet and an air outlet; the cold stress of the pigs is reduced by the inlet air preheating in winter; the concentration of harmful pollutants in the house is reduced through ventilation optimization; and harmful pollutant emission is reduced through air exhaust treatment.
In order to achieve the purpose, the utility model adopts the following technical proposal:
a pigsty ventilation system with exhaust treatment, comprising:
the ceiling is composed of a roof and a suspended ceiling, a plurality of air inlets are formed in the suspended ceiling, and air inlet doors with adjustable angles are arranged at the air inlets;
the wet curtain room is composed of a space between an outer side wall and an inner side wall, the wet curtain is arranged on the outer side wall, a plurality of side wall air inlet windows are arranged between the top end of the inner side wall and the roof, and the side wall air inlet windows are positioned above the suspended ceiling; the wet curtain, the side wall air inlet window and the air inlet form an air inlet channel together;
the trench, set up in the below of furred ceiling, the top of trench is erect and is equipped with the slotted floor, the slotted floor is configured to discharge excrement and urine and the air in the pig house in the trench, be provided with the trench fan in the trench, the trench fan passes through exhaust passageway and external atmosphere intercommunication.
In the ventilation system for the pigsty, preferably, an air outlet end of the air exhaust channel is provided with an air treatment device, and the air treatment device is configured to purify air discharged from the inner pigsty and discharge the air into the external atmosphere.
Pig house ventilation system, preferably, air treatment facilities includes honeycomb duct, clean system and water circulating system, the inlet end of honeycomb duct pass through the exhaust fan with the end of giving vent to anger of the passageway of airing exhaust is connected, the end of giving vent to anger of honeycomb duct with clean system's input is connected, clean system's output and external atmosphere intercommunication, water circulating system's input and output respectively with the delivery port of honeycomb duct and shower nozzle in the clean system is connected.
The pig house ventilation system, preferably, clean system includes a plurality of wet curtain modules that distribute in proper order by supreme down and sprays the module, is located the top spray the top of module and install the defroster, ozone generator is installed to the top of defroster, wet curtain module with spray the module and be configured as dust, ammonia, sulphide and kill harmful bacterium in purifying the pig house in the air, ozone generator is configured as ionization and oxidation foul smell.
Pig house ventilation system, preferably, wet curtain module includes wet curtain of first layer and the wet curtain of second floor, the module that sprays includes first layer shower nozzle and second floor shower nozzle, the wet curtain of first layer is installed the end of giving vent to anger of honeycomb duct, the first layer shower nozzle is installed the top of the wet curtain of first layer, the wet curtain of second floor is installed the top of first layer shower nozzle, the shower nozzle of second floor is installed the top of the wet curtain of second floor.
The pig house ventilation system, preferably, water circulating system includes filter, water tank, water pump and sour case, the input of filter with the delivery port is connected, the output of filter with the entry linkage of water tank, the export of water tank with the input of water pump is connected, the output of water pump with the input of spraying the module is connected, the export of sour case with the entry linkage of water tank.
The pigsty ventilation system is characterized in that a passageway is preferably arranged in the pigsty along the length direction of the pigsty, one side of the passageway is provided with one trench, the other side of the passageway is connected with the inner side wall, or the pigsty is provided with one passageway along the length direction of the pigsty, and two trenches are symmetrically arranged on two sides of the passageway;
interior side wall the outer side wall with the wet curtain is injectd jointly to the side wall air inlet window between, the furred ceiling the roof with the side wall air inlet window is injectd jointly between the ceiling, between the wet curtain with be provided with a plurality of baffles along pig house length direction interval between the ceiling, the baffle will between the wet curtain with cut apart into a plurality of pig house units, every between the ceiling evenly distributed in the pig house unit wet curtain the side wall air inlet window the air intake with the trench fan.
The pigsty ventilation system is preferably provided with an independent control system for each pigsty unit, and the control system is configured to adjust the air volume, the humidity and the temperature of each pigsty unit.
The pigsty ventilation system is characterized in that an axial flow fan is preferably arranged on a gable wall at one end of the pigsty, a differential pressure sensor is further arranged on the axial flow fan, an air speed sensor is arranged at an air outlet of the trench fan, and the differential pressure sensor and the air speed sensor are both connected with the control system.
Based on above-mentioned pig house ventilation system, the utility model discloses still provide this pig house ventilation system's ventilation method, including following step:
air firstly enters a space between the inner side wall and the outer side wall through the wet curtain, then enters the ceiling space through the side wall air inlet window, and then enters the pig house through the air inlet, because of negative pressure formed by the trench fan in the trench, the air above the trench enters the trench, and then is discharged into the air exhaust channel together with the air in the trench, and finally the air enters the air treatment device through the air exhaust channel, and the air treatment device discharges the purified air into the external atmosphere.
The utility model discloses owing to take above technical scheme, it has following advantage:
1. the utility model provides a unit formula roof air inlet mode can preheat fresh air, avoids cold wind directly to reach the pig only, can solve the pig cold stress problem that vertical direction temperature distribution is uneven and cold wind arouses winter in the pig house, can guarantee vertical temperature distribution's homogeneity according to the water pump switch, the air door size of the different ventilation units of vertical temperature distribution condition control in the house simultaneously.
2. The utility model provides a trench fan ventilation mode makes and forms enough negative pressure in the trench through the amount of wind of control trench fan, prevents that harmful gas, germ etc. in the trench from volatilizing to inside the pig house, is favorable to guaranteeing the inside good air circumstance of pig house.
3. The utility model discloses air treatment method based on trench fan makes most harmful gas pass through the trench and discharges in the pig house, airs exhaust to the trench and handles, and the process air volume is less relatively, does benefit to reduce cost. Meanwhile, harmful gases and microorganisms in the discharged air can be purified through the air treatment device based on the subacid electrolyzed water and the ozone generator, the environment pollution of the pigsty tail gas is prevented, meanwhile, the subacid electrolyzed water and the ozone have no secondary pollution to the environment, and the green and environment-friendly production of the pigsty can be really realized.
Drawings
Fig. 1 is an overall schematic view of a ventilation system for a pigsty according to an embodiment of the present invention;
fig. 2 is a partial schematic view of a ventilation system for a pigsty according to the embodiment of the present invention;
fig. 3 is a schematic view illustrating a partition control of a ventilation system for a pigsty according to the embodiment of the present invention;
fig. 4 is a schematic view of the internal structure of the air treatment device in the ventilation system of the pigsty according to the embodiment of the present invention;
the reference numerals in the figures are as follows:
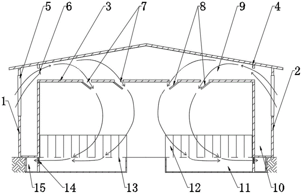
1-inner side wall; 2-an outer side wall; 3, hanging the ceiling; 4-a roof; 5, wet curtain; 6-side wall air inlet window; 7-air inlet; 8-air intake door; 9-ceiling space; 10-wet curtain space; 11-trench; 12-circled rail; 13-a slatted floor; 14-a trench fan; 15-an exhaust channel; 16-a separator; 17-air treatment device, 1701-flow guide pipe, 1702-first layer wet curtain, 1703-first layer spray head, 1704-second layer wet curtain, 1705-second layer spray head, 1706-demister, 1707-ozone generator, 1708-waterproof hood, 1709-water outlet, 1710-filter, 1711-water tank, 1712-water pump, 1713-metering pump and 1714-acid tank; 18-an axial fan; 19-exhaust fan.
Detailed Description
In order to make the objects, technical solutions and advantages of the present invention clearer, the technical solutions of the present invention are clearly and completely described below, and it is obvious that the described embodiments are some, but not all embodiments of the present invention. Based on the embodiments in the present invention, all other embodiments obtained by the ordinary person in the art without creative work belong to the protection scope of the present invention.
Unless defined otherwise, technical or scientific terms used herein shall have the ordinary meaning as understood by those of ordinary skill in the art to which the invention belongs. As used herein, the terms "upper," "lower," "first," "second," and the like do not denote any order, quantity, or importance, but rather are used to distinguish one element from another. The word "comprising" or "comprises", and the like, means that the element or item listed before the word covers the element or item listed after the word and its equivalents, but does not exclude other elements or items. The terms "connected" or "coupled" and the like are not restricted to physical or mechanical connections, but may include electrical connections, whether direct or indirect.
The utility model provides a pig house ventilation system of processing of airing exhaust in area, include:
the ceiling consists of a roof 4 and a suspended ceiling 3, a plurality of air inlets 7 are arranged on the suspended ceiling 3, and air inlet doors 8 with adjustable angles are arranged at the air inlets 7;
the wet curtain structure comprises a wet curtain room 10 and wet curtains 5, wherein the wet curtain room 10 is composed of a space between an outer side wall 2 and an inner side wall 1, the wet curtains 5 are arranged on the outer side wall 2, a plurality of side wall air inlet windows 6 are arranged between the top end of the inner side wall 1 and a roof 4, and the side wall air inlet windows 6 are positioned above a suspended ceiling 3; the wet curtain 5, the side wall air inlet window 6 and the air inlet 7 form an air inlet channel together;
the trench 11 is arranged below the suspended ceiling 3, a leaky floor 13 is erected above the trench 11, the leaky floor 13 is configured to discharge excrement and air in the pigsty into the trench 11, a trench fan 14 is arranged in the trench 11, and the trench fan 14 is communicated with the outside atmosphere through an exhaust channel. The utility model provides a unit formula roof air inlet mode can preheat fresh air, avoids cold wind directly to reach the pig only, can solve the pig cold stress problem that vertical direction temperature distribution is uneven and cold wind arouses winter in the pig house, can guarantee vertical temperature distribution's homogeneity according to water pump, the air door size of the different ventilation units of vertical temperature distribution condition control in the house simultaneously.
In a preferred embodiment of the present invention, the air outlet end of the air exhaust channel 15 is provided with an air treatment device 17, and the air treatment device 17 is configured to filter the air discharged from the pigsty and discharge the air into the external atmosphere.
In a preferred embodiment of the present invention, the air treatment device 17 comprises a flow guide pipe 1701 (acrylic is preferred for the material), a purification system and a water circulation system, the air inlet end of the flow guide pipe 1701 is connected with the air outlet end of the air exhaust channel 15 through an exhaust fan 19, the air outlet end of the flow guide pipe 1701 is connected with the input end of the purification system, the output end of the purification system is communicated with the external atmosphere, and the input end and the output end of the water circulation system are respectively connected with the water outlet 1709 of the flow guide pipe 1701 and the spray head in the purification system. The utility model discloses utilize air treatment facilities to handle reducible processing air volume to 14 combustion gas of trench fan, can reduce 90% air handling capacity when summer, do benefit to and reduce the energy consumption and practice thrift the cost. The air treatment device 17 treats the discharged air through two layers of wet curtains and high-voltage static electricity: slightly acidic electrolyzed water is used as wet curtain spraying liquid to purify dust, ammonia gas and hydrogen sulfide in the gas and kill harmful bacteria; the high voltage generated by the ozone generator 1707 and the generated ozone ionizes and oxidizes odors (organic macromolecules). Meanwhile, a waterproof hood 1708 is arranged on the uppermost portion of the air treatment device 17 to prevent rainwater from entering the treatment device.
In a preferred embodiment of the present invention, the purification system comprises a plurality of wet curtain modules (cellular plastic wet curtains) and spraying modules alternately distributed from bottom to top, a demister 1706 (for preventing water vapor from passing) is installed above the spraying module located at the top, an ozone generator 1707 is installed above the demister 1706, the wet curtain modules and the spraying modules are configured to purify dust, ammonia gas and sulfide in the air in the pigsty and kill harmful bacteria, and the ozone generator 1707 is configured to ionize and oxidize odor gas.
In a preferred embodiment of the present invention, the wet curtain module comprises a first layer wet curtain 1702 and a second layer wet curtain 1704, the spraying module comprises a first layer spray nozzle 1703 and a second layer spray nozzle 1705, the first layer wet curtain 1702 is installed at the air outlet end of the draft tube 1701, the first layer spray nozzle 1703 is installed above the first layer wet curtain 1702, the second layer wet curtain 1704 is installed above the first layer spray nozzle 1703, and the second layer spray nozzle 1705 is installed above the second layer wet curtain 1704. The number of the spray heads in the spray module can be increased or decreased according to the actual situation.
In a preferred embodiment of the present invention, the water circulation system includes a filter 1710, a water tank 1711, a water pump 1712 and an acid tank 1714 (for recovering acid and providing slightly acidic electrolyzed water, which is connected through an acid-resistant plastic water pipe), the input end of the filter 1710 is connected with the water outlet 1709, the output end of the filter 1710 is connected with the inlet of the water tank 1711, the outlet of the water tank 1711 is connected with the input end of the water pump 1712, the output end of the water pump 1712 is connected with the input end of the spray module, and the outlet of the acid tank 1714 is connected with the inlet of the water tank 1711. In this embodiment, acid liquor after spraying flows back to water tank 1711 through filter 1710, and then water pump 1712 transports acidizing fluid to the shower nozzle once more, realizes cyclic utilization, and when the PH in water tank 1711 was higher, in pumping into water tank 1711 with slightly acidic electrolysis water through measuring pump 1713, the PH value of acidizing fluid in messenger's water tank 1711 was in suitable range, guarantees treatment effect.
In a preferred embodiment of the present invention, the pigsty is provided with a passageway along the length direction thereof, one side of the passageway is provided with a trench 11, the other side of the passageway is connected with the inner side wall 1, or the inner pigsty is provided with a passageway along the length direction thereof, and two trenches 11 are symmetrically arranged on both sides of the passageway;
interior side wall 1, outer side wall 2 and side wall air inlet window 6 inject wet curtain room 10 jointly, 9 between the ceiling are injectd jointly to furred ceiling 3, roof 4 and side wall air inlet window 6, 9 are provided with a plurality of baffles along pig house length direction interval between wet curtain room 10 and ceiling, the baffle will be divided into a plurality of pig house units between wet curtain room 10 and ceiling 9, evenly distributed has wet curtain 5, side wall air inlet window 6, air intake 7 and trench fan 14 in every pig house unit.
The utility model discloses in, the cold air gets into the back from side wall air inlet window 6, gets into the pig house after mixing with the roof air, and make full use of pig house upper portion space heat preheats fresh cold air, avoids the low temperature air directly to reach the pig and only causes the cold stress of pig on the surface. Meanwhile, the wet curtain 5, the air inlet 7 and the trench fan 14 are divided into a plurality of partition units, each unit can be independently controlled, each partition can be independently controlled according to the temperature of each partition when the ventilation system runs, the size of the air inlet 7 is changed, the wet curtain 5 is opened or closed, the temperature in each partition is regulated and controlled, and the temperature uniformity in the house is improved.
The wet curtain water pump, the air inlet door 8 and the trench fan 14 of each unit can be independently controlled according to the temperature value of the partition. In summer, the wet curtain water pump is opened to cool down to control the wet curtain 5 and the 8 divisions of air inlet door of every unit according to each unit temperature distribution condition in the house and improve temperature uniformity in the house: when the temperature is lower than the optimal temperature range, the motor is controlled to reduce the opening angle of the air inlet door 8, the cold air inlet amount of the unit is reduced, the air speed at the wet curtain 5 is monitored, in order to ensure the minimum ventilation amount of the unit, when the air speed is too small, the angle of the air inlet door 8 is stopped to be further reduced, and the wet curtain water pump of the unit is intermittently opened and closed to reduce the cold air inlet amount; when the temperature is higher than the optimal temperature range, the motor is controlled to increase the opening angle of the air inlet door 8, the air inlet amount of cold air is increased, and meanwhile, the opening angles of the air inlet doors 8 of other units are properly reduced (the temperature of other units is still in the optimal temperature range). When the temperature of the subareas is lower than the optimal temperature range, the motor is controlled to reduce the opening angle of the air inlet door 8, reduce the ventilation quantity and reduce the cold air inlet quantity; when the temperature of the subarea is higher than the optimal temperature range, the opening angle of the air inlet door 8 is increased by controlling the motor, the ventilation volume is increased, and the cold air inlet volume is increased. In a preferred embodiment of the present invention, the center points of the wet curtain 5, the side wall air inlet window 6 and the air inlet 7 are located on the same axis, and each pigsty unit is provided with an independent control system, and the control system is configured to adjust the air volume, humidity and temperature of each pigsty unit.
In a preferred embodiment of the present invention, the axial flow fan 18 is disposed at one end of the gable, the axial flow fan 18 is further provided with a differential pressure sensor, the air outlet of the trench fan 14 is provided with an air speed sensor, and the differential pressure sensor and the air speed sensor are both connected to the control system. The ventilation volume of the axial flow fan 18 and the ventilation volume of the trench fan 14 can be respectively calculated by arranging a differential pressure sensor and a wind speed sensor. In spring, summer and autumn, the ventilation volume of the pigsty is large, and the pigsty is mainly ventilated through the axial flow fan 18. During ventilation, enough axial flow fans 18 are started to ensure the necessary ventilation quantity in the house, meanwhile, the trench fans 14 are started, the anemograph is used for monitoring the wind speed, the ventilation quantity of the trench fans 14 in summer is at least 10% of the total ventilation quantity, the ventilation quantity of the trench fans 14 in spring and autumn is 30% of the total ventilation quantity, and therefore more than 60% of harmful gas in the trench 11 can be discharged through the trench 11; in winter, the axial flow fan 18 is closed, and the air in the piggery is completely discharged through the trench fan 14, so that harmful gas in the trench 11 is prevented from entering the piggery.
Based on above-mentioned pig house ventilation system, the utility model discloses still provide this pig house ventilation system's ventilation method, including following step:
air firstly enters a wet curtain room 10 between the inner side wall 1 and the outer side wall 2 through a wet curtain 5, then enters a ceiling room 9 through a side wall air inlet window 6, then enters the pig house through an air inlet 7, air above the trench 11 enters the trench 11 due to negative pressure formed by a trench fan 14 in the trench 11, then is discharged into an exhaust channel 15 together with air in the trench 11, finally the air enters an air treatment device 17 through the exhaust channel 15, and the air treatment device 17 discharges purified air into the external atmosphere.
Finally, it should be noted that: the above embodiments are only used to illustrate the technical solution of the present invention, and not to limit it; although the present invention has been described in detail with reference to the foregoing embodiments, it should be understood by those skilled in the art that: the technical solutions described in the foregoing embodiments may still be modified, or some technical features may be equivalently replaced; such modifications and substitutions do not depart from the spirit and scope of the present invention in its corresponding aspects.

Claims (9)

1.一种带排风处理的猪舍通风系统,其特征在于,包括:1. a pig house ventilation system with exhaust air treatment is characterized in that, comprising: 顶棚,所述顶棚由屋顶(4)与吊顶(3)构成,所述吊顶(3)上设置有若干进风口(7),所述进风口(7)处设置有角度可调的进风风门(8);A ceiling, the ceiling is composed of a roof (4) and a suspended ceiling (3), a plurality of air inlets (7) are arranged on the suspended ceiling (3), and an air inlet air door with an adjustable angle is arranged at the air inlet (7). (8); 湿帘间(10)和湿帘(5),所述湿帘间(10)由外侧墙(2)与内侧墙(1)之间的空间组成,所述湿帘(5)设置于所述外侧墙(2)上,所述内侧墙(1)的顶端与所述屋顶(4)之间设置有若干侧墙进风窗(6),所述侧墙进风窗(6)位于所述吊顶(3)的上方;所述湿帘(5)、所述侧墙进风窗(6)以及所述进风口(7)共同构成进风通道;A wet curtain room (10) and a wet curtain (5), the wet curtain room (10) is composed of a space between an outer wall (2) and an inner wall (1), and the wet curtain (5) is arranged in the On the outer wall (2), a plurality of side wall air inlet windows (6) are arranged between the top end of the inner wall (1) and the roof (4), and the side wall air inlet windows (6) are located in the Above the suspended ceiling (3); the wet curtain (5), the side wall air inlet window (6) and the air inlet (7) together constitute an air inlet channel; 地沟(11),设置于所述吊顶(3)的下方,所述地沟(11)的上方架设有漏缝地板(13),所述漏缝地板(13)被配置为将猪舍中的粪便和空气排入所述地沟(11)中,所述地沟(11)内设置有地沟风机(14),所述地沟风机(14)通过排风通道与外界大气连通。A trench (11) is arranged below the suspended ceiling (3), a slatted floor (13) is built above the trench (11), and the slatted floor (13) is configured to remove the feces in the pig house and air is discharged into the trench (11), a trench fan (14) is arranged in the trench (11), and the trench fan (14) communicates with the outside atmosphere through an exhaust passage. 2.根据权利要求1所述的猪舍通风系统,其特征在于,所述排风通道(15)的出气端设置有空气处理装置(17),所述空气处理装置(17)被配置为将内猪舍排放的空气进行净化处理并排入外界大气中。2. The pig house ventilation system according to claim 1, characterized in that, an air treatment device (17) is provided at the air outlet end of the exhaust air passage (15), and the air treatment device (17) is configured to The air discharged from the inner pig house is purified and discharged into the outside atmosphere. 3.根据权利要求2所述的猪舍通风系统,其特征在于,所述空气处理装置(17)包括导流管(1701)、净化系统和水循环系统,所述导流管(1701)的进气端通过排风机(19)与所述排风通道(15)的出气端连接,所述导流管(1701)的出气端与所述净化系统的输入端连接,所述净化系统的输出端与外界大气连通,所述水循环系统的输入端和输出端分别与所述导流管(1701)的出水口(1709)以及所述净化系统内的喷头连接。3. The pig house ventilation system according to claim 2, wherein the air treatment device (17) comprises a guide pipe (1701), a purification system and a water circulation system, and the inlet of the guide pipe (1701) The air end is connected to the air outlet end of the air exhaust passage (15) through the exhaust fan (19), the air outlet end of the guide pipe (1701) is connected to the input end of the purification system, and the output end of the purification system In communication with the outside air, the input end and the output end of the water circulation system are respectively connected with the water outlet (1709) of the guide pipe (1701) and the spray head in the purification system. 4.根据权利要求3所述的猪舍通风系统,其特征在于,所述净化系统包括若干由下至上依次交替分布的湿帘模块和喷淋模块,位于最上端的所述喷淋模块的上方安装有除雾器(1706),所述除雾器(1706)的上方安装有臭氧发生器(1707),所述湿帘模块和所述喷淋模块被配置为净化猪舍内空气中的粉尘、氨气、硫化物及杀灭有害菌,所述臭氧发生器(1707)被配置为电离和氧化臭气。4. The pig house ventilation system according to claim 3, wherein the purification system comprises a plurality of wet curtain modules and spray modules which are alternately distributed from bottom to top, and are installed above the spray module at the uppermost end. There is a mist eliminator (1706), an ozone generator (1707) is installed above the mist eliminator (1706), and the wet curtain module and the spray module are configured to purify the dust in the air in the pig house, Ammonia, sulfide and kill harmful bacteria, the ozone generator (1707) is configured to ionize and oxidize odor. 5.根据权利要求4所述的猪舍通风系统,其特征在于,所述湿帘模块包括第一层湿帘(1702)和第二层湿帘(1704),所述喷淋模块包括第一层喷头(1703)和第二层喷头(1705),所述第一层湿帘(1702)安装在所述导流管(1701)的出气端,所述第一层喷头(1703)安装在所述第一层湿帘(1702)的上方,所述第二层湿帘(1704)安装在所述第一层喷头(1703)的上方,所述第二层喷头(1705)安装在所述第二层湿帘(1704)的上方。5. The pig house ventilation system according to claim 4, wherein the wet pad module comprises a first layer of wet pad (1702) and a second layer of wet pad (1704), and the spray module comprises a first layer of wet pad (1702) and a second layer of wet pad (1704). A layer nozzle (1703) and a second layer nozzle (1705), the first layer of wet curtain (1702) is installed at the air outlet end of the guide pipe (1701), and the first layer nozzle (1703) is installed in the Above the first layer of wet curtain (1702), the second layer of wet curtain (1704) is installed above the first layer of spray heads (1703), and the second layer of spray heads (1705) is installed on the first layer of spray heads (1705). Above the second layer of wet curtain (1704). 6.根据权利要求4所述的猪舍通风系统,其特征在于,所述水循环系统包括过滤器(1710)、水箱(1711)、水泵(1712)和酸箱(1714),所述过滤器(1710)的输入端与所述出水口(1709)连接,所述过滤器(1710)的输出端与所述水箱(1711)的入口连接,所述水箱(1711)的出口与所述水泵(1712)的输入端连接,所述水泵(1712)的输出端与所述喷淋模块的输入端连接,所述酸箱(1714)的出口与所述水箱(1711)的入口连接。6. The pig house ventilation system according to claim 4, wherein the water circulation system comprises a filter (1710), a water tank (1711), a water pump (1712) and an acid tank (1714), the filter (1711) The input end of 1710 is connected to the water outlet (1709), the output end of the filter (1710) is connected to the inlet of the water tank (1711), and the outlet of the water tank (1711) is connected to the water pump (1712) ) is connected to the input end of the water pump (1712), the output end of the water pump (1712) is connected to the input end of the spray module, and the outlet of the acid tank (1714) is connected to the inlet of the water tank (1711). 7.根据权利要求1所述的猪舍通风系统,其特征在于,猪舍沿其长度方向设置有一过道,所述过道的一侧设置有一条所述地沟(11),所述过道另一侧与所述内侧墙(1)连接,或猪舍沿其长度方向设置有一过道,所述过道两侧对称设置有两条所述地沟(11);7. The pig house ventilation system according to claim 1, wherein the pig house is provided with an aisle along its length direction, one side of the aisle is provided with a trench (11), and the other side of the aisle is provided with a trench (11) It is connected with the inner wall (1), or the pig house is provided with an aisle along its length direction, and two trenches (11) are symmetrically arranged on both sides of the aisle; 所述内侧墙(1)、所述外侧墙(2)和所述侧墙进风窗(6)共同限定出湿帘间(10),所述吊顶(3)、所述屋顶(4)和所述侧墙进风窗(6)共同限定出顶棚间(9),所述湿帘间(10)和所述顶棚间(9)沿猪舍长度方向间隔设置有若干隔板,所述隔板将所述湿帘间(10)和所述顶棚间(9)分割成若干猪舍单元,每个所述猪舍单元内均匀分布有所述湿帘(5)、所述侧墙进风窗(6)、所述进风口(7)和所述地沟风机(14)。The inner wall (1), the outer wall (2) and the side wall air inlet window (6) together define a wet curtain room (10), the suspended ceiling (3), the roof (4) and the The side wall air inlet windows (6) together define a ceiling room (9), and a plurality of partitions are provided at intervals along the length direction of the pig house between the wet curtain room (10) and the ceiling room (9). The board divides the wet curtain room (10) and the ceiling room (9) into several pig house units, and each pig house unit is evenly distributed with the wet curtain (5), the side wall air intake The window (6), the air inlet (7) and the trench fan (14). 8.根据权利要求7所述的猪舍通风系统,其特征在于,每个所述猪舍单元设置有独立的控制系统,所述控制系统被配置为调节每个所述猪舍单元的风量、湿度和温度。8. The pig house ventilation system according to claim 7, wherein each of the pig house units is provided with an independent control system, and the control system is configured to adjust the air volume, humidity and temperature. 9.根据权利要求8所述的猪舍通风系统,其特征在于,猪舍的一端山墙上设置有轴流风机(18),所述轴流风机(18)上还设置有压差传感器,所述地沟风机(14)的排风口处设置有风速传感器,所述压差传感器和所述风速传感器均与所述控制系统连接。9. The pig house ventilation system according to claim 8, wherein an axial flow fan (18) is provided on one end gable of the pig house, and a differential pressure sensor is also provided on the axial flow fan (18), so that the An air velocity sensor is arranged at the air outlet of the trench blower (14), and both the differential pressure sensor and the air velocity sensor are connected to the control system.
CN202120898483.7U 2021-04-28 2021-04-28 A pig house ventilation system with exhaust air treatment Active CN215123011U (en)

Priority Applications (1)

Application Number Priority Date Filing Date Title
CN202120898483.7U CN215123011U (en) 2021-04-28 2021-04-28 A pig house ventilation system with exhaust air treatment

Applications Claiming Priority (1)

Application Number Priority Date Filing Date Title
CN202120898483.7U CN215123011U (en) 2021-04-28 2021-04-28 A pig house ventilation system with exhaust air treatment

Publications (1)

Publication Number Publication Date
CN215123011U true CN215123011U (en) 2021-12-14

Family

ID=79364518

Family Applications (1)

Application Number Title Priority Date Filing Date
CN202120898483.7U Active CN215123011U (en) 2021-04-28 2021-04-28 A pig house ventilation system with exhaust air treatment

Country Status (1)

Country Link
CN (1) CN215123011U (en)

Cited By (1)

* Cited by examiner, † Cited by third party
Publication number Priority date Publication date Assignee Title
CN113100077A (en) * 2021-04-28 2021-07-13 中国农业大学 A pig house ventilation system and ventilation method with exhaust air treatment

Cited By (1)

* Cited by examiner, † Cited by third party
Publication number Priority date Publication date Assignee Title
CN113100077A (en) * 2021-04-28 2021-07-13 中国农业大学 A pig house ventilation system and ventilation method with exhaust air treatment

Similar Documents

Publication Publication Date Title
CN104807091B (en) The air cleaning unit that a kind of Total heat exchange fresh air system is coupled with indoor purifying
CN107912305B (en) A ventilation system for pig houses in cold regions
CN113100077A (en) A pig house ventilation system and ventilation method with exhaust air treatment
CN104756896B (en) A kind of closed poultry house ventilating system of anti-cross infection
CN103947564B (en) Energy-saving and intensive pig house and its continuous row arrangement method and airflow control method
CN106352444A (en) Novel efficient fresh air ventilator
CN105890100A (en) Window type air purification heat exchanger
CN103836758A (en) Ventilation system and control method thereof
CN105299830A (en) Air quality management device
CN206018904U (en) Ventilation air interchange system
CN104920234B (en) A kind of pig house for reducing pollutant emission
CN215123011U (en) A pig house ventilation system with exhaust air treatment
CN204907459U (en) New trend heat exchanger clean system
CN205677115U (en) A kind of building curtain wall ventilation unit
CN205196585U (en) Animal feeding and energy -conserving purifier in laboratory
CN110839534A (en) Ventilation system suitable for pig house
CN106705336A (en) Air purifying device
CN204240525U (en) Single channel accumulation of energy aeration device and indoor air cleaner
CN208431872U (en) A kind of smart home air cleaning unit
CN211319096U (en) Automatic ventilation system of laying hen house
CN209944677U (en) New fan
CN205747324U (en) Window air cleaning heat exchanger
CN217773588U (en) Air purification system of garbage transfer station
CN216492619U (en) Animal husbandry house ventilation device for animal husbandry breeding
CN212132706U (en) Machine and air conditioner in air inlet subassembly, suspension type air conditioning

Legal Events

Date Code Title Description
GR01 Patent grant
GR01 Patent grant