CN215086762U - 特制化肥无尘化智能微工厂 - Google Patents

特制化肥无尘化智能微工厂 Download PDF

Info

Publication number
CN215086762U
CN215086762U CN202121532983.5U CN202121532983U CN215086762U CN 215086762 U CN215086762 U CN 215086762U CN 202121532983 U CN202121532983 U CN 202121532983U CN 215086762 U CN215086762 U CN 215086762U
Authority
CN
China
Prior art keywords
station
feeding
fertilizer
free
gravity
Prior art date
Legal status (The legal status is an assumption and is not a legal conclusion. Google has not performed a legal analysis and makes no representation as to the accuracy of the status listed.)
Expired - Fee Related
Application number
CN202121532983.5U
Other languages
English (en)
Inventor
马腾远
Current Assignee (The listed assignees may be inaccurate. Google has not performed a legal analysis and makes no representation or warranty as to the accuracy of the list.)
Shandong Qi Long Electronic Co ltd
Original Assignee
Shandong Qi Long Electronic Co ltd
Priority date (The priority date is an assumption and is not a legal conclusion. Google has not performed a legal analysis and makes no representation as to the accuracy of the date listed.)
Filing date
Publication date
Application filed by Shandong Qi Long Electronic Co ltd filed Critical Shandong Qi Long Electronic Co ltd
Priority to CN202121532983.5U priority Critical patent/CN215086762U/zh
Application granted granted Critical
Publication of CN215086762U publication Critical patent/CN215086762U/zh
Expired - Fee Related legal-status Critical Current
Anticipated expiration legal-status Critical

Links

Images

Landscapes

  • Fertilizers (AREA)

Abstract

本实用新型提供一种特制化肥无尘化智能微工厂,包括安装架体、无尘投料站、智能配料站、无重力混料站、高速袋装站及自动控制系统,通过自动控制系统实现对无尘投料站、智能配料站、无重力混料站及高速袋装站的运行进行自动控制,实现肥料的自动化、智能化加工生产,做到运行状态数据实时呈现,并且无尘投料站、智能配料站、无重力混料站及高速袋装站依次从上到下彼此密封对接并安装在安装架体上,使肥料从上到下依次经过无尘投料站、智能配料站、无重力混料站及高速袋装站进行加工的过程中,在重力的作用下顺畅地从上向下流动,从而实现化肥的无尘化生产并提高了生产效率。

Description

特制化肥无尘化智能微工厂
技术领域
本实用新型涉及肥料加工技术领域,具体为一种特制化肥无尘化智能微工厂。
背景技术
测土配方肥是由含有多种元素的肥料配置而成的,为了调节和解决作物需肥与土壤供肥之间的矛盾,同时有针对性地补充作物所需的营养元素,作物缺什么元素就补充什么元素,需要多少补多少,实现各种养分平衡供应,满足作物的需要,达到提高肥料利用率和减少用量,提高作物产量,改善农产品品质,将氮、磷、钾及中、微量元素等肥料按照合理的重量配比配制成作物生长所需的测土配方肥。然而现有的配方肥加工厂的各肥料加工设备在生产加工肥料的过程中,粉尘四溢会给生产人员的健康带来危害,而且各肥料加工设备水平摆放,且都有专门的人员进行操作,肥料加工生产的生产效率较低,占地面积大,成本高。
以上背景技术内容的公开仅用于辅助理解本实用新型的构思及技术方案,其并不必然属于本专利申请的现有技术,在没有明确的证据表明上述内容在本专利申请的申请日已经公开的情况下,上述背景技术不应当用于评价本申请的新颖性和创造性。
实用新型内容
本实用新型的目的就在于为了解决上述问题而提供一种特制化肥无尘化智能微工厂。
为达到上述目的,本实用新型采用的技术方案为:一种特制化肥无尘化智能微工厂,包括安装架体、无尘投料站、智能配料站、无重力混料站、高速袋装站及自动控制系统,安装架体包括多个从上到下分层设置的安装平台,无尘投料站、智能配料站、无重力混料站、高速袋装站及自动控制系统依次从上到下对应安装在各安装平台上;
自动控制系统包括一安装在安装架体上的PLC控制柜,PLC控制柜内设有PLC控制器及触控屏模组,PLC控制器对无尘投料站、智能配料站、无重力混料站及高速袋装站的运行进行自动控制,触控屏模组内集成了与各设备对应的多个组态软件模块,组态软件模块采用组态软件设计,这些组态软件模块的调用根据产线的配置情况不同而不同,组态软件模块包括系统管理模块、设备监控模块、故障报警模块和数据库存储模块;
无尘投料站采用两台自带负压集尘功能的投料机,用于肥料生产过程中的开袋和投料,两台投料机一左一右并排安装在安装架体的安装平台上,每台投料机包括投料仓、设于投料仓上方的抽风通道及设于投料仓下方的料斗,抽风通道上端开口并通过螺钉固定有固定座,一抽风机通过螺钉固定在固定座上,固定座中央设有通孔,抽风机的输出轴穿过固定座的通孔伸入到投料仓内侧,抽风叶片连接在输出轴上,固定座于通孔外围设有多个通风孔,通风孔正对抽风机的抽风叶片,抽风通道于抽风叶片正下方设有集尘布袋,投料仓一侧连接一向上倾斜的投料通道,投料通道的投料口设置有进料门,投料通道顶部内壁铰接有挡尘板,挡尘板在重力作用下呈竖直状态,挡尘板部分遮挡投料通道;
智能配料站包括两台双辊破碎机及设于双辊破碎机正下方的两台减量称,两台双辊破碎机及两台减量称分别一左一右并排安装在同一安装平台上,每台双辊破碎机对应设于其中一台投料机的正下方且对应安装于其中一台减量称的上方,双辊破碎机包括进料斗、出料斗、设于进料斗与出料斗之间的破碎箱及设于破碎箱内的两个破碎辊,进料斗与投料机的料斗密封对接,出料斗与减量称的称重料斗密封对接;双辊破碎机为双驱动,两个破碎辊各连接一个破碎机电机,PLC控制器根据需要分别调整破碎机电机的转速;每台减量称包括称重料斗、设于称重料斗下方的卸料螺旋及肥料出口,减量称用于少量多次连续称重、连续均匀给料,减量称通过卸料螺旋连续往外卸料,卸料螺旋与减量称电机连接,减量称电机驱动卸料螺旋旋转;
无重力混料站包括一第一缓存料仓一无重力双螺带搅拌机及一第二缓存料仓,第一缓存料仓下端连接于无重力双螺带搅拌机顶部,第二缓存料仓上端连接于无重力双螺带搅拌机底部,减量称的肥料出口与第一缓存料仓上端密封对接,无重力双螺带搅拌机包括搅拌箱、设于搅拌箱内的两个转动轴及设于转动轴外围的叶片;两个转动轴并排设在搅拌箱内,叶片沿着转动轴轴向分布且与转动轴之间通过叶柄连接,转动轴与搅拌电机连接;
高速袋装站包括一台粉料通用包装机、一台皮带输送机及一台缝包机,粉料通用包装机上端与第二缓存料仓密封对接,粉料通用包装机设于皮带输送机右端上方,缝包机设于皮带输送机左端上方,肥料成品经粉料通用包装机包装后再经皮带输送机进行输送,最后用缝包机封口。
进一步地,所述安装架体左侧设有一液压升降机,右侧设有一爬梯。
进一步地,所述投料机的投料仓内壁上安装振动器,在料斗内安装筛分装置,抽风机及振动器与PLC控制器通讯连接,以便对抽风机及振动器的工作状态进行控制。
进一步地,所述称重料斗内设有称重传感器,破碎机电机、减量称电机、称重传感器、搅拌电机与PLC控制器连接,以便控制破碎机电机、减量称电机及搅拌电机的工作状态。
本实用新型的特制化肥无尘化智能微工厂通过自动控制系统实现对无尘投料站、智能配料站、无重力混料站及高速袋装站的运行进行自动控制,实现肥料的自动化、智能化加工生产,做到运行状态数据实时呈现,并且无尘投料站、智能配料站、无重力混料站及高速袋装站依次从上到下彼此密封对接并安装在安装架体上,使肥料从上到下依次经过无尘投料站、智能配料站、无重力混料站及高速袋装站进行加工的过程中,在重力的作用下顺畅地从上向下流动,从而实现化肥的无尘化生产,减少了占地空间,并提高了生产效率。
附图说明
下面结合附图和实施例对本实用新型进一步说明。
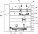
图1是本实用新型优选实施例提供的特制化肥无尘化智能微工厂的结构示意图;
图2是图1中投料机的结构示意图;
图3是图1中破碎机的结构示意图;
图4是图1中减量称的结构示意图;
图5是图1中无重力双螺带搅拌机的结构示意图;
图中:投料机10、投料仓11、投料通道111、挡尘板112、进料门113、抽风通道12、料斗13、固定座14、通孔140、通风孔141、抽风机15、输出轴151、抽风叶片152、振动器16、集尘布袋17、破碎机22、破碎辊221、进料斗222、破碎机电机223、出料斗224、破碎箱226、减量称24、减量称电机241、称重料斗242、卸料螺旋244、肥料出口246、第一缓存料仓31、无重力双螺带搅拌机32、搅拌箱321、转动轴322、叶片323、叶柄324、搅拌电机325、第二缓存料仓33、粉料通用包装机41、皮带输送机42、缝包机43、PLC控制柜50、安装架体60、安装平台61、液压升降机62、爬梯63。
具体实施方式
现在结合附图和实施例对本实用新型作进一步详细的说明,这些附图均为简化的示意图,仅以示意方式说明本实用新型的基本结构,因此其仅显示与本实用新型有关的构成。
在本实用新型的描述中,需要理解的是,术语“中心”、“纵向”、“横向”、“上”、“下”、“前”、“后”、“左”、“右”、“竖直”、“水平”、“顶”、“底”、“内”、“外”等指示的方位或位置关系为基于附图所示的方位或位置关系,仅是为了便于描述本实用新型和简化描述,而不是指示或暗示所指的装置或元件必须具有特定的方位、以特定的方位构造和操作,因此不能理解为对本实用新型的限制。此外,术语“第一”、“第二”等仅用于描述目的,而不能理解为指示或暗示相对重要性或者隐含指明所指示的技术特征的数量。由此,限定有“第一”、“第二”等的特征可以明示或者隐含地包括一个或者更多个该特征。在本实用新型的描述中,除非另有说明,“多个”的含义是两个或两个以上。
在本实用新型的描述中,需要说明的是,除非另有明确的规定和限定,术语“安装”、“相连”、“连接”应做广义理解,例如,可以是固定连接,也可以是可拆卸连接,或一体地连接;可以是机械连接,也可以是电连接;可以是直接相连,也可以通过中间媒介间接相连,可以是两个元件内部的连通。对于本领域的普通技术人员而言,可以通过具体情况理解上述术语在本实用新型中的具体含义。
如图1至图5所示,本实用新型一优选实施例提供的一种特制化肥无尘化智能微工厂,包括安装架体60、无尘投料站、智能配料站、无重力混料站、高速袋装站及自动控制系统。
自动控制系统包括一安装在安装架体60上的PLC控制柜50,PLC控制柜50内设有PLC控制器及触控屏模组,PLC控制器对无尘投料站、智能配料站、无重力混料站及高速袋装站的运行进行自动控制,触控屏模组内集成了与无尘化智能微工厂的各设备对应的各种组态软件模块,组态软件模块采用组态软件设计,具体实施中,这些组态软件模块的调用根据产线的配置情况不同而不同,组态软件模块包括系统管理模块、设备监控模块、故障报警模块和数据库存储模块,实现肥料的自动化加工生产,做到运行状态数据实时呈现。
安装架体60包括多个从上到下分层设置的安装平台61,无尘投料站、智能配料站、无重力混料站、高速袋装站及自动控制系统依次从上到下对应安装在各安装平台61上,使肥料依次经过无尘投料站、智能配料站、无重力混料站及高速袋装站进行加工的过程中,在重力的作用下顺畅地从上向下流动,提高了生产效率。优选地,安装架体60左侧设有一液压升降机62,右侧设有一爬梯63,通过设置液压升降机62和爬梯63便于输送人员和肥料。
所述特制化肥为测土配方肥,为了调节和解决作物需肥与土壤供肥之间的矛盾,同时有针对性地补充作物所需的营养元素,作物缺什么元素就补充什么元素,需要多少补多少,实现各种养分平衡供应,满足作物的需要,达到提高肥料利用率和减少用量,提高作物产量,改善农产品品质,将氮、磷、钾及中、微量元素等肥料按照合理的重量配比配制成作物生长所需的测土配方肥。本实施例采用两种肥料配置特制化肥,每种肥料可以包含氮、磷、钾及中、微量元素中的一种或多种元素,肥料依次经过无尘投料站、智能配料站、无重力混料站及高速袋装站进行加工混合制成所需的特制化肥。上述配置特制化肥的肥料不局限于两种,也可以根据生产需要将多种肥料进行混合配置成所需的配方化肥。
本实施例中,无尘投料站采用两台自带负压集尘功能的投料机10,用于肥料生产过程中的开袋和投料,能够将肥料先储存、后输送。投料机10可进行粉状、颗粒状、小块状的吨袋拆包卸料输送作业,结构简单,生产成本低,操作简单方便,性价比高。
两台投料机10一左一右并排安装在安装架体60的安装平台61上,每台投料机10包括投料仓11、设于投料仓11上方的抽风通道12及设于投料仓11下方的料斗13,抽风通道12上端开口并通过螺钉固定有固定座14,一抽风机15通过螺钉固定在固定座14上,固定座14中央设有通孔140,抽风机15的输出轴151穿过固定座14的通孔140伸入到投料仓11内侧,抽风叶片152连接在输出轴151上,固定座14于通孔140外围设有多个通风孔141,通风孔141正对抽风机15的抽风叶片152,抽风通道12于抽风叶片152正下方设有集尘布袋17,投料仓11一侧连接一向上倾斜的投料通道111,投料通道111的投料口设置有进料门113,投料通道111顶部内壁铰接有挡尘板112,挡尘板112在重力作用下呈竖直状态,挡尘板112部分遮挡投料通道111。
准备投料时,打开投料机10的进料门113,启动抽风机15工作,投料仓11内形成负压,空气从投料通道111的入口进入,将漂浮在投料通道111入口处的扬尘全部吸入投料仓11内,扬尘在投料仓11内经集尘布袋17过滤,将无尘空气从通风孔141排出。投料通道111内有持续性的负压,投料通道111入口处不会有扬尘;从投料通道111入口打开肥料袋口,倾倒肥料,肥料落入料斗13,直至肥料投放完毕;当肥料倒进投料通道111后,肥料自动推开挡尘板112进入投料仓11后挡尘板112在重力作用下及时关闭,避免了投料仓11内的高浓度粉尘向外扩散。因此,上述无尘投料站通过自带的抽风机15、集尘布袋17及挡尘板112相互配合,利用负压集尘,在抽风机15的负压工况下将粉尘吸到集尘布袋17中,并能有效避免粉尘飞扬,从而将投料时产生的肥料粉尘与人体进行有效隔离。
优选地,投料仓11内壁上安装振动器16,有助于肥料的流动,并将粘附在投料仓11及料斗13内壁的肥料抖落。可选地,在料斗13内可安装筛分装置,防止结块肥料堵塞料斗13出口。所述抽风机15及振动器16与PLC控制器通讯连接,以便对抽风机15及振动器16的工作状态进行控制。
智能配料站实现配方管理模块化,一键启动一键调用,自动计量配料,保证所需肥料混合的准确配比,满足企业和肥料用户对不同配方的需求,做到测土配方肥的专项专用,切实从源头上保障生产出来的终端特制化肥产品既“特”又“肥”。本实施例中,智能配料站包括两台双辊破碎机22及设于双辊破碎机22正下方的两台减量称24,两台双辊破碎机22及两台减量称24分别一左一右并排安装在同一安装平台61上。
双辊破碎机22包括进料斗222、出料斗224、设于进料斗222与出料斗224之间的破碎箱226及设于破碎箱226内的两个破碎辊221。进料斗222与投料机10的料斗13密封对接,出料斗224与减量称24的称重料斗242密封对接;双辊破碎机22为双驱动,两个破碎辊221各连接一个破碎机电机223,可以根据需要分别调整破碎机电机223的转速,使两个破碎辊221转速不一,双破碎辊221之间的转动不仅能够对需要破碎的肥料提供一个挤的力,而且因两破碎辊221之间的差速对肥料有一个搓的力,使破碎效果更好,提高了生产效率。
每台减量称24包括称重料斗242、设于称重料斗242下方的卸料螺旋244及肥料出口246。称重料斗242内设有称重传感器,减量称24能够实现少量多次连续称重、连续均匀给料,肥料从减量称24上方的称重料斗242进入,每次在减量称24里称取少量的肥料,减量称42通过精密的卸料螺旋244连续往外卸料,并从肥料出口246输出,通过计算一段时间内减量称24里减少的肥料量,利用减少的肥料的量除以时间,得出单位时间内输送的肥料量,以实现计量与配料控制目的。卸料螺旋244与减量称电机241连接,减量称电机241驱动卸料螺旋244旋转。所述破碎机电机223、减量称电机241、称重传感器与PLC控制器连接,以便控制破碎机电机223、减量称电机241的工作状态。
每台双辊破碎机22对应设于其中一台投料机10的正下方且对应安装于其中一台减量称24的上方,需混合的肥料在计量配料前要先经过破碎,使破碎后的肥料直接进入减量称24的称重料斗242内进行称重计量,再经过称重料斗242下方的卸料螺旋244进行输送。
肥料进行破碎处理及称重计量后,进入无重力混料站。本实施例中,无重力混料站包括一第一缓存料仓31、一无重力双螺带搅拌机32及一第二缓存料仓33,第一缓存料仓31下端连接于无重力双螺带搅拌机32顶部,第二缓存料仓33上端连接于无重力双螺带搅拌机32底部;减量称24的肥料出口246与第一缓存料仓31上端密封对接。
无重力双螺带搅拌机32包括搅拌箱321、设于搅拌箱321内的两个转动轴322及设于转动轴322外围的叶片323;两个转动轴322并排设在搅拌箱321内,叶片323沿着转动轴322轴向分布且与转动轴322之间通过叶柄324连接,转动轴322与搅拌电机325连接。无重力混料站采用的无重力双螺带搅拌机32是充分利用对流混合原理,即利用肥料在无重力双螺带搅拌机32内的上抛运动形成流动层,产生瞬间失重,使之达到最佳混合效状态。搅拌电机325驱动转动轴322转动,肥料作圆周运动并受到离心力作用,同时肥料在叶片323作用下沿转动轴322轴向移动,形成最佳混合运动状态,实现两种或多种肥料充分混合。搅拌电机325与PLC控制器连接,以便控制搅拌电机325的工作状态。
从两台减量称24的肥料出口246输出的肥料经过第一缓存料仓31缓存后,进入无重力双螺带搅拌机32内进行搅拌混合,充分搅拌混合后再进入第二缓存料仓33。从第二缓存料仓33输出的肥料成品通过高速袋装站进行包装,高速袋装站运用自动化袋装设备,实现高速自动包装、在线检重、自动装箱及自动码垛。二次称重精度高,运行稳定,成熟除尘技术,实现无尘化,抽真空封口,便于装箱运输。高速袋装站包括一台粉料通用包装机41、一台皮带输送机42及一台缝包机43,粉料通用包装机41上端与第二缓存料仓33密封对接,粉料通用包装机41设于皮带输送机41右端上方,缝包机43设于皮带输送机41左端上方,肥料成品经粉料通用包装机41包装后再经皮带输送机42进行输送,最后用缝包机43封口。
本实用新型使用时,打开投料机10的进料门113,启动抽风机15工作,投料仓11内形成负压,空气从投料通道111的入口进入,将漂浮在投料通道111入口处的扬尘全部吸入投料仓11内,扬尘在投料仓11内经集尘布袋17过滤,将无尘空气从通风孔141排出。投料通道111内有持续性的负压,投料通道111入口处不会有扬尘,从投料通道111入口打开肥料袋口,倾倒肥料,肥料落入料斗13;从料斗13出来的肥料从破碎机22的进料斗222进入,经破碎后的肥料直接进入减量称24的称重料斗242内称重计量,再经过称重料斗242下方的卸料螺旋244进行输送;从两台减量称24的肥料出口246输出的肥料经过第一缓存料仓31缓存后,进入无重力双螺带搅拌机32内进行搅拌混合,充分搅拌混合后再进入第二缓存料仓33,从第二缓存料仓33输出的肥料成品最后通过高速袋装站进行包装。在这个过程中,自动控制系统按照设定配方定量配料到无重力双螺带搅拌机32,自动控制系统根据无重力双螺带搅拌机32的单次混料能力,混料时控制系统自动计时,混料时间达到预设时间后自动控制系统自动发出卸料信号,控制无重力双螺带搅拌机32打开卸料阀门开始卸料。
本实用新型的特制化肥无尘化智能微工厂通过自动控制系统实现对无尘投料站、智能配料站、无重力混料站及高速袋装站的运行进行自动控制,实现肥料的自动化、智能化加工生产,做到运行状态数据实时呈现,并且无尘投料站、智能配料站、无重力混料站及高速袋装站依次从上到下彼此密封对接并安装在安装架体60上,使肥料从上到下依次经过无尘投料站、智能配料站、无重力混料站及高速袋装站进行加工的过程中,在重力的作用下顺畅地从上向下流动,从而实现化肥的无尘化生产并提高了生产效率。
以上本实用新型的具体实施方式中凡未涉及到的说明属于本领域的公知技术,可参考公知技术加以实施。
以上依据本实用新型的理想实施例为启示,通过上述的说明内容,相关人员完全可以在不偏离本项实用新型技术思想的范围内,进行多样的变更以及修改。本项实用新型的技术性范围并不局限于说明书上的内容,必须要根据权利要求范围来确定技术性范围。

Claims (4)

1.一种特制化肥无尘化智能微工厂,其特征在于:包括安装架体、无尘投料站、智能配料站、无重力混料站、高速袋装站及自动控制系统,安装架体包括多个从上到下分层设置的安装平台,无尘投料站、智能配料站、无重力混料站、高速袋装站及自动控制系统依次从上到下对应安装在各安装平台上;
自动控制系统包括一安装在安装架体上的PLC控制柜,PLC控制柜内设有PLC控制器及触控屏模组,PLC控制器对无尘投料站、智能配料站、无重力混料站及高速袋装站的运行进行自动控制,触控屏模组内集成了与各设备对应的多个组态软件模块,组态软件模块采用组态软件设计,这些组态软件模块的调用根据产线的配置情况不同而不同,组态软件模块包括系统管理模块、设备监控模块、故障报警模块和数据库存储模块;
无尘投料站采用两台自带负压集尘功能的投料机,用于肥料生产过程中的开袋和投料,两台投料机一左一右并排安装在安装架体的安装平台上,每台投料机包括投料仓、设于投料仓上方的抽风通道及设于投料仓下方的料斗,抽风通道上端开口并通过螺钉固定有固定座,一抽风机通过螺钉固定在固定座上,固定座中央设有通孔,抽风机的输出轴穿过固定座的通孔伸入到投料仓内侧,抽风叶片连接在输出轴上,固定座于通孔外围设有多个通风孔,通风孔正对抽风机的抽风叶片,抽风通道于抽风叶片正下方设有集尘布袋,投料仓一侧连接一向上倾斜的投料通道,投料通道的投料口设置有进料门,投料通道顶部内壁铰接有挡尘板,挡尘板在重力作用下呈竖直状态,挡尘板部分遮挡投料通道;
智能配料站包括两台双辊破碎机及设于双辊破碎机正下方的两台减量称,两台双辊破碎机及两台减量称分别一左一右并排安装在同一安装平台上,每台双辊破碎机对应设于其中一台投料机的正下方且对应安装于其中一台减量称的上方,双辊破碎机包括进料斗、出料斗、设于进料斗与出料斗之间的破碎箱及设于破碎箱内的两个破碎辊,进料斗与投料机的料斗密封对接,出料斗与减量称的称重料斗密封对接;双辊破碎机为双驱动,两个破碎辊各连接一个破碎机电机,PLC控制器根据需要分别调整破碎机电机的转速;每台减量称包括称重料斗、设于称重料斗下方的卸料螺旋及肥料出口,减量称用于少量多次连续称重、连续均匀给料,减量称通过卸料螺旋连续往外卸料,卸料螺旋与减量称电机连接,减量称电机驱动卸料螺旋旋转;
无重力混料站包括一第一缓存料仓一无重力双螺带搅拌机及一第二缓存料仓,第一缓存料仓下端连接于无重力双螺带搅拌机顶部,第二缓存料仓上端连接于无重力双螺带搅拌机底部,减量称的肥料出口与第一缓存料仓上端密封对接,无重力双螺带搅拌机包括搅拌箱、设于搅拌箱内的两个转动轴及设于转动轴外围的叶片;两个转动轴并排设在搅拌箱内,叶片沿着转动轴轴向分布且与转动轴之间通过叶柄连接,转动轴与搅拌电机连接;
高速袋装站包括一台粉料通用包装机、一台皮带输送机及一台缝包机,粉料通用包装机上端与第二缓存料仓密封对接,粉料通用包装机设于皮带输送机右端上方,缝包机设于皮带输送机左端上方,肥料成品经粉料通用包装机包装后再经皮带输送机进行输送,最后用缝包机封口。
2.根据权利要求1所述的特制化肥无尘化智能微工厂,其特征在于:所述安装架体左侧设有一液压升降机,右侧设有一爬梯。
3.根据权利要求1所述的特制化肥无尘化智能微工厂,其特征在于:所述投料机的投料仓内壁上安装振动器,在料斗内安装筛分装置,抽风机及振动器与PLC控制器通讯连接,以便对抽风机及振动器的工作状态进行控制。
4.根据权利要求3所述的特制化肥无尘化智能微工厂,其特征在于:所述称重料斗内设有称重传感器,破碎机电机、减量称电机、称重传感器、搅拌电机与PLC控制器连接,以便控制破碎机电机、减量称电机及搅拌电机的工作状态。
CN202121532983.5U 2021-07-07 2021-07-07 特制化肥无尘化智能微工厂 Expired - Fee Related CN215086762U (zh)

Priority Applications (1)

Application Number Priority Date Filing Date Title
CN202121532983.5U CN215086762U (zh) 2021-07-07 2021-07-07 特制化肥无尘化智能微工厂

Applications Claiming Priority (1)

Application Number Priority Date Filing Date Title
CN202121532983.5U CN215086762U (zh) 2021-07-07 2021-07-07 特制化肥无尘化智能微工厂

Publications (1)

Publication Number Publication Date
CN215086762U true CN215086762U (zh) 2021-12-10

Family

ID=79314421

Family Applications (1)

Application Number Title Priority Date Filing Date
CN202121532983.5U Expired - Fee Related CN215086762U (zh) 2021-07-07 2021-07-07 特制化肥无尘化智能微工厂

Country Status (1)

Country Link
CN (1) CN215086762U (zh)

Cited By (3)

* Cited by examiner, † Cited by third party
Publication number Priority date Publication date Assignee Title
CN115124378A (zh) * 2022-06-28 2022-09-30 重庆滴珠科技合伙企业(有限合伙) 一种肥料加工设备及加工方法
CN117064000A (zh) * 2023-09-26 2023-11-17 山东禹王生态食业有限公司 一种全自动拉丝蛋白生产线系统
CN117839537A (zh) * 2024-03-04 2024-04-09 宁德时代新能源科技股份有限公司 粉料输送装置及自动配料方法

Cited By (3)

* Cited by examiner, † Cited by third party
Publication number Priority date Publication date Assignee Title
CN115124378A (zh) * 2022-06-28 2022-09-30 重庆滴珠科技合伙企业(有限合伙) 一种肥料加工设备及加工方法
CN117064000A (zh) * 2023-09-26 2023-11-17 山东禹王生态食业有限公司 一种全自动拉丝蛋白生产线系统
CN117839537A (zh) * 2024-03-04 2024-04-09 宁德时代新能源科技股份有限公司 粉料输送装置及自动配料方法

Similar Documents

Publication Publication Date Title
CN215086762U (zh) 特制化肥无尘化智能微工厂
CN103381892B (zh) 全自动称重包装系统及其控制方法
CN111545103A (zh) 一种粉料配比混合的方法
CN107337567A (zh) 一种高效炭基肥料的生产方法
CN212040670U (zh) 一种固体研磨设备
CN216856323U (zh) 一种腐植酸液体肥生产系统
CN211988870U (zh) 一种化肥破碎搅拌装置
CN214077164U (zh) 一种带有破碎仓的定量落料装置
CN220780062U (zh) 一种粉状复合肥的生产系统
CN113439805A (zh) 一种制作黄鳝饲料的配料方法及其配料装置
CN215139289U (zh) 一种草炭土覆土搅拌装置
CN112577798A (zh) 一种多级土颗粒筛分与均质化的土样制备台
CN217803455U (zh) 一种铁路隧道用防水板原料加工生产线
CN212702120U (zh) 一种农业用营养土的粉碎装置
CN213621958U (zh) 一种原料自动定量配送装置
CN209956980U (zh) 全自动助剂配料系统
CN220878650U (zh) 一种粉状肥料的投料混合系统
CN115337802A (zh) 一种颗粒状化肥自动调配研磨溶解设备及其使用方法
CN222753136U (zh) 一种土壤修复用土壤修复剂稀释调配装置
KR100623042B1 (ko) 비누의 제조장치
CN217675689U (zh) 一种有机肥生产用返料控制装置
CN213995726U (zh) 新型高效化肥生产机
CN207932669U (zh) 一种称重送料装置
CN210833821U (zh) 一种胶囊生产用原料配比称重装置
CN218795536U (zh) 一种高效配肥装置

Legal Events

Date Code Title Description
GR01 Patent grant
GR01 Patent grant
CF01 Termination of patent right due to non-payment of annual fee
CF01 Termination of patent right due to non-payment of annual fee

Granted publication date: 20211210