CN215014539U - Multifunctional rostrum for competition of university students - Google Patents

Multifunctional rostrum for competition of university students Download PDF

Info

Publication number
CN215014539U
CN215014539U CN202120429786.4U CN202120429786U CN215014539U CN 215014539 U CN215014539 U CN 215014539U CN 202120429786 U CN202120429786 U CN 202120429786U CN 215014539 U CN215014539 U CN 215014539U
Authority
CN
China
Prior art keywords
podium
base
threaded
support frame
multifunctional
Prior art date
Legal status (The legal status is an assumption and is not a legal conclusion. Google has not performed a legal analysis and makes no representation as to the accuracy of the status listed.)
Expired - Fee Related
Application number
CN202120429786.4U
Other languages
Chinese (zh)
Inventor
杨晓芳
Current Assignee (The listed assignees may be inaccurate. Google has not performed a legal analysis and makes no representation or warranty as to the accuracy of the list.)
Yanshan University
Original Assignee
Yanshan University
Priority date (The priority date is an assumption and is not a legal conclusion. Google has not performed a legal analysis and makes no representation as to the accuracy of the date listed.)
Filing date
Publication date
Application filed by Yanshan University filed Critical Yanshan University
Priority to CN202120429786.4U priority Critical patent/CN215014539U/en
Application granted granted Critical
Publication of CN215014539U publication Critical patent/CN215014539U/en
Expired - Fee Related legal-status Critical Current
Anticipated expiration legal-status Critical

Links

Images

Landscapes

  • Toys (AREA)

Abstract

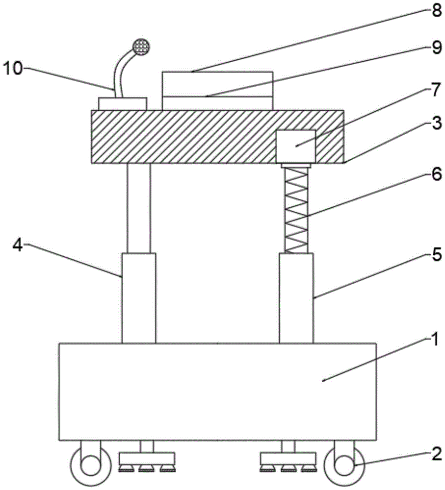
本实用新型公开了一种大学生竞赛用多功能演讲台,涉及演讲台技术领域;包括底座和演讲台,所述底座的底部设置有滚轮,所述底座内设置有固定机构;所述演讲台设置在底座的上部,所述演讲台和底座之间左侧设置有活动套柱,所述演讲台和底座之间右侧设置有高度调节机构;所述演讲台上中部设置有支撑架,所述支撑架铰接在演讲台上,所述支撑架的前侧下部设置有挡板,所述支撑架的后侧设置有角度调节机构,所述演讲台上还设置有话筒;装置具有高度调节、角度调节和固定的功能,实用性较高。

Figure 202120429786

The utility model discloses a multifunctional lecture stand for college students' competitions, which relates to the technical field of lecture stands. The utility model comprises a base and a lecture stand. The bottom of the base is provided with a roller, and a fixing mechanism is arranged in the base; On the upper part of the base, a movable sleeve column is arranged on the left side between the podium and the base, and a height adjustment mechanism is arranged on the right side between the podium and the base; a support frame is arranged in the upper middle of the podium, and the The support frame is hinged on the podium, the lower part of the front side of the support frame is provided with a baffle plate, the rear side of the support frame is provided with an angle adjustment mechanism, and the podium is also provided with a microphone; the device has height adjustment, angle adjustment Adjustable and fixed functions, high practicability.

Figure 202120429786

Description

Multifunctional rostrum for competition of university students
Technical Field
The utility model relates to a podium technical field specifically is a multi-functional podium is used in university student's contest.
Background
The podium is mainly the equipment that is convenient for people to carry out the speech, can be effectual propagate knowledge, is used for school, government unit more, consequently receives people's liking, so people also are more and more high to the requirement of podium. College students often hold some competitions of lectures or debates, need use the podium to place the lecture instrument in the lecture process to college students carry out the lecture.
The existing podium has some disadvantages when in use, the height of the common podium is mostly in a fixed state, and each speaker cannot be adjusted according to specific conditions due to different heights of the speakers, so that certain inconvenience is brought to the speakers; meanwhile, the angle of the supporting frame for accommodating the lecture notes on the podium cannot be adjusted, so that the applicability is low, and the podium is inconvenient to move or fix; therefore, certain improvements are needed.
SUMMERY OF THE UTILITY MODEL
An object of the utility model is to provide an university student contest is with multi-functional podium to solve the problem that proposes in the above-mentioned background art.
In order to achieve the above object, the utility model provides a following technical scheme:
a multifunctional rostrum for university student competition comprises a base and a rostrum, wherein the bottom of the base is provided with rollers, and the base is internally provided with a fixing mechanism; the podium is arranged on the upper part of the base, a movable sleeve column is arranged on the left side between the podium and the base, and a height adjusting mechanism is arranged on the right side between the podium and the base; the middle part is provided with the support frame on the podium, the support frame articulates on the podium, the front side lower part of support frame is provided with the baffle, the rear side of support frame is provided with angle adjusting mechanism, still be provided with the microphone on the podium.
As a further aspect of the present invention: the height adjusting mechanism comprises a threaded sleeve column, the threaded sleeve column is fixed on the base, a threaded column is sleeved on the threaded sleeve column, the upper end of the threaded column is rotatably arranged on the podium, and a first motor for driving the threaded column to rotate is arranged in the podium.
As a further aspect of the present invention: the angle adjusting mechanism comprises a rotating rod, the rotating rod is rotatably arranged in the middle of the rear side of the supporting frame, and the other end of the rotating rod is rotatably arranged on the sliding seat.
As a further aspect of the present invention: the slide passes through slide rail activity joint on the podium, still be provided with fastening bolt on the slide.
As a further aspect of the present invention: the fixing mechanism comprises a movable plate, the movable plate is movably arranged in the base through a sliding groove, pillars are arranged on two sides of the lower end of the movable plate, the pillars are movably arranged at the bottom of the base through holes, a bottom plate is arranged at one end of each pillar outside the base, and a plurality of suckers are arranged on the bottom plate.
As a further aspect of the present invention: threaded rods are vertically and rotatably arranged on two sides in the base, the movable plate is sleeved on the threaded rods, and threaded grooves matched with the movable plate are formed in the portions, in contact with the threaded rods, of the movable plate.
As a further aspect of the present invention: the upper portion of threaded rod is provided with first bevel gear, first bevel gear meshing has the second bevel gear, the second bevel gear sets up in the pivot, the pivot rotates the upper portion that sets up in the base, the middle part of pivot is provided with the second motor.
Compared with the prior art, the beneficial effects of the utility model are that:
the device is characterized in that a movable sleeve column is arranged on one side between a base and a podium, a threaded column and a threaded sleeve column are arranged on the other side, the threaded sleeve column is fixed on the base, the threaded column is rotatably arranged at the bottom of the podium, and the threaded column is controlled to rotate to move in the threaded sleeve column, so that the height of the device is adjusted;
the angle adjusting mechanism is arranged on the rear side of the supporting frame, and the angle of the supporting frame is adjusted through the rotating rod, so that different lecturers can conveniently place lectures;
this device is through being provided with the gyro wheel on the base to be provided with fixed establishment in the base, it is fixed with the device through control bottom plate contact ground, and the practicality is higher.
Drawings
Fig. 1 is a schematic structural view of a multifunctional podium for university student competition.
Fig. 2 is a schematic structural view of an angle adjusting mechanism in the multifunctional rostrum for the competition of university students.
Fig. 3 is a schematic structural view of a fixing mechanism in the multifunctional rostrum for competition of college students.
Fig. 4 is a schematic perspective view of a movable plate in a multifunctional podium for competition of college students.
In the figure: the device comprises a base-1, rollers-2, a podium-3, a movable sleeve column-4, a threaded sleeve column-5, a threaded column-6, a first motor-7, a support frame-8, a baffle-9, a microphone-10, a rotating rod-11, a sliding seat-12, a sliding rail-13, a fastening bolt-14, a movable plate-15, a support column-16, a bottom plate-17, a suction cup-18, a threaded rod-19, a first bevel gear-20, a second bevel gear-21, a rotating shaft-22 and a second motor-23.
Detailed Description
The technical solutions in the embodiments of the present invention will be described clearly and completely with reference to the accompanying drawings in the embodiments of the present invention, and it is obvious that the described embodiments are only some embodiments of the present invention, not all embodiments. Based on the embodiments in the present invention, all other embodiments obtained by a person skilled in the art without creative work belong to the protection scope of the present invention.
Example 1
Referring to fig. 1 to 4, in embodiment 1 of the present invention, a multifunctional podium for university student competition includes a base 1 and a podium 3, wherein a roller 2 is disposed at the bottom of the base 1, and a fixing mechanism is disposed in the base 1; the podium 3 is arranged at the upper part of the base 1, the movable sleeve 4 is arranged at the left side between the podium 3 and the base 1 to play a role in fixing, and the height adjusting mechanism is arranged at the right side between the podium 3 and the base 1; the middle part is provided with support frame 8 on podium 3, support frame 8 articulates on podium 3, the front side lower part of support frame 8 is provided with baffle 9 for place the lecture manuscript, the rear side of support frame 8 is provided with angle adjusting mechanism, still be provided with microphone 10 on the podium 3.
Further, height adjusting mechanism includes screw thread socle 5, screw thread socle 5 is fixed on base 1, the cover is equipped with screw thread post 6 on screw thread socle 5, the upper end of screw thread post 6 is rotated and is set up on podium 3, be provided with drive screw thread post 6 pivoted first motor 7 in the podium 3, control screw thread post 6 through first motor 7 and rotate and make its removal in screw thread socle 5 to the adjusting device height of being convenient for.
Further, angle adjustment mechanism includes bull stick 11, bull stick 11 rotates the rear side middle part that sets up at support frame 8, the other end of bull stick 11 rotates and sets up on slide 12, slide 12 passes through slide rail 13 activity joint on podium 3, moves through slide 12 and drives bull stick 11 and rotate for support frame 8 rotates and changes the angle, still be provided with fastening bolt 14 on slide 12 for fix slide 12 on slide rail 13.
Example 2
Referring to fig. 1 to 4, the fixing mechanism includes a movable plate 15, the movable plate 15 is movably disposed in the base 1 through a sliding slot, pillars 16 are disposed on two sides of a lower end of the movable plate 15, the pillars 16 are movably disposed at a bottom of the base 1 through a through hole, a bottom plate 17 is disposed at an end of the pillars 16 outside the base 1, the movable plate 15 is used for driving the bottom plate 17 to move so as to contact with the ground to fix the device, and a plurality of suckers 18 are disposed on the bottom plate 17, so as to facilitate stabilization of the fixing device.
Further, both sides vertical rotation is provided with threaded rod 19 in the base 1, movable plate 15 cover is established on threaded rod 19, the part that movable plate 15 and threaded rod 19 contact is provided with the thread groove rather than matching, and threaded rod 19 rotates and drives movable plate 15 and remove.
Furthermore, a first bevel gear 20 is arranged on the upper portion of the threaded rod 19, a second bevel gear 21 is meshed with the first bevel gear 20, the second bevel gear 21 is arranged on a rotating shaft 22, the rotating shaft 22 is used for driving the threaded rod 19 to rotate, the rotating shaft 22 is rotatably arranged on the upper portion in the base 1, a second motor 23 is arranged in the middle of the rotating shaft 22, and the second motor 23 drives the rotating shaft 22 to rotate.
The working principle is as follows: when the height needs to be adjusted, the first motor 7 is controlled to drive the threaded column 6 to rotate so as to enable the threaded column to move up and down in the threaded sleeve column 5, and then the height of the device can be changed; when the angle of the support frame 8 needs to be adjusted, the fastening bolt 14 is unscrewed to move the slide base 12, so that the rotating rod 11 rotates to drive the support frame 8 to rotate, and the fastening bolt 14 is screwed after the adjustment is completed; when the device needs to be fixed, the second motor 23 is controlled to work to drive the rotating shaft 22 to rotate, so that the threaded rod 19 rotates to drive the movable plate 15 to move, the movable plate 15 drives the bottom plate 17 to move through the support column 16 to contact the ground, and the device can be fixed; the device has the functions of height adjustment, angle adjustment and fixation, and has higher practicability.
It is obvious to a person skilled in the art that the invention is not restricted to details of the above-described exemplary embodiments, but that it can be implemented in other specific forms without departing from the spirit or essential characteristics of the invention. The present embodiments are therefore to be considered in all respects as illustrative and not restrictive, the scope of the invention being indicated by the appended claims rather than by the foregoing description, and all changes which come within the meaning and range of equivalency of the claims are therefore intended to be embraced therein. Any reference sign in a claim should not be construed as limiting the claim concerned.

Claims (7)

1.一种大学生竞赛用多功能演讲台,其特征在于,包括底座(1)和演讲台(3),所述底座(1)的底部设置有滚轮(2),所述底座(1)内设置有固定机构;所述演讲台(3)设置在底座(1)的上部,所述演讲台(3)和底座(1)之间左侧设置有活动套柱(4),所述演讲台(3)和底座(1)之间右侧设置有高度调节机构;所述演讲台(3)上中部设置有支撑架(8),所述支撑架(8)铰接在演讲台(3)上,所述支撑架(8)的前侧下部设置有挡板(9),所述支撑架(8)的后侧设置有角度调节机构,所述演讲台(3)上还设置有话筒(10)。1. A multifunctional podium for college students' competitions, characterized in that it comprises a base (1) and a podium (3), the bottom of the base (1) is provided with a roller (2), and the inside of the base (1) is A fixing mechanism is provided; the podium (3) is arranged on the upper part of the base (1), and a movable sleeve (4) is arranged on the left side between the podium (3) and the base (1). Between (3) and the base (1), a height adjustment mechanism is arranged on the right side; a support frame (8) is arranged in the upper and middle part of the podium (3), and the support frame (8) is hinged on the podium (3). A baffle plate (9) is arranged on the lower part of the front side of the support frame (8), an angle adjustment mechanism is arranged on the rear side of the support frame (8), and a microphone (10) is also arranged on the lecture stage (3). ). 2.根据权利要求1所述的大学生竞赛用多功能演讲台,其特征在于,所述高度调节机构包括螺纹套柱(5),所述螺纹套柱(5)固定在底座(1)上,所述螺纹套柱(5)上套设有螺纹柱(6),所述螺纹柱(6)的上端转动设置在演讲台(3)上,所述演讲台(3)内设置有驱动螺纹柱(6)转动的第一电机(7)。2. The multifunctional podium for college students' competition according to claim 1, wherein the height adjustment mechanism comprises a threaded sleeve (5), and the threaded sleeve (5) is fixed on the base (1), A threaded column (6) is sleeved on the threaded sleeve column (5), the upper end of the threaded column (6) is rotatably arranged on the lectern (3), and a driving threaded column is arranged in the lectern (3). (6) The first motor (7) that rotates. 3.根据权利要求1所述的大学生竞赛用多功能演讲台,其特征在于,所述角度调节机构包括转杆(11),所述转杆(11)转动设置在支撑架(8)的后侧中部,所述转杆(11)的另一端转动设置在滑座(12)上。3. The multifunctional podium for college students' competition according to claim 1, wherein the angle adjustment mechanism comprises a rotating rod (11), and the rotating rod (11) is rotatably arranged at the rear of the support frame (8). In the middle of the side, the other end of the rotating rod (11) is rotatably arranged on the sliding seat (12). 4.根据权利要求3所述的大学生竞赛用多功能演讲台,其特征在于,所述滑座(12)通过滑轨(13)活动卡接在演讲台(3)上,所述滑座(12)上还设置有紧固螺栓(14)。4. The multi-functional podium for college students' competition according to claim 3, characterized in that the sliding seat (12) is snapped on the podium (3) through the sliding rail (13), and the sliding seat (13) 12) is also provided with a fastening bolt (14). 5.根据权利要求1所述的大学生竞赛用多功能演讲台,其特征在于,所述固定机构包括活动板(15),所述活动板(15)通过滑槽活动设置在底座(1)内,所述活动板(15)的下端两侧设置有支柱(16),所述支柱(16)通过通孔活动设置在底座(1)的底部,所述支柱(16)在底座(1)外的一端设置有底板(17),所述底板(17)上设置有多个吸盘(18)。5. The multifunctional podium for college students' competition according to claim 1, wherein the fixing mechanism comprises a movable plate (15), and the movable plate (15) is movably arranged in the base (1) through a chute , pillars (16) are arranged on both sides of the lower end of the movable plate (15), the pillars (16) are movably arranged at the bottom of the base (1) through the through holes, and the pillars (16) are outside the base (1). A bottom plate (17) is provided on one end of the bottom plate, and a plurality of suction cups (18) are provided on the bottom plate (17). 6.根据权利要求5所述的大学生竞赛用多功能演讲台,其特征在于,所述底座(1)内两侧竖直转动设置有螺纹杆(19),所述活动板(15)套设在螺纹杆(19)上,所述活动板(15)与螺纹杆(19)接触的部份设置有与其匹配的螺纹槽。6. The multifunctional podium for college students' competitions according to claim 5, characterized in that threaded rods (19) are installed on both sides of the base (1) for vertical rotation, and the movable plate (15) is sleeved with threaded rods (19). On the threaded rod (19), the part of the movable plate (15) in contact with the threaded rod (19) is provided with a matching threaded groove. 7.根据权利要求6所述的大学生竞赛用多功能演讲台,其特征在于,所述螺纹杆(19)的上部设置有第一锥齿轮(20),所述第一锥齿轮(20)啮合有第二锥齿轮(21),所述第二锥齿轮(21)设置在转轴(22)上,所述转轴(22)转动设置在底座(1)内上部,所述转轴(22)的中部设置有第二电机(23)。7. The multifunctional podium for college students' competition according to claim 6, characterized in that a first bevel gear (20) is arranged on the upper part of the threaded rod (19), and the first bevel gear (20) meshes There is a second bevel gear (21), the second bevel gear (21) is arranged on the rotating shaft (22), the rotating shaft (22) is rotatably arranged in the upper part of the base (1), and the middle part of the rotating shaft (22) A second motor (23) is provided.
CN202120429786.4U 2021-02-27 2021-02-27 Multifunctional rostrum for competition of university students Expired - Fee Related CN215014539U (en)

Priority Applications (1)

Application Number Priority Date Filing Date Title
CN202120429786.4U CN215014539U (en) 2021-02-27 2021-02-27 Multifunctional rostrum for competition of university students

Applications Claiming Priority (1)

Application Number Priority Date Filing Date Title
CN202120429786.4U CN215014539U (en) 2021-02-27 2021-02-27 Multifunctional rostrum for competition of university students

Publications (1)

Publication Number Publication Date
CN215014539U true CN215014539U (en) 2021-12-07

Family

ID=79253694

Family Applications (1)

Application Number Title Priority Date Filing Date
CN202120429786.4U Expired - Fee Related CN215014539U (en) 2021-02-27 2021-02-27 Multifunctional rostrum for competition of university students

Country Status (1)

Country Link
CN (1) CN215014539U (en)

Similar Documents

Publication Publication Date Title
CN110782745A (en) Special teaching frame of etiquette teaching
CN212724381U (en) Trick mode display device based on clips
CN206518295U (en) One kind is taken an examination with anti-cheating multifunctional desk
CN203000020U (en) Multifunctional Electronic Whiteboard Bracket Components
CN215014539U (en) Multifunctional rostrum for competition of university students
CN111768677B (en) Foldable think of political affairs education display device
CN211787573U (en) Teaching show shelf convenient for storing teaching tools
CN211211871U (en) A multi-storage adjustable study table
CN210300034U (en) Multimedia English platform convenient to adjust
CN211738524U (en) Multifunctional teaching display equipment
CN214306106U (en) A computer math used as a graph stand
CN113349550A (en) English seeing and hearing education is with public classroom speech auxiliary assembly
CN210327918U (en) Adjustable microphone frame for music performance
CN213211680U (en) A guzheng display stand for guzheng teaching
CN211747751U (en) A simple and convenient multifunctional political and cultural podium
CN216124004U (en) Portable preschool education music book strutting arrangement
CN215461859U (en) A multimedia multifunctional dance studio
CN214428176U (en) A kind of auxiliary device used in English education and teaching
CN222303454U (en) Art easel with folding mechanism
CN215376687U (en) Coriolis force teaching demonstration device
CN219762753U (en) An adjustable multifunctional podium
CN214414479U (en) Explanation board for Chinese language and literature teaching
CN113749394A (en) An interactive teaching instrument used in vocal music teaching
CN214312117U (en) Mathematical teaching device using computer multimedia
CN214258764U (en) Portable show shelf of middle and primary school's teaching

Legal Events

Date Code Title Description
GR01 Patent grant
GR01 Patent grant
CF01 Termination of patent right due to non-payment of annual fee

Granted publication date: 20211207

CF01 Termination of patent right due to non-payment of annual fee