CN214995755U - 一种用于绿色装修施工的脚架 - Google Patents
一种用于绿色装修施工的脚架 Download PDFInfo
- Publication number
- CN214995755U CN214995755U CN202120007943.2U CN202120007943U CN214995755U CN 214995755 U CN214995755 U CN 214995755U CN 202120007943 U CN202120007943 U CN 202120007943U CN 214995755 U CN214995755 U CN 214995755U
- Authority
- CN
- China
- Prior art keywords
- rods
- foot rest
- supporting
- supporting plate
- green
- Prior art date
- Legal status (The legal status is an assumption and is not a legal conclusion. Google has not performed a legal analysis and makes no representation as to the accuracy of the status listed.)
- Active
Links
- 238000010276 construction Methods 0.000 title claims abstract description 23
- 230000005540 biological transmission Effects 0.000 claims abstract description 14
- 238000009434 installation Methods 0.000 claims abstract description 9
- 238000005034 decoration Methods 0.000 claims abstract description 5
- 230000006835 compression Effects 0.000 claims description 13
- 238000007906 compression Methods 0.000 claims description 13
- 230000000149 penetrating effect Effects 0.000 claims description 5
- 239000000203 mixture Substances 0.000 abstract description 5
- 230000033001 locomotion Effects 0.000 description 2
- 238000000034 method Methods 0.000 description 2
- 230000001360 synchronised effect Effects 0.000 description 2
- 235000017166 Bambusa arundinacea Nutrition 0.000 description 1
- 235000017491 Bambusa tulda Nutrition 0.000 description 1
- 241001330002 Bambuseae Species 0.000 description 1
- 235000015334 Phyllostachys viridis Nutrition 0.000 description 1
- 229910000831 Steel Inorganic materials 0.000 description 1
- 239000011425 bamboo Substances 0.000 description 1
- 230000009286 beneficial effect Effects 0.000 description 1
- 230000009194 climbing Effects 0.000 description 1
- 230000000694 effects Effects 0.000 description 1
- 239000000463 material Substances 0.000 description 1
- 239000010959 steel Substances 0.000 description 1
- 239000000725 suspension Substances 0.000 description 1
- 239000002023 wood Substances 0.000 description 1
Images
Landscapes
- Moulds, Cores, Or Mandrels (AREA)
Abstract
本实用新型公开了一种用于绿色装修施工的脚架,包括支撑板和调节组件;所述支撑板的拐角处均活动贯穿有支撑杆,所述支撑板底部的中心处设置有安装架,所述安装架的内部转动设置有第一锥齿轮,所述支撑板的中部活动贯穿有L形驱动杆,所述L形驱动杆底端贯穿安装架并与第一锥齿轮连接;所述第一锥齿轮上啮合连接有多个第二锥齿轮,多个所述螺杆分别与对应的支撑杆转动连接,所述螺杆的端部贯穿安装架并与对应的第二锥齿轮连接,所述传动杆的顶端与支撑板的底侧铰接。本实用新型通过转动L形驱动杆,L形驱动杆带动多个螺杆同步转动,螺杆带动传动杆转动,多个传动杆带动支撑板进行上下移动,进而完成对支撑板的高度调节。
Description
技术领域
本实用新型涉及施工脚架技术领域,尤其涉及一种用于绿色装修施工的脚架。
背景技术
脚手架是为了保证各施工过程顺利进行而搭设的工作平台,按搭设的位置分为外脚手架、里脚手架;按材料不同可分为木脚手架、竹脚手架、钢管脚手架;按构造形式分为立杆式脚手架、桥式脚手架、门式脚手架、悬吊式脚手架、挂式脚手架、挑式脚手架、爬式脚手架。
施工脚架是用于辅助工作人员施工,当脚架高度调节结束后,工作人员站在脚架上进行施工,在施工过程中,常常出现需要施工的位置与高度不一,需要随时随刻的对脚架的高度进行调节,这就导致了工作人员需要离开脚架再对脚架进行高度调节,调节结束后再回到工作岗位,这种调节方式费时费力,而且在脚架上来回的上下移动更是增加了工作人员的疲劳感。
实用新型内容
本实用新型的目的在于提供一种用于绿色装修施工的脚架,通过转动L形驱动杆,使得L形驱动杆带动多个螺杆同时转动,螺杆带动传动杆转动,传动杆带动支撑板移动,进而完成对支撑板的高度调节。
为了实现上述目的,本实用新型采用了如下技术方案:一种用于绿色装修施工的脚架,包括支撑板和调节组件;
所述支撑板的拐角处均活动贯穿有支撑杆,所述支撑板底部的中心处设置有安装架,所述安装架的内部转动设置有第一锥齿轮,所述支撑板的中部活动贯穿有L形驱动杆,所述L形驱动杆底端贯穿安装架并与第一锥齿轮连接;
所述调节组件包括多个螺杆和多个传动杆,所述第一锥齿轮上啮合连接有多个第二锥齿轮,多个所述螺杆分别与对应的支撑杆转动连接,所述螺杆的端部贯穿安装架并与对应的第二锥齿轮连接,所述螺杆上螺纹套接有螺套,多个所述传动杆分别与对应的螺套铰接,所述传动杆的顶端与支撑板的底侧铰接。
作为上述技术方案的进一步描述:
还包括锁死组件;所述锁死组件包括卡块和压缩弹簧,所述支撑板上用于穿过支撑杆的矩形开口内壁上开设有滑槽,所述卡块滑动设置在滑槽内,所述支撑杆上等距开设有多个卡槽,所述卡块与卡槽相适配,所述压缩弹簧的两端分别与卡块和滑槽的内壁连接。
作为上述技术方案的进一步描述:
所述卡块的端部为斜面。
作为上述技术方案的进一步描述:
所述支撑板上开设有与滑槽相连通的L形开口,所述L形开口内滑动设置有滑块,所述滑块与卡块滑动连接。
作为上述技术方案的进一步描述:
所述支撑板的顶面上设置有若干个防滑凸块。
本实用新型提供了一种用于绿色装修施工的脚架,具备以下有益效果:
本实用新型的目的在于提供一种用于绿色装修施工的脚架,通过转动L形驱动杆,使得L形驱动杆带动多个螺杆同步转动,使得螺杆通过螺套带动传动杆移动,从而使得多个传动杆同步的带动支撑板移动,使得支撑板的高度得到调节,这种对脚架高度的调节方式可随时对脚架高度进行调节,且省时省力,解决了工作人员对脚架调节时,需要离开脚架再对脚架进行高度调节的问题,增加了工作人员的工作效率,使得工作人员不用在调节脚架高度时从脚架上进行往复上下移动,增加了工作人员的安全系数。
附图说明
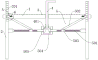
图1为本实用新型提出的一种用于绿色装修施工的脚架的结构示意图;
图2为本实用新型提出的一种用于绿色装修施工的脚架的俯视图;
图3为图1中A处放大图;
图4为图2中B处放大图;
图5为本实用新型中第一锥齿轮与第二锥齿轮的装配图;
图6为本实用新型中滑块与卡块的装配图。
图例说明:
1、支撑板;2、支撑杆;201、卡槽;3、防滑凸块;4、L形驱动杆;401、第一锥齿轮;5、调节组件;501、螺杆;502、传动杆;503、螺套;504、第二锥齿轮;505、安装架;6、锁死组件;601、卡块;602、压缩弹簧;603、L形开口;604、滑块;605、滑槽。
具体实施方式
下面将结合本实用新型实施例中的附图,对本实用新型实施例中的技术方案进行清楚、完整地描述,显然,所描述的实施例仅仅是本实用新型一部分实施例,而不是全部的实施例。
参照图1-6,一种用于绿色装修施工的脚架,包括支撑板1和调节组件5;
支撑板1的拐角处均活动贯穿有支撑杆2,支撑板1底部的中心处设置有安装架505,安装架505的内部转动设置有第一锥齿轮401,支撑板1的中部活动贯穿有L形驱动杆4,L形驱动杆4底端贯穿安装架505并与第一锥齿轮401连接;
调节组件5包括多个螺杆501和多个传动杆502,第一锥齿轮401上啮合连接有多个第二锥齿轮504,多个螺杆501分别与对应的支撑杆2转动连接,螺杆501的端部贯穿安装架505并与对应的第二锥齿轮504连接,螺杆501上螺纹套接有螺套503,多个传动杆502分别与对应的螺套503铰接,传动杆502的顶端与支撑板1的底侧铰接。
安装架505的作用在于,安装架505对L形驱动杆4进行限位,使得L形驱动杆4转动时,L形驱动杆4底端的第一锥齿轮401不会与第二锥齿轮504脱离。
工作人员站在支撑板1上时,需要对支撑板1的高度进行调节时,正方向转动L形驱动杆4,L形驱动杆4转动带动第一锥齿轮401转动,第一锥齿轮401带动多个第二锥齿轮504同步转动,第二锥齿轮504带动螺杆501转动,螺杆501转动,使得螺套503在螺杆501上发生移动,螺套503带动传动杆502移动,多个传动杆502同步移动,带动支撑板1向上移动,从而支撑板1托着支撑板1上的工作人员向上移动。
还包括锁死组件6;锁死组件6包括卡块601和压缩弹簧602,支撑板1上用于穿过支撑杆2的矩形开口内壁上开设有滑槽605,卡块601滑动设置在滑槽605内,支撑杆2上等距开设有多个卡槽201,卡块601与卡槽201相适配,压缩弹簧602的两端分别与卡块601和滑槽605的内壁连接。
卡块601的端部为斜面。
支撑板1上开设有与滑槽605相连通的L形开口603,L形开口603内滑动设置有滑块604,滑块604与卡块601滑动连接。
当支撑板1上移时,由于卡块601的端面为斜面,所以支撑板1能够带动卡块601上移,使得卡块601在上移的过程中,压缩弹簧602发生压缩与复位,使得卡块601与卡槽201的发生脱离和卡合,当支撑板1上移到合适位置时,支撑板1带动卡块601与卡槽201卡合,使得多个卡块601代替传动杆502对支撑板1进行支撑,从而减少了传动杆502的承载,使得传动杆502不易损坏;
当需要对支撑板1进行下移时,先将与卡槽201卡合的卡块601从卡槽201中拔出,压缩弹簧602受力压缩,再滑动滑块604,使得滑块604与L形开口603的垂直端卡合,从而使得卡块601被限位不因受到压缩弹簧602的弹力而发生移动,再反方向转动L形驱动杆4,同理,支撑板1发生下移,当支撑板1到达指定高度时,滑动滑块604,使得滑块604从L形开口603的垂直端脱离,在压缩弹簧602的弹力作用下,压缩弹簧602发生复位,压缩弹簧602推动卡块601,使得卡块601与对应的卡槽201卡合,即完成了支撑板1的下移调节。
支撑板1的顶面上设置有若干个防滑凸块3。
防滑凸块3用于增加支撑板1上工作人员的鞋面与支撑板1之间的摩擦力,起到防滑的作用,使得工作人员进行施工时更加的安全。
以上所述,仅为本实用新型较佳的具体实施方式,但本实用新型的保护范围并不局限于此,任何熟悉本技术领域的技术人员在本实用新型揭露的技术范围内,根据本实用新型的技术方案及其实用新型构思加以等同替换或改变,都应涵盖在本实用新型的保护范围之内。
Claims (5)
1.一种用于绿色装修施工的脚架,其特征在于,包括:支撑板(1)和调节组件(5);
所述支撑板(1)的拐角处均活动贯穿有支撑杆(2),所述支撑板(1)底部的中心处设置有安装架(505),所述安装架(505)的内部转动设置有第一锥齿轮(401),所述支撑板(1)的中部活动贯穿有L形驱动杆(4),所述L形驱动杆(4)底端贯穿安装架(505)并与第一锥齿轮(401)连接;
所述调节组件(5)包括多个螺杆(501)和多个传动杆(502),所述第一锥齿轮(401)上啮合连接有多个第二锥齿轮(504),多个所述螺杆(501)分别与对应的支撑杆(2)转动连接,所述螺杆(501)的端部贯穿安装架(505)并与对应的第二锥齿轮(504)连接,所述螺杆(501)上螺纹套接有螺套(503),多个所述传动杆(502)分别与对应的螺套(503)铰接,所述传动杆(502)的顶端与支撑板(1)的底侧铰接。
2.根据权利要求1所述的一种用于绿色装修施工的脚架,其特征在于,还包括锁死组件(6);所述锁死组件(6)包括卡块(601)和压缩弹簧(602),所述支撑板(1)上用于穿过支撑杆(2)的矩形开口内壁上开设有滑槽(605),所述卡块(601)滑动设置在滑槽(605)内,所述支撑杆(2)上等距开设有多个卡槽(201),所述卡块(601)与卡槽(201)相适配,所述压缩弹簧(602)的两端分别与卡块(601)和滑槽(605)的内壁连接。
3.根据权利要求2所述的一种用于绿色装修施工的脚架,其特征在于,所述卡块(601)的端部为斜面。
4.根据权利要求1所述的一种用于绿色装修施工的脚架,其特征在于,所述支撑板(1)上开设有与滑槽(605)相连通的L形开口(603),所述L形开口(603)内滑动设置有滑块(604),所述滑块(604)与卡块(601)滑动连接。
5.根据权利要求1所述的一种用于绿色装修施工的脚架,其特征在于,所述支撑板(1)的顶面上设置有若干个防滑凸块(3)。
Priority Applications (1)
| Application Number | Priority Date | Filing Date | Title |
|---|---|---|---|
| CN202120007943.2U CN214995755U (zh) | 2021-01-05 | 2021-01-05 | 一种用于绿色装修施工的脚架 |
Applications Claiming Priority (1)
| Application Number | Priority Date | Filing Date | Title |
|---|---|---|---|
| CN202120007943.2U CN214995755U (zh) | 2021-01-05 | 2021-01-05 | 一种用于绿色装修施工的脚架 |
Publications (1)
| Publication Number | Publication Date |
|---|---|
| CN214995755U true CN214995755U (zh) | 2021-12-03 |
Family
ID=79143017
Family Applications (1)
| Application Number | Title | Priority Date | Filing Date |
|---|---|---|---|
| CN202120007943.2U Active CN214995755U (zh) | 2021-01-05 | 2021-01-05 | 一种用于绿色装修施工的脚架 |
Country Status (1)
| Country | Link |
|---|---|
| CN (1) | CN214995755U (zh) |
-
2021
- 2021-01-05 CN CN202120007943.2U patent/CN214995755U/zh active Active
Similar Documents
| Publication | Publication Date | Title |
|---|---|---|
| CN112975675A (zh) | 一种木制连接榫头制作加工系统 | |
| CN214995755U (zh) | 一种用于绿色装修施工的脚架 | |
| CN214575999U (zh) | 一种装配式建筑支撑结构 | |
| CN216403659U (zh) | 一种火力发电厂房锅炉检修用起吊装置 | |
| CN204152417U (zh) | 一种可移动挂梯 | |
| CN210683119U (zh) | 一种建筑用便于调节的升降架 | |
| CN210819453U (zh) | 一种机械设备支撑检修装置 | |
| CN110902624B (zh) | 一种室内高处安装工作用装置及其使用方法 | |
| CN111877719A (zh) | 一种便于组合安装的建筑施工用施工架 | |
| CN213927510U (zh) | 一种土木工程用铝模板连接固定机构 | |
| CN218375184U (zh) | 一种现浇剪力墙模板定型与加固装置 | |
| CN214061941U (zh) | 一种可升降钢结构架 | |
| CN212385661U (zh) | 一种预制板拉毛装置 | |
| CN213015683U (zh) | 一种便于安装的可调节电子通信塔 | |
| CN211369495U (zh) | 一种建筑用方便拆卸的支撑底座 | |
| CN211007704U (zh) | 一种建筑用模板提升装置 | |
| CN218539002U (zh) | 一种具有防倾倒功能的彩钢板施工安装吊装架 | |
| CN211313291U (zh) | 一种室内外装潢用登高装置 | |
| CN221856249U (zh) | 一种装配式建筑施工吊装侧向支撑体系 | |
| CN115288404B (zh) | 一种建筑安装施工平台 | |
| CN207934427U (zh) | 一种升降式装修工作台 | |
| CN220725164U (zh) | 一种装配式建筑地基骨架结构 | |
| CN216196460U (zh) | 一种建筑施工用爬梯 | |
| CN212388918U (zh) | 一种升降式自稳建筑设备 | |
| CN220117700U (zh) | 一种房建施工快速搭建通行跳架 |
Legal Events
| Date | Code | Title | Description |
|---|---|---|---|
| GR01 | Patent grant | ||
| GR01 | Patent grant |