CN214993597U - A new type of FRP gate - Google Patents

A new type of FRP gate Download PDF

Info

Publication number
CN214993597U
CN214993597U CN202120712380.7U CN202120712380U CN214993597U CN 214993597 U CN214993597 U CN 214993597U CN 202120712380 U CN202120712380 U CN 202120712380U CN 214993597 U CN214993597 U CN 214993597U
Authority
CN
China
Prior art keywords
frp
gate
door frame
novel
plate
Prior art date
Legal status (The legal status is an assumption and is not a legal conclusion. Google has not performed a legal analysis and makes no representation as to the accuracy of the status listed.)
Active
Application number
CN202120712380.7U
Other languages
Chinese (zh)
Inventor
贾彬
靳晴晴
王汝恒
杨勇新
黄辉
武玉杭
Current Assignee (The listed assignees may be inaccurate. Google has not performed a legal analysis and makes no representation or warranty as to the accuracy of the list.)
Southwest University of Science and Technology
Original Assignee
Southwest University of Science and Technology
Priority date (The priority date is an assumption and is not a legal conclusion. Google has not performed a legal analysis and makes no representation as to the accuracy of the date listed.)
Filing date
Publication date
Application filed by Southwest University of Science and Technology filed Critical Southwest University of Science and Technology
Priority to CN202120712380.7U priority Critical patent/CN214993597U/en
Application granted granted Critical
Publication of CN214993597U publication Critical patent/CN214993597U/en
Active legal-status Critical Current
Anticipated expiration legal-status Critical

Links

Images

Landscapes

  • Barrages (AREA)

Abstract

本实用新型公开了一种新型FRP闸门,包括启闭机,所述启闭机的底部固定安装有门框横梁,所述门框横梁的两侧底部均固定安装有门框侧梁,所述门框侧梁的底部固定安装有门框底梁,所述门框侧梁的内部活动连接有FRP闸门板,所述FRP闸门板的顶部固定安装有FRP矩形空心型材,所述FRP矩形空心型材的底部表面螺纹安装有FRP螺栓,所述FRP矩形空心型材的顶部表面螺纹安装有普通螺栓,所述门框侧梁的背面设置有FRP密封板,所述FRP密封板的中部设置有出水孔;通过将闸门和门框换为FRP材料来解决锈蚀的问题,在闸门框后侧增加一块与闸板平齐的密封板来改善密封性。

Figure 202120712380

The utility model discloses a novel FRP gate, comprising a hoist, a door frame beam is fixedly installed at the bottom of the hoist, door frame side beams are fixedly installed at the bottoms of both sides of the door frame beam, and the door frame side beams are fixedly installed. The bottom of the door frame is fixedly installed with the bottom beam of the door frame, the interior of the side beam of the door frame is movably connected with a FRP gate plate, the top of the FRP gate plate is fixedly installed with a FRP rectangular hollow profile, and the bottom surface of the FRP rectangular hollow profile is threadedly installed with FRP bolts, the top surface of the FRP rectangular hollow profile is threaded with common bolts, the back of the door frame side beam is provided with a FRP sealing plate, and the middle of the FRP sealing plate is provided with a water outlet; by replacing the gate and the door frame with FRP material is used to solve the problem of rust, and a sealing plate flush with the gate is added to the rear side of the gate frame to improve the sealing performance.

Figure 202120712380

Description

Novel FRP gate
Technical Field
The utility model belongs to the technical field of the hydraulic engineering field, concretely relates to novel FRP gate.
Background
Most of water conservancy gates in China are constructed in the early stage, the technical level and the quality level of most of the gates are low, most of the gates are made of steel gates, reinforced concrete and cast iron materials, and the water conservancy gates have the advantages of high material strength, high rigidity and the like.
The existing steel gate has good mechanical property but is easy to corrode in water environment; the concrete is easy to prepare, but has large self weight and is not easy to install, the mechanical property is poor, the concrete is impacted by water for a long time, the concrete is influenced by factors such as the use environment, the self characteristic and the use time, the concrete is fast in corrosion and aging, easy to lose and short in service life, and the problem of high use cost is caused.
SUMMERY OF THE UTILITY MODEL
The utility model aims to provide a novel FRP gate, which aims to solve the problems that the existing steel has good mechanical property but is easy to corrode in water environment; the concrete is easy to prepare, but has large self weight and is not easy to install, has poor mechanical property, is impacted by water for a long time, is influenced by factors such as use environment, self characteristics, use time and the like, is corroded and aged quickly, is easy to lose, has short service life and causes the problem of higher use cost.
In order to achieve the above object, the utility model provides a following technical scheme: the utility model provides a novel FRP gate, includes the headstock gear, the bottom fixed mounting of headstock gear has the door frame crossbeam, the equal fixed mounting in both sides bottom of door frame crossbeam has the door frame curb girder, the bottom fixed mounting of door frame curb girder has the door frame floorbar, the inside swing joint of door frame curb girder has FRP floodgate board, the top fixed mounting of FRP floodgate board has FRP rectangle hollow profile, the FRP bolt is installed to the bottom surface screw thread of FRP rectangle hollow profile, ordinary bolt is installed to the top surface screw thread of FRP rectangle hollow profile, the back of door frame curb girder is provided with the FRP closing plate, the middle part of FRP closing plate is provided with the apopore.
Preferably, the FRP gate plate has a solid internal cross-sectional shape.
Preferably, the top of the FRP gate plate and the bottom of the screw are fixedly connected through the FRP rectangular hollow section.
Preferably, the FRP rectangular hollow section and the screw are connected through a common bolt.
Preferably, the FRP gate plate and the FRP rectangular hollow section are connected through an FRP bolt.
Preferably, the inside of door frame curb girder is equipped with the guide rail, and the guide rail top is higher than door body central line.
Preferably, a movable cavity is formed in the hoist, and the inner portion of the movable cavity is movably sleeved with the outer wall of the screw rod.
Compared with the prior art, the beneficial effects of the utility model are that:
1. this application convenient operation, simple structure can effectively improve the corrosion and the sealed problem of sluice, solves the problem of corrosion through trading gate and door frame for FRP material, increases the closing plate of a and flashboard parallel and level at gate frame rear side and improves the leakproofness.
2. The water pressure is 2.0-5.0, the construction period is less than 5 days, the application range is wide, the construction is simple and convenient, and the cost is low.
Drawings
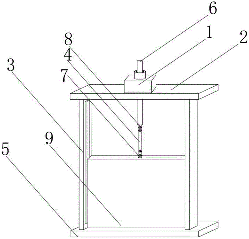
FIG. 1 is a schematic view of the overall structure of the water-facing surface of a sluice;
FIG. 2 is a schematic view of the overall structure of the FRP gate plate after being opened;
FIG. 3 is a schematic view of the overall structure of the back surface of the sluice;
FIG. 4 is a schematic side view of the sluice;
FIG. 5 is a schematic view of the connection between the FRP gate plate and the FRP rectangular hollow section.
In the figure: 1. a hoist; 2. a doorframe beam; 3. a door frame side member; 4. FRP rectangular hollow sections; 5. a bottom beam of the door frame; 6. a screw; 7. FRP bolts; 8. a plain bolt; 9. an FRP gate plate; 10. FRP sealing plates; 11. and (7) water outlet holes.
Detailed Description
The technical solutions in the embodiments of the present invention will be described clearly and completely with reference to the accompanying drawings in the embodiments of the present invention, and it is obvious that the described embodiments are only some embodiments of the present invention, not all embodiments. Based on the embodiments in the present invention, all other embodiments obtained by a person skilled in the art without creative work belong to the protection scope of the present invention.
Referring to fig. 1-5, the present invention provides a technical solution: the utility model provides a novel FRP gate, including headstock gear 1, headstock gear 1's bottom fixed mounting has door frame crossbeam 2, the equal fixed mounting in both sides bottom of door frame crossbeam 2 has door frame curb girder 3, the bottom fixed mounting of door frame curb girder 3 has door frame floorbar 5, the inside swing joint of door frame curb girder 3 has FRP floodgate board 9, the top fixed mounting of FRP floodgate board 9 has FRP rectangle hollow profile 4, FRP bolt 7 is installed to the bottom surface thread of FRP rectangle hollow profile 4, ordinary bolt 8 is installed to the top surface thread of FRP rectangle hollow profile 4, the back of FRP floodgate board 9 is provided with FRP closing plate 10, the middle part of FRP closing plate 10 is provided with apopore 11.
In this embodiment, through setting up FRP rectangle hollow section 4, FRP bolt 7, FRP floodgate board 9, FRP closing plate 10, replace original steel matter, avoid can be corroded at the in-process of long-time work, FRP floodgate board 9's back is provided with FRP closing plate 10 simultaneously, FRP floodgate board 9 goes up and down during the use, FRP closing plate 10 and the integrative fixed motionless of door frame, apopore 11 on the FRP closing plate 10 and the delivery port coincidence of lock chamber, thereby make the work of being convenient for and prevent leaking.
Specifically, the FRP gate plate 9 has a solid internal cross-sectional shape.
In this embodiment, the FRP gate plate 9 is integrally formed into a solid shape, so that the gate plate is not broken due to excessive water flow during operation.
Specifically, the FRP rectangular hollow section 4 and the screw 6 are connected through a common bolt 8.
In this embodiment, the general bolt 8 is provided, so that the whole of the FRP rectangular hollow section 4 and the screw rod 6 can be connected.
Specifically, the FRP gate plate 9 and the FRP rectangular hollow section 4 are connected through an FRP bolt 7.
In this embodiment, by arranging the FRP bolt 7, the FRP rectangular hollow section 4 and the FRP gate plate 9 can be fixed, which solves the connection problem and the fixing problem.
Specifically, the inside of the door frame side beam 3 is provided with a guide rail, and the top of the guide rail is higher than the central line of the door body.
In this embodiment, by providing the guide rail, the FRP gate panel 9 can move up and down inside the door frame side member 3.
Specifically, a movable cavity is formed in the hoist 1, and the inner portion of the movable cavity is movably sleeved with the outer wall of the screw 6.
The FRP gate plate 9 and the door frame are sealed through silicone structural adhesive, the silicone structural adhesive is used as a water-stopping sealing strip, the function of the silicone structural adhesive is the same as that of water-stopping rubber, and a gap generated between the gate plate and the door frame is sealed; the FRP sealing plate 10 and the doorframe are fixed into a whole, and the gap between the sealing plate 10 and the uneven concrete wall can be sealed by smearing concrete around the sealing plate or sealing glue, so that water leakage caused by the unevenness of the concrete wall of the gate chamber is compensated.
In this embodiment, the movable cavity is provided, so that the whole screw 6 can move up and down in the hoist 1.
When the gate is used, when water flow needs to be stopped, the FRP gate plate 9 is lowered through the rotation of the hoist 1 to stop the water flow from passing through, and meanwhile, the FRP sealing plate 10 can block water leakage caused by uneven concrete walls of the gate chamber; when water flow needs to pass through, the hoist 1 is rotated reversely to lift the FRP gate plate 9, and the water flow flows out through the hole 11 on the FRP sealing plate 10 and is connected with an irrigation water outlet.
Although embodiments of the present invention have been shown and described, it will be appreciated by those skilled in the art that changes, modifications, substitutions and alterations can be made in these embodiments without departing from the principles and spirit of the invention, the scope of which is defined in the appended claims and their equivalents.

Claims (7)

1. The utility model provides a novel FRP gate, includes headstock gear (1), its characterized in that: the bottom fixed mounting of headstock gear (1) has door frame crossbeam (2), the equal fixed mounting in both sides bottom of door frame crossbeam (2) has door frame curb girder (3), the bottom fixed mounting of door frame curb girder (3) has door frame floorbar (5), the inside swing joint of door frame curb girder (3) has FRP floodgate board (9), the top fixed mounting of FRP floodgate board (9) has FRP rectangle hollow profile (4), FRP bolt (7) are installed to the bottom surface screw thread of FRP rectangle hollow profile (4), ordinary bolt (8) are installed to the top surface screw thread of FRP rectangle hollow profile (4), the back of door frame curb girder (3) is provided with closing plate (10), the middle part of FRP closing plate (10) is provided with apopore (11).
2. The novel FRP gate as claimed in claim 1, wherein: the FRP gate plate (9) has a solid internal cross-sectional shape.
3. The novel FRP gate as claimed in claim 1, wherein: the top of the FRP gate plate (9) is fixedly connected with the bottom of the screw (6) through the FRP rectangular hollow section (4).
4. The novel FRP gate as claimed in claim 1, wherein: the FRP rectangular hollow section (4) is connected with the screw (6) through a common bolt (8).
5. The novel FRP gate as claimed in claim 1, wherein: the FRP gate plate (9) is connected with the FRP rectangular hollow section (4) through an FRP bolt (7).
6. The novel FRP gate as claimed in claim 1, wherein: the inside of the door frame side beam (3) is provided with a guide rail, and the top of the guide rail is higher than the central line of the door body.
7. The novel FRP gate as claimed in claim 1, wherein: a movable cavity is formed in the hoist (1), and the inner portion of the movable cavity is movably sleeved with the outer wall of the screw rod (6).
CN202120712380.7U 2021-04-08 2021-04-08 A new type of FRP gate Active CN214993597U (en)

Priority Applications (1)

Application Number Priority Date Filing Date Title
CN202120712380.7U CN214993597U (en) 2021-04-08 2021-04-08 A new type of FRP gate

Applications Claiming Priority (1)

Application Number Priority Date Filing Date Title
CN202120712380.7U CN214993597U (en) 2021-04-08 2021-04-08 A new type of FRP gate

Publications (1)

Publication Number Publication Date
CN214993597U true CN214993597U (en) 2021-12-03

Family

ID=79097209

Family Applications (1)

Application Number Title Priority Date Filing Date
CN202120712380.7U Active CN214993597U (en) 2021-04-08 2021-04-08 A new type of FRP gate

Country Status (1)

Country Link
CN (1) CN214993597U (en)

Similar Documents

Publication Publication Date Title
CN214993597U (en) A new type of FRP gate
CN110747824A (en) An integrated steel gate
CN103015375A (en) Water retaining device
CN113136843A (en) Two-way water stop gate with adjustable sealing structure
CN202117035U (en) Side surface water stop structure of turnover panel gate
CN215052738U (en) A FRP gate for reducing water pressure
CN214460180U (en) Coaxial linkage cast iron gate
CN210661438U (en) Wedge-shaped strong water stop tooth transmission type water inlet and outlet valve
CN108930494A (en) The biparting closed guard gate of SMC glass fibre reinforced composite material
CN219450647U (en) Ultra-high performance concrete hydraulic gate
CN217839917U (en) Hydraulic top-jacking type stainless steel bidirectional water-stop gate
CN220013580U (en) Sluice structure based on river course removes dangerous reinforcement
CN210341838U (en) Novel U-shaped bottom water seal device for plane gate
CN222294881U (en) Gate opening and closing device for hydraulic engineering
CN205804291U (en) A kind of hydraulic pressure view dam
CN203361100U (en) Steel structure turning plate gate
CN218757320U (en) Novel water conservancy flashboard
CN211312444U (en) River channel gate for hydraulic engineering
CN221167675U (en) Light channel gate nonmetallic frame
CN207959138U (en) Composite water-stop cast-iron lock gate
CN216587344U (en) A vertical beam inner angle compensator
CN223017563U (en) Portable adjustable channel shutoff gate
CN223033967U (en) Integrated gate for circular culverts
CN214301618U (en) Assembled high-density polyethylene non-metal gate
CN222715924U (en) Floating type overhaul gate for blocking water without embedded part of dam body

Legal Events

Date Code Title Description
GR01 Patent grant
GR01 Patent grant