CN214979834U - A wheel hub processing device for a four-wheel independent drive electric vehicle - Google Patents

A wheel hub processing device for a four-wheel independent drive electric vehicle Download PDF

Info

Publication number
CN214979834U
CN214979834U CN202121353976.9U CN202121353976U CN214979834U CN 214979834 U CN214979834 U CN 214979834U CN 202121353976 U CN202121353976 U CN 202121353976U CN 214979834 U CN214979834 U CN 214979834U
Authority
CN
China
Prior art keywords
fixed
wheel
hub
wheel hub
independent drive
Prior art date
Legal status (The legal status is an assumption and is not a legal conclusion. Google has not performed a legal analysis and makes no representation as to the accuracy of the status listed.)
Expired - Fee Related
Application number
CN202121353976.9U
Other languages
Chinese (zh)
Inventor
张鹏
王洪新
程振邦
李彦洲
Current Assignee (The listed assignees may be inaccurate. Google has not performed a legal analysis and makes no representation or warranty as to the accuracy of the list.)
West Anhui University
Original Assignee
West Anhui University
Priority date (The priority date is an assumption and is not a legal conclusion. Google has not performed a legal analysis and makes no representation as to the accuracy of the date listed.)
Filing date
Publication date
Application filed by West Anhui University filed Critical West Anhui University
Priority to CN202121353976.9U priority Critical patent/CN214979834U/en
Application granted granted Critical
Publication of CN214979834U publication Critical patent/CN214979834U/en
Expired - Fee Related legal-status Critical Current
Anticipated expiration legal-status Critical

Links

Images

Landscapes

  • Grinding And Polishing Of Tertiary Curved Surfaces And Surfaces With Complex Shapes (AREA)

Abstract

本实用新型涉及电动汽车领域,具体涉及一种四轮独立驱动电动汽车的轮毂加工装置,包括底板,底板的顶端固定有立板,两个立板的内端之间对称固定有曲形杆,两个曲形杆的顶端均开设有滑道,且两个曲形杆的上方位置设置有转轴,转轴的两端对应滑道的位置均安装有滚轮,转轴外壁贯穿固定有连接架,连接架的底端固定有载物板;本实用新型通过加入曲形杆、超声波磨料槽和清洗槽等,螺杆转动,带动载物板移动,当滚轮移动至曲形杆的第一个弯曲处时,载物板上的轮毂沉在超声波磨料槽内,启动超声波发生器,超声波磨料槽内的磨料对轮毂上的毛刺予以去除,实现轮毂的多方面去毛刺,去除毛刺较为全面,去毛刺效果较好。

Figure 202121353976

The utility model relates to the field of electric vehicles, in particular to a wheel hub processing device for a four-wheel independent driving electric vehicle, comprising a bottom plate, a vertical plate is fixed on the top of the bottom plate, and a curved rod is symmetrically fixed between the inner ends of the two vertical plates. The top ends of the two curved rods are provided with slideways, and the upper positions of the two curved rods are provided with rotating shafts, the two ends of the rotating shafts are installed with rollers at the positions corresponding to the slideways, and the outer walls of the rotating shafts are fixed with connecting frames. The bottom end is fixed with a carrier plate; the utility model adds a curved rod, an ultrasonic abrasive tank and a cleaning tank, etc., the screw rotates to drive the carrier to move, and when the roller moves to the first bend of the curved rod, The wheel hub on the carrier plate is immersed in the ultrasonic abrasive tank, and the ultrasonic generator is activated. The abrasive in the ultrasonic abrasive tank removes the burr on the wheel hub, realizing multi-faceted deburring of the wheel hub. The deburring is more comprehensive and the deburring effect is better. .

Figure 202121353976

Description

Hub machining device of four-wheel independent drive electric automobile
Technical Field
The utility model relates to an electric automobile technical field, concretely relates to four-wheel independent drive electric automobile's wheel hub processingequipment.
Background
The hub is a rotating part of a wheel core, wherein the wheel core is connected with the inner profile steel of the tire through a stand column, namely a metal part which supports the center of the tire and is arranged on a shaft. The hub machining device in the prior art has incomplete deburring, so that the deburring effect is general.
The patent with the publication number of CN108747672B discloses a wheel hub automatic processing device, it includes grinding device and manipulator device, grinding device sets up at manipulator device side, grinding device includes the fixed station, grinding motor and polishing dish, grinding motor sets up the lateral part at the fixed station, polishing dish is fixed on grinding motor's output, manipulator device includes the base, the stand, robotic arm and hand claw, the stand setting is in the base top, robotic arm's one end is connected with the top of stand, robotic arm's the other end extends to grinding device's direction, the hand claw sets up the end that extends at robotic arm. But this device has the problem that the hub cannot be fully deburred. Therefore, the hub machining device for the four-wheel independent drive electric automobile is provided.
SUMMERY OF THE UTILITY MODEL
Technical problem to be solved
Not enough to prior art, the utility model provides a four-wheel independent drive electric automobile's wheel hub processingequipment has overcome the not enough of prior art, reasonable in design, and compact structure has effectually solved the problem of mentioning in the above-mentioned background.
(II) technical scheme
In order to achieve the above purpose, the utility model discloses a following technical scheme realizes: a hub processing device of a four-wheel independent drive electric automobile comprises a bottom plate, wherein notched vertical plates are fixed on two sides of the top end of the bottom plate, curved rods are symmetrically fixed between the inner ends of the two vertical plates in the front-back direction, slide ways are formed in the top ends of the two curved rods, a rotating shaft is arranged above the two curved rods, rollers are mounted at two ends of the rotating shaft and correspond to the positions of the slide ways, the two rollers are located in the corresponding slide ways, a connecting frame is fixedly penetrated through the outer wall of the rotating shaft, a carrying plate for placing a hub is fixedly arranged at the bottom end of the connecting frame, a supporting rod is fixedly arranged at the top end of the connecting frame, a vertical sliding groove is formed in the supporting rod in a penetrating mode, a sliding block is connected in the sliding groove in a sliding mode, a horizontal screw rod is connected with the sliding block in a penetrating mode through threads, two ends of the screw rod are rotatably connected with the inner ends of the vertical plates, one end of the screw rod extends out of the vertical plates and is connected with a motor, the top of bottom plate corresponds the bent part of bent shape pole and is fixed with the ultrasonic wave abrasive trough that is used for polishing wheel hub.
Preferably, supersonic generator is installed to the inner wall of ultrasonic wave abrasive material groove, and ultrasonic wave electronic box is installed to ultrasonic wave abrasive material groove outer end, electric connection between supersonic generator and the ultrasonic wave electronic box.
Preferably, the carrying plate is provided with a plurality of through holes in a penetrating manner, and a limiting ring plate is fixed at the position, corresponding to the outer side of the through holes, of the top end of the carrying plate.
Preferably, a cleaning groove for cleaning the hub is fixed at the top end of the bottom plate corresponding to the bent part of the curved rod.
Preferably, the upper portion of the inner wall of the cleaning tank is fixed with a rectangular spray pipe, the outer end of the spray pipe is communicated with a liquid inlet pipe, the other end of the liquid inlet pipe penetrates through the cleaning tank, and a liquid pump is arranged at the penetrating section of the liquid inlet pipe.
Preferably, the lower part of the inner wall of the cleaning tank is communicated with a discharge pipe with a valve.
(III) advantageous effects
The embodiment of the utility model provides a four-wheel independent drive electric automobile's wheel hub processingequipment possesses following beneficial effect:
1. by adding the curved rod, the ultrasonic grinding groove, the cleaning groove and the like, the motor drives the screw rod to rotate and then drives the object carrying plate to move, at the moment, the roller wheel moves along the slide way, the wheel hub sleeved on the object carrying plate moves along with the roller wheel, when the roller wheel moves to the first bend of the curved rod, the wheel hub on the object carrying plate sinks in the ultrasonic grinding groove, the ultrasonic generator is started, the grinding material in the ultrasonic grinding groove removes burrs on the wheel hub, the multi-aspect deburring of the wheel hub is realized, the deburring is comprehensive, and the deburring effect is good; the polishing and cleaning integration is realized by adding the cleaning tank, so that the processing efficiency is improved;
2. by adding the cleaning tank, the spraying pipe, the liquid inlet pipe and the like, the roller continuously moves along the slide way to drive the carrying plate and the hub on the carrying plate to move to the second bending part of the curved rod, the carrying plate and the hub on the carrying plate extend into the cleaning tank, the liquid pump is started, clean water enters the spraying pipe from the liquid inlet pipe and is sprayed out, the hub on the carrying plate after being polished is washed, the polishing and cleaning integration is realized, and the processing efficiency is improved;
3. through adding the spacing ring board, carry on spacingly to the wheel hub, prevent that the wheel hub takes place the skew and drop and carry the thing board when ultrasonic cleaning.
Drawings
FIG. 1 is a schematic structural view of the present invention;
FIG. 2 is a schematic view of another perspective structure of the present invention;
fig. 3 is a schematic view of a part of the structure of the present invention.
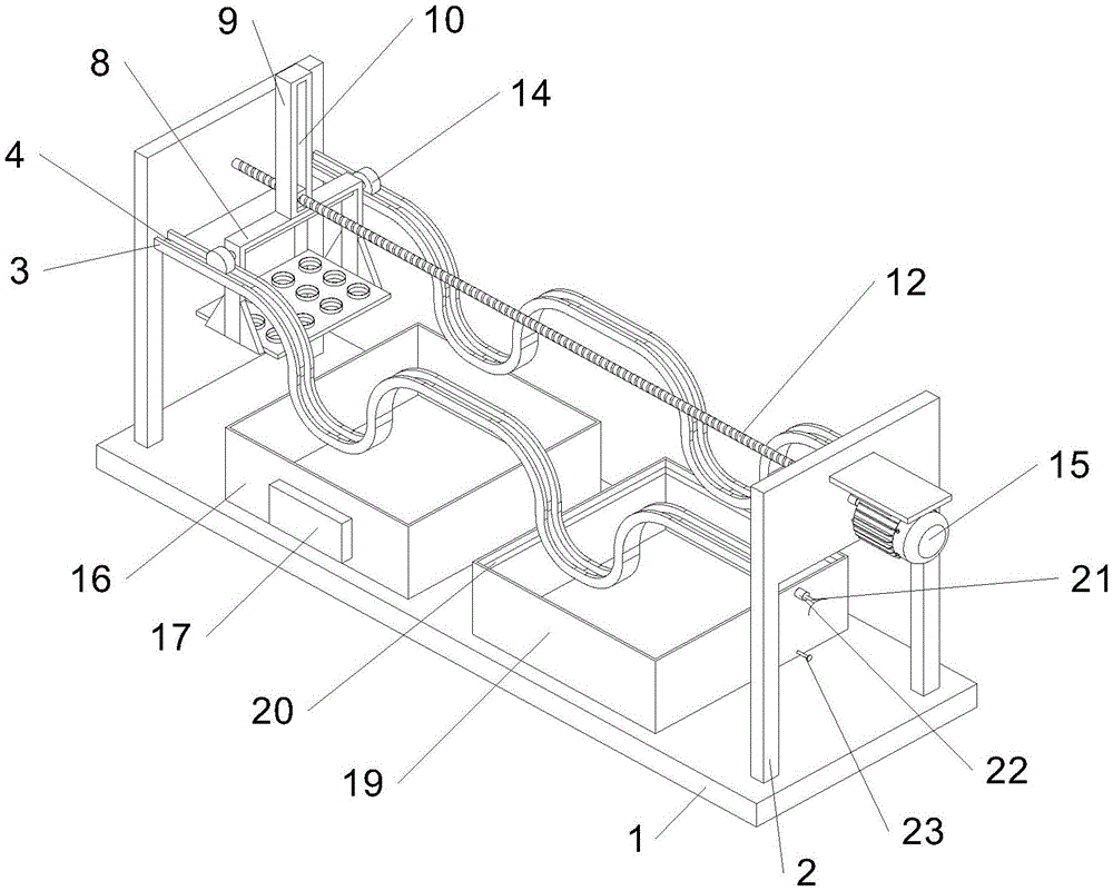
In the figure: 1-bottom plate, 2-vertical plate, 3-curved rod, 4-slideway, 5-carrying plate, 6-through hole, 7-limit ring plate, 8-connecting frame, 9-supporting rod, 10-chute, 11-slide block, 12-screw, 13-rotating shaft, 14-roller, 15-motor, 16-ultrasonic abrasive trough, 17-ultrasonic electronic box, 18-ultrasonic generator, 19-cleaning tank, 20-spray pipe, 21-liquid inlet pipe, 22-liquid pump and 23-discharge pipe.
Detailed Description
The invention will be further described with reference to the following figures 1-3 and examples:
example 1
In this embodiment, as shown in fig. 1-3, a hub processing device for four-wheel independent drive electric vehicles includes a base plate 1, two notched vertical plates 2 are fixed on both sides of the top end of the base plate 1, curved bars 3 are symmetrically fixed between the inner ends of the two vertical plates 2 in the front-back direction, slides 4 are formed on the top ends of the two curved bars 3, a rotating shaft 13 is disposed above the two curved bars 3, rollers 14 are mounted at the two ends of the rotating shaft 13 corresponding to the slides 4, the two rollers 14 are located in the corresponding slides 4, a connecting frame 8 is fixedly penetrated through the outer wall of the rotating shaft 13, a carrying plate 5 for placing a hub is fixed at the bottom end of the connecting frame 8, a supporting rod 9 is fixed at the top end of the connecting frame 8, a sliding groove 10 in the vertical direction is formed through the supporting rod 9, a sliding block 11 is slidably connected in the sliding groove 10, the sliding block 11 is connected with a screw 12 in the horizontal direction through a thread, both ends of screw rod 12 all rotate with the inner of riser 2 and be connected, and the one end of screw rod 12 stretches out riser 2 and is connected with motor 15, and the top of bottom plate 1 corresponds the crooked department of bent shape pole 3 and is fixed with the ultrasonic wave abrasive trough 16 that is used for polishing wheel hub, has filled the polishing solution in the ultrasonic wave abrasive trough 16. An ultrasonic generator 18 is installed on the inner wall of the ultrasonic grinding trough 16, an ultrasonic electronic box 17 is installed at the outer end of the ultrasonic grinding trough 16, and the ultrasonic generator 18 is electrically connected with the ultrasonic electronic box 17.
Carry thing board 5 to run through and seted up a plurality of through-holes 6, and the outside rigidity that carries the top of thing board 5 and correspond through-hole 6 has spacing ring board 7, and spacing ring board 7 is spacing to the wheel hub, prevents that the wheel hub from taking place the skew and dropping and carrying thing board 5 when ultrasonic cleaning.
Example 2
In addition to the embodiment 1, a washing tank 19 for washing the hub is fixed to the top end of the base plate 1 at a position corresponding to the bent portion of the curved bar 3. A rectangular spray pipe 20 is fixed on the upper part of the inner wall of the cleaning tank 19, the outer end of the spray pipe 20 is communicated with a liquid inlet pipe 21, the other end of the liquid inlet pipe 21 penetrates through the cleaning tank 19, and a liquid pump 22 is arranged at the penetrating section of the liquid inlet pipe 21. The lower part of the inner wall of the cleaning tank 19 is communicated with a discharge pipe 23 with a valve. In this way, when the wheel hub on the object carrying plate 5 enters the cleaning groove 19, the liquid pump 22 is started, the clean water enters the spraying pipe 20 from the liquid inlet pipe 21 and is sprayed out, the wheel hub after polishing on the object carrying plate 5 is washed, polishing and cleaning are integrated, and the processing efficiency is improved.
When the wheel hub processing device for the four-wheel independent drive electric vehicle, which is provided by the embodiment 1-2, is used, the wheel hubs are sequentially sleeved on the limit ring plate 6 of the object carrying plate 5, the motor 15 is started to drive the screw rod 12 to rotate, and then the slider 11 is driven to move along the chute 10, so that the support rod 9, the connecting frame 8 and the object carrying plate 5 are driven to move, at the moment, the roller 14 moves along the slideway 4, the wheel hub sleeved on the object carrying plate 5 moves along with the wheel hub, when the roller 14 moves to the first bending part of the curved rod 3, the wheel hub on the object carrying plate 5 sinks in the ultrasonic wave grinding trough 16, the ultrasonic wave generator 18 is started, the grinding materials in the ultrasonic wave grinding trough 16 remove burrs on the wheel hubs, so that various aspects of the wheel hubs are deburred, the deburring is comprehensive, and the deburring effect is good; the gyro wheel 14 continues to remove along slide 4, drives and carries wheel hub on thing board 5 and remove to the second bend of bent shape pole 3, carries in the thing board 5 and the wheel hub on it stretches into the washing tank, is washed by the clear water, realizes polishing the washing integration, has improved machining efficiency.
The electrical components appearing in the application are all electrically connected with an external main controller and 220V mains supply, and the main controller can be a computer or other conventional known devices for playing a role in control.
The embodiment of the present invention discloses a preferred embodiment, but not limited thereto, and those skilled in the art can easily understand the spirit of the present invention according to the above embodiment, and make different extensions and changes, but do not depart from the spirit of the present invention, all of which are within the protection scope of the present invention.

Claims (6)

1. The utility model provides a four-wheel independent drive electric automobile's wheel hub processingequipment, includes bottom plate (1), its characterized in that: both sides of the top end of the bottom plate (1) are fixed with notched vertical plates (2), curved rods (3) are symmetrically fixed between the inner ends of the two vertical plates (2) along the front-back direction, slide ways (4) are respectively arranged at the top ends of the two curved rods (3), a rotating shaft (13) is arranged above the two curved rods (3), rollers (14) are respectively arranged at the two ends of the rotating shaft (13) corresponding to the slide ways (4), the two rollers (14) are positioned in the corresponding slide ways (4), a connecting frame (8) is fixedly penetrated through the outer wall of the rotating shaft (13), a carrying plate (5) for placing a wheel hub is fixed at the bottom end of the connecting frame (8), a supporting rod (9) is fixed at the top end of the connecting frame (8), a vertical sliding groove (10) is formed in the supporting rod (9) in a penetrating way, a sliding block (11) is slidably connected in the sliding groove (10), and a horizontal screw rod (12) is connected in the sliding way by penetrating threads of the sliding block (11), the both ends of screw rod (12) all are connected with the inner rotation of riser (2), and the one end of screw rod (12) stretches out riser (2) and is connected with motor (15), and the top of bottom plate (1) corresponds the crooked department of bent shape pole (3) and is fixed with ultrasonic wave abrasive material groove (16) that are used for polishing wheel hub.
2. The hub machining apparatus of a four-wheel independent drive electric vehicle according to claim 1, characterized in that: supersonic generator (18) is installed to the inner wall of ultrasonic wave abrasive trough (16), and ultrasonic wave electronic box (17) is installed to ultrasonic wave abrasive trough (16) outer end, electric connection between supersonic generator (18) and ultrasonic wave electronic box (17).
3. The hub machining apparatus of a four-wheel independent drive electric vehicle according to claim 1, characterized in that: the carrying plate (5) is provided with a plurality of through holes (6) in a penetrating way, and a limiting ring plate (7) is fixed at the position of the top end of the carrying plate (5) corresponding to the outer side of the through holes (6).
4. The hub machining apparatus of a four-wheel independent drive electric vehicle according to claim 1, characterized in that: and a cleaning groove (19) for cleaning the hub is fixed at the bent part of the top end of the bottom plate (1) corresponding to the curved rod (3).
5. The hub machining apparatus of the four-wheel independent drive electric vehicle as claimed in claim 4, wherein: the washing tank is characterized in that a rectangular spray pipe (20) is fixed to the upper portion of the inner wall of the washing tank (19), the outer end of the spray pipe (20) is communicated with a liquid inlet pipe (21), the other end of the liquid inlet pipe (21) penetrates through the washing tank (19), and a liquid pump (22) is arranged at the penetrating section of the liquid inlet pipe (21).
6. The hub machining apparatus of the four-wheel independent drive electric vehicle as claimed in claim 4, wherein: the lower part of the inner wall of the cleaning tank (19) is communicated with a discharge pipe (23) with a valve.
CN202121353976.9U 2021-06-17 2021-06-17 A wheel hub processing device for a four-wheel independent drive electric vehicle Expired - Fee Related CN214979834U (en)

Priority Applications (1)

Application Number Priority Date Filing Date Title
CN202121353976.9U CN214979834U (en) 2021-06-17 2021-06-17 A wheel hub processing device for a four-wheel independent drive electric vehicle

Applications Claiming Priority (1)

Application Number Priority Date Filing Date Title
CN202121353976.9U CN214979834U (en) 2021-06-17 2021-06-17 A wheel hub processing device for a four-wheel independent drive electric vehicle

Publications (1)

Publication Number Publication Date
CN214979834U true CN214979834U (en) 2021-12-03

Family

ID=79127583

Family Applications (1)

Application Number Title Priority Date Filing Date
CN202121353976.9U Expired - Fee Related CN214979834U (en) 2021-06-17 2021-06-17 A wheel hub processing device for a four-wheel independent drive electric vehicle

Country Status (1)

Country Link
CN (1) CN214979834U (en)

Cited By (2)

* Cited by examiner, † Cited by third party
Publication number Priority date Publication date Assignee Title
CN118180022A (en) * 2024-05-15 2024-06-14 成都医学院 An integrated device for washing and disinfecting medical care equipment
CN118357793A (en) * 2024-06-19 2024-07-19 湖南工程学院 Automobile part die-casting aluminum alloy surface treatment device

Cited By (3)

* Cited by examiner, † Cited by third party
Publication number Priority date Publication date Assignee Title
CN118180022A (en) * 2024-05-15 2024-06-14 成都医学院 An integrated device for washing and disinfecting medical care equipment
CN118180022B (en) * 2024-05-15 2024-07-16 成都医学院 An integrated device for washing and disinfecting medical care equipment
CN118357793A (en) * 2024-06-19 2024-07-19 湖南工程学院 Automobile part die-casting aluminum alloy surface treatment device

Similar Documents

Publication Publication Date Title
CN214979834U (en) A wheel hub processing device for a four-wheel independent drive electric vehicle
CN211303925U (en) Belt cleaning device is used in five metals production
CN209363155U (en) Deburring cleaning device
CN218079361U (en) Reciprocating type metal material washing device
CN211330391U (en) Automobile bearing cleaning device
CN103343353A (en) Motor rotor surface acid pickling deburring machine
CN108543744A (en) A kind of trip bolt cleaning device of auto parts and components
CN218394988U (en) Sheet metal part cleaning device
CN210023132U (en) Oral liquid bottle washing device
CN107738168A (en) A kind of Water cooled air conditionerses machine shaft surface derusting sanding apparatus
CN218309850U (en) Cleaning device for metallurgical equipment uses
CN216937295U (en) Cleaning device for machining hardware stamping parts
CN112008587B (en) A surface cleaning and polishing device for aluminum sheet and use method thereof
CN210886245U (en) Pickling unit is used in steel preparation
CN211463494U (en) Slurry iron remover for slurry scrap iron
CN213193459U (en) High-efficient agitating unit of building pitch
CN207576983U (en) A kind of hardware copper product industrial water cleaning device
CN222153084U (en) Cavity belt cleaning device on rete aluminium part
CN222594019U (en) Pickling device for surface processing of bearing parts
CN220611467U (en) Motor shaft cleaning device for processing direct-current brush motor
CN219255024U (en) Wire drawing equipment for surface treatment of trolley shell
CN218394416U (en) Asphalt felt coiled nail rust-proof treatment device
CN216965529U (en) Belt cleaning device is used in production of car filter shell
CN222607354U (en) Belt pulley belt cleaning device
CN222374772U (en) Copper material polishing passivation processing device

Legal Events

Date Code Title Description
GR01 Patent grant
GR01 Patent grant
CF01 Termination of patent right due to non-payment of annual fee
CF01 Termination of patent right due to non-payment of annual fee

Granted publication date: 20211203