CN214976090U - Belt cleaning device for electrical machining - Google Patents

Belt cleaning device for electrical machining Download PDF

Info

Publication number
CN214976090U
CN214976090U CN202120215580.1U CN202120215580U CN214976090U CN 214976090 U CN214976090 U CN 214976090U CN 202120215580 U CN202120215580 U CN 202120215580U CN 214976090 U CN214976090 U CN 214976090U
Authority
CN
China
Prior art keywords
water
pipe
storage tank
water storage
fixed
Prior art date
Legal status (The legal status is an assumption and is not a legal conclusion. Google has not performed a legal analysis and makes no representation as to the accuracy of the status listed.)
Expired - Fee Related
Application number
CN202120215580.1U
Other languages
Chinese (zh)
Inventor
李选民
Current Assignee (The listed assignees may be inaccurate. Google has not performed a legal analysis and makes no representation or warranty as to the accuracy of the list.)
Baoji Hengsheng Electric Technology Co ltd
Original Assignee
Qishan Hengsheng Electric Factory
Priority date (The priority date is an assumption and is not a legal conclusion. Google has not performed a legal analysis and makes no representation as to the accuracy of the date listed.)
Filing date
Publication date
Application filed by Qishan Hengsheng Electric Factory filed Critical Qishan Hengsheng Electric Factory
Priority to CN202120215580.1U priority Critical patent/CN214976090U/en
Application granted granted Critical
Publication of CN214976090U publication Critical patent/CN214976090U/en
Expired - Fee Related legal-status Critical Current
Anticipated expiration legal-status Critical

Links

Images

Landscapes

  • Cleaning By Liquid Or Steam (AREA)

Abstract

本实用新型提供了一种电气加工用清洗装置,包括清洗箱、储水箱,清洗箱左端面固定有电机,电机输出轴固定连接有丝杆,丝杆上活动连接有夹紧组件,夹紧组件下端固定有加工件,清洗箱内部底面对称安装有多组固定杆,每组固定杆之间安装有分流管,分流管上端安装有多个喷头,清洗箱下端面固定有多个支撑板,储水箱固定在支撑板之间,清洗箱底面设有排水管,排水管贯穿储水箱上端与储水箱内腔连通,储水箱之间安装有过滤网,储水箱下端设有出水口,储水箱下端面安装有水泵,出水口与水泵的进水管连接,水泵的出水管固定连接有输送管,输送管与分流管固定连接,本实用新型结构简单,清洗效果好,达到了水资源重复利用的目的。

Figure 202120215580

The utility model provides a cleaning device for electrical processing, comprising a cleaning box and a water storage tank. A motor is fixed on the left end face of the cleaning box, a screw rod is fixedly connected to an output shaft of the motor, and a clamping assembly is movably connected to the screw rod. There are workpieces fixed at the lower end, and several sets of fixing rods are symmetrically installed on the bottom surface of the cleaning box. A shunt pipe is installed between each group of fixing rods. The upper end of the shunt pipe is installed with multiple nozzles. The water tank is fixed between the support plates, and the bottom surface of the cleaning box is provided with a drain pipe. The drain pipe runs through the upper end of the water storage tank and communicates with the inner cavity of the water storage tank. A filter screen is installed between the water storage tanks. A water pump is installed, the water outlet is connected with the water inlet pipe of the water pump, the water outlet pipe of the water pump is fixedly connected with a conveying pipe, and the conveying pipe is fixedly connected with the shunt pipe.

Figure 202120215580

Description

Belt cleaning device for electrical machining
Technical Field
The utility model relates to a technical field of electrical machining specifically is a belt cleaning device for electrical machining.
Background
Electricity is the general name in subject or engineering fields such as the production, transmission, distribution, use and electrician's equipment of electric energy make, in the course of working, needs to carry out effectual cleaning to the machined part after processing, current patent application no: 201921552504.9, the power distribution box comprises a box body, the inside bottom of box is provided with the catch basin, the lateral wall of box is provided with the motor, one side that the inside of box is located the motor is provided with the second threaded rod, the top that the inside of box is located the second threaded rod is provided with the second guide bar, the both sides that are located the second threaded rod on the box are provided with first seat of rotating, be provided with chucking device on second threaded rod and the second guide bar, the inside of box is provided with adjusting device, adjusting device's top is provided with the fixed plate. The utility model discloses a height of shower nozzle can be adjusted to adjusting device's hydraulic stem for the shower nozzle is aligned with the work piece by the centre gripping, thereby can be abundant wash the work piece, can carry out the chucking to different work pieces through the chucking device, and it is more firm to guarantee the work piece centre gripping simultaneously, but this utility model can not be to having washed water reuse, the water waste resource has the limitation.
SUMMERY OF THE UTILITY MODEL
The utility model mainly provides a belt cleaning device for electrical machining for solve the technical problem who proposes among the above-mentioned background art.
The utility model provides a technical scheme that above-mentioned technical problem adopted does:
a cleaning device for electric processing comprises a cleaning box and a water storage tank, wherein a motor is fixed on the left end face of the cleaning box, a screw rod is fixedly connected with an output shaft of the motor, a clamping assembly is movably connected on the screw rod, a workpiece is fixed at the lower end of the clamping assembly, a plurality of groups of fixing rods are symmetrically arranged on the bottom surface inside the cleaning box, a flow dividing pipe is arranged between the fixing rods of each group, a plurality of spray heads are arranged at the upper end of the flow dividing pipe, a plurality of supporting plates are fixed on the lower end face of the cleaning box, the water storage tank is fixed between the supporting plates, a water discharging pipe is arranged on the bottom surface of the cleaning box, the water discharging pipe penetrates through the upper end of the water storage tank and is communicated with an inner cavity of the water storage tank, a water outlet is arranged at the lower end face of the water storage tank, a water pump is arranged on the lower end face of the water storage tank, the water outlet is connected with a water inlet pipe of the water pump, the conveyer pipe with shunt tubes fixed connection has realized the cyclic utilization of water, the water economy resource.
Further, the clamping assembly comprises a movable seat, the movable seat is movably connected with the lead screw, a fixed plate is fixed on the lower end face of the movable seat, a sliding groove is formed in the movable seat, a movable plate is movably connected with the sliding groove, and the movable plate is matched with the fixed plate to facilitate cleaning of workpieces.
Furthermore, a spring is arranged in the sliding groove, and two ends of the spring are respectively connected with the sliding groove and the movable plate to provide elasticity and facilitate clamping of a workpiece.
Furthermore, a filter screen is fixedly installed in the water storage tank to filter water in the water storage tank.
Furthermore, a reinforcing plate is formed on the left end face of the cleaning box one day, and the motor is installed on the upper end face of the reinforcing plate and used for fixing the motor and starting the fixing function.
Furthermore, the front end of the cleaning box is provided with the sealing plate, so that the workpiece is convenient to take and place, and the sealing effect is achieved.
Furthermore, a plurality of handles are symmetrically arranged on the sealing plate, so that the sealing plate can be opened conveniently.
Compared with the prior art, the beneficial effects of the utility model are that:
the utility model collects the water in the cleaning tank through the water storage tank, the water is filtered by the filter screen and then is conveyed to the spray head by the water pump to clean the workpiece, thereby realizing the reuse of water resources and achieving the purpose of saving water resources; furthermore, the workpiece is clamped between the movable plate and the fixed plate through the spring and the movable plate, and the workpiece is made to run in a reciprocating mode through the screw rod, so that comprehensive cleaning is achieved.
The present invention will be explained in detail with reference to the drawings and specific embodiments.
Drawings
Fig. 1 is a schematic front structural view of the present invention;
fig. 2 is a schematic view of the back structure of the present invention;
fig. 3 is a front view of the structure of the present invention;
fig. 4 is a structural side view of the present invention;
fig. 5 is a schematic view of the clamping assembly of the present invention.
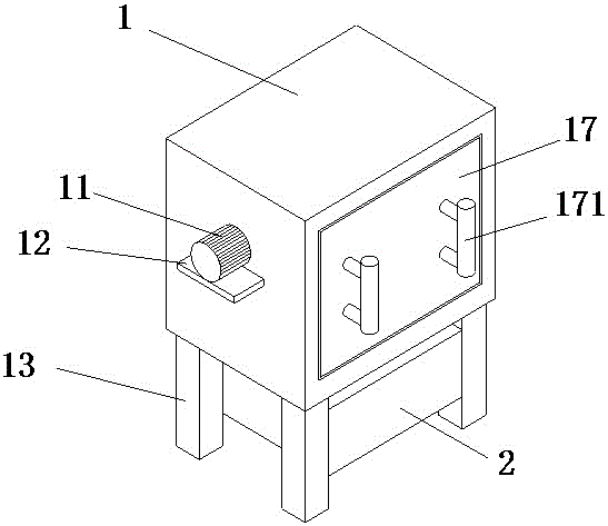
In the figure: 1. a cleaning tank; 11. a motor; 111. a screw rod; 12. a reinforcing plate; 13. a support plate; 14. a clamping assembly; 141. a movable seat; 142. a fixing plate; 143. a chute; 144. a spring; 145. a movable plate; 15. fixing the rod; 151. a shunt tube; 151a, a spray head; 16. a drain pipe; 17. a sealing plate; 171. a handle; 2. a water storage tank; 21. a filter screen; 22. a water pump; 221. a delivery pipe; 3. and (5) processing the workpiece.
Detailed Description
In order to facilitate understanding of the present invention, the present invention will be described more fully with reference to the accompanying drawings, in which several embodiments of the present invention are shown, but the present invention can be implemented in different forms, and is not limited to the embodiments described in the text, but rather, these embodiments are provided to make the disclosure of the present invention more thorough and comprehensive.
It will be understood that when an element is referred to as being "secured to" another element, it can be directly on the other element or intervening elements may be present, and when an element is referred to as being "connected" to another element, it can be directly connected to the other element or intervening elements may also be present, as the terms "vertical", "horizontal", "left", "right" and the like are used herein for descriptive purposes only.
Unless defined otherwise, all technical and scientific terms used herein have the same meaning as commonly understood by one of ordinary skill in the art to which this invention belongs, and the use of the term knowledge in the specification of the present invention is for the purpose of describing particular embodiments and is not intended to limit the present invention, and the term "and/or" as used herein includes any and all combinations of one or more of the associated listed items.
Please refer to fig. 1-5 in greater detail, a cleaning device for electrical processing comprises a cleaning tank 1 and a water storage tank 2, wherein a motor 11 is fixed on the left end surface of the cleaning tank 1, an output shaft of the motor 11 is fixedly connected with a screw 111, a clamping assembly 14 is movably connected on the screw 111, a workpiece 3 is fixed on the lower end of the clamping assembly 14, a plurality of groups of fixing rods 15 are symmetrically arranged on the bottom surface of the interior of the cleaning tank 1, a shunt tube 151 is arranged between each group of fixing rods 15, a plurality of spray heads 151a are arranged on the upper end of the shunt tube 151, a plurality of support plates 13 are fixed on the lower end surface of the cleaning tank 1, the water storage tank 2 is fixed between the support plates 13, a drain pipe 16 is arranged on the bottom surface of the cleaning tank 1, the drain pipe 16 penetrates through the upper end of the water storage tank 2 and is communicated with the inner cavity of the water storage tank 2, a water outlet is arranged on the lower end surface of the water storage tank 2, a water pump 22 is arranged on the lower end surface of the water storage tank 2, the delivery port with water pump 22's water inlet pipe connects, water pump 22's outlet pipe fixedly connected with conveyer pipe 221, conveyer pipe 221 with shunt tubes 151 fixed connection.
Please refer to fig. 1 to 5 again, the clamping assembly 14 includes a movable seat 141, the movable seat 141 is movably connected to the screw rod 111, a fixed plate 142 is fixed on a lower end surface of the movable seat 141, the movable seat 141 is provided with a sliding slot 143, the sliding slot 143 is movably connected to a movable plate 145, the movable plate 145 is matched with the fixed plate 142, a spring 144 is arranged in the sliding slot 143, and two ends of the spring 144 are respectively connected to the sliding slot 143 and the movable plate 145.
Please refer to fig. 1-5, a filter screen 21 is fixedly installed in the water storage tank 2.
Referring to fig. 1-5 again, a reinforcing plate 12 is formed on the left end surface of the cleaning tank 1 one day, and the motor 11 is mounted on the upper end surface of the reinforcing plate 12.
Referring to fig. 1-5 again, a sealing plate 17 is mounted at the front end of the cleaning tank 1, and a plurality of handles 171 are symmetrically mounted on the sealing plate 17.
The utility model discloses a concrete operation as follows:
starting the motor 11, wherein the motor 11 rotates forward to drive the screw rod 111 to rotate sequentially, so that the movable seat 141 moves leftwards, the motor 11 rotates backward to drive the screw rod 111 to rotate anticlockwise, so that the movable seat 141 moves rightwards, and simultaneously, the water pump 22 is started, the water pump 22 pumps water from the water storage tank 2, then the water is conveyed to the diversion pipe 151 from the delivery pipe 221, and then the water is sprayed out from the spray head 151a to clean the workpiece 3; the cleaned water is drained from the drain pipe 16 into the water storage tank 2, and then is filtered by the filter screen 21, and then is conveyed from the water pump 22 into the cleaning tank 1 again, so that the water resource is recycled.
The present invention has been described above with reference to the accompanying drawings, and it is obvious that the present invention is not limited by the above-mentioned manner, if the method and the technical solution of the present invention are adopted, the present invention can be directly applied to other occasions without substantial improvement, and the present invention is within the protection scope of the present invention.

Claims (7)

1.一种电气加工用清洗装置,包括清洗箱(1)、储水箱(2),其特征在于,所述清洗箱(1)左端面固定有电机(11),所述电机(11)输出轴固定连接有丝杆(111),所述丝杆(111)上活动连接有夹紧组件(14),所述夹紧组件(14)下端固定有加工件(3),所述清洗箱(1)内部底面对称安装有多组固定杆(15),每组所述固定杆(15)之间安装有分流管(151),所述分流管(151)上端安装有多个喷头(151a),所述清洗箱(1)下端面固定有多个支撑板(13),所述储水箱(2)固定在所述支撑板(13)之间,所述清洗箱(1)底面设有排水管(16),所述排水管(16)贯穿所述储水箱(2)上端与所述储水箱(2)内腔连通,所述储水箱(2)下端设有出水口,所述储水箱(2)下端面安装有水泵(22),所述出水口与所述水泵(22)的进水管连接,所述水泵(22)的出水管固定连接有输送管(221),所述输送管(221)与所述分流管(151)固定连接。1. A cleaning device for electrical processing, comprising a cleaning box (1) and a water storage tank (2), characterized in that a motor (11) is fixed on the left end surface of the cleaning box (1), and the motor (11) outputs A screw (111) is fixedly connected to the shaft, a clamping assembly (14) is movably connected to the screw (111), and a processing piece (3) is fixed at the lower end of the clamping assembly (14), and the cleaning box ( 1) A plurality of sets of fixing rods (15) are installed symmetrically on the inner bottom surface, a shunt pipe (151) is installed between each group of the fixing rods (15), and a plurality of nozzles (151a) are installed on the upper end of the shunt pipe (151). , a plurality of support plates (13) are fixed on the lower end surface of the cleaning box (1), the water storage tank (2) is fixed between the support plates (13), and the bottom surface of the cleaning box (1) is provided with drainage A pipe (16), the drain pipe (16) penetrates through the upper end of the water storage tank (2) and communicates with the inner cavity of the water storage tank (2), and a water outlet is provided at the lower end of the water storage tank (2). (2) A water pump (22) is installed on the lower end surface, the water outlet is connected to the water inlet pipe of the water pump (22), and the water outlet pipe of the water pump (22) is fixedly connected with a conveying pipe (221). (221) is fixedly connected with the shunt pipe (151). 2.根据权利要求1所述的一种电气加工用清洗装置,其特征在于,所述夹紧组件(14)包括活动座(141),所述活动座(141)与所述丝杆(111)活动链接,所述活动座(141)下端面固定有固定板(142),所述活动座(141)设有滑槽(143),所述滑槽(143)活动连接有活动板(145),所述活动板(145)与所述固定板(142)配合。2. A cleaning device for electrical processing according to claim 1, characterized in that the clamping assembly (14) comprises a movable seat (141), the movable seat (141) and the screw rod (111) ) movable link, the lower end surface of the movable seat (141) is fixed with a fixed plate (142), the movable seat (141) is provided with a chute (143), and the chute (143) is movably connected with a movable plate (145). ), the movable plate (145) is matched with the fixed plate (142). 3.根据权利要求2所述的一种电气加工用清洗装置,其特征在于,所述滑槽(143)内设有弹簧(144),所述弹簧(144)两端分别与所述滑槽(143)和所述活动板(145)连接。3 . The cleaning device for electrical processing according to claim 2 , wherein a spring (144) is provided in the chute (143), and two ends of the spring (144) are respectively connected with the chute. 4 . (143) is connected to the movable plate (145). 4.根据权利要求1所述的一种电气加工用清洗装置,其特征在于,所述储水箱(2)内固定安装有过滤网(21)。4 . The cleaning device for electrical processing according to claim 1 , wherein a filter screen ( 21 ) is fixedly installed in the water storage tank ( 2 ). 5 . 5.根据权利要求1所述的一种电气加工用清洗装置,其特征在于,所述清洗箱(1)左端面一天成型有加强板(12),所述电机(11)安装在所述加强板(12)上端面。5. A cleaning device for electrical processing according to claim 1, characterized in that, a reinforcing plate (12) is formed on the left end surface of the cleaning box (1), and the motor (11) is installed on the reinforcing plate (12). The upper end face of the plate (12). 6.根据权利要求1所述的一种电气加工用清洗装置,其特征在于,所述清洗箱(1)前端安装有密封板(17)。6 . The cleaning device for electrical processing according to claim 1 , wherein a sealing plate ( 17 ) is installed at the front end of the cleaning box ( 1 ). 7 . 7.根据权利要求6所述的一种电气加工用清洗装置,其特征在于,所述密封板(17)上对称安装有多个把手(171)。7 . The cleaning device for electrical processing according to claim 6 , wherein a plurality of handles ( 171 ) are symmetrically installed on the sealing plate ( 17 ). 8 .
CN202120215580.1U 2021-01-27 2021-01-27 Belt cleaning device for electrical machining Expired - Fee Related CN214976090U (en)

Priority Applications (1)

Application Number Priority Date Filing Date Title
CN202120215580.1U CN214976090U (en) 2021-01-27 2021-01-27 Belt cleaning device for electrical machining

Applications Claiming Priority (1)

Application Number Priority Date Filing Date Title
CN202120215580.1U CN214976090U (en) 2021-01-27 2021-01-27 Belt cleaning device for electrical machining

Publications (1)

Publication Number Publication Date
CN214976090U true CN214976090U (en) 2021-12-03

Family

ID=79144060

Family Applications (1)

Application Number Title Priority Date Filing Date
CN202120215580.1U Expired - Fee Related CN214976090U (en) 2021-01-27 2021-01-27 Belt cleaning device for electrical machining

Country Status (1)

Country Link
CN (1) CN214976090U (en)

Cited By (1)

* Cited by examiner, † Cited by third party
Publication number Priority date Publication date Assignee Title
CN119733960A (en) * 2024-12-21 2025-04-01 江苏大鹏激光科技有限公司 A high-precision fiber laser cutting machine with adaptive beam shaping

Cited By (1)

* Cited by examiner, † Cited by third party
Publication number Priority date Publication date Assignee Title
CN119733960A (en) * 2024-12-21 2025-04-01 江苏大鹏激光科技有限公司 A high-precision fiber laser cutting machine with adaptive beam shaping

Similar Documents

Publication Publication Date Title
CN206435531U (en) A kind of repetend ability of swimming solar silicon wafers prerinse equipment
CN214976090U (en) Belt cleaning device for electrical machining
CN208758278U (en) A silicon wafer cleaning machine
CN210614192U (en) Automobile air flow sensor gluing equipment
CN205289086U (en) Mechanical part cleaning device
CN208466597U (en) A kind of components novel washing structure of robot
CN213970421U (en) Surface treatment device for hardware production
CN210647402U (en) Mould belt cleaning device with sewage recovery function
CN113644007A (en) A water-saving ultrasonic cleaning device for photovoltaic silicon wafers
CN101402093A (en) Spraying and cleaning apparatus
CN209736185U (en) Cleaning equipment used before spraying of aluminum veneer
CN210099753U (en) Nickel-copper-niobium alloy processing equipment
CN211386142U (en) Hydraulic pressure pipe belt cleaning device is used in hydraulic pressure spare production
CN109225984A (en) A kind of industrial motor processing motor housing cleaning equipment
CN215031561U (en) Photomask base plate processing belt cleaning device
CN212494171U (en) Electrophoresis application is with wasing filter equipment
CN212041666U (en) High-efficient belt cleaning device is used to machine part
CN211938062U (en) Mechano-electronic component cleaning device for mechano-electronic engineering
CN218797693U (en) Belt cleaning device is used in photovoltaic board installation construction
CN218108627U (en) Steel wire three-stage step type rinsing bath device
CN220239428U (en) Cleaning device for gallium oxide substrate
CN208743163U (en) A kind of spare parts processing machinery Quick cleaning device
CN208613191U (en) A kind of lead-acid accumulator recycling conveying device
CN208321462U (en) A kind of throwing device of cleaning equipment for work-piece
CN217857550U (en) Cleaning device for numerical control cutter with good cleaning effect

Legal Events

Date Code Title Description
GR01 Patent grant
GR01 Patent grant
TR01 Transfer of patent right

Effective date of registration: 20220620

Address after: 722406 group 3, Nanxing village, wuzhangyuan community, caijiapo Town, Qishan County, Baoji City, Shaanxi Province

Patentee after: Baoji Hengsheng Electric Technology Co.,Ltd.

Address before: 722406 Nanxing street, wuzhangyuan community, Qishan County, Baoji City, Shaanxi Province

Patentee before: Qishan Hengsheng Electric Factory

TR01 Transfer of patent right
CF01 Termination of patent right due to non-payment of annual fee

Granted publication date: 20211203

CF01 Termination of patent right due to non-payment of annual fee