CN214928728U - 高地隙农用移动平台 - Google Patents
高地隙农用移动平台 Download PDFInfo
- Publication number
- CN214928728U CN214928728U CN202120177100.7U CN202120177100U CN214928728U CN 214928728 U CN214928728 U CN 214928728U CN 202120177100 U CN202120177100 U CN 202120177100U CN 214928728 U CN214928728 U CN 214928728U
- Authority
- CN
- China
- Prior art keywords
- folding
- unfolding
- vehicle body
- ground clearance
- wheel track
- Prior art date
- Legal status (The legal status is an assumption and is not a legal conclusion. Google has not performed a legal analysis and makes no representation as to the accuracy of the status listed.)
- Active
Links
- 230000007246 mechanism Effects 0.000 claims abstract description 40
- 238000013016 damping Methods 0.000 claims description 9
- 239000007787 solid Substances 0.000 claims description 4
- 230000002146 bilateral effect Effects 0.000 claims description 3
- 238000000034 method Methods 0.000 description 3
- 238000012271 agricultural production Methods 0.000 description 2
- 238000010586 diagram Methods 0.000 description 2
- 238000009434 installation Methods 0.000 description 2
- 230000008569 process Effects 0.000 description 2
- 230000001105 regulatory effect Effects 0.000 description 2
- 229920000742 Cotton Polymers 0.000 description 1
- XAGFODPZIPBFFR-UHFFFAOYSA-N aluminium Chemical compound [Al] XAGFODPZIPBFFR-UHFFFAOYSA-N 0.000 description 1
- 229910052782 aluminium Inorganic materials 0.000 description 1
- 230000009286 beneficial effect Effects 0.000 description 1
- 238000005266 casting Methods 0.000 description 1
- 230000015556 catabolic process Effects 0.000 description 1
- 230000001276 controlling effect Effects 0.000 description 1
- 230000007547 defect Effects 0.000 description 1
- 238000006731 degradation reaction Methods 0.000 description 1
- 238000012986 modification Methods 0.000 description 1
- 230000004048 modification Effects 0.000 description 1
- 238000003825 pressing Methods 0.000 description 1
- 239000002689 soil Substances 0.000 description 1
- 238000003466 welding Methods 0.000 description 1
Images
Landscapes
- Agricultural Machines (AREA)
Abstract
本发明涉及一种高地隙农用移动平台,包括折展机构、轮距调节机构、地隙调节机构、车身,车身左右两侧对称的设置有两个折展机构,折展机构经轮距调节机构连接车身,车身下侧左右两侧对称的安装有两个地隙调节机构,本平台有较好的通过性、机动性与稳定性以应对复杂恶劣农田环,可以调节轮距宽窄与地隙高低以满足不同种植行距、不同生长高度植株作业需求。
Description
技术领域
本发明涉及农业机械领域,具体为一种高地隙农用移动平台。
背景技术
我国土地的基本国情是人多地少,土地资源稀缺。在此背景之下,加快实现农业生产全程的机械化势在必行。在农业生产过程中,传统的农业作业装置多由重型机械提供动力牵引,通过性、机动性差,并会压实土壤进而致使土地退化。使用结构轻巧灵活移动平台装载作业装置,能够有效摆脱拖拉机牵引带来的弊端。而农田环境复杂恶劣,不同作物种植行距、生长高度不同,普通的移动小车无法满足棉花等高杆作物的田间管理作业需求。
发明内容
为了解决现有技术存在的问题,本发明提出一种高地隙农用移动平台。
本发明解决技术问题所采用的方案是,一种高地隙农用移动平台,包括折展机构、轮距调节机构、地隙调节机构、车身,车身左右两侧对称的设置有两个折展机构,折展机构经轮距调节机构连接车身,车身下侧左右两侧对称的安装有两个地隙调节机构;
所述折展机构包括折展基部、扩展平台、气弹簧,扩展平台内端经合页与折展基部上端外侧铰接,气弹簧前后对称设置两个,气弹簧两端分别与折展基部外侧面、扩展平台外侧面铰接;
所述轮距调节机构为对称且横置的安装在车身上的两个轮距电动推杆,轮距电动推杆的固定端与车身连接固定,轮距电动推杆的活动端与同侧的折展基部连接固定;
所述地隙调节机构包括地隙电动推杆、基座,基座下端安装有车轮,基座与车身之间将竖置且前后间隔设的两个地隙电动推杆相连接,地隙电动推杆的固定端与基座连接固定,地隙电动推杆的活动端与折展基部连接固定。
进一步的,所述车身上与折展基部之间安装有导轨装置,导轨包括横置的支撑轴,支撑轴外端固定安装在折展基部上,支撑轴内端套设在车身上。
进一步的,所述折展基部上侧面与车身上侧面经轮距固锁条相连接,轮距固锁条内端固定安装在车身上,轮距固锁条上开设有横槽A,横槽A内设置用于将折展基部锁固的T型螺栓;扩展平台上侧面与车身上侧面经折展固锁条1,折展固锁条内端固定安装在车身上,折展固锁条上开设有横槽B,横槽B内设置用于将扩展平台锁固的T型螺栓。
进一步的,所述基座包括上下间隔设置的上杆、下杆,上杆、下杆通过伸缩支撑杆相连接,地隙电动推杆安装在上杆上,下杆下侧前端安装有万向轮、后端安装有轮毂电机。
进一步的,所述上杆、下杆中部经伸缩支撑杆相连接,伸缩支撑杆前后两侧对称设置有减震弹簧,减震弹簧上下端分别与上杆、下杆相铰接,所述伸缩支撑杆包括分别铰接在上杆、下杆上的上支撑杆、下支撑杆,下支撑杆嵌套在上支撑杆内,上支撑杆上开设有径向通孔A,下支撑杆上均由上至下开设若干径向通孔B,上支撑杆、下支撑杆经穿设径向通孔A、径向通孔B的螺栓锁固。
与现有技术相比,本发明具有以下有益效果:结构简单,设计合理,有较好的通过性、机动性与稳定性以应对复杂恶劣农田环,可以调节轮距宽窄与地隙高低以满足不同种植行距、不同生长高度植株作业需求。
附图说明
下面结合附图对本发明专利进一步说明。
图1是移动平台的结构示意图;
图2为移动平台的轮距最大、地隙最大时的结构示意图;
图3为移动平台的轮距最大、地隙最大时的前视图;
图4为移动平台的轮距最大、地隙最大时的俯视图;
图5为移动平台的轮距最大、地隙最大时的右视图;
图6为导轨装置的结构示意图。
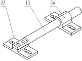
图中:1-折展固锁条;2-轮距固锁条;3-扩展平台;4-气弹簧安装座;5-气弹簧;6-合页;7-折展基部;8-车身;9-地隙电动推杆;10-地隙推杆安装座二;11-地脚;12-万向轮;13-支撑轴;14-轮距推杆安装座一;15-轮距电动推杆;16-轮距推杆安装座二;17-地隙推杆安装座一;18-上杆;19-弹簧安装座;20-轮毂电机;21-减震弹簧;22-下杆;23-导轨座;24-导轨导套;25-折展机构;26-伸缩支撑杆;27-支撑杆连接座;28-上支撑杆;29-下支撑杆。
具体实施方式
下面结合附图和具体实施方式对本发明进一步说明。
如图1-6所示,一种高地隙农用移动平台,包括折展机构、轮距调节机构、地隙调节机构、车身8,车身左右两侧对称的设置有两个折展机构25,折展机构经轮距调节机构连接车身,车身下侧左右两侧对称的安装有两个地隙调节机构,车身由标准铝型材搭建而成,各部件装置通过型材上的凹槽与T型螺栓固定在型材上,车身可以根据作业场地、作业装备的实际情况做出调整;
所述折展机构包括折展基部7、扩展平台3、气弹簧5,扩展平台内端经合页6与折展基部上端外侧铰接,气弹簧前后对称设置两个,气弹簧两端分别与折展基部外侧面、扩展平台外侧面铰接,由于气弹簧不能主动控制,所以在安装时要保证机构展开后活塞杆有一定行程预留,以保证气弹簧始终提供向上推力;
所述轮距调节机构为对称且横置的安装在车身上的两个轮距电动推杆15,轮距电动推杆的固定端与车身连接固定,轮距电动推杆的活动端与同侧的折展基部连接固定;
所述地隙调节机构包括地隙电动推杆9、基座,基座下端安装有车轮,基座与车身之间将竖置且前后间隔设的两个地隙电动推杆相连接,地隙电动推杆的固定端与基座连接固定,地隙电动推杆的活动端与折展基部连接固定。
在本实施例中,所述车身上与折展基部之间安装有导轨装置,导轨包括横置的支撑轴13,支撑轴外端经导轨座23固定安装在折展基部上,支撑轴内端套设在安装在车身上的导轨导套24内。
在本实施例中,所述折展基部上侧面与车身上侧面经轮距固锁条2相连接,轮距固锁条内端固定安装在车身上,轮距固锁条上开设有横槽A,横槽A内设置用于将折展基部锁固的T型螺栓;扩展平台上侧面与车身上侧面经折展固锁条1,折展固锁条内端固定安装在车身上,折展固锁条上开设有横槽B,横槽B内设置用于将扩展平台锁固的T型螺栓。
在本实施例中,所述基座包括上下间隔设置的上杆18、下杆22,上杆、下杆通过伸缩支撑杆相连接,地隙电动推杆安装在上杆上,下杆下侧前端安装有万向轮11、后端安装有轮毂电机20,动力驱动由轮毂电机提供,轮毂电机通过安装在下杆后方,下杆前方有万向轮,移动平台可以外接电源为轮毂电机等部件供电,也可以搭载汽油发电机或蓄电池供电。
在本实施例中,所述上杆、下杆中部经伸缩支撑杆26相连接,伸缩支撑杆前后两侧对称设置有减震弹簧21,减震弹簧上下端分别与上杆、下杆相铰接,所述伸缩支撑杆包括分别铰接在上杆、下杆上的上支撑杆28、下支撑杆29,下支撑杆嵌套在上支撑杆内,上支撑杆上开设有径向通孔A,下支撑杆上均由上至下开设若干径向通孔B,上支撑杆、下支撑杆经穿设径向通孔A、径向通孔B的螺栓锁固。
本移动平台的使用方法如下:
折展:手动将扩展平台抬起或压下,实现扩展平台的展开或折叠,在折叠或展开完成后,通过折展固锁条与T型螺栓将折展机构与车身固定;
轮距调节:将轮距固锁条上的T型螺栓拧松,控制轮距电动推杆调节轮距,调节轮距时,轮距电动推杆启动,同步地将折展机构、地隙调节机构向两边推动,在轮距调节完成后,通过轮距固锁条与T型螺栓将轮距调节机构与车身固定;
地隙调节:通过地隙电动推杆直接调节,地隙电动推杆同步地将车身、轮距调节机构、折展机构抬起,或通过调节减震弹簧的安装位置、上下支撑杆的相对安装位置以调节地隙;
转向:依靠轮毂电机间的速度差实现转向,当两轮毂电机等速反向运动,可以实现转向半径为零的原地转向。
本移动平台有较好的普适性(轮距地隙可调)、通过性(高地隙、轮距地隙可调)、机动性(轮毂电机具有良好的行进、调速、转向性能)与稳定性(减震结构)以应对复杂恶劣的农田环境;能够搭载多个、多种作业装置,实现高效作业、一机多用;可以便捷调节轮距宽窄与地隙高低,满足不同种植行距、不同生长高度植株的作业需求,同时尽可能地保护作业生态;具有良好的行进、调速、转向性能,机动灵活。
本专利如果公开或涉及了互相固定连接的零部件或结构件,那么,除另有声明外,固定连接可以理解为:能够拆卸的固定连接(例如使用螺栓或螺钉连接),也可以理解为:不可拆卸的固定连接(例如铆接、焊接),当然,互相固定连接也可以为一体式结构(例如使用铸造工艺一体成形制造出来)所取代(明显无法采用一体成形工艺除外)。
在本专利的描述中,需要理解的是,术语“ 纵向”、“ 横向”、“ 上”、“ 下”、“ 前”、“ 后”、“ 左”、“ 右”、“ 竖直”、“ 水平”、“ 顶”、“ 底”、“ 内”、“ 外”等指示的方位或位置关系为基于附图所示的方位或位置关系,仅是为了便于描述本专利,而不是指示或暗示所指的装置或元件必须具有特定的方位、以特定的方位构造和操作,因此不能理解为对本专利的限制。
上列较佳实施例,对本发明的目的、技术方案和优点进行了进一步详细说明,所应理解的是,以上所述仅为本发明的较佳实施例而已,并不用以限制本发明,凡在本发明的精神和原则之内,所作的任何修改、等同替换、改进等,均应包含在本发明的保护范围之内。
Claims (5)
1.一种高地隙农用移动平台,其特征在于:包括折展机构、轮距调节机构、地隙调节机构、车身,车身左右两侧对称的设置有两个折展机构,折展机构经轮距调节机构连接车身,车身下侧左右两侧对称的安装有两个地隙调节机构;
所述折展机构包括折展基部、扩展平台、气弹簧,扩展平台内端与折展基部上端外侧铰接,气弹簧前后对称设置两个,气弹簧两端分别与折展基部外侧面、扩展平台外侧面铰接;
所述轮距调节机构为对称且横置的安装在车身上的两个轮距电动推杆,轮距电动推杆的固定端与车身连接固定,轮距电动推杆的活动端与同侧的折展基部连接固定;
所述地隙调节机构包括地隙电动推杆、基座,基座下端安装有车轮,基座与车身之间将竖置且前后间隔设的两个地隙电动推杆相连接,地隙电动推杆的固定端与基座连接固定,地隙电动推杆的活动端与折展基部连接固定。
2.根据权利要求1所述的高地隙农用移动平台,其特征在于:所述车身上与折展基部之间安装有导轨装置,导轨包括横置的支撑轴,支撑轴外端固定安装在折展基部上,支撑轴内端套设在车身上。
3.根据权利要求1所述的高地隙农用移动平台,其特征在于:所述折展基部上侧面与车身上侧面经轮距固锁条相连接,轮距固锁条内端固定安装在车身上,轮距固锁条上开设有横槽A,横槽A内设置用于将折展基部锁固的T型螺栓;扩展平台上侧面与车身上侧面经折展固锁条相连接,折展固锁条内端固定安装在车身上,折展固锁条上开设有横槽B,横槽B内设置用于将扩展平台锁固的T型螺栓。
4.根据权利要求3所述的高地隙农用移动平台,其特征在于:所述基座包括上下间隔设置的上杆、下杆,上杆、下杆通过伸缩支撑杆相连接,地隙电动推杆安装在上杆上,下杆下侧前端安装有万向轮、后端安装有轮毂电机。
5.根据权利要求4所述的高地隙农用移动平台,其特征在于:所述上杆、下杆中部经伸缩支撑杆相连接,伸缩支撑杆前后两侧对称设置有减震弹簧,减震弹簧上下端分别与上杆、下杆相铰接,所述伸缩支撑杆包括分别铰接在上杆、下杆上的上支撑杆、下支撑杆,下支撑杆嵌套在上支撑杆内,上支撑杆上开设有径向通孔A,下支撑杆上均由上至下开设若干径向通孔B,上支撑杆、下支撑杆经穿设径向通孔A、径向通孔B的螺栓锁固。
Priority Applications (1)
| Application Number | Priority Date | Filing Date | Title |
|---|---|---|---|
| CN202120177100.7U CN214928728U (zh) | 2021-01-22 | 2021-01-22 | 高地隙农用移动平台 |
Applications Claiming Priority (1)
| Application Number | Priority Date | Filing Date | Title |
|---|---|---|---|
| CN202120177100.7U CN214928728U (zh) | 2021-01-22 | 2021-01-22 | 高地隙农用移动平台 |
Publications (1)
| Publication Number | Publication Date |
|---|---|
| CN214928728U true CN214928728U (zh) | 2021-11-30 |
Family
ID=79080403
Family Applications (1)
| Application Number | Title | Priority Date | Filing Date |
|---|---|---|---|
| CN202120177100.7U Active CN214928728U (zh) | 2021-01-22 | 2021-01-22 | 高地隙农用移动平台 |
Country Status (1)
| Country | Link |
|---|---|
| CN (1) | CN214928728U (zh) |
Cited By (2)
| Publication number | Priority date | Publication date | Assignee | Title |
|---|---|---|---|---|
| CN112644226A (zh) * | 2021-01-22 | 2021-04-13 | 福州大学 | 高地隙农用移动平台及使用方法 |
| CN118560600A (zh) * | 2024-05-20 | 2024-08-30 | 哈尔滨工业大学 | 一种多自由度轮腿机构 |
-
2021
- 2021-01-22 CN CN202120177100.7U patent/CN214928728U/zh active Active
Cited By (2)
| Publication number | Priority date | Publication date | Assignee | Title |
|---|---|---|---|---|
| CN112644226A (zh) * | 2021-01-22 | 2021-04-13 | 福州大学 | 高地隙农用移动平台及使用方法 |
| CN118560600A (zh) * | 2024-05-20 | 2024-08-30 | 哈尔滨工业大学 | 一种多自由度轮腿机构 |
Similar Documents
| Publication | Publication Date | Title |
|---|---|---|
| CN102514626B (zh) | 可调轮距的农用车辆底盘 | |
| KR910008173B1 (ko) | 차상(車上)저자세 자주식 고가 작업대 | |
| CN214928728U (zh) | 高地隙农用移动平台 | |
| CN207157328U (zh) | 一种用于农牧业复杂地形自适应的多变量移动平台 | |
| CN111837682B (zh) | 一种履带式修剪机器人 | |
| CN112644226A (zh) | 高地隙农用移动平台及使用方法 | |
| CN117246429A (zh) | 宽高可调型通用农业机器人移动平台 | |
| CN220500844U (zh) | 多功能全地形载具平台 | |
| CN108609197A (zh) | 一种滑橇式直升机地面全向移动装置 | |
| CN116946279A (zh) | 一种适用于全地形的甲烷泄漏巡检机器人 | |
| CN216231929U (zh) | 一种履带式叶片举升运输车 | |
| US9821985B2 (en) | Crane having a modular undercarriage | |
| CN105292287A (zh) | 一种基于履带的适用于复杂地形的运输车辆底盘 | |
| CN119527446A (zh) | 一种电驱动三角履带主动悬架 | |
| CN118560600B (zh) | 一种多自由度轮腿机构 | |
| CN221023906U (zh) | 驾驶室升降装置 | |
| CN220131800U (zh) | 一种电力施工用平台底座 | |
| CN116210578B (zh) | 一种自走式液压调节轮距的轻量化玉米去雄机 | |
| CN112456089A (zh) | 液压支架顶梁组件翻转平台 | |
| CN218968726U (zh) | 起重机塔身承载结构及起重机 | |
| CN114875757B (zh) | 一种轮式路面铣刨机的底盘调节装置 | |
| CN221051524U (zh) | 一种新型结构的箱涵检修用台架 | |
| CN213865271U (zh) | 农业通用机械平台 | |
| CN117141603A (zh) | 一种植保机多地形重心调整装置及其调整方法 | |
| CN204324757U (zh) | 用于轮式起重机的履带挂接结构及轮式起重机 |
Legal Events
| Date | Code | Title | Description |
|---|---|---|---|
| GR01 | Patent grant | ||
| GR01 | Patent grant |