CN214918402U - A dust removal device for a power test workbench - Google Patents

A dust removal device for a power test workbench Download PDF

Info

Publication number
CN214918402U
CN214918402U CN202121311684.9U CN202121311684U CN214918402U CN 214918402 U CN214918402 U CN 214918402U CN 202121311684 U CN202121311684 U CN 202121311684U CN 214918402 U CN214918402 U CN 214918402U
Authority
CN
China
Prior art keywords
installation frame
fixedly installed
cleaning
dust removal
removal device
Prior art date
Legal status (The legal status is an assumption and is not a legal conclusion. Google has not performed a legal analysis and makes no representation as to the accuracy of the status listed.)
Active
Application number
CN202121311684.9U
Other languages
Chinese (zh)
Inventor
陈前刚
Current Assignee (The listed assignees may be inaccurate. Google has not performed a legal analysis and makes no representation or warranty as to the accuracy of the list.)
Dongguan Yuhua Electronics Technology Co ltd
Original Assignee
Dongguan Yuhua Electronics Technology Co ltd
Priority date (The priority date is an assumption and is not a legal conclusion. Google has not performed a legal analysis and makes no representation as to the accuracy of the date listed.)
Filing date
Publication date
Application filed by Dongguan Yuhua Electronics Technology Co ltd filed Critical Dongguan Yuhua Electronics Technology Co ltd
Priority to CN202121311684.9U priority Critical patent/CN214918402U/en
Application granted granted Critical
Publication of CN214918402U publication Critical patent/CN214918402U/en
Active legal-status Critical Current
Anticipated expiration legal-status Critical

Links

Images

Landscapes

  • Testing Resistance To Weather, Investigating Materials By Mechanical Methods (AREA)

Abstract

本实用新型公开了一种电源测试工作台用除尘装置,包括固定板,所述固定板的侧壁固定安装有电动推杆和齿条,所述电动推杆的伸缩端端部固定安装有第一安装框,所述第一安装框上设有清洗机构和压缩机构,所述第一安装框的侧壁固定安装有安装板,所述安装板上设有转动机构,所述转动机构与齿条相啮合,所述电动推杆的伸缩端设有清洁机构,所述清洗机构包括贯穿固定安装在第一安装框侧壁上的与其内部相互连通的进水管,第一安装框的底部贯穿固定安装有与其内部相互连通的出水管,进水管和出水管上均设有单向阀。本实用新型结构设计合理,其能够自动对工作台上的灰尘进行清洁,省去了工作人员手动清洁的操作,降低了操作人员的工作强度。

Figure 202121311684

The utility model discloses a dust removal device for a power test workbench, comprising a fixing plate, an electric push rod and a rack are fixedly installed on the side wall of the fixing plate, and a telescopic end of the electric push rod is fixedly installed with a first A mounting frame, a cleaning mechanism and a compression mechanism are arranged on the first mounting frame, a mounting plate is fixedly mounted on the side wall of the first mounting frame, and a rotating mechanism is provided on the mounting plate, and the rotating mechanism is connected with the teeth The bars are engaged with each other, and the telescopic end of the electric push rod is provided with a cleaning mechanism. The cleaning mechanism includes a water inlet pipe that is fixedly installed on the side wall of the first installation frame and communicates with its interior. The bottom of the first installation frame is fixed through the first installation frame. A water outlet pipe which is connected to the inside of the water outlet pipe is installed, and a check valve is arranged on the water inlet pipe and the water outlet pipe. The utility model has a reasonable structure design, can automatically clean the dust on the workbench, saves the manual cleaning operation of the staff, and reduces the work intensity of the operator.

Figure 202121311684

Description

Dust removal device for power supply test workbench
Technical Field
The utility model relates to a clean technical field of power test workbench especially relates to a power test is dust collector for workbench.
Background
The power supply test workbench is an auxiliary device for performance test in the production of power supplies, and is widely used in power supply manufacturers, a lot of dust is attached to the surface of the power supply test workbench after long-time use, and the dust attached to the workbench easily enters the power supply to influence the service life of the power supply, so that the surface of the workbench needs to be cleaned frequently.
In the prior art, when the power supply test workbench is cleaned, the workbench is generally cleaned and dedusted by manually holding a wet towel, the cleaning efficiency is low, the labor intensity of workers is increased, and therefore the dedusting device for the power supply test workbench is designed to solve the problems.
SUMMERY OF THE UTILITY MODEL
The utility model aims at solving among the prior art when cleaning power test workbench, generally clean the dust removal through artifical handheld wet towel to the workstation, reuse dry towel and wipe the workstation futilely, its clean efficiency is lower, and increased staff's intensity of labour's problem, and the power test is dust collector for the workstation that provides, it can clean the dust on the workstation automatically, the manual clear operation of staff has been saved, operating personnel's intensity of work has been reduced.
In order to achieve the above purpose, the utility model adopts the following technical scheme:
the utility model provides a dust collector for power test workbench, includes the fixed plate, the lateral wall fixed mounting of fixed plate has electric putter and rack, electric putter's flexible end tip fixed mounting has first installing frame, be equipped with wiper mechanism and compressing mechanism on the first installing frame, the lateral wall fixed mounting of first installing frame has the mounting panel, be equipped with slewing mechanism on the mounting panel, slewing mechanism meshes with the rack mutually, electric putter's flexible end is equipped with clean mechanism.
Preferably, wiper mechanism is including running through the inlet tube rather than the inside mutual intercommunication of fixed mounting on the first installing frame lateral wall, the bottom of first installing frame runs through fixed mounting and has the outlet pipe rather than the inside mutual intercommunication, all be equipped with the check valve on inlet tube and the outlet pipe, the bottom fixed mounting of outlet pipe has the connecting pipe rather than the inside mutual intercommunication, the bottom fixed mounting of connecting pipe has a plurality of shower nozzles rather than the inside mutual intercommunication.
Preferably, the compression mechanism comprises a piston which is slidably connected in the first mounting frame, an L-shaped plate is fixedly mounted at the top of the piston, and a second spring is fixedly connected between the bottom of the piston and the inner bottom of the first mounting frame.
Preferably, slewing mechanism is including rotating gear and the carousel of connection on the mounting panel, the transmission is connected with the drive belt between the axis of rotation of gear and the axis of rotation of carousel, the gear meshes with the rack mutually, the preceding lateral wall fixed mounting of carousel has the pin, the pin offsets with the bottom of L shaped plate.
Preferably, the cleaning mechanism comprises a cleaning brush and a second mounting frame which are fixedly mounted on the telescopic end of the electric push rod, cleaning cloth is connected in the second mounting frame in a sliding mode, and a first spring is fixedly connected between the top of the cleaning cloth and the inner top of the second mounting frame.
Preferably, the first spring is an elastic spring.
Compared with the prior art, the utility model, its beneficial effect does:
1. through the arrangement of the electric push rod, the rack, the first mounting frame, the mounting plate, the cleaning brush, the cleaning mechanism, the compression mechanism and the rotating mechanism, the dust on the workbench can be automatically cleaned, the manual cleaning operation of workers is omitted, and the working strength of the operators is reduced.
2. Through the arrangement of the electric push rod, the second mounting frame, the cleaning cloth and the first spring, after the dust on the workbench is cleaned, the residual moisture of the workbench is automatically wiped, the dryness of the workbench is ensured, and the workbench can be normally used.
To sum up, the utility model has the advantages of reasonable design, it can clean the dust on the workstation automatically, has saved the manual clear operation of staff, has reduced operating personnel's working strength.
Drawings
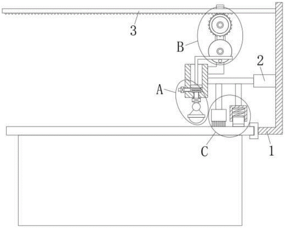
Fig. 1 is a schematic structural view of a dust removing device for a power testing workbench according to the present invention;
FIG. 2 is an enlarged view of the structure at A in FIG. 1;
FIG. 3 is an enlarged view of the structure at B in FIG. 1;
fig. 4 is an enlarged view of the structure at C in fig. 1.
In the figure: the device comprises a fixing plate 1, an electric push rod 2, a rack 3, a first mounting frame 4, a piston 5, a 6L-shaped plate, a water inlet pipe 7, a water outlet pipe 8, a one-way valve 9, a connecting pipe 10, a spray head 11, a mounting plate 12, a gear 13, a rotating disc 14, a transmission belt 15, a stop lever 16, a cleaning brush 17, a second mounting frame 18, cleaning cloth 19, a first spring 20 and a second spring 21.
Detailed Description
The technical solutions in the embodiments of the present invention will be described clearly and completely with reference to the accompanying drawings in the embodiments of the present invention, and it is obvious that the described embodiments are only some embodiments of the present invention, not all embodiments.
Referring to fig. 1-4, a dust removing device for a power supply testing workbench comprises a fixing plate 1, wherein an electric push rod 2 and a rack 3 are fixedly installed on the side wall of the fixing plate 1, a first installation frame 4 is fixedly installed at the end part of a telescopic end of the electric push rod 2, a cleaning mechanism and a compression mechanism are arranged on the first installation frame 4, the cleaning mechanism comprises a water inlet pipe 7 which penetrates through and is fixedly installed on the side wall of the first installation frame 4 and is mutually communicated with the inside of the first installation frame, a water outlet pipe 8 which is mutually communicated with the inside of the first installation frame 4 penetrates and is fixedly installed at the bottom of the first installation frame 4, check valves 9 are respectively arranged on the water inlet pipe 7 and the water outlet pipe 8, a connecting pipe 10 which is mutually communicated with the inside of the water outlet pipe 8 is fixedly installed at the bottom of the water outlet pipe 8, and a plurality of spray nozzles 11 which are mutually communicated with the inside of the connecting pipe 10 are fixedly installed at the bottom of the connecting pipe 10;
the compression mechanism comprises a piston 5 which is connected in the first mounting frame 4 in a sliding manner, an L-shaped plate 6 is fixedly mounted at the top of the piston 5, and a second spring 21 is fixedly connected between the bottom of the piston 5 and the inner bottom of the first mounting frame 4;
the side wall of the first mounting frame 4 is fixedly provided with a mounting plate 12, the mounting plate 12 is provided with a rotating mechanism, the rotating mechanism is meshed with the rack 3, the rotating mechanism comprises a gear 13 and a rotary plate 14 which are rotatably connected to the mounting plate 12, a transmission belt 15 is connected between the rotating shaft of the gear 13 and the rotating shaft of the rotary plate 14 in a transmission manner, the gear 13 is meshed with the rack 3, the front side wall of the rotary plate 14 is fixedly provided with a stop lever 16, the stop lever 16 abuts against the bottom of the L-shaped plate 6, and through the arrangement of the electric push rod 2, the rack 3, the first mounting frame 4, the mounting plate 12, the cleaning brush 17, the cleaning mechanism, the compression mechanism and the rotating mechanism, dust on a workbench can be automatically cleaned, the manual cleaning operation of workers is omitted, and the working intensity of the operators is reduced;
electric putter 2's flexible end is equipped with clean mechanism, clean mechanism includes that fixed mounting is at the flexible cleaning brush 17 and the second installing frame 18 of serving of electric putter 2, sliding connection has cleaning cloth 19 in the second installing frame 18, the first spring 20 of fixedly connected with between the top of cleaning cloth 19 and the interior top of second installing frame 18, first spring 20 is elastic spring, through electric putter 2, second installing frame 18, cleaning cloth 19 and first spring 20's setting, realized finishing the back with the dust clearance on the workstation, automatically wipe the remaining moisture of workstation futilely, guarantee the drying of workstation, make the workstation can normal use.
The utility model discloses its functional principle is explained to following mode of operation of accessible:
when the workbench needs to be cleaned, firstly, an operator clamps the clamping device on the fixing plate 1 of the device on the workbench and fixes the clamping device according to the drawing shown in fig. 1, so that the cleaning end of the cleaning brush 17 and the cleaning end of the cleaning cloth 19 are both abutted against the surface of the workbench, then the extension tube which is positioned above the water storage tank of the device and is communicated with the water inlet tube 7 is connected and communicated with the water storage tank, the electric push rod 2 is started, the electric push rod 2 drives the first mounting frame 4 to move, when the first mounting frame 4 moves, the gear 13 on the mounting plate 12 is driven by the rack 3 to rotate, the gear 13 drives the turntable 14 to rotate through the driving belt 15, when the turntable 14 rotates, the stop lever 16 on the turntable 14 drives the piston 5 on the L-shaped plate 6 to slide up and down under the action of the tension of the second spring 21, when the piston 5 slides upwards, the water in the water storage tank sequentially passes through the extension tube, The inlet tube inhales in first installing frame 4, when piston 5 slided downwards, in 8 connecting pipes 10 impresses the water in first installing frame 4 through the outlet pipe, a plurality of shower nozzles 11 of rethread are sprayed on the workstation, make the dust on the workstation combine with water, the dust that cleaning brush 17 on the flexible end of electric putter 2 will combine with water sweeps off from the workstation gradually, remaining moisture is detached under cleaning cloth 19's cleanness on the workstation, guarantee the drying of workstation, after finishing clean, with flexible pipe and 8 disconnect-type of inlet tube on the water storage tank, break away from the clamping device on fixed plate 1 again with being connected of workstation, control electric putter 2 reset can.
The above, only be the concrete implementation of the preferred embodiment of the present invention, but the protection scope of the present invention is not limited thereto, and any person skilled in the art is in the technical scope of the present invention, according to the technical solution of the present invention and the utility model, the concept of which is equivalent to replace or change, should be covered within the protection scope of the present invention.

Claims (6)

1.一种电源测试工作台用除尘装置,包括固定板(1),其特征在于,所述固定板(1)的侧壁固定安装有电动推杆(2)和齿条(3),所述电动推杆(2)的伸缩端端部固定安装有第一安装框(4),所述第一安装框(4)上设有清洗机构和压缩机构,所述第一安装框(4)的侧壁固定安装有安装板(12),所述安装板(12)上设有转动机构,所述转动机构与齿条(3)相啮合,所述电动推杆(2)的伸缩端设有清洁机构。1. A dust removal device for a power test workbench, comprising a fixing plate (1), characterized in that an electric push rod (2) and a rack (3) are fixedly installed on the side wall of the fixing plate (1), so that the A first installation frame (4) is fixedly installed on the telescopic end of the electric push rod (2), a cleaning mechanism and a compression mechanism are arranged on the first installation frame (4), and the first installation frame (4) A mounting plate (12) is fixedly installed on the side wall of the electric push rod (12), and a rotating mechanism is arranged on the mounting plate (12), and the rotating mechanism is engaged with the rack (3). There are cleaning facilities. 2.根据权利要求1所述的一种电源测试工作台用除尘装置,其特征在于,所述清洗机构包括贯穿固定安装在第一安装框(4)侧壁上的与其内部相互连通的进水管(7),所述第一安装框(4)的底部贯穿固定安装有与其内部相互连通的出水管(8),所述进水管(7)和出水管(8)上均设有单向阀(9),所述出水管(8)的底端固定安装有与其内部相互连通的连接管(10),所述连接管(10)的底部固定安装有多个与其内部相互连通的喷头(11)。2 . The dust removal device for a power test workbench according to claim 1 , wherein the cleaning mechanism comprises a water inlet pipe that is fixedly installed on the side wall of the first installation frame ( 4 ) and communicated with the inside thereof. 3 . (7), the bottom of the first installation frame (4) is fixedly installed with a water outlet pipe (8) that communicates with its interior, and the water inlet pipe (7) and the water outlet pipe (8) are provided with a one-way valve (9), the bottom end of the water outlet pipe (8) is fixedly installed with a connecting pipe (10) that communicates with its interior, and the bottom of the connecting pipe (10) is fixedly mounted with a plurality of spray heads (11) that communicate with its interior. ). 3.根据权利要求1所述的一种电源测试工作台用除尘装置,其特征在于,所述压缩机构包括滑动连接在第一安装框(4)内的活塞(5),所述活塞(5)的顶部固定安装有L形板(6),所述活塞(5)的底部与第一安装框(4)的内底部之间固定连接有第二弹簧(21)。3. A dust removal device for a power test workbench according to claim 1, wherein the compression mechanism comprises a piston (5) slidably connected in the first installation frame (4), the piston (5) ) is fixedly mounted with an L-shaped plate (6), and a second spring (21) is fixedly connected between the bottom of the piston (5) and the inner bottom of the first mounting frame (4). 4.根据权利要求3所述的一种电源测试工作台用除尘装置,其特征在于,所述转动机构包括转动连接在安装板(12)上的齿轮(13)和转盘(14),所述齿轮(13)的转动轴与转盘(14)的转动轴之间传动连接有传动带(15),所述齿轮(13)与齿条(3)相啮合,所述转盘(14)的前侧壁固定安装有挡杆(16),所述挡杆(16)与L形板(6)的底部相抵。4 . The dust removal device for a power test workbench according to claim 3 , wherein the rotating mechanism comprises a gear ( 13 ) and a turntable ( 14 ) that are rotatably connected to the mounting plate ( 12 ). 5 . A transmission belt (15) is drivingly connected between the rotating shaft of the gear (13) and the rotating shaft of the turntable (14), the gear (13) is meshed with the rack (3), and the front side wall of the turntable (14) A blocking rod (16) is fixedly installed, and the blocking rod (16) abuts against the bottom of the L-shaped plate (6). 5.根据权利要求1所述的一种电源测试工作台用除尘装置,其特征在于,所述清洁机构包括固定安装在电动推杆(2)伸缩端上的清洁刷(17)和第二安装框(18),所述第二安装框(18)内滑动连接有清洁布(19),所述清洁布(19)的顶部与第二安装框(18)的内顶部之间固定连接有第一弹簧(20)。5 . The dust removal device for a power test workbench according to claim 1 , wherein the cleaning mechanism comprises a cleaning brush ( 17 ) fixedly installed on the telescopic end of the electric push rod ( 2 ) and a second installation Frame (18), a cleaning cloth (19) is slidably connected in the second installation frame (18), and a first cleaning cloth (19) is fixedly connected between the top of the cleaning cloth (19) and the inner top of the second installation frame (18). A spring (20). 6.根据权利要求5所述的一种电源测试工作台用除尘装置,其特征在于,所述第一弹簧(20)为弹力弹簧。6 . The dust removal device for a power test workbench according to claim 5 , wherein the first spring ( 20 ) is an elastic spring. 7 .
CN202121311684.9U 2021-06-11 2021-06-11 A dust removal device for a power test workbench Active CN214918402U (en)

Priority Applications (1)

Application Number Priority Date Filing Date Title
CN202121311684.9U CN214918402U (en) 2021-06-11 2021-06-11 A dust removal device for a power test workbench

Applications Claiming Priority (1)

Application Number Priority Date Filing Date Title
CN202121311684.9U CN214918402U (en) 2021-06-11 2021-06-11 A dust removal device for a power test workbench

Publications (1)

Publication Number Publication Date
CN214918402U true CN214918402U (en) 2021-11-30

Family

ID=79050334

Family Applications (1)

Application Number Title Priority Date Filing Date
CN202121311684.9U Active CN214918402U (en) 2021-06-11 2021-06-11 A dust removal device for a power test workbench

Country Status (1)

Country Link
CN (1) CN214918402U (en)

Cited By (1)

* Cited by examiner, † Cited by third party
Publication number Priority date Publication date Assignee Title
CN118081593A (en) * 2024-04-01 2024-05-28 常州瀚宇电子有限公司 Motor shaft polishing device capable of detecting polishing precision

Cited By (1)

* Cited by examiner, † Cited by third party
Publication number Priority date Publication date Assignee Title
CN118081593A (en) * 2024-04-01 2024-05-28 常州瀚宇电子有限公司 Motor shaft polishing device capable of detecting polishing precision

Similar Documents

Publication Publication Date Title
CN112012892A (en) Aerogenerator paddle belt cleaning device
CN110026375B (en) Device is erased to lathe spare part greasy dirt
CN214918402U (en) A dust removal device for a power test workbench
CN212792309U (en) A wash structure for solar photovoltaic board
CN116748189A (en) A cleaning mechanism for power supply facilities
CN222797632U (en) Blade cleaning device
CN113751411A (en) Cleaning mechanism for automobile spare and accessory parts
CN213501432U (en) Printing roller processing and cleaning equipment
CN221157770U (en) Brake disc cleaning mechanism
CN215613491U (en) Part cleaning device
CN114101137B (en) A kind of SF6 meter screen wiping device for inspection
CN215748491U (en) Diamond wire cutting machine sprays belt cleaning device
CN212174771U (en) Belt-type deslimer drainage filter screen belt cleaning device
CN211196146U (en) Scraped car belt cleaning device
CN219401280U (en) Fan guard processing device
CN221017637U (en) Mechanical maintenance cleaning device
CN108569257B (en) Full-automobile automatic cleaning equipment for automobile
CN222955382U (en) Cleaning components and cleaning devices
CN222119611U (en) Cloth lifting box for washing equipment
CN119260569B (en) Aluminum profile polishing equipment for new energy automobile and process thereof
CN219130124U (en) Road cleans on-vehicle washing structure of dish brush
CN204950780U (en) Wipe window manipulator
CN222675377U (en) An automatic cleaning device for residues of a duck cleaning machine
CN222739801U (en) Cleaning workbench for oil pan castings
CN112523057A (en) Road and bridge marking device

Legal Events

Date Code Title Description
GR01 Patent grant
GR01 Patent grant