CN214896976U - A listening comprehension and interpretation practice device for English numbers - Google Patents

A listening comprehension and interpretation practice device for English numbers Download PDF

Info

Publication number
CN214896976U
CN214896976U CN202121549673.4U CN202121549673U CN214896976U CN 214896976 U CN214896976 U CN 214896976U CN 202121549673 U CN202121549673 U CN 202121549673U CN 214896976 U CN214896976 U CN 214896976U
Authority
CN
China
Prior art keywords
wall
compression spring
fixedly connected
groove
interpretation
Prior art date
Legal status (The legal status is an assumption and is not a legal conclusion. Google has not performed a legal analysis and makes no representation as to the accuracy of the status listed.)
Expired - Fee Related
Application number
CN202121549673.4U
Other languages
Chinese (zh)
Inventor
吉玲竹
Current Assignee (The listed assignees may be inaccurate. Google has not performed a legal analysis and makes no representation or warranty as to the accuracy of the list.)
Taiyuan Normal University
Original Assignee
Taiyuan Normal University
Priority date (The priority date is an assumption and is not a legal conclusion. Google has not performed a legal analysis and makes no representation as to the accuracy of the date listed.)
Filing date
Publication date
Application filed by Taiyuan Normal University filed Critical Taiyuan Normal University
Priority to CN202121549673.4U priority Critical patent/CN214896976U/en
Application granted granted Critical
Publication of CN214896976U publication Critical patent/CN214896976U/en
Expired - Fee Related legal-status Critical Current
Anticipated expiration legal-status Critical

Links

Images

Landscapes

  • Electrically Operated Instructional Devices (AREA)

Abstract

本实用新型公开一种英语数字的听力理解和口译练习装置,包括箱体和学习机,所述箱体的内壁开设有凹槽,凹槽的内壁滑动连接有移动板,移动板的上表面固定安装有海绵垫,移动板的下表面固定连接有硬板,箱体的内壁固定连接有套筒,套筒的内顶壁固定连接有第一压缩弹簧,第一压缩弹簧的一端通过连接杆固定连接有压板,箱体的内底壁固定安装有放置盒。该英语数字的听力理解和口译装置,通过设置移动板和把手组成一个移动装置,拉开移动板,箱体的底部有放置纸、书本和笔的空间,通过设置套筒、第一压缩弹簧和压板,可以固定住书本和纸,通过设置第二压缩弹簧、圆杆和放置槽,可以将笔放到放置槽里,防止丢失。

Figure 202121549673

The utility model discloses a listening comprehension and interpreting practice device for English numbers, which comprises a box body and a learning machine. The inner wall of the box body is provided with a groove, the inner wall of the groove is slidably connected with a moving plate, and the upper surface of the moving plate is fixed A sponge pad is installed, a hard plate is fixedly connected to the lower surface of the moving plate, a sleeve is fixedly connected to the inner wall of the box, a first compression spring is fixedly connected to the inner top wall of the sleeve, and one end of the first compression spring is fixed by a connecting rod A pressing plate is connected, and a placing box is fixedly installed on the inner bottom wall of the box body. The listening comprehension and interpreting device for English numbers forms a mobile device by arranging a mobile board and a handle, and when the mobile board is opened, there is a space for placing paper, books and pens at the bottom of the box. By arranging a sleeve, a first compression spring and The pressure plate can fix books and paper, and by setting a second compression spring, a round rod and a placement slot, the pen can be placed in the placement slot to prevent loss.

Figure 202121549673

Description

English digital listening comprehension and interpretation exercise device
Technical Field
The utility model relates to an english teaching technical field specifically is a listening comprehension of english digit understands and interpretation exercise device.
Background
English teaching refers to a process of teaching English for people who have English in a first language or not, and relates to various professional theoretical knowledge including linguistics, acquisition of a second language, glossaries, sentence syntactics, literature, corpus theories, cognitive psychology and the like. English teaching is a progressive process, and English learning is crucial today in globalization and rapid development, whether for people who have English in the first language or not.
The existing English listening comprehension and interpretation device is inconvenient to carry and single in function, the existing device is not provided with a place for storing paper and pens, and English listening comprehension and interpretation exercises can be memorized more clearly by copying on the paper.
SUMMERY OF THE UTILITY MODEL
An object of the utility model is to provide a listening comprehension of english digit and interpretation exercise device to solve the problem that proposes in the above-mentioned background art.
In order to achieve the above object, the utility model provides a following technical scheme: a hearing understanding and oral interpretation exercise device for English figures comprises a box body and a learning machine, wherein a groove is formed in the inner wall of the box body, a movable plate is slidably connected to the inner wall of the groove, a sponge cushion is fixedly mounted on the upper surface of the movable plate, a hard plate is fixedly connected to the lower surface of the movable plate, a sleeve is fixedly connected to the inner wall of the box body, a first compression spring is fixedly connected to the inner top wall of the sleeve, one end of the first compression spring is fixedly connected with a pressing plate through a connecting rod, a placing box is fixedly mounted on the inner bottom wall of the box body, a circular groove is formed in the inner wall of the placing box, a second compression spring is fixedly mounted on the inner wall of the circular groove, a round rod is fixedly connected to one end of the second compression spring, a placing groove is formed in the inner wall of the circular groove, an upper cover plate is rotatably connected to the side surface of the box body through a hinge, a square groove is formed in the upper cover plate, and a third compression spring is fixedly connected to the inner wall of the square groove, the inner wall of the square groove is connected with a limiting column in a sliding mode.
Preferably, the lower surface of the upper cover plate is fixedly provided with a supporting plate, the supporting plate is rotatably connected with a supporting rod through a bearing, the bottom of the supporting rod is fixedly provided with a magnetic block, and the lower surface of the upper cover plate is provided with an iron sheet.
Preferably, one end of the third compression spring is fixedly connected with one end of the limiting column, the other end of the limiting column is spherical, and an arc-shaped groove matched with the limiting column is formed in the side face of the learning machine.
Preferably, the right side surface of the upper cover plate is fixedly provided with a magnetic absorption rod, and the left side surface of the box body is wrapped with an iron sheet.
Preferably, a handle is fixedly mounted on the front surface of the moving plate.
Preferably, the inner bottom wall of the upper cover plate is fixedly provided with a motor through a connecting rod, and the output end of the motor is fixedly provided with fan blades.
Advantageous effects
The utility model provides a listening comprehension of english digit is understood and interpretation exercise device possesses following beneficial effect:
1. this english digital hearing understanding and interpretation device constitutes a mobile device through setting up movable plate and handle, pulls open the movable plate, and there is the space of placing paper, books and pen the bottom of box, through setting up sleeve, first compression spring and clamp plate, can fix books and paper, through setting up second compression spring, round bar and standing groove, can put the pen in the standing groove, prevents to lose, can be better let the user of service practice english hearing and interpretation.
2. This listening comprehension of english digit is understood and device of interpreting, through setting up the foam-rubber cushion, can the at utmost protect the learning in the time of upper cover plate closing, prevent the damage of learning, through setting up third compression spring and restriction post, can fix the learning in the upper cover plate, through setting up a heat abstractor of motor and flabellum constitution, can cool down to the learning.
Drawings
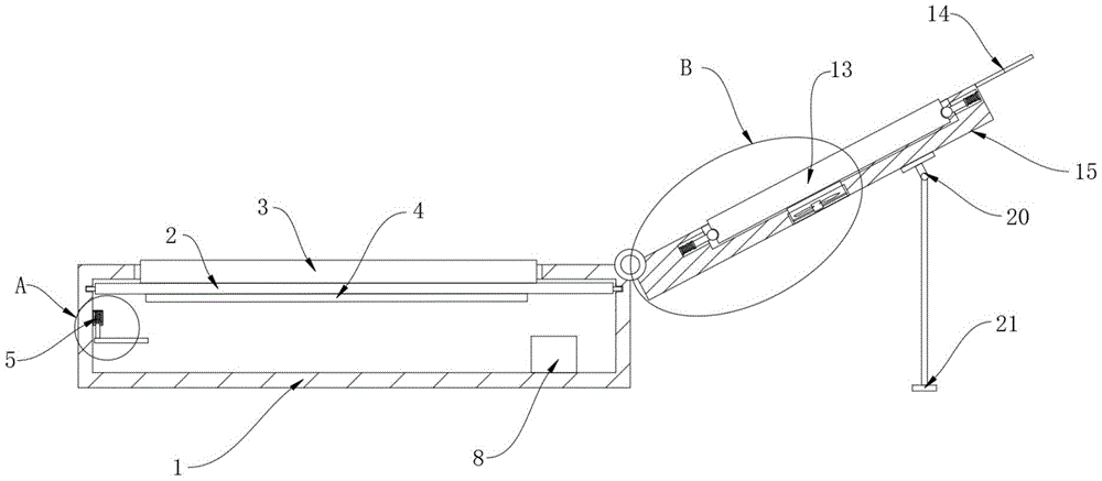
FIG. 1 is a schematic view of a front cross-sectional structure of the present invention;
FIG. 2 is a schematic front view of the present invention;
FIG. 3 is a schematic side sectional view of the placement box;
FIG. 4 is an enlarged view of the structure at A in FIG. 1;
FIG. 5 is an enlarged view of the structure at B in FIG. 1;
fig. 6 is a schematic perspective view of the moving plate.
In the figure: the multifunctional mobile phone comprises a box body 1, a moving plate 2, a spongy cushion 3, a hard plate 4, a sleeve 5, a first compression spring 6, a pressing plate 7, a placing box 8, a second compression spring 9, a round rod 10, a placing groove 11, a handle 12, a learning machine 13, a magnetic suction rod 14, an upper cover plate 15, a third compression spring 16, a limiting column 17, fan blades 18, a motor 19, a supporting plate 20 and a supporting rod 21.
Detailed Description
The technical solutions in the embodiments of the present invention will be described clearly and completely with reference to the accompanying drawings in the embodiments of the present invention, and it is obvious that the described embodiments are only some embodiments of the present invention, not all embodiments. Based on the embodiments in the present invention, all other embodiments obtained by a person skilled in the art without creative work belong to the protection scope of the present invention.
Referring to fig. 1-6, the present invention provides a technical solution: the utility model provides a listening comprehension of english digit and interpretation exercise device, including box 1 and learning 13, the inner wall of box 1 is seted up flutedly, the inner wall sliding connection of recess has movable plate 2, the positive fixed mounting of movable plate 2 has handle 12, constitute a mobile device through setting up movable plate 2 and handle 12, pull open movable plate 2, there is the space of placing paper bottom of box 1, books and pen, the last fixed surface of movable plate 2 installs foam-rubber cushion 3, through setting up foam-rubber cushion 3, protection learning 13 that can be at utmost when upper cover plate 15 closes, prevent learning 13's damage.
Lower fixed surface of movable plate 2 is connected with hardboard 4, the inner wall fixedly connected with sleeve 5 of box 1, the first compression spring 6 of the interior roof fixedly connected with of sleeve 5, connecting rod fixedly connected with clamp plate 7 is passed through to the one end of first compression spring 6, through setting up sleeve 5, first compression spring 6 and clamp plate 7, can fix books and japanese paper, box 8 is placed to the interior bottom wall fixed mounting of box 1, the inner wall of placing box 8 has seted up the circular recess, the inner wall fixed mounting of circular recess has second compression spring 9, the one end fixedly connected with round bar 10 of second compression spring 9, standing groove 11 has been seted up to the inner wall of circular recess, through setting up second compression spring 9, round bar 10 and standing groove 11, can put the pen in standing groove 11, prevent to lose, can be better let the user of service practice english listening comprehension and interpretation.
The side of box 1 rotates through the hinge and is connected with upper cover plate 15, the lower fixed surface of upper cover plate 15 installs layer board 20, layer board 20 rotates through the bearing and is connected with bracing piece 21, the bottom fixed mounting of bracing piece 21 has the magnetic path, the lower surface of upper cover plate 15 is provided with the iron sheet, the right flank fixed mounting of upper cover plate 15 has magnetic attraction pole 14, the left side of box 1 wraps up in there is the iron sheet, the inner diapire of upper cover plate 15 has motor 19 through linking pole fixed mounting, motor 19's output fixed mounting has flabellum 18, constitute a heat abstractor through setting up motor 19 and flabellum 18, can cool down to learning machine 13.
Square groove has been seted up to the inside of upper cover plate 15, the inner wall fixedly connected with third compression spring 16 in square groove, the inner wall sliding connection in square groove has restriction post 17, the one end of third compression spring 16 and the one end fixed connection of restriction post 17, the other end of restriction post 17 is spherical, the side of learning machine 13 is seted up with the arc wall of restriction post 17 looks adaptation, through setting up third compression spring 16 and restriction post 17, can fix learning machine 13 in upper cover plate 15.
The working principle is as follows: before using this english digital listening comprehension and interpretation device, can through pulling handle 12, the inside of discovery box 1 has the space of placing paper, books and pen, upward pulling clamp plate 7 puts the book below clamp plate 7, then unclamp clamp plate 7, just so can fix books and paper, upwards slide round bar 10, put the pen in standing groove 11, unclamp round bar 10, because there is second compression spring 9, thereby fix the pen, put learning machine 13 in upper cover plate 15, third compression spring 16 and restriction post 17 fix learning machine 13, prevent dropping of learning machine 13, move bracing piece 21 to the plane, just so can prop up upper cover plate 15, let the user have better angle to see english listening comprehension and the content of interpreting on learning machine 13, motor 19 drives flabellum 18 and dispels the heat to learning machine 13.
Although embodiments of the present invention have been shown and described, it will be appreciated by those skilled in the art that changes, modifications, substitutions and alterations can be made in these embodiments without departing from the principles and spirit of the invention, the scope of which is defined in the appended claims and their equivalents.

Claims (6)

1. The utility model provides a listening comprehension of english digit and interpretation exercise device, includes box (1) and learning (13), its characterized in that: the inner wall of the box body (1) is provided with a groove, the inner wall of the groove is connected with a movable plate (2) in a sliding manner, the upper surface of the movable plate (2) is fixedly provided with a sponge cushion (3), the lower surface of the movable plate (2) is fixedly connected with a hard plate (4), the inner wall of the box body (1) is fixedly connected with a sleeve (5), the inner top wall of the sleeve (5) is fixedly connected with a first compression spring (6), one end of the first compression spring (6) is fixedly connected with a pressing plate (7) through a connecting rod, the inner bottom wall of the box body (1) is fixedly provided with a placing box (8), the inner wall of the placing box (8) is provided with a circular groove, the inner wall of the circular groove is fixedly provided with a second compression spring (9), one end of the second compression spring (9) is fixedly connected with a round rod (10), the inner wall of the circular groove is provided with a placing groove (11), the side surface of the box body (1) is rotatably connected with an upper cover plate (15) through a hinge, a square groove is formed in the upper cover plate (15), a third compression spring (16) is fixedly connected to the inner wall of the square groove, and a limiting column (17) is connected to the inner wall of the square groove in a sliding mode.
2. The hearing understanding and interpretation exercise device for english digits according to claim 1, wherein: the lower surface fixed mounting of upper cover plate (15) has layer board (20), and layer board (20) rotate through the bearing and are connected with bracing piece (21), and the bottom fixed mounting of bracing piece (21) has the magnetic path, and the lower surface of upper cover plate (15) is provided with the iron sheet.
3. The hearing understanding and interpretation exercise device for english digits according to claim 1, wherein: one end of the third compression spring (16) is fixedly connected with one end of the limiting column (17), the other end of the limiting column (17) is spherical, and an arc-shaped groove matched with the limiting column (17) is formed in the side surface of the learning machine (13).
4. The hearing understanding and interpretation exercise device for english digits according to claim 1, wherein: the right side surface of the upper cover plate (15) is fixedly provided with a magnetic absorption rod (14), and the left side surface of the box body (1) is wrapped with an iron sheet.
5. The hearing understanding and interpretation exercise device for english digits according to claim 1, wherein: the front surface of the moving plate (2) is fixedly provided with a handle (12).
6. The hearing understanding and interpretation exercise device for english digits according to claim 1, wherein: the inner bottom wall of the upper cover plate (15) is fixedly provided with a motor (19) through a connecting rod, and the output end of the motor (19) is fixedly provided with fan blades (18).
CN202121549673.4U 2021-07-08 2021-07-08 A listening comprehension and interpretation practice device for English numbers Expired - Fee Related CN214896976U (en)

Priority Applications (1)

Application Number Priority Date Filing Date Title
CN202121549673.4U CN214896976U (en) 2021-07-08 2021-07-08 A listening comprehension and interpretation practice device for English numbers

Applications Claiming Priority (1)

Application Number Priority Date Filing Date Title
CN202121549673.4U CN214896976U (en) 2021-07-08 2021-07-08 A listening comprehension and interpretation practice device for English numbers

Publications (1)

Publication Number Publication Date
CN214896976U true CN214896976U (en) 2021-11-26

Family

ID=78908076

Family Applications (1)

Application Number Title Priority Date Filing Date
CN202121549673.4U Expired - Fee Related CN214896976U (en) 2021-07-08 2021-07-08 A listening comprehension and interpretation practice device for English numbers

Country Status (1)

Country Link
CN (1) CN214896976U (en)

Similar Documents

Publication Publication Date Title
CN214896976U (en) A listening comprehension and interpretation practice device for English numbers
CN215685815U (en) A budget tool for cost management of water conservancy and hydropower projects
CN212034563U (en) English translation device
CN205051750U (en) Cell -phone strutting arrangement
CN209390159U (en) A multifunctional mobile phone case
CN218068729U (en) Dull and stereotyped protective sheath of pen slot carries
CN209305484U (en) A kind of folding mobile device bracket
CN210015698U (en) Piano capable of conveniently adjusting inclination angle
CN211450836U (en) Rechargeable portable LED power supply
CN209218173U (en) A rack for placing fixed telephones
CN221352085U (en) A flip-top translation machine
CN211149739U (en) A reading and writing training machine for teaching Chinese as a foreign language
CN213400054U (en) Oral english practice trainer of easy to use
CN214704992U (en) A novel portable show device for english teaching
CN209433580U (en) Portable Oral English Training Device
CN210015545U (en) Portable english translation device
CN211375948U (en) A memory device for economic management terminology
CN209785345U (en) An English phonetic analysis and correction teaching device
CN222868947U (en) Silica gel cell phone stand
CN112991840A (en) Special portable english translation equipment of cross border electricity merchant
CN221678357U (en) A detachable book cover
CN217101050U (en) A foreign language learning aid
CN221489455U (en) Multifunctional mobile phone storage device
CN201289686Y (en) Novel repeater
CN212990109U (en) A drop-resistant IoT data collection handheld terminal

Legal Events

Date Code Title Description
GR01 Patent grant
GR01 Patent grant
CF01 Termination of patent right due to non-payment of annual fee

Granted publication date: 20211126

CF01 Termination of patent right due to non-payment of annual fee