CN214879746U - 一种带有可旋转小车的冶金专用起重机 - Google Patents
一种带有可旋转小车的冶金专用起重机 Download PDFInfo
- Publication number
- CN214879746U CN214879746U CN202121847619.8U CN202121847619U CN214879746U CN 214879746 U CN214879746 U CN 214879746U CN 202121847619 U CN202121847619 U CN 202121847619U CN 214879746 U CN214879746 U CN 214879746U
- Authority
- CN
- China
- Prior art keywords
- metallurgy
- rotatable
- lifting appliance
- trolley
- support frame
- Prior art date
- Legal status (The legal status is an assumption and is not a legal conclusion. Google has not performed a legal analysis and makes no representation as to the accuracy of the status listed.)
- Active
Links
- 238000005272 metallurgy Methods 0.000 title claims abstract description 20
- 229910000831 Steel Inorganic materials 0.000 claims description 11
- 239000010959 steel Substances 0.000 claims description 11
- 238000000034 method Methods 0.000 abstract description 5
- 238000010586 diagram Methods 0.000 description 5
- 238000005266 casting Methods 0.000 description 2
- 239000002184 metal Substances 0.000 description 2
- 238000003723 Smelting Methods 0.000 description 1
- 238000006073 displacement reaction Methods 0.000 description 1
- 239000007769 metal material Substances 0.000 description 1
- 238000012986 modification Methods 0.000 description 1
- 230000004048 modification Effects 0.000 description 1
Images
Landscapes
- Load-Engaging Elements For Cranes (AREA)
Abstract
本实用新型提供了一种带有可旋转小车的冶金专用起重机,包括架桥、沿着该架桥设置的横向轨道、设置于所述横向轨道上的小车车架,所述小车车架的下侧设置有一组相对称的小车行走轮,所述小车行走轮沿着所述横向轨道运行;所述小车车架的边缘设置弧形轨道,该弧形轨道的圆心位置设置有支撑架,该支撑架通过转轴与所述小车车架转动连接,该支撑架的外端下侧设置有与所述弧形轨道相配合的旋转行走轮,该支撑架上设置有起升机构,起升机构连接有吊具。该带有可旋转小车的冶金专用起重机具有设计科学、操作简便、灵活性高的优点,便于用于冶金过程。
Description
技术领域
本实用新型涉及了一种起重设备,具体的说,涉及了一种带有可旋转小车的冶金专用起重机。
背景技术
冶金铸造起重机是依靠沿厂房轨道方向的纵向移动、小车的横向移动和吊钩的升降运动来进行工作,适用于金属冶炼车间,用于吊运熔融金属或金属材料的专用起重机。但是,目前的冶金铸造起重机通常包括吊具、小车车架和起升机构,通过吊具进行起吊,只能进行直线移动,不便进行角度调整。
为了解决以上存在的问题,人们一直在寻求一种理想的技术解决方案。
实用新型内容
本实用新型的目的是针对现有技术的不足,从而提供一种带有可旋转小车的冶金专用起重机。
为了实现上述目的,本实用新型所采用的技术方案是:
一种带有可旋转小车的冶金专用起重机,包括架桥、沿着该架桥设置的横向轨道、设置于所述横向轨道上的小车车架,所述小车车架的下侧设置有一组相对称的小车行走轮,所述小车行走轮沿着所述横向轨道运行;所述小车车架的边缘设置弧形轨道,该弧形轨道的圆心位置设置有支撑架,该支撑架通过转轴与所述小车车架转动连接,该支撑架的外端下侧设置有与所述弧形轨道相配合的旋转行走轮,该支撑架上设置有起升机构,起升机构连接有吊具。
基于上述,所述起升机构包括主卷扬机和副卷扬机,所述吊具包括主吊具和副吊具,所述主卷扬机和所述主吊具之间通过钢丝绳相连接,所述副卷扬机和所述副吊具之间通过钢丝绳相连接。
基于上述,所述副吊具包括吊钩和设置于所述吊钩上端的两个滑轮安装板,两个滑轮安装板之间安装有滑轮组,所述主吊具包括连接横梁、设置于所述连接横梁两端下侧的吊钩和设置于所述连接横梁上侧的滑轮安装架、安装于所述滑轮安装架上的滑轮组。
基于上述,所述连接横梁的两端分别设置有斜向连杆,两个所述斜向连杆相交且与所述连接横梁形成三角形,两个所述斜向连杆的交接位置开设通孔,所述副吊具连接的钢丝绳穿过该通孔设置,所述通孔的内径小于所述副吊具的外径。
基于上述,所述连接横梁包括两个相铰接的连接梁,两个所述连接梁铰接位置的上侧设置有限位件,将两个所述连接梁的角度范围限制在-180°-0°。
基于上述,两个所述连接梁的中部通过伸缩组件连接,该伸缩组件与所述连接梁相铰接。
基于上述,所述限位件的上侧设置有滑道,该滑道内穿设有滑动杆,该滑动杆对应滑道的两端设置限位块,其中一个限位块开设通孔,所述副吊具连接的钢丝绳穿过该通孔设置,所述通孔的内径小于所述副吊具的外径。
本实用新型相对现有技术具有实质性特点和进步,具体的说,本实用新型提供一种带有可旋转小车的冶金专用起重机。该带有可旋转小车的冶金专用起重机具有设计科学、操作简便、灵活性高的优点,便于用于冶金过程。
附图说明
图1是本实用新型的结构示意图。
图2是本实用新型中主吊具的结构示意图。
图3是本实用新型中主吊具和副吊具的结构示意图。
图4是本实用新型中主吊具的结构示意图。
图5是本实用新型中主吊具和副吊具的结构示意图。
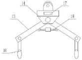
图中:1.架桥;2.小车车架;3.弧形轨道;4.转轴;5.支撑架;6.起升机构;7.连接横梁;8.滑轮安装架;9.滑轮组;10.吊钩;11.斜向连杆;12.通孔;13.连接梁;14.限位件;15.限位块;16.滑动杆;17.滑道;18.伸缩组件。
具体实施方式
下面通过具体实施方式,对本实用新型的技术方案做进一步的详细描述。
如图1所示,一种带有可旋转小车的冶金专用起重机,包括架桥1、沿着该架桥设置的横向轨道、设置于所述横向轨道上的小车车架2,所述小车车架的下侧设置有一组相对称的小车行走轮,所述小车行走轮沿着所述横向轨道运行;所述小车车架的边缘设置弧形轨道3,该弧形轨道的圆心位置设置有支撑架5,该支撑架通过转轴4与所述小车车架转动连接,该支撑架5的外端下侧设置有与所述弧形轨道3相配合的旋转行走轮,该支撑架5上设置有起升机构6,起升机构连接有吊具。具体的,小车行走轮和旋转行走轮可以分别采用驱动电机驱动,起升机构可以采用常规的卷扬机设备,吊具可以采用常规的吊钩结构。
该带有可旋转小车的冶金专用起重机具有设计科学、操作简便、灵活性高的优点,使用过程中,可以根据需要调整重物的位置,便于用于冶金过程。具体的,可以通过驱动电机驱动旋转行走轮沿着弧形轨道行走,以便调整角度。
在其中一个实施例中,所述起升机构包括主卷扬机和副卷扬机,所述吊具包括主吊具和副吊具,所述主卷扬机和所述主吊具之间通过钢丝绳相连接,所述副卷扬机和所述副吊具之间通过钢丝绳相连接。使用过程中,主吊具用于吊起容器上部吊耳,移动到达起吊位置后,副吊具用于吊起容器底部吊耳,副吊具提升使容器底部继续提升,以便倾倒容器中物品。
在其中一个实施例中,参见图2,所述副吊具包括吊钩和设置于所述吊钩上端的两个滑轮安装板,两个滑轮安装板之间安装有滑轮组,所述主吊具包括连接横梁7、设置于所述连接横梁7两端下侧的吊钩10和设置于所述连接横梁上侧的滑轮安装架8、安装于所述滑轮安装架上的滑轮组9;滑轮组用于连接钢丝绳。
在其中一个实施例中,参见图3,所述连接横梁7的两端分别设置有斜向连杆11,两个所述斜向连杆相交且与所述连接横梁形成三角形,两个所述斜向连杆的交接位置开设通孔12,所述副吊具连接的钢丝绳穿过该通孔12设置,所述通孔12的内径小于所述副吊具的外径,避免副吊具悬空随意移动。
在其中一个实施例中,参见图4,所述连接横梁7包括两个相铰接的连接梁13,两个所述连接梁铰接位置的上侧设置有限位件14,将两个所述连接梁的角度范围限制在-180°-0°。以便根据需要调整主吊具适应不同规格的容器,具体的,限位件可以采用倒置的U形槽结构,U形槽的前侧壁和后侧壁之间安装铰接轴,连接梁的一端铰接与于该铰接轴上,U形槽结构的上侧壁起到限位作用。
在其中一个实施例中,参见图4,两个所述连接梁的中部通过伸缩组件18连接,该伸缩组件与所述连接梁相铰接,以提高结构的稳定性。
在其中一个实施例中,参见图4、5,所述限位件14的上侧设置有滑道17,该滑道内穿设有滑动杆16,该滑动杆对应滑道的两端设置限位块15,以便滑动杆和滑道在两个限位块之间进行相对移动,其中一个限位块开设通孔12,所述副吊具连接的钢丝绳穿过该通孔设置,所述通孔的内径小于所述副吊具的外径,以便根据需要调整主吊具和副吊具的距离。
以上实施例可以相互结合。
最后应当说明的是:以上实施例仅用以说明本实用新型的技术方案而非对其限制;尽管参照较佳实施例对本实用新型进行了详细的说明,所属领域的普通技术人员应当理解:依然可以对本实用新型的具体实施方式进行修改或者对部分技术特征进行等同替换;而不脱离本实用新型技术方案的精神,其均应涵盖在本实用新型请求保护的技术方案范围当中。
Claims (7)
1.一种带有可旋转小车的冶金专用起重机,其特征在于:包括架桥、沿着该架桥设置的横向轨道、设置于所述横向轨道上的小车车架,所述小车车架的下侧设置有一组相对称的小车行走轮,所述小车行走轮沿着所述横向轨道运行;所述小车车架的边缘设置弧形轨道,该弧形轨道的圆心位置设置有支撑架,该支撑架通过转轴与所述小车车架转动连接,该支撑架的外端下侧设置有与所述弧形轨道相配合的旋转行走轮,该支撑架上设置有起升机构,起升机构连接有吊具。
2.根据权利要求1所述的带有可旋转小车的冶金专用起重机,其特征在于:所述起升机构包括主卷扬机和副卷扬机,所述吊具包括主吊具和副吊具,所述主卷扬机和所述主吊具之间通过钢丝绳相连接,所述副卷扬机和所述副吊具之间通过钢丝绳相连接。
3.根据权利要求2所述的带有可旋转小车的冶金专用起重机,其特征在于:所述副吊具包括吊钩和设置于所述吊钩上端的两个滑轮安装板,两个滑轮安装板之间安装有滑轮组,所述主吊具包括连接横梁、设置于所述连接横梁两端下侧的吊钩和设置于所述连接横梁上侧的滑轮安装架、安装于所述滑轮安装架上的滑轮组。
4.根据权利要求3所述的带有可旋转小车的冶金专用起重机,其特征在于:所述连接横梁的两端分别设置有斜向连杆,两个所述斜向连杆相交且与所述连接横梁形成三角形,两个所述斜向连杆的交接位置开设通孔,所述副吊具连接的钢丝绳穿过该通孔设置,所述通孔的内径小于所述副吊具的外径。
5.根据权利要求3所述的带有可旋转小车的冶金专用起重机,其特征在于:所述连接横梁包括两个相铰接的连接梁,两个所述连接梁铰接位置的上侧设置有限位件,将两个所述连接梁的角度范围限制在-180°-0°。
6.根据权利要求5所述的带有可旋转小车的冶金专用起重机,其特征在于:两个所述连接梁的中部通过伸缩组件连接,该伸缩组件与所述连接梁相铰接。
7.根据权利要求6所述的带有可旋转小车的冶金专用起重机,其特征在于:所述限位件的上侧设置有滑道,该滑道内穿设有滑动杆,该滑动杆对应滑道的两端设置限位块,其中一个限位块开设通孔,所述副吊具连接的钢丝绳穿过该通孔设置,所述通孔的内径小于所述副吊具的外径。
Priority Applications (1)
| Application Number | Priority Date | Filing Date | Title |
|---|---|---|---|
| CN202121847619.8U CN214879746U (zh) | 2021-08-09 | 2021-08-09 | 一种带有可旋转小车的冶金专用起重机 |
Applications Claiming Priority (1)
| Application Number | Priority Date | Filing Date | Title |
|---|---|---|---|
| CN202121847619.8U CN214879746U (zh) | 2021-08-09 | 2021-08-09 | 一种带有可旋转小车的冶金专用起重机 |
Publications (1)
| Publication Number | Publication Date |
|---|---|
| CN214879746U true CN214879746U (zh) | 2021-11-26 |
Family
ID=78910442
Family Applications (1)
| Application Number | Title | Priority Date | Filing Date |
|---|---|---|---|
| CN202121847619.8U Active CN214879746U (zh) | 2021-08-09 | 2021-08-09 | 一种带有可旋转小车的冶金专用起重机 |
Country Status (1)
| Country | Link |
|---|---|
| CN (1) | CN214879746U (zh) |
Cited By (1)
| Publication number | Priority date | Publication date | Assignee | Title |
|---|---|---|---|---|
| CN114212679A (zh) * | 2021-12-31 | 2022-03-22 | 河南省大方重型机器有限公司 | 一种带有可旋转小车的冶金专用起重机 |
-
2021
- 2021-08-09 CN CN202121847619.8U patent/CN214879746U/zh active Active
Cited By (2)
| Publication number | Priority date | Publication date | Assignee | Title |
|---|---|---|---|---|
| CN114212679A (zh) * | 2021-12-31 | 2022-03-22 | 河南省大方重型机器有限公司 | 一种带有可旋转小车的冶金专用起重机 |
| CN114212679B (zh) * | 2021-12-31 | 2025-10-03 | 河南省大方重型机器有限公司 | 一种带有可旋转小车的冶金专用起重机 |
Similar Documents
| Publication | Publication Date | Title |
|---|---|---|
| CN213011645U (zh) | 一种双梁门式起重机的提升机构 | |
| CN214879746U (zh) | 一种带有可旋转小车的冶金专用起重机 | |
| CN214359875U (zh) | 一种提升防摇摆的电动单梁门式起重机 | |
| CN216512495U (zh) | 一种钢厂冶金专用桥式起重机 | |
| CN115744604B (zh) | 一种集装箱门式起重机 | |
| CN202704870U (zh) | 框架梁移动龙门架 | |
| CN105540443A (zh) | 一种门式起重机 | |
| CN214570222U (zh) | 偏轨式桥式起重机 | |
| CN108557652A (zh) | 浇铸副钩不平移的单小车双梁铸造起重机 | |
| CN2513972Y (zh) | 一种电动桥式起重机 | |
| CN215626241U (zh) | 一种三小车二梁六轨铸造起重机 | |
| CN216377244U (zh) | 一种带有旋转吊具的冶金门式起重机 | |
| CN212893575U (zh) | 一种旋臂起重机 | |
| CN214653129U (zh) | 一种炉顶起重机 | |
| CN214141300U (zh) | 一种冶金专用双梁桥式起重机 | |
| CN213537028U (zh) | 一种240吨超大件提升架 | |
| CN210505274U (zh) | 一种钢厂冶金用小车运行机构 | |
| CN210313214U (zh) | 一种起重机的伸缩式结构 | |
| CN115417306A (zh) | 一种可调节的龙门吊装置 | |
| CN107522100A (zh) | 移动定滑轮组副起升机构铸造起重机小车 | |
| CN221093500U (zh) | 一种具有调节功能的双葫芦单梁起重机 | |
| CN220618213U (zh) | 一种电动单梁悬挂起重机 | |
| CN222665210U (zh) | 一种防摇晃起重机 | |
| CN221675814U (zh) | 一种用于提升和倾翻浇铸的配重机构 | |
| CN220618206U (zh) | 一种酸洗起重机 |
Legal Events
| Date | Code | Title | Description |
|---|---|---|---|
| GR01 | Patent grant | ||
| GR01 | Patent grant |