CN214858211U - Single-eye eyeshade for pediatric amblyopia treatment - Google Patents

Single-eye eyeshade for pediatric amblyopia treatment Download PDF

Info

Publication number
CN214858211U
CN214858211U CN202121186402.7U CN202121186402U CN214858211U CN 214858211 U CN214858211 U CN 214858211U CN 202121186402 U CN202121186402 U CN 202121186402U CN 214858211 U CN214858211 U CN 214858211U
Authority
CN
China
Prior art keywords
protection
amblyopia
ring
protection casing
pediatric
Prior art date
Legal status (The legal status is an assumption and is not a legal conclusion. Google has not performed a legal analysis and makes no representation as to the accuracy of the status listed.)
Expired - Fee Related
Application number
CN202121186402.7U
Other languages
Chinese (zh)
Inventor
郑倩
Current Assignee (The listed assignees may be inaccurate. Google has not performed a legal analysis and makes no representation or warranty as to the accuracy of the list.)
Second Affiliated Hospital of Anhui Medical University
Original Assignee
Second Affiliated Hospital of Anhui Medical University
Priority date (The priority date is an assumption and is not a legal conclusion. Google has not performed a legal analysis and makes no representation as to the accuracy of the date listed.)
Filing date
Publication date
Application filed by Second Affiliated Hospital of Anhui Medical University filed Critical Second Affiliated Hospital of Anhui Medical University
Priority to CN202121186402.7U priority Critical patent/CN214858211U/en
Application granted granted Critical
Publication of CN214858211U publication Critical patent/CN214858211U/en
Expired - Fee Related legal-status Critical Current
Anticipated expiration legal-status Critical

Links

Images

Landscapes

  • Orthopedics, Nursing, And Contraception (AREA)

Abstract

本实用新型公开了一种儿科弱视治疗用单眼眼罩,包括眼罩组件以及分别连接在所述眼罩组件左右两侧的鼻夹组件和弹性绳带;所述眼罩组件包括第一保护壳体和第二保护壳体,所述第一保护壳体和第二保护壳体之间固定连接有连接软管,所述鼻夹组件包括金属软管和包裹在所述金属软管外部的防护包边,所述弹性绳带上均匀分布有多个魔术贴扣。本实用新型中,通过采用可折叠收纳结构的眼罩组件,使得该装置整体结构小巧轻便,携带方便,眼罩组件不仅内部采用大量遮光隔热吸汗透气的设计,有助于提高佩戴额舒适度,而且采用全包边式遮光结构,大大提高了避光性和训练效果,配合鼻夹组件和弹性绳带使用,使得佩戴便捷且稳定。

Figure 202121186402

The utility model discloses a monocular eye mask for pediatric amblyopia treatment, which comprises an eye mask component, a nose clip component and an elastic rope belt respectively connected on the left and right sides of the eye mask component; the eye mask component comprises a first protective shell and a second A protective shell, a connecting hose is fixedly connected between the first protective shell and the second protective shell, and the nose clip assembly includes a metal hose and a protective edge wrapped around the outside of the metal hose, so A plurality of Velcro buttons are evenly distributed on the elastic rope belt. In the present invention, by adopting the eye mask assembly with a foldable storage structure, the overall structure of the device is small and light, and it is convenient to carry. It adopts a full-coverage shading structure, which greatly improves the light-shielding and training effect. It is used with the nose clip component and elastic strap, making it convenient and stable to wear.

Figure 202121186402

Description

Single-eye eyeshade for pediatric amblyopia treatment
Technical Field
The utility model relates to the technical field of medical equipment, specifically speaking relates to a paediatrics amblyopia treatment is with monocular eye-shade.
Background
Amblyopia is one of the common eye diseases which impair children's vision, and is the best correction of vision loss in one or both eyes during the development of vision due to abnormal vision. The amblyopia children often have no organic lesions in the eye examination. The pathogenesis of amblyopia is complex, and irreversible visual impairment can be caused if the amblyopia is not treated in time.
The pathogenesis of amblyopia is that the visual substance is obstructed by some reason in the visual development stage, the photoreceptor cells can not be normally stimulated, and the visual function stays at a low level. Common symptoms of amblyopia are: strabismus refers to deviation of eye positions, and results from abnormal interaction of two eyes in strabismus, and generation of strabismus can be caused by long-term inhibition of one eye; for the patients with anisometropic amblyopia and anisometropic amblyopia, the ametropia degree before the correction of two eyes is different, so that the monocular amblyopia is caused; ametropia plus amblyopia, which occurs most frequently in hyperopic patients, but also in severely myopic or astigmatic patients; form-deprivation amblyopia is commonly seen in congenital cataract, ptosis, congenital corneal opacity, vitreous hemorrhage and other diseases, which causes light rays not to normally enter eyes, further influences the development of vision and generates form-deprivation amblyopia.
The principle of amblyopia therapy is to correct ametropia, cover and train amblyopia until the infant patient reaches the vision level of the corresponding age. The widely used amblyopia treatment method in the medical field at present adopts a covering therapy, is the most economical and effective method for treating monocular amblyopia, is mainly suitable for monocular strabismus amblyopia, anisometropic amblyopia and monocular visual sensation deprivation amblyopia, can slow down or eliminate the inhibiting effect of dominant eye on amblyopia by covering dominant eye, and forcedly uses the amblyopia, thereby promoting the improvement of amblyopia vision. In the prior art, the eye mask is generally covered on glasses to be worn or directly attached to the eye mask, however, light leakage around the periphery of the glasses frame still exists when the glasses are worn for shading, the child resistance caused by discomfort of eye skin is caused when the eye mask is attached to the glasses, the self-management ability of the child is poor, behaviors are not noticed, the eye mask is easily dropped, and the effect of rehabilitation treatment is affected.
SUMMERY OF THE UTILITY MODEL
The utility model aims to solve the technical problem that a wear comfortable stable paediatrics amblyopia treatment and use monocular eye-shade is provided.
In order to solve the technical problem, the utility model discloses a following technical scheme: a monocular eyeshade for pediatric amblyopia treatment comprises an eyeshade component, and a nose clip component and an elastic rope belt which are respectively connected to the left side and the right side of the eyeshade component;
the eye patch assembly comprises a first protection shell and a second protection shell, a connecting hose is fixedly connected between the first protection shell and the second protection shell, the nose clip assembly comprises a metal hose and a protective covering edge wrapped outside the metal hose, and a plurality of magic tape buckles are uniformly distributed on the elastic rope belt.
Furthermore, coupling hose adopts the TPE material, coupling hose's both ends with first protection casing or the department of meeting of second protection casing is fixed with the reinforcing ring respectively.
Furthermore, the eyeshade component also comprises a heat insulation layer arranged on the inner walls of the first protection shell, the connecting hose and the second protection shell, and a shading film is attached to the inner wall of the heat insulation layer.
Further, a plurality of ventilative micropores have been seted up on the first protection casing, install sponge protection packing ring in the bottom mouth of second protection casing, the bottom edgewise of second protection casing is fixed with the adsorption ring, the adsorption ring adopts the medical silica gel material, the inner wall of adsorption ring is provided with the sweat-absorbing packing ring.
Further, the protection is bordured and is adopted medical silica gel material, the both ends of protection bordure fixedly connected with slipmat respectively.
Furthermore, the elastic rope belt is made of breathable cotton materials, and an adjusting ring is sleeved at one end of the elastic rope belt.
Further, the fixed cover in periphery of second protection casing is equipped with solid fixed ring, both ends are rotated respectively and are installed the connector link about solid fixed ring, the connector link is connected to metal collapsible tube and adjustable ring respectively.
The beneficial effects of the utility model are embodied in:
the utility model discloses in, accomodate the eye-shade subassembly of structure through adopting collapsible, make the device overall structure small and exquisite light, high durability and convenient carrying, eye-shade subassembly not only inside adopts the ventilative design of a large amount of thermal-insulated sweat-absorbing of shading, help improving and wear the volume comfort level, adopt the formula shading structure of borduring entirely moreover, optical shading and training effect have been improved greatly, cooperation nose presss from both sides subassembly and elasticity fag end and uses, through pressing from both sides the centre gripping of nose on the bridge of the nose, wear the elasticity fag end on the unilateral ear, make to wear light convenient and stable difficult not hard up.
Drawings
Fig. 1 is an overall structure front view of an embodiment of the present invention.
Fig. 2 is a perspective view of an eye shield assembly in accordance with an embodiment of the present invention.
Fig. 3 is a perspective view of a nose clip assembly according to an embodiment of the invention.
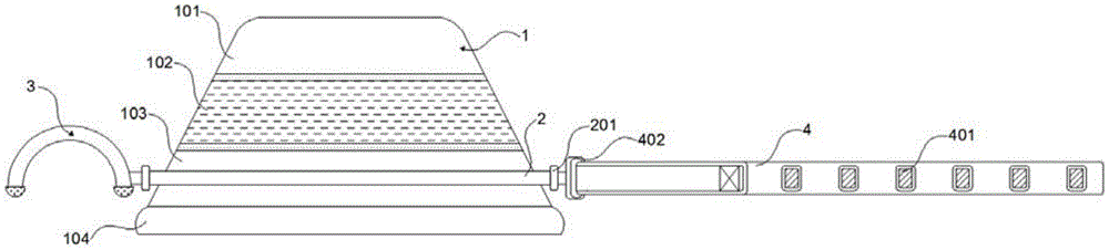
The components in the drawings are labeled as follows: 1. an eye shield assembly; 101. a first protective housing; 102. a connecting hose; 103. a second protective housing; 104. an adsorption ring; 105. air-permeable micropores; 106. reinforcing rings; 107. a sponge protective washer; 108. a sweat-absorbent gasket; 109. a thermal insulation layer; 1010. a light shielding film; 2. a fixing ring; 201. a connecting buckle; 3. a nose clip assembly; 301. protecting the edge; 302. a metal hose; 303. a non-slip mat; 4. an elastic cord; 401. a magic tape buckle; 402. an adjusting ring.
Detailed Description
The technical solutions in the embodiments of the present invention will be described clearly and completely with reference to the accompanying drawings in the embodiments of the present invention, and it is obvious that the described embodiments are only some embodiments of the present invention, not all embodiments. The embodiments and features of the embodiments in the present application may be combined with each other without conflict. Based on the embodiments in the present invention, all other embodiments obtained by a person skilled in the art without creative efforts belong to the protection scope of the present invention.
It should be noted that, if directional indications (such as upper, lower, left, right, front and rear … …) are involved in the embodiment of the present invention, the directional indications are only used to explain the relative position relationship between the components, the motion situation, etc. in a specific posture (as shown in the drawings), and if the specific posture is changed, the directional indications are changed accordingly.
In addition, if there is a description relating to "first", "second", etc. in the embodiments of the present invention, the description of "first", "second", etc. is for descriptive purposes only and is not to be construed as indicating or implying relative importance or implicitly indicating the number of technical features indicated. Thus, a feature defined as "first" or "second" may explicitly or implicitly include at least one such feature. In addition, the meaning of "and/or" appearing throughout includes three juxtapositions, exemplified by "A and/or B" including either A or B or both A and B. In addition, "a plurality" means two or more. In addition, the technical solutions in the embodiments may be combined with each other, but it must be based on the realization of those skilled in the art, and when the technical solutions are contradictory or cannot be realized, the combination of the technical solutions should not be considered to exist, and is not within the protection scope of the present invention.
See fig. 1-3.
The utility model relates to a monocular eye patch for pediatric amblyopia treatment, which comprises an eye patch component 1, and a nose clip component 3 and an elastic rope belt 4 which are respectively connected with the left side and the right side of the eye patch component 1;
eye-shade subassembly 1 includes first protection casing 101 and second protection casing 103, fixedly connected with coupling hose 102 between first protection casing 101 and the second protection casing 103, nose presss from both sides subassembly 3 and includes that metal collapsible tube 302 is in with the parcel is in the outside protection of metal collapsible tube 302 is bordured 301, evenly distributed has a plurality of magic subsides to detain 401 on the elasticity fag end 4.
The utility model discloses in, accomodate the eye-shade subassembly of structure through adopting collapsible, make the device overall structure small and exquisite light, high durability and convenient carrying, eye-shade subassembly not only inside adopts the ventilative design of a large amount of thermal-insulated sweat-absorbing of shading, help improving and wear the volume comfort level, adopt the formula shading structure of borduring entirely moreover, optical shading and training effect have been improved greatly, cooperation nose presss from both sides subassembly and elasticity fag end and uses, through pressing from both sides the centre gripping of nose on the bridge of the nose, wear the elasticity fag end on the unilateral ear, make to wear light convenient and stable difficult not hard up.
In an embodiment, coupling hose 102 adopts the TPE material, coupling hose 102's both ends with first protection casing 101 or the department of meeting of second protection casing 103 is fixed with reinforcing ring 106 respectively, and the design like this adopts the foldable structure of can receiving, and TPE plasticity is strong, and is wear-resisting durable, through folding coupling hose 102 will first protection casing 101 and second protection casing 103 are folded and are accomodate to being in the same place, and overall structure is small and exquisite light, convenient to carry.
In an embodiment, the eyeshade assembly 1 further includes a heat insulation layer 109 disposed on the inner walls of the first protection housing 101, the connection hose 102 and the second protection housing 103, and a shading film 1010 is attached to the inner wall of the heat insulation layer 109, so that by adopting a full edge-covered shading structure, the shading effect is effectively improved, and the rehabilitation training on the eyes of the infant patient is greatly enhanced.
In an embodiment, a plurality of ventilative micropores 105 have been seted up on first protection casing 101, install sponge protection packing ring 107 in the bottom mouth of second protection casing 103, the bottom edgewise of second protection casing 103 is fixed with adsorption ring 104, adsorption ring 104 adopts medical silica gel material, the inner wall of adsorption ring 104 is provided with sweat-absorbing packing ring 108, and design like this, through adsorption ring 104 supports eye cover subassembly 1 and presses on the eyes of infant, the soft close skin of adsorption ring 104 wears comfortablely, ventilative micropore 105 makes eye cover subassembly 1 has better ventilation effect, sponge protection packing ring 107 effectively plays and alleviates the painful sense of eye pressure.
In an embodiment, the protection covering edge 301 is made of medical silica gel, the two ends of the protection covering edge 301 are fixedly connected with the anti-slip pads 303 respectively, the design is that the metal hose 302 is broken to enable the nose clip assembly 3 to be fixed to the bridge of the nose of the infant, the shape of the metal hose 302 is adjustable, the application range is wide, and the protection covering edge 301 and the anti-slip pads 303 play a role in protection and anti-slip respectively.
In an embodiment, elasticity fag end 4 adopts ventilative cotton material, the pot head of elasticity fag end 4 is equipped with adjustable ring 402, designs like this, will elasticity fag end 4 is worn on the unilateral ear, and through the elasticity degree is adjusted to adjustable ring 402, through magic subsides are detained 401 and are fixed, effectively improve comfortable and the stability degree of wearing.
In an embodiment, the peripheral fixing sleeve of the second protection housing 103 is provided with a fixing ring 2, the left and right ends of the fixing ring 2 are respectively rotatably provided with a connecting buckle 201, and the connecting buckles 201 are respectively connected to the metal hose 302 and the adjusting ring 402, so that the nose clip assembly 3 and the elastic cord 4 can be rotatably and adjustably mounted on the left and right sides of the eyeshade assembly 1 through the connecting buckles 201.
It should be understood that the examples and embodiments described herein are for illustrative purposes only and are not intended to limit the present invention, and that various modifications or changes in light thereof will be suggested to persons skilled in the art and are to be included within the spirit and purview of this application.

Claims (7)

1. The utility model provides a paediatrics amblyopia treatment is with monocular eye-shade which characterized in that: comprises an eyeshade component (1), and a nose clip component (3) and an elastic rope belt (4) which are respectively connected with the left side and the right side of the eyeshade component (1);
eye-shade subassembly (1) includes first protection casing (101) and second protection casing (103), fixedly connected with coupling hose (102) between first protection casing (101) and second protection casing (103), nose presss from both sides subassembly (3) and includes metal collapsible tube (302) and parcel and is in metal collapsible tube (302) outside protection is bordured (301), evenly distributed has a plurality of magic subsides to detain (401) on elastic cord area (4).
2. The monocular eye shield of claim 1 for the treatment of pediatric amblyopia, wherein: the connecting hose (102) is made of TPE materials, and reinforcing rings (106) are fixed at the joint of the two ends of the connecting hose (102) and the first protection shell (101) or the second protection shell (103) respectively.
3. The monocular eye shield of claim 1 for the treatment of pediatric amblyopia, wherein: the eyeshade assembly (1) further comprises a heat insulation layer (109) arranged on the inner walls of the first protection shell (101), the connecting hose (102) and the second protection shell (103), and a shading film (1010) is attached to the inner wall of the heat insulation layer (109).
4. The monocular eye shield of claim 1 for the treatment of pediatric amblyopia, wherein: a plurality of ventilative micropores (105) have been seted up on first protection casing (101), install sponge protection packing ring (107) in the bottom mouth of second protection casing (103), the bottom border of second protection casing (103) is fixed with adsorption ring (104), adsorption ring (104) adopt medical silica gel material, the inner wall of adsorption ring (104) is provided with sweat-absorbing packing ring (108).
5. The monocular eye shield of claim 1 for the treatment of pediatric amblyopia, wherein: the protection is bordured (301) and is adopted medical silica gel material, the both ends of protection bordure (301) fixedly connected with slipmat (303) respectively.
6. The monocular eye shield of claim 1 for the treatment of pediatric amblyopia, wherein: the elastic rope belt (4) is made of breathable cotton materials, and an adjusting ring (402) is sleeved at one end of the elastic rope belt (4).
7. The monocular eye shield of claim 6, wherein: the fixed cover in periphery of second protection casing (103) is equipped with solid fixed ring (2), both ends rotate respectively about solid fixed ring (2) and install connector link (201), connector link (201) are connected to metal collapsible tube (302) and adjustable ring (402) respectively.
CN202121186402.7U 2021-05-28 2021-05-28 Single-eye eyeshade for pediatric amblyopia treatment Expired - Fee Related CN214858211U (en)

Priority Applications (1)

Application Number Priority Date Filing Date Title
CN202121186402.7U CN214858211U (en) 2021-05-28 2021-05-28 Single-eye eyeshade for pediatric amblyopia treatment

Applications Claiming Priority (1)

Application Number Priority Date Filing Date Title
CN202121186402.7U CN214858211U (en) 2021-05-28 2021-05-28 Single-eye eyeshade for pediatric amblyopia treatment

Publications (1)

Publication Number Publication Date
CN214858211U true CN214858211U (en) 2021-11-26

Family

ID=78935456

Family Applications (1)

Application Number Title Priority Date Filing Date
CN202121186402.7U Expired - Fee Related CN214858211U (en) 2021-05-28 2021-05-28 Single-eye eyeshade for pediatric amblyopia treatment

Country Status (1)

Country Link
CN (1) CN214858211U (en)

Similar Documents

Publication Publication Date Title
KR200292141Y1 (en) A health mask
CN210301400U (en) A kind of medical defogging goggles
KR20180058604A (en) Breathing frame of mask with holder device
WO2017090930A1 (en) Frame for breathing of mask
CN109846599B (en) Disposable adjustable phototherapy eye-shade
CN214858211U (en) Single-eye eyeshade for pediatric amblyopia treatment
CN209596027U (en) A New Neonatal Blue Light Therapy Eye Mask
CN210962496U (en) Sleeping posture correcting clothes
CN219109944U (en) Neonatal jaundice phototherapy eye shield
CN211268746U (en) Disposable mask convenient to use
CN219271315U (en) An eyemuff and earmuff device for assisting sleep
CN215779121U (en) Medical eye-shade is used to neonate
CN215273843U (en) Earcap for ophthalmic surgery
CN221331652U (en) Eye trauma protective cover
CN212940166U (en) A kind of medical goggles
CN219963249U (en) Anti-collision eye cover
CN220344600U (en) A kind of protective goggles for newborn phototherapy
CN212139481U (en) A new type of protective shield for eyes, mouth and nose
CN220714154U (en) Neonate's blue light protective eyeshade
CN220213222U (en) Multifunctional protective cover for premature infant
CN220735605U (en) Nursing eye-shade for blue light treatment of neonate
CN219835750U (en) High-efficient printing opacity function postoperative protective eyeshade of preventing
CN216777348U (en) Ophthalmology postoperative eye-shade
CN211834983U (en) Children cataract postoperative eye-shade
CN211158003U (en) Safety mask for children breathing

Legal Events

Date Code Title Description
GR01 Patent grant
GR01 Patent grant
CF01 Termination of patent right due to non-payment of annual fee
CF01 Termination of patent right due to non-payment of annual fee

Granted publication date: 20211126