CN214848002U - 一种油浸式变压器的抗冲击外壳 - Google Patents
一种油浸式变压器的抗冲击外壳 Download PDFInfo
- Publication number
- CN214848002U CN214848002U CN202120559301.3U CN202120559301U CN214848002U CN 214848002 U CN214848002 U CN 214848002U CN 202120559301 U CN202120559301 U CN 202120559301U CN 214848002 U CN214848002 U CN 214848002U
- Authority
- CN
- China
- Prior art keywords
- bottom end
- spring
- casing
- shell
- rod
- Prior art date
- Legal status (The legal status is an assumption and is not a legal conclusion. Google has not performed a legal analysis and makes no representation as to the accuracy of the status listed.)
- Active
Links
- 230000003014 reinforcing effect Effects 0.000 claims description 12
- 239000011159 matrix material Substances 0.000 claims description 2
- 230000009466 transformation Effects 0.000 description 3
- 239000002826 coolant Substances 0.000 description 2
- 238000009413 insulation Methods 0.000 description 2
- 230000035939 shock Effects 0.000 description 2
- XEEYBQQBJWHFJM-UHFFFAOYSA-N Iron Chemical group [Fe] XEEYBQQBJWHFJM-UHFFFAOYSA-N 0.000 description 1
- 230000004075 alteration Effects 0.000 description 1
- 238000002485 combustion reaction Methods 0.000 description 1
- 230000007547 defect Effects 0.000 description 1
- 238000010586 diagram Methods 0.000 description 1
- 239000006185 dispersion Substances 0.000 description 1
- 239000000428 dust Substances 0.000 description 1
- 230000000694 effects Effects 0.000 description 1
- 230000005674 electromagnetic induction Effects 0.000 description 1
- 230000007613 environmental effect Effects 0.000 description 1
- 238000009422 external insulation Methods 0.000 description 1
- 238000001125 extrusion Methods 0.000 description 1
- 238000002955 isolation Methods 0.000 description 1
- 239000007788 liquid Substances 0.000 description 1
- 230000004048 modification Effects 0.000 description 1
- 238000012986 modification Methods 0.000 description 1
- 239000003208 petroleum Substances 0.000 description 1
- 230000009467 reduction Effects 0.000 description 1
- 230000006641 stabilisation Effects 0.000 description 1
- 238000011105 stabilization Methods 0.000 description 1
- 238000006467 substitution reaction Methods 0.000 description 1
Images
Landscapes
- Vibration Prevention Devices (AREA)
Abstract
本实用新型涉及一种油浸式变压器的抗冲击外壳,包括底座和壳体,底座的顶端设有凹槽,凹槽的底端对称设有伸缩杆,伸缩杆的顶端与壳体的底端固定,伸缩杆的外壁套接有第一弹簧,第一弹簧的顶端与壳体的底端固定连接,第一弹簧的底端与凹槽的底端固定连接,凹槽的底端固定设有下支撑杆,下支撑杆的水平杆上滑动连接有两个下套管,下支撑杆外壁套接有第二弹簧,第二弹簧置于两个下套管之间,且两端分别与两个下套管固定连接,下套管的顶端固定设有下连接件,下连接件上铰接有连接杆,壳体的底端固定设有上支撑杆,上支撑杆的水平杆上滑动设有两个上套管,上套管的底端固定设有上连接件固定连接,上连接件与连接杆铰接,底座的顶端固定设有限位块。
Description
技术领域
本实用新型涉及防尘降噪装置技术领域,具体是一种油浸式变压器的抗冲击外壳。
背景技术
变压器是利用电磁感应的原理来改变交流电压的装置,主要构件是初级线圈、次级线圈和铁芯(磁芯)。主要功能有:电压变换、电流变换、阻抗变换、隔离、稳压(磁饱和变压器) 等。变压器油是石油类的液体,有燃烧的可能性,环保方面有缺点。但由于变压器油具有性能优良和价格低廉的特点,绝大多数的电力变压器仍使用变压器油作为绝缘和冷却介质。变压器开始使用变压器油作为绝缘和冷却介质,出现了油浸式变压器,变压器油因天然存储量丰富、价格低廉、外绝缘性能良好,可以减少绝缘距离,降低成本等优点而得到广泛应用。
变压器在运输的过程中可能会受到外力的冲击,造成变压器外壳变形或破损,造成内部电气元件震荡受损,因此需要一种变压器的抗冲击外壳。
实用新型内容
针对上述现有技术存在的问题,本实用新型提供了一种油浸式变压器的抗冲击外壳。
为了实现上述目的,本实用新型通过以下技术方案来实现:
一种油浸式变压器的抗冲击外壳,包括底座和壳体,所述底座的顶端设有凹槽,所述凹槽的底端对称设有伸缩杆,所述伸缩杆的顶端与壳体的底端固定,所述伸缩杆的外壁套接有第一弹簧,所述第一弹簧的顶端与壳体的底端固定连接,第一弹簧的底端与凹槽的底端固定连接,所述凹槽的底端固定设有下支撑杆,所述下支撑杆的水平杆上滑动连接有两个下套管,所述下支撑杆外壁套接有第二弹簧,所述第二弹簧置于两个下套管之间,且两端分别与两个下套管固定连接,所述下套管的顶端固定设有下连接件,所述下连接件上铰接有连接杆,所述壳体的底端固定设有上支撑杆,所述上支撑杆的水平杆上滑动设有两个上套管,所述上套管的底端固定设有下连接件固定连接,所述下连接件与连接杆铰接,所述底座的顶端固定设有限位块,所述限位块的侧壁上螺纹连接有固定栓,所述固定栓与壳体的外壁抵触,所述壳体的内部固定设有加强板,所述加强板与壳体的两侧壁平行,所述加强板包括缓冲垫和气囊,所述气囊与缓冲垫固定连接。
本实用新型进一步描述,所述下支撑杆和上支撑杆结构相同,且均呈U型结构。
本实用新型进一步描述,所述连接杆对称设有两个,且呈倾斜设置。
本实用新型进一步描述,所述缓冲垫共有两个,且分别置于气囊的两侧。
本实用新型进一步描述,所述伸缩杆共有四个,且呈矩阵设置。
借由上述方案,本实用新型具有以下优点:通过多种减震结构,可以缓冲变压器受到的冲击力,从而保护变压器内部的电气元件。
附图说明
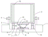
图1是本实用新型的结构示意图;
图2是图1中A的局部放大图;
图3是加强板的结构示意图;
图中:1、底座,2、壳体,3、限位块,4、固定栓,5、伸缩杆,6、第一弹簧,7、下支撑杆,8、下套管,9、第二弹簧,10、上支撑杆,11、上套管,12、连接杆,13、下连接件, 14、凹槽,15、加强板,151、缓冲垫,152、气囊,16上连接件。
具体实施方式
下面将结合附图对本实用新型的技术方案进行清楚、完整地描述,显然,所描述的实施例是本实用新型一部分实施例,而不是全部的实施例。基于本实用新型中的实施例,本领域普通技术人员在没有做出创造性劳动前提下所获得的所有其他实施例,都属于本实用新型保护的范围。
如附图所示,一种油浸式变压器的抗冲击外壳,包括底座1和壳体2,所述底座1的顶端设有凹槽14,所述凹槽14的底端对称设有四个伸缩杆5,所述伸缩杆5的顶端与壳体2的底端固定,所述伸缩杆5的外壁套接有第一弹簧6,所述第一弹簧6的顶端与壳体2的底端固定连接,第一弹簧6的底端与凹槽14的底端固定连接,所述凹槽14的底端固定设有下支撑杆7,所述下支撑杆7的水平杆上滑动连接有两个下套管8,所述下支撑杆7外壁套接有第二弹簧9,所述第二弹簧9置于两个下套管8之间,且两端分别与两个下套管8固定连接,所述下套管8的顶端固定设有下连接件13,所述下连接件13上铰接有连接杆12,连接杆12 对称设有两个,且呈倾斜设置,所述壳体2的底端固定设有上支撑杆10,所述上支撑杆10 的水平杆上滑动设有两个上套管11,所述上套管11的底端固定设有上连接件16固定连接,所述上连接件16与连接杆12铰接,下支撑杆7和上支撑杆10结构相同,且均呈U型结构,所述底座1的顶端固定设有限位块3,所述限位块3的侧壁上螺纹连接有固定栓4,所述固定栓4与壳体2的外壁抵触,所述壳体2的内部固定设有加强板15,所述加强板15与壳体2 的两侧壁平行,所述加强板15包括缓冲垫151和气囊152,缓冲垫151共有两个,气囊152 置于两个缓冲垫151之间,且气囊152与缓冲垫151固定连接。
工作原理,使用本实用新型时,当变压器壳体2受到外力冲击使,伸缩杆5和第一弹簧 6不仅可以起到支撑作用,还可以减缓壳体2受到的竖直方向受到的冲击,保护壳体2内部的电气元件,另外壳体2受到冲击后,上支撑杆10、连接杆12会将受到的力分散至下套管8和下支撑杆7上,两端的下套管8挤压第二弹簧6,从而缓冲壳体2受到的冲击力,加强板 15是由缓冲垫151和气囊152构成,也具有缓冲作用,限位块3和固定栓4可以将壳体1固定。
尽管已经示出和描述了本实用新型的实施例,对于本领域的普通技术人员而言,可以理解在不脱离本实用新型的原理和精神的情况下可以对这些实施例进行多种变化、修改、替换和变型,本实用新型的范围由所附权利要求及其等同物限定。
Claims (5)
1.一种油浸式变压器的抗冲击外壳,其特征在于,包括底座(1)和壳体(2),所述底座(1)的顶端设有凹槽(14),所述凹槽(14)的底端对称设有伸缩杆(5),所述伸缩杆(5)的顶端与壳体(2)的底端固定,所述伸缩杆(5)的外壁套接有第一弹簧(6),所述第一弹簧(6)的顶端与壳体(2)的底端固定连接,第一弹簧(6)的底端与凹槽(14)的底端固定连接,所述凹槽(14)的底端固定设有下支撑杆(7),所述下支撑杆(7)的水平杆上滑动连接有两个下套管(8),所述下支撑杆(7)外壁套接有第二弹簧(9),所述第二弹簧(9)置于两个下套管(8)之间,且两端分别与两个下套管(8)固定连接,所述下套管(8)的顶端固定设有下连接件(13),所述下连接件(13)上铰接有连接杆(12),所述壳体(2)的底端固定设有上支撑杆(10),所述上支撑杆(10)的水平杆上滑动设有两个上套管(11),所述上套管(11)的底端固定设有上连接件(16)固定连接,所述上连接件(16)与连接杆(12)铰接,所述底座(1)的顶端固定设有限位块(3),所述限位块(3)的侧壁上螺纹连接有固定栓(4),所述固定栓(4)与壳体(2)的外壁抵触,所述壳体(2)的内部固定设有加强板(15),所述加强板(15)与壳体(2)的两侧壁平行,所述加强板(15)包括缓冲垫(151)和气囊(152),所述气囊(152)与缓冲垫(151)固定连接。
2.根据权利要求1所述的一种油浸式变压器的抗冲击外壳,其特征在于,所述下支撑杆(7)和上支撑杆(10)结构相同,且均呈U型结构。
3.根据权利要求1所述的一种油浸式变压器的抗冲击外壳,其特征在于,所述连接杆(12)对称设有两个,且呈倾斜设置。
4.根据权利要求1所述的一种油浸式变压器的抗冲击外壳,其特征在于,所述缓冲垫(151)共有两个,且分别置于气囊(152)的两侧。
5.根据权利要求1所述的一种油浸式变压器的抗冲击外壳,其特征在于,所述伸缩杆(5)共有四个,且呈矩阵设置。
Priority Applications (1)
| Application Number | Priority Date | Filing Date | Title |
|---|---|---|---|
| CN202120559301.3U CN214848002U (zh) | 2021-03-18 | 2021-03-18 | 一种油浸式变压器的抗冲击外壳 |
Applications Claiming Priority (1)
| Application Number | Priority Date | Filing Date | Title |
|---|---|---|---|
| CN202120559301.3U CN214848002U (zh) | 2021-03-18 | 2021-03-18 | 一种油浸式变压器的抗冲击外壳 |
Publications (1)
| Publication Number | Publication Date |
|---|---|
| CN214848002U true CN214848002U (zh) | 2021-11-23 |
Family
ID=78758868
Family Applications (1)
| Application Number | Title | Priority Date | Filing Date |
|---|---|---|---|
| CN202120559301.3U Active CN214848002U (zh) | 2021-03-18 | 2021-03-18 | 一种油浸式变压器的抗冲击外壳 |
Country Status (1)
| Country | Link |
|---|---|
| CN (1) | CN214848002U (zh) |
-
2021
- 2021-03-18 CN CN202120559301.3U patent/CN214848002U/zh active Active
Similar Documents
| Publication | Publication Date | Title |
|---|---|---|
| CN207890872U (zh) | 一种电梯轿厢底部减震托架 | |
| CN210223758U (zh) | 一种低噪型变压器 | |
| CN114724810B (zh) | 一种带减震结构的组合式互感器 | |
| CN214848002U (zh) | 一种油浸式变压器的抗冲击外壳 | |
| CN206806133U (zh) | 一种干式变压器抗震支撑结构 | |
| CN215221467U (zh) | 一种具有防护结构的建筑施工用配电箱 | |
| CN214176574U (zh) | 一种利用保护内部组件的带缓冲式底座的箱变设备 | |
| CN221668622U (zh) | 一种变压器减振底座 | |
| CN211507310U (zh) | 一种抗挤压的高效散热变压器 | |
| CN220873352U (zh) | 一种抗冲击干式变压器 | |
| CN113389996A (zh) | 一种便于升降和移动的支座 | |
| CN217768031U (zh) | 一种干式电力变压器抗震装置 | |
| CN209880336U (zh) | 一种干式变压器抗震支撑结构 | |
| CN212676724U (zh) | 一种具有防震结构的箱式变电站 | |
| CN214280610U (zh) | 一种具有防护结构的环网柜 | |
| CN214012718U (zh) | 一种降噪型变压器 | |
| CN216010130U (zh) | 一种具有防护结构的减震型电感器 | |
| CN213935819U (zh) | 一种变压器用防护结构 | |
| CN212935308U (zh) | 一种配电柜的抗震结构 | |
| CN116092783A (zh) | 具有抗振功能的海上船配电用干式变压器 | |
| CN222190417U (zh) | 一种具有减震结构的变压器 | |
| CN218299529U (zh) | 带有缓冲防护机构的变压器 | |
| CN220585020U (zh) | 一种抗冲击变压器 | |
| CN216793460U (zh) | 一种适用于干式非晶合金变压器的降噪装置 | |
| CN219800594U (zh) | 一种减震变压器 |
Legal Events
| Date | Code | Title | Description |
|---|---|---|---|
| GR01 | Patent grant | ||
| GR01 | Patent grant |