CN214785560U - An environmentally friendly ceramic aluminum veneer for medical institutions - Google Patents

An environmentally friendly ceramic aluminum veneer for medical institutions Download PDF

Info

Publication number
CN214785560U
CN214785560U CN202120796951.XU CN202120796951U CN214785560U CN 214785560 U CN214785560 U CN 214785560U CN 202120796951 U CN202120796951 U CN 202120796951U CN 214785560 U CN214785560 U CN 214785560U
Authority
CN
China
Prior art keywords
frame
aluminum
sides
wall
plate
Prior art date
Legal status (The legal status is an assumption and is not a legal conclusion. Google has not performed a legal analysis and makes no representation as to the accuracy of the status listed.)
Expired - Fee Related
Application number
CN202120796951.XU
Other languages
Chinese (zh)
Inventor
王亚娟
Current Assignee (The listed assignees may be inaccurate. Google has not performed a legal analysis and makes no representation or warranty as to the accuracy of the list.)
Fujian Yongjie Metal Building Material Co ltd
Original Assignee
Fujian Yongjie Metal Building Material Co ltd
Priority date (The priority date is an assumption and is not a legal conclusion. Google has not performed a legal analysis and makes no representation as to the accuracy of the date listed.)
Filing date
Publication date
Application filed by Fujian Yongjie Metal Building Material Co ltd filed Critical Fujian Yongjie Metal Building Material Co ltd
Priority to CN202120796951.XU priority Critical patent/CN214785560U/en
Application granted granted Critical
Publication of CN214785560U publication Critical patent/CN214785560U/en
Expired - Fee Related legal-status Critical Current
Anticipated expiration legal-status Critical

Links

Images

Landscapes

  • Orthopedics, Nursing, And Contraception (AREA)

Abstract

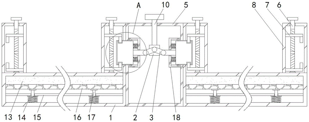
本实用新型涉及铝单板技术领域,且公开了一种医疗机构用环保型烤瓷铝单板,包括铝板和连接框,所述铝板的数量为两个且呈左右对称分布在连接框两侧。该医疗机构用环保型烤瓷铝单板,通过向下推动拉杆,连接块下移,使得两个第一连接杆向两侧移动,使得第一连接杆也向两侧移动,把卡块推到固定框内,然后旋转螺纹杆,使得L型卡块相向移动,此时可将铝板与连接框安装在一起,反向旋转螺纹杆,同理可将铝板与从连接框上拆卸下来,实现了便于安装拆卸的目的,通过设置缓冲弹簧和安装板,声波带动安装板产生震动,安装板的震动将声波的能量转化为热量,再经过消音棉和隔音毡板吸收和隔离部分声音,实现了降噪的目的。

Figure 202120796951

The utility model relates to the technical field of aluminum veneers, and discloses an environment-friendly porcelain-fired aluminum veneer for medical institutions, which comprises an aluminum plate and a connecting frame. The number of the aluminum plates is two and is symmetrically distributed on both sides of the connecting frame. . The medical institution uses an environmentally friendly ceramic aluminum veneer. By pushing down the pull rod, the connecting block moves down, so that the two first connecting rods move to both sides, so that the first connecting rod also moves to both sides, pushing the clamping block. into the fixed frame, and then rotate the threaded rod to make the L-shaped block move toward each other. At this time, the aluminum plate and the connecting frame can be installed together, and the threaded rod can be rotated in the opposite direction. Similarly, the aluminum plate can be removed from the connecting frame to achieve In order to facilitate installation and disassembly, by setting the buffer spring and the installation plate, the sound wave drives the installation plate to vibrate, and the vibration of the installation plate converts the energy of the sound wave into heat, and then absorbs and isolates part of the sound through the muffler cotton and the sound insulation felt board. the purpose of noise reduction.

Figure 202120796951

Description

Environment-friendly porcelain aluminum veneer for medical institution
Technical Field
The utility model relates to an aluminium veneer technical field specifically is an environment-friendly porcelain aluminium veneer for medical institution.
Background
The aluminum veneer is a building decoration material processed and formed by chromizing and the like and then adopting a fluorocarbon spraying technology, the spraying process is generally divided into two-coating, three-coating or four-coating, the fluorocarbon coating has excellent corrosion resistance and weather resistance, can resist acid rain, salt mist and various air pollutants, has excellent cold and heat resistance, can resist strong ultraviolet irradiation, can keep colorfast for a long time, does not pulverize and has long service life.
The aluminium veneer that present medical institution used is a building material that people often contacted, can appear damaging after long-time the use, need dismantle to overhaul or change, owing to adopt bolt etc. to fix and can lead to the dismantlement process very troublesome, this kind of material sound insulation effect is not good moreover, can not provide good quiet environment of fostering for patient, so provides an environment-friendly porcelain aluminium veneer for medical institution and solves above-mentioned problem.
SUMMERY OF THE UTILITY MODEL
Technical problem to be solved
The utility model provides a not enough to prior art, the utility model provides an environment-friendly porcelain aluminium veneer for medical institution possesses convenient to install and dismantles and fall advantages such as making an uproar, the aluminium veneer of having solved present medical institution and using is the building material of people's frequent contact, can appear damaging after long-time the use, need dismantle and overhaul or change, it is very troublesome owing to adopt bolt etc. to fix and can lead to the dismantlement process, moreover this kind of material sound insulation effect is not good, can not provide the problem of good quiet environment of fostering for patient.
(II) technical scheme
For the purpose of realizing the aforesaid be convenient for installation dismantlement and making an uproar, the utility model provides a following technical scheme: an environment-friendly porcelain aluminum veneer for medical institutions comprises aluminum plates and a connecting frame, wherein the number of the aluminum plates is two, the aluminum plates are symmetrically distributed on the two sides of the connecting frame in a bilateral mode, the opposite sides of the two aluminum plates are respectively attached to the left side and the right side of the connecting frame, the left side and the right side of the top of each aluminum plate are fixedly provided with fixing frames, the opposite sides of the second fixing frame and the third fixing frame are respectively attached to the left side and the right side of the connecting frame, the top of each fixing frame is movably provided with a threaded rod, one end of the threaded rod extends to the interior of the threaded rod and is movably connected with the top of each aluminum plate, the outer side of the threaded rod is in threaded connection with two L-shaped clamping blocks, the opposite sides of the L-shaped clamping blocks on the left side and the right side of each aluminum plate are movably connected with the inner wall of each fixing frame, a sound insulation felt plate, sound insulation cotton and a mounting plate are sequentially and fixedly mounted between the left side and the right side of the inner wall of each aluminum plate from top to bottom, two T-shaped plates are fixedly mounted on the left side and right sides of the bottom of each sound insulation cotton, one end of each mounting plate penetrates through the mounting plate and extends to the bottom of each mounting plate, the bottom parts of the four T-shaped plates are all fixedly provided with a buffer spring with one end fixedly connected with the bottom part of the inner wall of the aluminum plate, the left side and the right side of the inner wall of the connecting frame are both fixedly provided with mounting frames, the top of the connecting frame is movably provided with a pull rod with one end extending to the inside, pull rod bottom fixed mounting has the connecting block, the connecting block front side articulates there is the head rod that quantity was two and was bilateral symmetry distribution, two head rod one side of the back of the body all articulates there is one end to run through and extend to the inside second connecting rod of installing frame, two the equal fixed mounting in one side of the back of the body of second connecting rod back of the body has one end to extend to the inside fixture block of fixed frame, two equal movable mounting in both sides has one end and installing frame inner wall swing joint's gyro wheel, two about the fixture block relative one side and be located the second connecting rod equal fixed mounting in both sides have one end and installing frame inner wall fixed connection's reset spring.
Preferably, two sections of threads are arranged on the threaded rod, and the two sections of threads are equal in length and opposite in direction.
Preferably, the upper side and the lower side of each clamping block are provided with grooves matched with the L-shaped clamping blocks.
Preferably, the upper side and the lower side of the clamping block are fixedly provided with rotating shafts, one ends of the rotating shafts are movably connected with the upper side and the lower side of the inner wall of the mounting frame, sliding grooves are formed in the upper side and the lower side of the inner wall of the mounting frame, and the idler wheel is movably connected with the clamping block and the mounting frame through the rotating shafts and the sliding grooves.
Preferably, the through holes matched with the clamping blocks are formed in the left side and the right side of the inner wall of the connecting frame and the inner wall of one side, opposite to the two fixing frames, of the inner wall of the connecting frame.
Preferably, handles are fixedly mounted at the tops of the pull rod and the threaded rod.
(III) advantageous effects
Compared with the prior art, the utility model provides an environment-friendly porcelain aluminium veneer for medical institution possesses following beneficial effect:
this environment-friendly porcelain aluminium veneer for medical institution, through promoting the pull rod downwards, the connecting block moves down, make two head rods move to both sides, make the head rod also move to both sides, push away the fixture block in fixed frame, then rotatory threaded rod, make L type fixture block remove in opposite directions, can install aluminum plate and carriage this moment together, reverse rotation threaded rod, can dismantle aluminum plate and follow the carriage with the same reason, the purpose of being convenient for install and dismantle has been realized, through setting up buffer spring and mounting panel, the sound wave drives the mounting panel and produces vibrations, the vibrations of mounting panel turn into the heat with the energy of sound wave, absorb and keep apart partial sound through amortization cotton and sound-proof felt board again, the purpose of making an uproar has been realized falling.
Drawings
FIG. 1 is a schematic structural view of the present invention;
fig. 2 is an enlarged view of a portion a in fig. 1 according to the present invention.
In the figure: 1 aluminum plate, 2 connecting blocks, 3 head rods, 4 rollers, 5 connecting frames, 6 threaded rods, 7L-shaped fixture blocks, 8 fixing frames, 9 reset springs, 10 pull rods, 11 second connecting rods, 12 fixture blocks, 13 sound insulation felt plates, 14 buffer springs, 15 mounting plates, 16 noise reduction cotton, 17T-shaped plates and 18 mounting frames.
Detailed Description
The technical solutions in the embodiments of the present invention will be described clearly and completely with reference to the accompanying drawings in the embodiments of the present invention, and it is obvious that the described embodiments are only some embodiments of the present invention, not all embodiments. Based on the embodiments in the present invention, all other embodiments obtained by a person skilled in the art without creative work belong to the protection scope of the present invention.
Referring to fig. 1-2, an environment-friendly porcelain aluminum veneer for medical institutions comprises two aluminum plates 1 and a connecting frame 5, wherein the two aluminum plates 1 are symmetrically distributed on two sides of the connecting frame 5, opposite sides of the two aluminum plates 1 are respectively attached to the left side and the right side of the connecting frame 5, fixed frames 8 are fixedly mounted on the left side and the right side of the top of each aluminum plate 1, opposite sides of the second fixed frame 8 and the third fixed frame 8 are respectively attached to the left side and the right side of the connecting frame 5, a threaded rod 6 is movably mounted at the top of each fixed frame 8, one end of each threaded rod extends to the inside of each threaded rod and is movably connected with the top of each aluminum plate 1, two threads are arranged on each threaded rod 6, the two threads are equal in length and opposite in direction, two L-shaped clamping blocks 7 are connected to the outer side of each threaded rod 6, opposite sides of the L-shaped clamping blocks 7 on the left side and the right side of each aluminum plate 1 are movably connected with the inner wall of each fixed frame 8, and sound insulation felt plates 13 are fixedly mounted between the left side and the right side of the inner wall of each aluminum plate 1 from top to bottom, The silencing cotton comprises silencing cotton 16 and mounting plates 15, T-shaped plates 17 with one ends penetrating through the mounting plates 15 and extending to the bottoms of the two silencing cotton 16 are fixedly mounted on the left and right sides of the bottoms of the two silencing cotton 16, buffer springs 14 with one ends fixedly connected with the bottoms of the inner walls of the aluminum plates 1 are fixedly mounted on the bottoms of the four T-shaped plates 17, mounting frames 18 are fixedly mounted on the left and right sides of the inner walls of the connecting frames 5, pull rods 10 with one ends extending to the insides of the connecting frames 5 are movably mounted on the tops of the connecting frames 5, handles are fixedly mounted on the tops of the pull rods 10 and the threaded rods 6, connecting blocks 2 are fixedly mounted at the bottoms of the pull rods 10, two first connecting rods 3 which are symmetrically distributed in the left and right are hinged on the front sides of the connecting blocks 2, second connecting rods 11 with one ends penetrating through and extending to the insides of the mounting frames 18 are hinged on the opposite sides of the two first connecting rods 3, and fixture blocks 12 with one ends extending to the insides of the fixing frames 8 are fixedly mounted on the opposite sides of the two second connecting rods 11, the left side and the right side of the inner wall of the connecting frame 5 and the inner wall of one side of the two fixing frames 8 opposite to each other are respectively provided with a through hole matched with the clamping block 12, the upper side and the lower side of the clamping block 12 are respectively provided with a groove matched with the L-shaped clamping block 7, the upper side and the lower side of the two clamping blocks 12 are respectively and movably provided with a roller 4, one end of each roller is movably connected with the inner wall of the mounting frame 18, the upper side and the lower side of the clamping block 12 are respectively and fixedly provided with a rotating shaft, one end of each rotating shaft is movably connected with the upper side and the lower side of the inner wall of the mounting frame 18, the rollers 4 are respectively and movably connected with the clamping block 12 and the mounting frame 18 through the rotating shaft and the sliding grooves, the reset spring 9, one end of which is fixedly connected with the inner wall of the mounting frame 18, is fixedly arranged at the upper side and the lower side of the two clamping blocks 12 opposite to each connecting rod 11, the two first connecting rods 3 move towards both sides by pushing the pull rod 10 downwards, the clamping block 12 is pushed into the fixed frame 8, then the threaded rod 6 is rotated, so that the L-shaped clamping block 7 moves oppositely, the aluminum plate 1 and the connecting frame 5 can be installed together at the moment, the threaded rod 6 is rotated reversely, the aluminum plate 1 and the connecting frame 5 can be disassembled in the same way, the aim of facilitating installation and disassembly is achieved, through the arrangement of the buffer spring 14 and the installation plate 15, the sound wave drives the installation plate 15 to vibrate, the vibration of the installation plate 15 converts the energy of the sound wave into heat, and the sound absorption and isolation of partial sound are realized through the sound absorption cotton 16 and the sound insulation felt plate 13, the aim of reducing noise is achieved, the problem that an aluminum veneer used for the current medical institution is a building material which is frequently contacted by people is solved, the aluminum veneer is damaged after long-time use and needs to be disassembled for maintenance or replacement, the disassembly process is very troublesome due to the adoption of bolts and the like for fixing, and the sound insulation effect of the material is poor, the problem of not providing a well quiet curing environment for the patient.
In conclusion, the environment-friendly porcelain aluminum veneer for medical institutions pushes the pull rod 10 downwards, the connecting block 2 moves downwards, so that the two first connecting rods 3 move towards two sides, the first connecting rods 3 also move towards two sides, the clamping block 12 is pushed into the fixing frame 8, then the threaded rod 6 is rotated, the L-shaped clamping block 7 moves towards each other, the aluminum plate 1 and the connecting frame 5 can be installed together at the moment, the threaded rod 6 is rotated reversely, the aluminum plate 1 and the connecting frame 5 can be detached in the same way, the purpose of facilitating installation and detachment is achieved, through the arrangement of the buffer spring 14 and the mounting plate 15, the sound waves drive the mounting plate 15 to generate vibration, the vibration of the mounting plate 15 converts the energy of the sound waves into heat, and the sound is absorbed and isolated by the sound-absorbing cotton 16 and the sound-insulating felt plate 13, the purpose of reducing noise is achieved, and the problem that the existing aluminum veneer for medical institutions is a building material frequently contacted by people is solved, the damage can appear after using for a long time, need dismantle and overhaul or change, because adopt bolt etc. to fix and can lead to dismantling the process very troublesome, this kind of material sound insulation effect is not good moreover, can not provide the problem of good quiet maintenance environment for patient.
It is noted that, herein, relational terms such as first and second, and the like may be used solely to distinguish one entity or action from another entity or action without necessarily requiring or implying any actual such relationship or order between such entities or actions. Also, the terms "comprises," "comprising," or any other variation thereof, are intended to cover a non-exclusive inclusion, such that a process, method, article, or apparatus that comprises a list of elements does not include only those elements but may include other elements not expressly listed or inherent to such process, method, article, or apparatus. Without further limitation, an element defined by the phrase "comprising an … …" does not exclude the presence of other identical elements in a process, method, article, or apparatus that comprises the element.
Although embodiments of the present invention have been shown and described, it will be appreciated by those skilled in the art that changes, modifications, substitutions and alterations can be made in these embodiments without departing from the principles and spirit of the invention, the scope of which is defined in the appended claims and their equivalents.

Claims (6)

1.一种医疗机构用环保型烤瓷铝单板,包括铝板(1)和连接框(5),其特征在于:所述铝板(1)的数量为两个且呈左右对称分布在连接框(5)两侧,两个所述铝板(1)相对一侧分别与连接框(5)左右两侧贴合,所述铝板(1)顶部左右两侧均固定安装有固定框(8),第二个和第三个所述固定框(8)相对一侧分别与连接框(5)左右两侧贴合,所述固定框(8)顶部活动安装有一端延伸至其内部与铝板(1)顶部活动连接的螺纹杆(6),所述螺纹杆(6)的外侧螺纹连接有数量为两个的L型卡块(7),单个所述铝板(1)上左右两侧L型卡块(7)的相对侧均与固定框(8)内壁活动连接,所述铝板(1)内壁左右两侧之间从上之下依次固定安装有隔音毡板(13)、消音棉(16)和安装板(15),两个所述消音棉(16)底部左右两侧均固定安装有一端贯穿安装板(15)并延伸至其底部的T型板(17),四个所述T型板(17)底部均固定安装有一端与铝板(1)内壁底部固定连接的缓冲弹簧(14),所述连接框(5)内壁左右两侧均固定安装有安装框(18),所述连接框(5)顶部活动安装有一端延伸至其内部的拉杆(10),所述拉杆(10)底部固定安装有连接块(2),所述连接块(2)前侧铰接有数量为两个且呈左右对称分布的第一连接杆(3),两个所述第一连接杆(3)相背一侧均铰接有一端贯穿并延伸至安装框(18)内部的第二连接杆(11),两个所述第二连接杆(11)相背一侧均固定安装有一端延伸至固定框(8)内部的卡块(12),两个所述卡块(12)上下两侧均活动安装有一端与安装框(18)内壁活动连接的滚轮(4),两个所述卡块(12)相对一侧且位于第二连接杆(11)上下两侧均固定安装有一端与安装框(18)内壁固定连接的复位弹簧(9)。1. An environment-friendly ceramic aluminum veneer for medical institutions, comprising an aluminum plate (1) and a connecting frame (5), characterized in that: the number of the aluminum plates (1) is two and is symmetrically distributed on the connecting frame. (5) On both sides, the opposite sides of the two aluminum plates (1) are respectively attached to the left and right sides of the connecting frame (5), and the left and right sides of the top of the aluminum plate (1) are fixedly installed with a fixing frame (8), The opposite sides of the second and third said fixing frames (8) are respectively attached to the left and right sides of the connecting frame (5). ) A threaded rod (6) movably connected at the top, the outer side of the threaded rod (6) is threadedly connected with two L-shaped clamping blocks (7), and a single L-shaped clamping block (7) on the left and right sides of the aluminum plate (1) The opposite sides of the block (7) are movably connected with the inner wall of the fixing frame (8), and between the left and right sides of the inner wall of the aluminum plate (1), a sound insulation felt board (13) and a sound-absorbing cotton (16) are fixedly installed in sequence from top to bottom. and the mounting plate (15), the left and right sides of the bottom of the two muffler cottons (16) are fixedly mounted with a T-shaped plate (17), one end of which penetrates the mounting plate (15) and extends to the bottom of the T-shaped plate (17). The bottom of the plate (17) is fixedly installed with a buffer spring (14) whose one end is fixedly connected to the bottom of the inner wall of the aluminum plate (1), and the left and right sides of the inner wall of the connecting frame (5) are fixedly installed with mounting frames (18), the connection The top of the frame (5) is movably mounted with a pull rod (10) with one end extending to the inside of the pull rod (10), a connecting block (2) is fixedly installed at the bottom of the pull rod (10), and two connecting blocks (2) are hinged on the front side. The first connecting rods (3) are symmetrically distributed on the left and right, and the opposite sides of the two first connecting rods (3) are hinged with a second connecting rod (11) whose one end penetrates and extends to the inside of the mounting frame (18). ), the opposite sides of the two second connecting rods (11) are fixedly installed with a clamping block (12) with one end extending into the interior of the fixing frame (8), and the upper and lower sides of the two clamping blocks (12) are A roller (4), one end of which is movably connected to the inner wall of the mounting frame (18), is movably installed, and one end of the two clamping blocks (12) is fixedly installed on the opposite side of the second connecting rod (11) on the upper and lower sides of the second connecting rod (11). A return spring (9) fixedly connected to the inner wall of the frame (18). 2.根据权利要求1所述的一种医疗机构用环保型烤瓷铝单板,其特征在于:所述螺纹杆(6)上设有两段螺纹,两段螺纹的长度相等且方向相反。2 . The environment-friendly porcelain-aluminum veneer for medical institutions according to claim 1 , wherein the threaded rod ( 6 ) is provided with two threads, and the lengths of the two threads are equal and opposite in direction. 3 . 3.根据权利要求1所述的一种医疗机构用环保型烤瓷铝单板,其特征在于:所述卡块(12)上下两侧均开设有与L型卡块(7)相适配的凹槽。3. An environmentally friendly ceramic aluminum veneer for medical institutions according to claim 1, characterized in that: the upper and lower sides of the clamping block (12) are provided with L-shaped clamping blocks (7). groove. 4.根据权利要求1所述的一种医疗机构用环保型烤瓷铝单板,其特征在于:所述卡块(12)上下两侧均固定安装有一端与安装框(18)内壁上下两侧活动连接的转轴,安装框(18)内壁上下两侧均开设有滑槽,所述滚轮(4)通过转轴和滑槽分别与卡块(12)和安装框(18)活动连接。4. An environmentally friendly ceramic aluminum veneer for medical institutions according to claim 1, characterized in that: the upper and lower sides of the clamping block (12) are fixedly installed with one end and the inner wall of the mounting frame (18) on the upper and lower sides. As for the side movably connected rotating shaft, the upper and lower sides of the inner wall of the mounting frame (18) are provided with chute grooves, and the roller (4) is respectively movably connected with the clamping block (12) and the mounting frame (18) through the rotating shaft and the sliding groove. 5.根据权利要求1所述的一种医疗机构用环保型烤瓷铝单板,其特征在于:所述连接框(5)内壁左右两侧和两个固定框(8)相对一侧内壁均开设有与卡块(12)相适配的通孔。5. An environmentally friendly ceramic aluminum veneer for medical institutions according to claim 1, characterized in that: the left and right sides of the inner wall of the connecting frame (5) and the inner walls of the opposite sides of the two fixing frames (8) are both A through hole matching with the clamping block (12) is opened. 6.根据权利要求1所述的一种医疗机构用环保型烤瓷铝单板,其特征在于:所述拉杆(10)和螺纹杆(6)顶部均固定安装有把手。6 . The environment-friendly porcelain-aluminum veneer for medical institutions according to claim 1 , wherein a handle is fixedly installed on the top of the tie rod ( 10 ) and the threaded rod ( 6 ). 7 .
CN202120796951.XU 2021-04-19 2021-04-19 An environmentally friendly ceramic aluminum veneer for medical institutions Expired - Fee Related CN214785560U (en)

Priority Applications (1)

Application Number Priority Date Filing Date Title
CN202120796951.XU CN214785560U (en) 2021-04-19 2021-04-19 An environmentally friendly ceramic aluminum veneer for medical institutions

Applications Claiming Priority (1)

Application Number Priority Date Filing Date Title
CN202120796951.XU CN214785560U (en) 2021-04-19 2021-04-19 An environmentally friendly ceramic aluminum veneer for medical institutions

Publications (1)

Publication Number Publication Date
CN214785560U true CN214785560U (en) 2021-11-19

Family

ID=78687628

Family Applications (1)

Application Number Title Priority Date Filing Date
CN202120796951.XU Expired - Fee Related CN214785560U (en) 2021-04-19 2021-04-19 An environmentally friendly ceramic aluminum veneer for medical institutions

Country Status (1)

Country Link
CN (1) CN214785560U (en)

Cited By (1)

* Cited by examiner, † Cited by third party
Publication number Priority date Publication date Assignee Title
CN115976995A (en) * 2023-02-16 2023-04-18 中国中建设计研究院有限公司 Urban overhead sound insulation barrier and installation method thereof

Cited By (1)

* Cited by examiner, † Cited by third party
Publication number Priority date Publication date Assignee Title
CN115976995A (en) * 2023-02-16 2023-04-18 中国中建设计研究院有限公司 Urban overhead sound insulation barrier and installation method thereof

Similar Documents

Publication Publication Date Title
CN214785560U (en) An environmentally friendly ceramic aluminum veneer for medical institutions
CN206245525U (en) A kind of clean operating room safety glass wall panel assembly
CN213682587U (en) Prefabricated wallboard for assembly type structure
CN206071347U (en) A kind of sound-insulating window frame
CN216615551U (en) A light absorbing sound insulation barrier
CN111441497A (en) Assembled heat-preservation energy-saving building wall and assembling method thereof
CN215926387U (en) Energy-conserving compound outer wall body of green building
CN209908272U (en) Novel high sound insulation aluminum alloy door and window
CN219491416U (en) Building sound insulation curtain wall structure
CN222120655U (en) Curtain wall heat insulation structure
CN218933480U (en) Wall-mounted type building external facade sound insulation protection mechanism for building design
CN207660155U (en) A kind of curtain wall construction with aluminium alloy lock pin
CN211369168U (en) An integral lightweight partition wall system for ultra-high space
CN219887405U (en) Heat-insulating sound-absorbing wall
CN212200846U (en) A sound insulation and heat insulation structure for building exterior facade
CN208152332U (en) A kind of building decoration curtain wall with soundproof effect
CN210977195U (en) Silencing aluminum alloy door and window
CN218562860U (en) Quick detach ready-package aluminium veneer
CN220599596U (en) Aluminum alloy door and window convenient to disassemble and assemble
CN220319423U (en) Sound-insulation and heat-insulation entrance door
CN212358967U (en) A kind of aluminum alloy fixing device for exterior wall decorative panel
CN215718303U (en) Aluminum alloy door and window with good heat insulation effect and noise reduction function
CN221423070U (en) Heat-insulating sealing member for door and window of system
CN221002451U (en) A heat-insulating and noise-reducing metal door that is easy to disassemble and assemble
CN216787548U (en) Architectural decoration energy-saving curtain wall convenient to scrubbing

Legal Events

Date Code Title Description
GR01 Patent grant
GR01 Patent grant
CF01 Termination of patent right due to non-payment of annual fee

Granted publication date: 20211119

CF01 Termination of patent right due to non-payment of annual fee