CN214771065U - A kind of grinding equipment for precision instrument processing - Google Patents

A kind of grinding equipment for precision instrument processing Download PDF

Info

Publication number
CN214771065U
CN214771065U CN202120813579.9U CN202120813579U CN214771065U CN 214771065 U CN214771065 U CN 214771065U CN 202120813579 U CN202120813579 U CN 202120813579U CN 214771065 U CN214771065 U CN 214771065U
Authority
CN
China
Prior art keywords
water tank
conductive sheet
electromagnet
water
fixed
Prior art date
Legal status (The legal status is an assumption and is not a legal conclusion. Google has not performed a legal analysis and makes no representation as to the accuracy of the status listed.)
Expired - Fee Related
Application number
CN202120813579.9U
Other languages
Chinese (zh)
Inventor
李睿哲
孙瑞泽
王子帅
马晓毅
赵俊宏
Current Assignee (The listed assignees may be inaccurate. Google has not performed a legal analysis and makes no representation or warranty as to the accuracy of the list.)
Individual
Original Assignee
Individual
Priority date (The priority date is an assumption and is not a legal conclusion. Google has not performed a legal analysis and makes no representation as to the accuracy of the date listed.)
Filing date
Publication date
Application filed by Individual filed Critical Individual
Priority to CN202120813579.9U priority Critical patent/CN214771065U/en
Application granted granted Critical
Publication of CN214771065U publication Critical patent/CN214771065U/en
Expired - Fee Related legal-status Critical Current
Anticipated expiration legal-status Critical

Links

Images

Landscapes

  • Finish Polishing, Edge Sharpening, And Grinding By Specific Grinding Devices (AREA)

Abstract

本实用新型公开了一种精密仪器加工用打磨设备,包括固定结构和降温结构,开启电机,齿条带动橡皮垫滑动,当第一电导片和第二电导片相接触,这时第一电磁铁和第二电磁铁通电相吸,第一电磁铁带动第四电导片移向第二电磁铁处,第四电导片和电三电导片分离后,第一电路断开,电机停止转动,防止夹持过紧对加工品造成损坏,在降温结构中,开启抽水机,对加工品和打磨机进行冲洗降温,冲洗后水又会经过第一水箱上表面的漏孔流入到第一水箱中,第一水箱与第二水箱通过连通管连通,从而可以实现水的循环利用,节约了水资源,打磨完后将第一水箱上的垃圾经过斜板清扫入固体收集箱中,避免碎屑垃圾对环境的污染。

Figure 202120813579

The utility model discloses a grinding device for precision instrument processing, which comprises a fixing structure and a cooling structure. When a motor is turned on, a rack drives a rubber pad to slide. When a first conductive sheet and a second conductive sheet are in contact, a first electromagnet It is energized and attracted by the second electromagnet. The first electromagnet drives the fourth conductive sheet to move to the second electromagnet. After the fourth conductive sheet and the three electric conductive sheets are separated, the first circuit is disconnected, and the motor stops rotating to prevent clipping. If it is held too tightly, the processed products will be damaged. In the cooling structure, the water pump is turned on to rinse the processed products and the grinder to cool down. After rinsing, the water will flow into the first water tank through the leak holes on the upper surface of the first water tank. The water tank is connected with the second water tank through a connecting pipe, so that water can be recycled and water resources are saved. After grinding, the garbage on the first water tank is swept into the solid collection box through the inclined plate, so as to avoid the environmental impact of debris and garbage. Pollution.

Figure 202120813579

Description

Precision instruments processing is with equipment of polishing
Technical Field
The utility model relates to a processing equipment field of polishing specifically is an equipment of polishing is used in precision instruments processing.
Background
Machine of processing polishing has been indispensable in modern factory, can be better polish the polishing to the article, accelerate production efficiency, equipment of polishing can be used in the course of working of precision instruments, but the current equipment of polishing that is used for precision instruments processing to use, in the use, can not be convenient carry out the centre gripping to the work piece and fix, the dynamics is good when the centre gripping is controlled, the degree of difficulty when having increaseed the operation, work piece and polisher all can produce high temperature when processing is polished, the work piece produces the deformation when serious, play the effect of processing polishing not, also can shorten the life of polisher.
SUMMERY OF THE UTILITY MODEL
An object of the utility model is to provide a precision instruments processing is with equipment of polishing is convenient for fix and cool down the processing to the work piece.
The purpose of the utility model can be realized by the following technical scheme:
a polishing device for machining a precision instrument comprises a U-shaped frame, a wood block, a first slide rail, a second slide rail, a first slide block, a second slide block, a rubber pad, a cooling structure, a first electric conduction sheet, a second electric conduction sheet, a third electric conduction sheet, a fourth electric conduction sheet, a spring, a first electromagnet, a second electromagnet, a motor, a gear, a rack, a baffle, an inclined plate and a solid collecting box, wherein the cooling structure is arranged at the middle position of the U-shaped frame, the wood block is fixed at the bottom of the upper surface of the U-shaped frame, the first slide rail is respectively arranged on the top surfaces of two opposite side walls of the U-shaped frame, two pairs of first slide blocks are buckled on the first slide rail, the two rubber pads are fixed on each pair of the two first slide blocks, one of the rubber pads is connected with the rack in a welding manner, the other rubber pad is connected with the wood block through the spring, the first electric conduction sheet is fixed on the side wall of the other rubber pad, the one end at first slide rail is fixed to the second electric conduction piece, the second slide rail is installed at the billet upper surface, cooperation spiral-lock has the second slider on the second slide rail, second slider upper surface is fixed with fourth electric conduction piece and first electro-magnet, second slide rail both ends are fixed with third electric conduction piece and second electro-magnet, the motor is fixed on U type frame inside wall, install the gear in the pivot of motor, rack and gear intermeshing.
As a further aspect of the present invention: the utility model discloses a cooling structure, including first water tank, second water tank, water pumper, hose, shower nozzle, communicating pipe and small opening, first water tank and second water tank are installed side by side at U type frame intermediate position, the small opening has been seted up at first water tank top, the both ends of communicating pipe communicate with first water tank and second water tank respectively, the water pumper is installed at second water tank side, the water pumper goes out the head end intercommunication of water end and hose, the end that absorbs water of water pumper passes through pipe and second water tank intercommunication, the shower nozzle is installed to the hose tail end, the baffle is fixed around first water tank upper surface, the drain has been seted up to the baffle side, the swash plate is installed to the port department of drain, solid collecting box installs between first water tank and second water tank, the swash plate bottom is erect at solid collecting box top.
As a further aspect of the present invention: the third electrical conductor sheet and the fourth electrical conductor sheet are in the same straight line.
As a further aspect of the present invention: the second electrical conductor sheet is mounted between the first electrical conductor sheet and the wood block.
As a further aspect of the present invention: and the fourth electric conducting sheet and the first electromagnet are fixed on the second sliding block in parallel.
As a further aspect of the present invention: the side wall of the rubber pad is provided with an arc-shaped groove.
As a further aspect of the present invention: two rows of a plurality of weep holes are symmetrically arranged on the top of the first water tank.
As a further aspect of the present invention: the third electric conducting piece and the fourth electric conducting piece are connected in series into a first circuit through a lead, a power supply and a motor, and the first electric conducting piece and the second electric conducting piece are connected in series into a second circuit through the lead and the power supply, the first electromagnet and the second electromagnet.
The utility model has the advantages that the gear on the motor drives the rack to move, when a processed product is clamped between two rubber cushions, the spring can be compressed, when the processed product is continuously compressed, the first electric conducting piece is contacted with the second electric conducting piece, at the moment, the first electromagnet and the second electromagnet are electrified and attracted, the first electromagnet drives the fourth electric conducting piece to move to the second electromagnet, when the fourth electric conducting piece is separated from the third electric conducting piece, the first circuit is disconnected, the motor stops rotating, the processed product is prevented from being damaged due to over-tight clamping, and the arrangement of the spring and the rubber cushions plays a role in buffering the clamping process of the processed product;
in the processing polishing process, fill water in first water tank and the second water tank, open the water pumper, take water out from the second water tank, water is from the shower nozzle spout through the hose, wash the cooling to processing product and polisher, water flows into in the first water tank through the small opening of first water tank upper surface after washing again, after the water level surpassed communicating pipe highly in first water tank, can flow into in the second water tank automatically, thereby can realize the cyclic utilization of a water, the water resource has been practiced thrift, in wasing the solid collecting box with rubbish on the first water tank through the swash plate after polishing, avoid the pollution of piece rubbish to the environment.
Drawings
In order to facilitate understanding for those skilled in the art, the present invention will be further described with reference to the accompanying drawings.
Fig. 1 is an isometric view of the present invention;
FIG. 2 is an overall front view of the present invention;
fig. 3 is a partial cross-sectional view of the present invention;
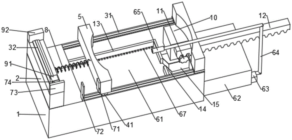
in the figure: 1. a U-shaped frame; 2. wood blocks; 31. a first slide rail; 32. a second slide rail; 41. a first slider; 42. a second slider; 5. a rubber pad; 6. a cooling structure; 61. a first water tank; 62. a second water tank; 63. a water pump; 64. a hose; 65. a spray head; 66. a communicating pipe; 67. a leak hole; 71. a first electrically conductive sheet; 72. a second electrically conductive sheet; 73. a third electrical conductive sheet; 74. a fourth electrical conductive sheet; 8. a spring; 91. a first electromagnet; 92. a second electromagnet; 10. a motor; 11. a gear; 12. a rack; 13. a baffle plate; 14. a sloping plate; 15. and a solid collecting box.
Detailed Description
The technical solution of the present invention will be described clearly and completely with reference to the following embodiments, and it should be understood that the described embodiments are only a part of the embodiments of the present invention, and not all of the embodiments. Based on the embodiments of the present invention, all other embodiments obtained by a person of ordinary skill in the art without creative efforts belong to the protection scope of the present invention.
As shown in fig. 1-3, a polishing device for precision instrument processing comprises a U-shaped frame 1, a wood block 2, a first slide rail 31, a second slide rail 32, a first slide block 41, a second slide block 42, rubber pads 5, a cooling structure 6, a first electric conduction sheet 71, a second electric conduction sheet 72, a third electric conduction sheet 73, a fourth electric conduction sheet 74, a spring 8, a first electromagnet 91, a second electromagnet 92, a motor 10, a gear 11, a rack 12, a baffle 13, an inclined plate 14 and a solid collection box 15, wherein the cooling structure 6 is installed at the middle position of the U-shaped frame 1, the wood block 2 is fixed at the bottom of the upper surface of the U-shaped frame 1, the first slide rail 31 is respectively installed on the top surface of two opposite side walls of the U-shaped frame 1, two pairs of first slide blocks 41 are buckled on the first slide rail 31, two rubber pads 5 are fixed on each pair of the two first slide blocks 41, one rubber pad 5 is connected with the rack 12 by welding, the other rubber pad 5 is connected with the wood block 2 by the spring 8, first electric conduction piece 71 is fixed on the lateral wall of another rubber pad 5, second electric conduction piece 72 is fixed in the one end of first slide rail 31, second slide rail 32 is installed at the billet 2 upper surface, the second slider 42 is equipped with to the cooperation lock on the second slide rail 32, second slider 42 upper surface is fixed with fourth electric conduction piece 74 and first electro-magnet 91, second slide rail 32 both ends are fixed with third electric conduction piece 73 and second electro-magnet 92, motor 10 is fixed on U type frame 1 inside wall, install gear 11 in motor 10's the pivot, rack 12 and gear 11 intermeshing.
The cooling structure 6 comprises a first water tank 61, a second water tank 62, a water pump 63, a hose 64, a spray head 65, a communicating pipe 66 and a leak hole 67, wherein the first water tank 61 and the second water tank 62 are arranged in the middle of the U-shaped frame 1 in parallel, the leak hole 67 is formed in the top of the first water tank 61, two ends of the communicating pipe 66 are respectively communicated with the first water tank 61 and the second water tank 62, the water pump 63 is arranged on the side edge of the second water tank 62, the water outlet end of the water pump 63 is communicated with the head end of the hose 64, the water suction end of the water pump 63 is communicated with the second water tank 62 through a pipe, the spray head 65 is arranged at the tail end of the hose 64, a baffle 13 is fixed around the upper surface of the first water tank 61, a sewage discharge outlet is formed in the side edge of the baffle 13, an inclined plate 14 is arranged on the sewage discharge outlet, a solid collecting box 15 is arranged between the first water tank 61 and the second water tank 62, the bottom of the inclined plate 14 is erected at the top of the solid collecting box 15, and high temperature is generated during polishing of a processed product, the water is used for washing, cooling and cleaning the processed product and the grinding machine, the processed product and the grinding machine are prevented from being damaged by high temperature, solid garbage is swept into the solid collecting box 15 through the inclined plate 14 for treatment, and pollution of the scrap garbage to people and the environment is avoided.
The third electric-conducting piece 73 and the fourth electric-conducting piece 74 are in the same line, and the third electric-conducting piece 73 and the fourth electric-conducting piece 74 can be contacted and separated.
The second electric conduction piece 72 is installed between the first electric conduction piece 71 and the wood block 2, and the first electric conduction piece 71 comes into contact with the second electric conduction piece 72 when the spring 8 is compressed to some extent.
The fourth conducting strip 74 and the first electromagnet 91 are fixed on the second sliding block 42 in parallel, when the first conducting strip 71 and the second conducting strip 72 are contacted, the second circuit is turned on, the first electromagnet 91 drives the fourth conducting strip 74 to move to the second electromagnet 92, after the fourth conducting strip 74 and the third conducting strip 73 are separated, the first circuit is turned off, and the motor 10 stops rotating.
The side wall of the rubber pad 5 is provided with an arc-shaped groove which corresponds to the surface shape of the fixed processed product and can be uniformly stressed.
Two rows of a plurality of small openings 67 have been seted up to first water tank 61 top symmetry, wash the cooling back water and flow into first water tank 61 through small opening 67, and solid particulate matter is blockked at first water tank 61 upper surface.
The third conductive sheet 73 and the fourth conductive sheet 74 are connected in series to form a first circuit through a conducting wire and a power supply and the motor 10, the first conductive sheet 71 and the second conductive sheet 72 are connected in series to form a second circuit through a conducting wire and a power supply and the first electromagnet 91 and the second electromagnet 92, the first conductive sheet 71 is in contact with the second conductive sheet 72, the first electromagnet 91 and the second electromagnet 92 are electrified and attracted, the first electromagnet 91 drives the fourth conductive sheet 74 to move to the second electromagnet 92, and when the fourth conductive sheet 74 is separated from the third conductive sheet 73, the first circuit is disconnected, and the motor 10 stops rotating.
The utility model discloses a theory of operation: the processed product is placed between two rubber pads 5, a first circuit is formed by connecting a third electric conduction sheet 73 and a fourth electric conduction sheet 74 in series through a lead, a power supply and a motor 10, a second circuit is formed by connecting a first electric conduction sheet 71 and a second electric conduction sheet 72 in series through a lead and a power supply with a first electromagnet 91 and a second electromagnet 92, the first circuit is started, a gear 11 on the motor 10 drives a rack 12 to rotate, the rack 12 drives the rubber pads 5 to move, when the processed product is clamped between the two rubber pads 5, pressurization is continued, a spring 8 is compressed, when the first electric conduction sheet 71 is contacted with the second electric conduction sheet 72, the second circuit is started, the first electromagnet 91 drives the fourth electric conduction sheet 74 to move, after the fourth electric conduction sheet 74 is separated from the third electric conduction sheet 73, the first circuit is disconnected, the motor 10 stops rotating, the clamping is prevented from being over-tight and damaging the processed product is prevented, and the arrangement of the spring 8 and the rubber pads 5 has a buffer effect on the clamping process of the processed product, the largest surface of the groove on the surface of the rubber pad 5 is attached to the surface of the processed product, so that the stress is uniform, after the processed product is fixed, the water pump 63 is turned on, the water in the second water tank 62 is sprayed out from the spray head 65 through the hose 64, the processed product and the sander are washed and cooled, the water flowing down flows into the leak hole 67 through the blocking of the baffle 13 and enters the first water tank 61, the first water tank 61 is communicated with the second water tank 62 through the communicating pipe 66, so that the water in the first water tank 61 and the second water tank 62 can be recycled, the ground particle garbage falls to the upper surface of the first water tank 61, and is treated in the solid collection box 15 after being cleaned by the inclined plate 14, the device has ensured the fixed that the processing article both can stabilize to the controllability of centre gripping dynamics, can not impaired advantage again, and cooling structure 6 sets up protection processing article and polisher and can not break down because of being heated, high efficiency's guarantee production quality.
The preferred embodiments of the present invention disclosed above are intended only to help illustrate the present invention. The preferred embodiments are not intended to be exhaustive or to limit the invention to the precise embodiments disclosed. Obviously, many modifications and variations are possible in light of the above teaching. The embodiments were chosen and described in order to best explain the principles of the invention and its practical applications, to thereby enable others skilled in the art to best understand the invention for and utilize the invention. The present invention is limited only by the claims and their full scope and equivalents.

Claims (8)

1.一种精密仪器加工用打磨设备,其特征在于,包括U型架(1)、木块(2)、第一滑轨(31)、第二滑轨(32)、第一滑块(41)、第二滑块(42)、橡皮垫(5)、降温结构(6)、第一电导片(71)、第二电导片(72)、第三电导片(73)、第四电导片(74)、弹簧(8)、第一电磁铁(91)、第二电磁铁(92)、电机(10)、齿轮(11)、齿条(12)、挡板(13)、斜板(14)和固体收集箱(15),所述降温结构(6)安装在U型架(1)中间位置,所述木块(2)固定在U型架(1)上表面底部,所述U型架(1)的相对两侧壁顶面上分别安装第一滑轨(31),所述第一滑轨(31)上扣装有两对第一滑块(41),两所述橡皮垫(5)固定在每对两所述第一滑块(41)上,其中一所述橡皮垫(5)与齿条(12)通过焊接连接,另一所述橡皮垫(5)通过弹簧(8)与木块(2)连接,所述第一电导片(71)固定在另一橡皮垫(5)侧壁上,所述第二电导片(72)固定在第一滑轨(31)的一端,所述第二滑轨(32)安装在木块(2)上表面,所述第二滑轨(32)上配合扣装有第二滑块(42),所述第二滑块(42)上表面固定有第四电导片(74)和第一电磁铁(91),所述第二滑轨(32)两端固定有第三电导片(73)和第二电磁铁(92),所述电机(10)固定在U型架(1)内侧壁上,所述电机(10)的转轴上安装有齿轮(11),所述齿条(12)和齿轮(11)相互啮合。1. A grinding device for precision instrument processing, characterized in that it comprises a U-shaped frame (1), a wooden block (2), a first sliding rail (31), a second sliding rail (32), a first sliding block ( 41), the second slider (42), the rubber pad (5), the cooling structure (6), the first conductivity sheet (71), the second conductivity sheet (72), the third conductivity sheet (73), the fourth conductivity sheet Sheet (74), spring (8), first electromagnet (91), second electromagnet (92), motor (10), gear (11), rack (12), baffle (13), swash plate (14) and a solid collection box (15), the cooling structure (6) is installed in the middle position of the U-shaped frame (1), the wooden block (2) is fixed on the bottom of the upper surface of the U-shaped frame (1), the First sliding rails (31) are respectively installed on the top surfaces of the two opposite side walls of the U-shaped frame (1), and two pairs of first sliding blocks (41) are fastened on the first sliding rails (31). Rubber pads (5) are fixed on each pair of two first sliding blocks (41), one of the rubber pads (5) is connected with the rack (12) by welding, and the other rubber pad (5) is connected by welding The spring (8) is connected to the wooden block (2), the first conductive sheet (71) is fixed on the side wall of the other rubber pad (5), and the second conductive sheet (72) is fixed on the first sliding rail ( 31), the second sliding rail (32) is installed on the upper surface of the wooden block (2), the second sliding rail (32) is fitted with a second sliding block (42), the second A fourth conductive sheet (74) and a first electromagnet (91) are fixed on the upper surface of the slider (42), and a third conductive sheet (73) and a second electromagnet are fixed at both ends of the second slide rail (32). (92), the motor (10) is fixed on the inner wall of the U-shaped frame (1), a gear (11) is installed on the rotating shaft of the motor (10), the rack (12) and the gear (11) mesh with each other. 2.根据权利要求1所述的一种精密仪器加工用打磨设备,其特征在于,所述降温结构(6)包括第一水箱(61)、第二水箱(62)、抽水机(63)、软管(64)、喷头(65)、连通管(66)和漏孔(67),所述第一水箱(61)和第二水箱(62)并列安装在U型架(1)中间位置,所述第一水箱(61)顶部开设有漏孔(67),所述连通管(66)的两端分别与第一水箱(61)和第二水箱(62)连通,所述抽水机(63)安装在第二水箱(62)侧边,所述抽水机(63)出水端与软管(64)的首端连通,所述抽水机(63)的吸水端通过导管与第二水箱(62)连通,所述软管(64)尾端安装有喷头(65),所述挡板(13)固定在第一水箱(61)上表面四周,所述挡板(13)侧边开设有排污口,所述排污口的端口处安装有斜板(14),所述固体收集箱(15)安装在第一水箱(61)和第二水箱(62)之间,所述斜板(14)底部架设在固体收集箱(15)顶部。2 . The grinding device for precision instrument processing according to claim 1 , wherein the cooling structure ( 6 ) comprises a first water tank ( 61 ), a second water tank ( 62 ), a water pump ( 63 ), a soft Pipe (64), spray head (65), communication pipe (66) and leak hole (67), the first water tank (61) and the second water tank (62) are installed side by side in the middle position of the U-shaped frame (1), so The top of the first water tank (61) is provided with a leak hole (67), the two ends of the communication pipe (66) are respectively communicated with the first water tank (61) and the second water tank (62), and the water pump (63) is installed On the side of the second water tank (62), the water outlet end of the water pump (63) communicates with the head end of the hose (64), and the suction end of the water pump (63) communicates with the second water tank (62) through a conduit, so A spray head (65) is installed at the rear end of the hose (64), the baffle plate (13) is fixed around the upper surface of the first water tank (61), the baffle plate (13) is provided with a sewage outlet on the side, and the A sloping plate (14) is installed at the port of the sewage outlet, the solid collecting tank (15) is installed between the first water tank (61) and the second water tank (62), and the bottom of the sloping plate (14) is erected on the solid Collection box (15) top. 3.根据权利要求1所述的一种精密仪器加工用打磨设备,其特征在于,所述第三电导片(73)和第四电导片(74)在同一直线上。3 . The grinding device for precision instrument processing according to claim 1 , wherein the third conductive sheet ( 73 ) and the fourth conductive sheet ( 74 ) are on the same straight line. 4 . 4.根据权利要求1所述的一种精密仪器加工用打磨设备,其特征在于,所述第二电导片(72)安装在第一电导片(71)和木块(2)之间。4 . The grinding device for precision instrument processing according to claim 1 , wherein the second conductive sheet ( 72 ) is installed between the first conductive sheet ( 71 ) and the wooden block ( 2 ). 5 . 5.根据权利要求1所述的一种精密仪器加工用打磨设备,其特征在于,所述第四电导片(74)和第一电磁铁(91)并列固定在第二滑块(42)上。5 . The grinding device for precision instrument processing according to claim 1 , wherein the fourth conductive sheet ( 74 ) and the first electromagnet ( 91 ) are fixed side by side on the second slider ( 42 ). 6 . . 6.根据权利要求1所述的一种精密仪器加工用打磨设备,其特征在于,所述橡皮垫(5)侧壁开设有弧形凹槽。6 . The grinding device for precision instrument processing according to claim 1 , wherein an arc-shaped groove is formed on the side wall of the rubber pad ( 5 ). 7 . 7.根据权利要求2所述的一种精密仪器加工用打磨设备,其特征在于,所述第一水箱(61)顶部对称开设有两排若干漏孔(67)。7 . The grinding device for precision instrument processing according to claim 2 , wherein the top of the first water tank ( 61 ) is symmetrically provided with two rows of several leak holes ( 67 ). 8 . 8.根据权利要求1所述的一种精密仪器加工用打磨设备,其特征在于,所述第三电导片(73)和第四电导片(74)通过导线、电源和电机(10)串联成第一电路,所述第一电导片(71)、第二电导片(72)通过导线和电源与第一电磁铁(91)、第二电磁铁(92)串联成第二电路。8 . The grinding device for precision instrument processing according to claim 1 , wherein the third conductive sheet ( 73 ) and the fourth conductive sheet ( 74 ) are connected in series by a wire, a power supply and a motor ( 10 ). 9 . In the first circuit, the first conductive sheet (71) and the second conductive sheet (72) are connected in series with the first electromagnet (91) and the second electromagnet (92) through wires and a power supply to form a second circuit.
CN202120813579.9U 2021-04-20 2021-04-20 A kind of grinding equipment for precision instrument processing Expired - Fee Related CN214771065U (en)

Priority Applications (1)

Application Number Priority Date Filing Date Title
CN202120813579.9U CN214771065U (en) 2021-04-20 2021-04-20 A kind of grinding equipment for precision instrument processing

Applications Claiming Priority (1)

Application Number Priority Date Filing Date Title
CN202120813579.9U CN214771065U (en) 2021-04-20 2021-04-20 A kind of grinding equipment for precision instrument processing

Publications (1)

Publication Number Publication Date
CN214771065U true CN214771065U (en) 2021-11-19

Family

ID=78688015

Family Applications (1)

Application Number Title Priority Date Filing Date
CN202120813579.9U Expired - Fee Related CN214771065U (en) 2021-04-20 2021-04-20 A kind of grinding equipment for precision instrument processing

Country Status (1)

Country Link
CN (1) CN214771065U (en)

Cited By (1)

* Cited by examiner, † Cited by third party
Publication number Priority date Publication date Assignee Title
CN114160518A (en) * 2021-12-01 2022-03-11 凌溪(苏州)机械科技有限公司 Fluid circulation washing machine for metal inner hole

Cited By (2)

* Cited by examiner, † Cited by third party
Publication number Priority date Publication date Assignee Title
CN114160518A (en) * 2021-12-01 2022-03-11 凌溪(苏州)机械科技有限公司 Fluid circulation washing machine for metal inner hole
CN114160518B (en) * 2021-12-01 2023-03-14 凌溪(苏州)机械科技有限公司 Fluid circulation washing machine for metal inner hole

Similar Documents

Publication Publication Date Title
CN108480280A (en) A kind of solar energy photovoltaic panel cleaning device
CN214771065U (en) A kind of grinding equipment for precision instrument processing
CN219130261U (en) Cleaning robot applied to photovoltaic panel
CN217165580U (en) Scrap collecting device for polishing of silicon carbide wafer
CN215301055U (en) Quick glue residue removing equipment for circuit board production
CN213147279U (en) Flux cored wire brush drying equipment for copper facing
CN209379541U (en) A kind of pcb board cleaning machine
CN209490572U (en) A kind of filter cloth brushing cleaner
CN211802707U (en) Belt cleaning device is used in lens processing
CN209697541U (en) Spare part belt cleaning device is used in processing of intelligent robot
CN209379513U (en) A kind of electric automatization cleaning device
CN209393610U (en) A kind of novel glass washing drying device
CN112779587A (en) Diamond cut line electroplating conductive device with self-cleaning function
CN212491752U (en) Cleaning device of filter press
CN215713074U (en) Environment-friendly suede furniture leather dust removal device without coating
CN213223376U (en) Cable cleaning and maintaining device for power engineering
CN213196957U (en) Metal polishing device capable of being cleaned
CN213468803U (en) Can retrieve clastic hardware fitting cleaning equipment of five metals
CN210230745U (en) Cleaning device for automobile foot pad
CN210757020U (en) Surface rust cleaning device for automobile parts
CN211027191U (en) Belt cleaning device is used in toughened glass production
CN209186575U (en) A kind of washroom cleaning device
CN220825195U (en) Effectual belt cleaning device
CN221936214U (en) A processing and polishing device for the edge of a 5G communication router shell
CN214289530U (en) Electronic component cleaning device for mechano-electronic engineering

Legal Events

Date Code Title Description
GR01 Patent grant
GR01 Patent grant
CF01 Termination of patent right due to non-payment of annual fee

Granted publication date: 20211119

CF01 Termination of patent right due to non-payment of annual fee