CN214762240U - A cooking pot for extracting traditional chinese medicine active ingredient - Google Patents

A cooking pot for extracting traditional chinese medicine active ingredient Download PDF

Info

Publication number
CN214762240U
CN214762240U CN202023030709.6U CN202023030709U CN214762240U CN 214762240 U CN214762240 U CN 214762240U CN 202023030709 U CN202023030709 U CN 202023030709U CN 214762240 U CN214762240 U CN 214762240U
Authority
CN
China
Prior art keywords
traditional chinese
chinese medicine
tank body
extracting
steaming
Prior art date
Legal status (The legal status is an assumption and is not a legal conclusion. Google has not performed a legal analysis and makes no representation as to the accuracy of the status listed.)
Expired - Fee Related
Application number
CN202023030709.6U
Other languages
Chinese (zh)
Inventor
张磊
何振华
赵冰之
Current Assignee (The listed assignees may be inaccurate. Google has not performed a legal analysis and makes no representation or warranty as to the accuracy of the list.)
Yingshang Mikes Pressure Vessel Co ltd
Original Assignee
Yingshang Mikes Pressure Vessel Co ltd
Priority date (The priority date is an assumption and is not a legal conclusion. Google has not performed a legal analysis and makes no representation as to the accuracy of the date listed.)
Filing date
Publication date
Application filed by Yingshang Mikes Pressure Vessel Co ltd filed Critical Yingshang Mikes Pressure Vessel Co ltd
Priority to CN202023030709.6U priority Critical patent/CN214762240U/en
Application granted granted Critical
Publication of CN214762240U publication Critical patent/CN214762240U/en
Expired - Fee Related legal-status Critical Current
Anticipated expiration legal-status Critical

Links

Images

Landscapes

  • Commercial Cooking Devices (AREA)

Abstract

本实用新型提供一种用于提取中药有效成分的蒸煮罐。所述用于提取中药有效成分的蒸煮罐包括罐体;密封盖,所述密封盖铰接安装在所述罐体的顶部;开盖机构,所述开盖机构设置在所述罐体和所述密封盖上;两个加热箱,两个所述加热箱分别固定安装在所述罐体的两侧内壁上,且两个所述加热箱呈对称设置;电机,所述电机固定安装在所述罐体的底部内壁上;支撑板,所述支撑板固定安装在所述罐体的内部;转动杆,所述转动杆转动安装在所述支撑板上,且所述转动杆的一端与所述电机的输出轴之间固定安装。本实用新型提供的用于提取中药有效成分的蒸煮罐具有开盖起来比较的安全,可以对中药均匀加热,使其不易糊底,提取效率高,且省时省力的优点。

Figure 202023030709

The utility model provides a cooking tank for extracting effective components of traditional Chinese medicine. The cooking tank for extracting the active ingredients of traditional Chinese medicine comprises a tank body; a sealing cover, which is hingedly installed on the top of the tank body; and a cover opening mechanism, which is arranged on the tank body and the sealing cover; two heating boxes, which are respectively fixed on the inner walls of the two sides of the tank body, and the two heating boxes are arranged symmetrically; a motor, which is fixedly installed on the inner wall of the tank on the bottom inner wall of the tank body; a support plate, the support plate is fixedly installed inside the tank body; a rotation rod, the rotation rod is rotatably installed on the support plate, and one end of the rotation rod is connected to the Fixed installation between the output shafts of the motor. The cooking pot for extracting the effective components of the traditional Chinese medicine provided by the utility model has the advantages of relatively safe opening of the cover, uniform heating of the traditional Chinese medicine, making it difficult to stick to the bottom, high extraction efficiency, and saving time and effort.

Figure 202023030709

Description

A cooking pot for extracting traditional chinese medicine active ingredient
Technical Field
The utility model relates to a traditional chinese medicine draws technical field, especially relates to a digester for drawing traditional chinese medicine active ingredient.
Background
The boiling pot is also called as boiling pot, is mainly used for uniformly stirring and storing the drink, the milk product, the sugar, the medicine and other elements and various medicines after being matched, is indispensable equipment for manufacturing the drink, the milk product and the eight-treasure porridge and pharmaceutical manufacturers, and can also be used for boiling various meat foods which are not easy to be boiled thoroughly.
The chinese-medicinal material indicates the primitive medicinal material who uses under chinese traditional medicine art guides for the treatment of disease, and its active ingredient is generally extracted through cooking to the chinese traditional medicine, and traditional chinese-medicinal material is cooked through the earthenware pot and is decocte on the stove, and comparative waste time and energy and inefficiency, traditional chinese medicine are heated also inhomogeneous at the in-process of cooking, stick with paste the end very easily, and can not be fine collect the dregs of a decoction, the in-process of uncapping, also very easily by the problem of lid scald.
Therefore, there is a need to provide a new cooking pot for extracting effective ingredients of traditional Chinese medicine to solve the above technical problems.
SUMMERY OF THE UTILITY MODEL
The utility model provides a technical problem provide a safety that the comparison was got up to uncap, can be to traditional chinese medicine even heating, make it be difficult for sticking with paste the end, extraction efficiency is high, and labour saving and time saving's the cooking pot that is used for extracting traditional chinese medicine active ingredient.
In order to achieve the above object, the technical solution of the present invention is specifically realized as follows:
the utility model provides a cooking pot for extracting effective components of traditional Chinese medicine, include: a tank body; the sealing cover is hinged to the top of the tank body; the cover opening mechanism is arranged on the tank body and the sealing cover; the two heating boxes are fixedly arranged on the inner walls of the two sides of the tank body respectively and are symmetrically arranged; the motor is fixedly arranged on the inner wall of the bottom of the tank body; the supporting plate is fixedly arranged inside the tank body; the rotating rod is rotatably arranged on the supporting plate, and one end of the rotating rod is fixedly arranged between the output shaft of the motor and the rotating rod; the two steaming barrels are fixedly arranged on two sides of the rotating rod respectively, and are symmetrically arranged; the two steaming drawer plates are fixedly arranged inside the two steaming barrels respectively; and the two fixing mechanisms are respectively arranged at the tops of the two steaming barrels.
As a further scheme of the utility model, the mechanism of uncapping includes first L type support, fixed block, bracing piece and push rod motor, first L type support fixed mounting be in the top of sealed lid, the fixed block fixed mounting be in on one side outer wall of the jar body, the one end of bracing piece is articulated to be installed on the fixed block, push rod motor fixed mounting be in the other end of bracing piece, just the output shaft of push rod motor with articulated connection between the first L type support.
As a further aspect of the utility model, fixed establishment includes second L type support, threaded rod and non slipping spur, second L type rotate bracket mounting is in the top of steaming bucket, the threaded rod screw thread is installed on the second L type support, non slipping spur fixed mounting is in the bottom of threaded rod.
As a further proposal of the utility model, the top of the steamer tray plate is provided with a traditional Chinese medicine cage, just a plurality of small holes are opened on the traditional Chinese medicine cage.
As a further aspect of the present invention, two the inside of the heating box is provided with a heater.
As a further aspect of the utility model, two the equal fixed mounting in bottom of steaming kier has the supporting leg, and two the equal fixed mounting in bottom of supporting leg has the ball, circular spout has been seted up at the top of backup pad, just circular spout with sliding connection between the ball.
As a further proposal of the utility model, a plurality of first through holes are arranged on the steamer tray plate, and a plurality of second through holes are arranged on the steaming barrel.
The utility model provides a digester for drawing traditional chinese medicine active ingredient, beneficial effect lies in:
the traditional Chinese medicine cage filled with traditional Chinese medicines is placed on the steamer tray plate, the threaded rod is rotated, the threaded rod drives the anti-slip block to move until the anti-slip block moves onto the traditional Chinese medicine cage, and the traditional Chinese medicine cage is limited and fixed, so that the traditional Chinese medicine cage can be prevented from falling off when rotating;
the heater and the motor are started, the traditional Chinese medicine cage drives the internal traditional Chinese medicine to rotate, so that the traditional Chinese medicine is heated uniformly, the cooking efficiency is further improved, the traditional Chinese medicine is not easy to stick out due to the rotation of the traditional Chinese medicine, the traditional Chinese medicine cage can be directly lifted after the cooking is finished, and the internal medicine residues are also retained in the traditional Chinese medicine cage and are collected together;
when sealing lid need be opened, can start the push rod motor, open the open-top of the jar body, be convenient for get the material, also reduced the risk of being scalded.
Drawings
In order to more clearly illustrate the technical solutions of the embodiments of the present invention, the drawings used in the description of the embodiments will be briefly described below, and it is obvious that the drawings in the description below are only some embodiments of the present invention, and it is obvious for those skilled in the art that other drawings can be obtained according to these drawings without creative efforts.
FIG. 1 is a schematic structural diagram of a preferred embodiment of a cooking pot for extracting effective components of Chinese herbs according to the present invention;
FIG. 2 is an enlarged view of portion A of FIG. 1;
fig. 3 is an enlarged schematic view of a portion B shown in fig. 1.
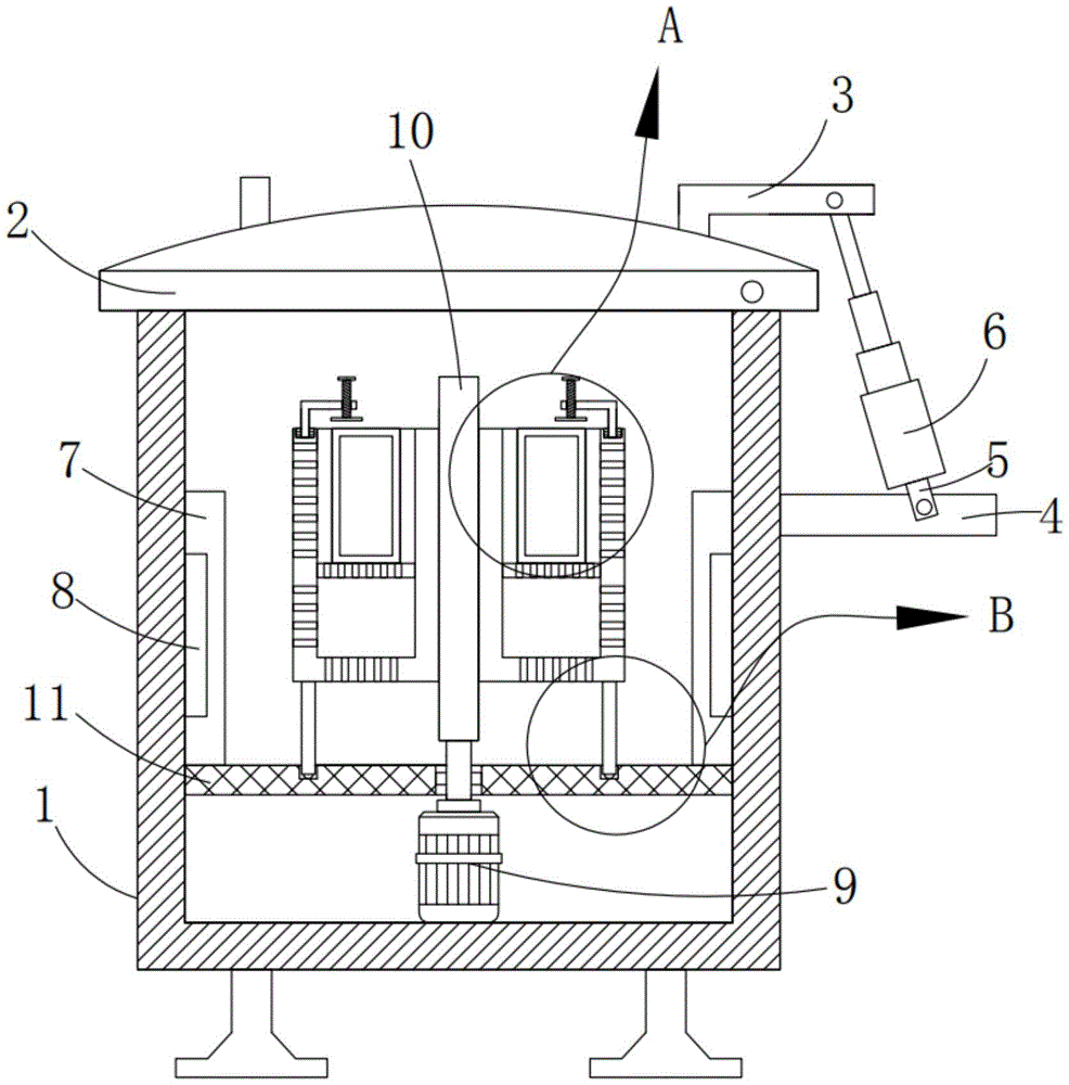
Reference numbers in the figures: 1. a tank body; 2. a sealing cover; 3. a first L-shaped bracket; 4. a fixed block; 5. a support bar; 6. a push rod motor; 7. a heating box; 8. a heater; 9. a motor; 10. rotating the rod; 11. a support plate; 12. steaming the barrel; 13. steaming the drawer plate; 14. a traditional Chinese medicine cage; 15. a second L-shaped bracket; 16. a threaded rod; 17. anti-skid blocks; 18. and (5) supporting legs.
Detailed Description
Exemplary embodiments of the present disclosure will be described in more detail below with reference to the accompanying drawings. While exemplary embodiments of the present disclosure are shown in the drawings, it should be understood that the present disclosure may be embodied in various forms and should not be limited to the embodiments set forth herein. Rather, these embodiments are provided so that this disclosure will be thorough and complete, and will fully convey the scope of the disclosure to those skilled in the art.
Referring to fig. 1-3, a cooking pot for extracting effective ingredients of traditional Chinese medicine provided by the embodiment of the present invention comprises: a tank body 1; the sealing cover 2 is hinged to the top of the tank body 1; the cover opening mechanism is arranged on the tank body 1 and the sealing cover 2; the two heating boxes 7 are respectively and fixedly arranged on the inner walls of the two sides of the tank body 1, and the two heating boxes 7 are symmetrically arranged; the motor 9, the said motor 9 is fixedly mounted on the bottom inboard wall of the said tank body 1; the supporting plate 11 is fixedly arranged inside the tank body 1; the rotating rod 10 is rotatably installed on the supporting plate 11, and one end of the rotating rod 10 is fixedly installed between an output shaft of the motor 9; the two steaming barrels 12 are respectively and fixedly arranged at two sides of the rotating rod 10, and the two steaming barrels 12 are symmetrically arranged; the two steaming drawer plates 13 are respectively and fixedly arranged inside the two steaming barrels 12; and the two fixing mechanisms are respectively arranged at the tops of the two steaming barrels 12.
Uncap the mechanism and include first L type support 3, fixed block 4, bracing piece 5 and push rod motor 6, 3 fixed mounting of first L type support are in the top of sealed lid 2, 4 fixed mounting of fixed block are in on one side outer wall of jar body 1, the one end of bracing piece 5 is articulated to be installed on the fixed block 4, push rod motor 6 fixed mounting be in the other end of bracing piece 5, just push rod motor 6's output shaft with articulated connection between the first L type support 3 can realize electronic uncapping through uncapping the mechanism, need not people manual operation like this, is difficult for being scalded by steam, and is safer.
The fixing mechanism comprises a second L-shaped support 15, a threaded rod 16 and an anti-slip block 17, the second L-shaped support 15 is rotatably installed at the top of the steaming barrel 12, the threaded rod 16 is installed on the second L-shaped support 15 in a threaded mode, the anti-slip block 17 is fixedly installed at the bottom end of the threaded rod 16, the traditional Chinese medicine cage 14 can be fixed through the fixing mechanism, and falling is prevented.
The top of steamer tray 13 is provided with traditional chinese medicine cage 14, just a plurality of apertures have been seted up on traditional chinese medicine cage 14, can be convenient cook through traditional chinese medicine cage 14.
Two the inside of heating cabinet 7 all is provided with heater 8, can heat water through heater 8 and form steam, realizes cooking.
Two equal fixed mounting in bottom of steaming bucket 12 has supporting leg 18, and two the equal fixed mounting in bottom of supporting leg 18 has the ball, circular spout has been seted up at the top of backup pad 11, just circular spout with sliding connection between the ball, supporting leg 18 can realize supporting, improves stability.
A plurality of first through holes are formed in the steam drawer plate 13, a plurality of second through holes are formed in the steam barrel 12, the first through holes and the second through holes can be breathable, and the steam cooking is more uniform.
The utility model provides a working principle of a cooking pot for extracting effective ingredients of traditional Chinese medicine is as follows:
an air valve is arranged on the sealing cover 2 and used for exhausting air, firstly, a traditional Chinese medicine cage 14 filled with traditional Chinese medicines is placed on a steaming drawer plate 13, after a second L-shaped support 15 is rotated to reach a proper position, a threaded rod 16 is rotated, the threaded rod 16 drives an anti-skid block 17 to move until the anti-skid block 17 moves to the traditional Chinese medicine cage 14, the limiting and the fixing are carried out, after the fixing is carried out, water is added into the tank body 1 to enable the tank body 1 to reach a proper water level, then the sealing cover 2 is sealed, a heater 8 and a motor 9 are started, the heater 8 heats and boils water, the motor 9 drives a rotating rod 10 to rotate, the rotating rod 10 drives a steaming barrel 12 to rotate, the steaming barrel 12 drives the steaming drawer plate 13 to rotate, the steaming drawer plate 13 drives the traditional Chinese medicine cage 14 to rotate, the traditional Chinese medicines in the traditional Chinese medicine cage 14 are driven to rotate, the traditional Chinese medicines are heated uniformly, the steaming efficiency is further improved, the traditional Chinese medicines are not easy to cause bottom pasting, after the steaming is finished, the traditional Chinese medicine cage 14 can be directly lifted out, and the internal medicine dregs also stay in the traditional Chinese medicine cage 14 to be collected together;
when sealing lid 2 is opened to needs, can start push rod motor 6, push rod motor 6 drives the motion of first L type support 3, and first L type support 3 drives the motion of sealed lid 2, is convenient for get the material until the open-top of jar body 1 is opened, has also reduced the risk of being scalded.
Compared with the prior art, the utility model provides a cooking pot for extracting traditional chinese medicine active ingredient has following beneficial effect:
the utility model provides a cooking pot for extracting effective components of traditional Chinese medicine, a traditional Chinese medicine cage 14 filled with traditional Chinese medicine is placed on a steamer tray plate 13, a threaded rod 16 is rotated, the threaded rod 16 drives an anti-skid block 17 to move until the anti-skid block 17 moves to the traditional Chinese medicine cage 14, and the traditional Chinese medicine cage 14 is limited and fixed, so that the traditional Chinese medicine cage 14 can be prevented from falling off during rotation;
the heater 8 and the motor 9 are started, the traditional Chinese medicine cage 14 drives the traditional Chinese medicine inside to rotate, so that the traditional Chinese medicine is heated uniformly, the cooking efficiency is further improved, the traditional Chinese medicine is not easy to stick to the bottom when the traditional Chinese medicine rotates, the traditional Chinese medicine cage 14 can be directly lifted after the cooking is finished, and the medicine residues inside are also retained in the traditional Chinese medicine cage 14 and collected together;
when sealing lid 2 is opened to needs, can start push rod motor 6, the open-top of jar body 1 is opened, is convenient for get the material, has also reduced the risk of being scalded.
The above are merely examples of the present application and are not intended to limit the present application. Various modifications and changes may occur to those skilled in the art. Any modification, equivalent replacement, improvement, etc. made within the spirit and principle of the present application should be included in the scope of the claims of the present application.

Claims (7)

1. A digester for extracting effective ingredients of traditional Chinese medicine, which is characterized by comprising:
a tank body;
the sealing cover is hinged to the top of the tank body;
the cover opening mechanism is arranged on the tank body and the sealing cover;
the two heating boxes are fixedly arranged on the inner walls of the two sides of the tank body respectively and are symmetrically arranged;
the motor is fixedly arranged on the inner wall of the bottom of the tank body;
the supporting plate is fixedly arranged inside the tank body;
the rotating rod is rotatably arranged on the supporting plate, and one end of the rotating rod is fixedly arranged between the output shaft of the motor and the rotating rod;
the two steaming barrels are fixedly arranged on two sides of the rotating rod respectively, and are symmetrically arranged;
the two steaming drawer plates are fixedly arranged inside the two steaming barrels respectively;
and the two fixing mechanisms are respectively arranged at the tops of the two steaming barrels.
2. The digester for extracting active ingredients of traditional Chinese medicines according to claim 1, wherein the lid opening mechanism includes a first L-shaped bracket, a fixing block, a support rod and a push rod motor, the first L-shaped bracket is fixedly mounted on the top of the sealing lid, the fixing block is fixedly mounted on the outer wall of one side of the tank body, one end of the support rod is hinged to the fixing block, the push rod motor is fixedly mounted on the other end of the support rod, and an output shaft of the push rod motor is hinged to the first L-shaped bracket.
3. The digester for extracting traditional Chinese medicine active ingredients as claimed in claim 1, wherein the fixing mechanism includes a second L-shaped bracket, a threaded rod and a non-slip block, the second L-shaped bracket is rotatably mounted on the top of the steaming barrel, the threaded rod is threadedly mounted on the second L-shaped bracket, and the non-slip block is fixedly mounted on the bottom end of the threaded rod.
4. The cooking pot for extracting effective ingredients of traditional Chinese medicines according to claim 1, wherein a traditional Chinese medicine cage is arranged at the top of the steamer tray plate, and a plurality of small holes are formed in the traditional Chinese medicine cage.
5. The digester for extracting active ingredients of traditional Chinese medicine according to claim 1, wherein a heater is provided inside both of the heating boxes.
6. The digester for extracting active ingredients of traditional Chinese medicine according to claim 1, wherein the bottom of each of the two steamers is fixedly mounted with a support leg, the bottom of each of the two support legs is fixedly mounted with a ball, the top of the support plate is provided with a circular chute, and the circular chute is slidably connected with the ball.
7. The digester for extracting active ingredients of traditional Chinese medicine according to claim 1, wherein the steamer tray plate is provided with a plurality of first through holes, and the steaming barrel is provided with a plurality of second through holes.
CN202023030709.6U 2020-12-16 2020-12-16 A cooking pot for extracting traditional chinese medicine active ingredient Expired - Fee Related CN214762240U (en)

Priority Applications (1)

Application Number Priority Date Filing Date Title
CN202023030709.6U CN214762240U (en) 2020-12-16 2020-12-16 A cooking pot for extracting traditional chinese medicine active ingredient

Applications Claiming Priority (1)

Application Number Priority Date Filing Date Title
CN202023030709.6U CN214762240U (en) 2020-12-16 2020-12-16 A cooking pot for extracting traditional chinese medicine active ingredient

Publications (1)

Publication Number Publication Date
CN214762240U true CN214762240U (en) 2021-11-19

Family

ID=78711471

Family Applications (1)

Application Number Title Priority Date Filing Date
CN202023030709.6U Expired - Fee Related CN214762240U (en) 2020-12-16 2020-12-16 A cooking pot for extracting traditional chinese medicine active ingredient

Country Status (1)

Country Link
CN (1) CN214762240U (en)

Similar Documents

Publication Publication Date Title
CN105996728B (en) Food cooker and the food cooker for automating processed food
CN208956918U (en) Food halogen pot
CN205461122U (en) Take agitating unit's tilting -type traditional chinese medicine cooking kettle
CN107981739A (en) A kind of oven
CN104856585A (en) Full-automatic baby food maker
CN204931280U (en) A kind of dinner table with Liftable type steamed tool
CN214762240U (en) A cooking pot for extracting traditional chinese medicine active ingredient
CN207323280U (en) An intelligent multi-functional electric oven cooking rice cooker
CN111728869A (en) Tilting-type chinese-medicinal material boiling pan
CN208582189U (en) A kind of electric cooker convenient for interior pot of taking
CN110946465A (en) Tilting draining type electric cooker
CN207520002U (en) A kind of food steamer of drum-type thermally equivalent
CN201564790U (en) Traditional Chinese medicine frying and roasting equipment
CN212997468U (en) Cooking device that chinese-medicinal material was used
CN211157355U (en) A new type of traditional Chinese medicine steamer
CN211497537U (en) Tea-oil camellia seed parch is smashed and is cooked machine
CN222130599U (en) Medicine steaming device for processing prepared rehmannia root
CN208823458U (en) a cooking pot
CN208524666U (en) A kind of full-automatic infant supplemental food machine
CN221787407U (en) Plant component extracting and steaming device for processing traditional Chinese medicine health products
CN209031102U (en) Parched rice frying pot
CN212140943U (en) Medicine decocting pot convenient for pouring out medicine liquid
CN208300891U (en) A kind of permeability type prawn machining cooking case
CN215583841U (en) Health-preserving Chinese herbal medicine Chinese fevervine herb noodle food cooking steam type energy-saving pot and stove
CN221410988U (en) Vertical high-temperature high-pressure beef bone soup pot

Legal Events

Date Code Title Description
GR01 Patent grant
GR01 Patent grant
CF01 Termination of patent right due to non-payment of annual fee
CF01 Termination of patent right due to non-payment of annual fee

Granted publication date: 20211119