CN214739074U - Novel anti-seismic curtain wall - Google Patents
Novel anti-seismic curtain wall Download PDFInfo
- Publication number
- CN214739074U CN214739074U CN202120430441.0U CN202120430441U CN214739074U CN 214739074 U CN214739074 U CN 214739074U CN 202120430441 U CN202120430441 U CN 202120430441U CN 214739074 U CN214739074 U CN 214739074U
- Authority
- CN
- China
- Prior art keywords
- curtain
- curtain wall
- groove
- cavity
- wall
- Prior art date
- Legal status (The legal status is an assumption and is not a legal conclusion. Google has not performed a legal analysis and makes no representation as to the accuracy of the status listed.)
- Expired - Fee Related
Links
- 239000002184 metal Substances 0.000 claims abstract description 46
- 239000000463 material Substances 0.000 claims description 5
- 229910000831 Steel Inorganic materials 0.000 claims description 3
- 239000010959 steel Substances 0.000 claims description 3
- 238000013461 design Methods 0.000 abstract description 2
- 230000009286 beneficial effect Effects 0.000 abstract 1
- 230000000694 effects Effects 0.000 abstract 1
- 238000005516 engineering process Methods 0.000 description 7
- 238000011161 development Methods 0.000 description 5
- 239000011435 rock Substances 0.000 description 4
- 230000008901 benefit Effects 0.000 description 3
- 238000000034 method Methods 0.000 description 3
- 230000004048 modification Effects 0.000 description 3
- 238000012986 modification Methods 0.000 description 3
- 230000008569 process Effects 0.000 description 2
- 230000005540 biological transmission Effects 0.000 description 1
- 239000004566 building material Substances 0.000 description 1
- 230000008859 change Effects 0.000 description 1
- 238000004891 communication Methods 0.000 description 1
- 230000007547 defect Effects 0.000 description 1
- 238000006073 displacement reaction Methods 0.000 description 1
- 238000009434 installation Methods 0.000 description 1
- 239000011810 insulating material Substances 0.000 description 1
- 230000035939 shock Effects 0.000 description 1
Images
Landscapes
- Load-Bearing And Curtain Walls (AREA)
Abstract
The utility model discloses a novel antidetonation curtain, concretely relates to curtain antidetonation technical field, including curtain, curtain skeleton, slider, fixed bolster and wall body, curtain skeleton left side fixed connection curtain, curtain skeleton right side sliding connection slider, slider right side fixed connection fixed bolster, fixed bolster right side fixed connection wall, slider includes the tubular metal resonator, the tubular metal resonator left end is equipped with the cavity, the fixed lid of cavity left end threaded connection, fixed lid inner wall top and cavity left end closely link to each other, the beneficial effects of the utility model are that: design science, easy operation, the effort around the curtain receives is offset in the front and back slip of the last gleitbretter through slider, and the effort about the curtain receives is offset in reciprocating in the fixed bolster recess through the last semicircle of slider to realize that the curtain has the antidetonation effect.
Description
Technical Field
The utility model relates to an antidetonation curtain technical field, concretely relates to novel antidetonation curtain.
Background
The building curtain wall is a product of building technology development, is an external enclosure structure integrating building technology and building art, and has a long development history internationally. Compared with developed countries, the development of the building curtain wall industry of China is late, the building curtain wall industry of China is started until 1983, however, under the condition that the urbanization process is accelerated, the building curtain wall industry of China is developed rapidly, the building curtain wall industry becomes the first world producing and using major countries of the world by the beginning of the 21 st century, the building curtain wall industry is developed vigorously and developed to the new technology aspect of high and new technology buildings, and with the development of technologies and material technologies, new materials, new processes and new methods are gradually applied to the building industry, so that the building has intelligent facilities, safety precaution, data transmission and communication facilities; in addition, more building materials are made of waterproof heat-insulating materials, the wall body is more novel in design, and the development and utilization of energy of buildings also reflect the technological progress.
The prior art has the following defects: the existing curtain wall is complex in structure and complex in installation, the curtain wall is directly fixed on the outer wall of a building, and when strong wind or an earthquake occurs, the curtain wall is connected with the outer wall of the building and does not have certain deformation resistance, so that the curtain wall is easy to fall off or break. Therefore, a novel anti-seismic curtain wall is needed.
SUMMERY OF THE UTILITY MODEL
Therefore, the embodiment of the utility model provides a novel antidetonation curtain connects the curtain through the curtain skeleton, and the curtain skeleton is connected with slider again, and when the curtain received external force to produce when rocking, slider can be slow removal under the protection of spring and attenuator to the external force that the curtain received is offset in the solution, and the integrality of protection curtain makes the curtain have the shock resistance.
In order to achieve the above object, the embodiment of the present invention provides a novel anti-seismic curtain wall, comprising a curtain wall, a curtain wall skeleton, a sliding device, a fixed support and a wall body, wherein the curtain wall is fixedly connected on the left side of the curtain wall skeleton, the sliding device is slidably connected on the right side of the curtain wall skeleton, the fixed support is fixedly connected on the right side of the sliding device, the fixed support is fixedly connected on the right side of the fixed support, the sliding device comprises a metal tube, a cavity is arranged at the left end of the metal tube, the left end of the cavity is connected with a fixed cover by screw threads, when the cavity is connected with the fixed cover, the top end of the inner wall of the fixed cover is tightly connected with the left end of the cavity, the right end of the metal tube is provided with a round shaft, one end of the round shaft is provided with a semicircle, the upper end and the lower end of the cavity are respectively provided with a sliding chute I, the left side and the right side of the inner wall of the cavity are respectively fixedly provided with a spring, the sliding chute I is inserted, the sliding sheet passes through the cavity through the first sliding groove and is inserted between the two groups of springs.
Preferably, the fixed bolster includes the metal block, metal block left side upper end is equipped with recess one, recess one side is equipped with sliding tray three, recess one inner wall top fixed mounting spring, recess one inner wall below fixed mounting attenuator, little metal block is connected to the attenuator top, the semicircle is connected to little metal block top, metal block left side lower extreme is equipped with recess two, two one sides of recess are equipped with sliding tray two, two tops of recess are equipped with the passageway, the passageway lets the semicircle enter into recess two, semicircle one end is equipped with the back shaft, back shaft fixed connection bracing piece, bracing piece one end fixed mounting is on tubular metal resonator right side lower extreme.
Preferably, the curtain skeleton includes the support, support left side fixed connection curtain, support right-hand member fixed connection metal frame, metal frame and gleitbretter fixed connection.
Preferably, the metal block is fixedly mounted on the wall by bolts. Preferably, the semicircle is inserted between the small metal block and the spring.
Preferably, the curtain wall framework and the fixing support are made of steel materials. The embodiment of the utility model provides a have following advantage: through curtain skeleton connection curtain, the curtain skeleton is connected with slider again, when the curtain rocks around receiving external force to produce, the gleitbretter that curtain skeleton and slider are connected can slide around slight under the protection of two springs, thereby offset the external force that the curtain received, when the curtain rocks from top to bottom receiving external force to produce, slider's semicircle can slow reciprocating of small circle by the protection of spring and attenuator in fixed bolster recess the inside, thereby offset the external force that the curtain received, protect the integrality of curtain.
Drawings
In order to more clearly illustrate the embodiments of the present invention or the technical solutions in the prior art, the drawings used in the description of the embodiments or the prior art will be briefly described below. It should be apparent that the drawings in the following description are merely exemplary, and that other embodiments can be derived from the drawings provided by those of ordinary skill in the art without inventive effort.
The structure, ratio, size and the like shown in the present specification are only used for matching with the content disclosed in the specification, so as to be known and read by people familiar with the technology, and are not used for limiting the limit conditions which can be implemented by the present invention, so that the present invention has no technical essential significance, and any structure modification, ratio relationship change or size adjustment should still fall within the scope which can be covered by the technical content disclosed by the present invention without affecting the efficacy and the achievable purpose of the present invention.
Fig. 1 is a schematic view of an anti-seismic curtain wall provided by the present invention;
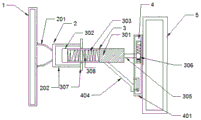
FIG. 2 is a right side view of the curtain wall frame provided by the present invention; fig. 3 is a top view of the sliding device provided by the present invention; fig. 4 is a left side view of the fixing bracket provided by the present invention; fig. 5 is a top view of the fixing bracket provided by the present invention; fig. 6 is a schematic view of the fixing bracket provided by the present invention. In the figure: the curtain wall comprises a curtain wall body 1, a curtain wall body 2, a support 201, a metal frame 202, a sliding device 3, a metal pipe 301, a fixed cover 302, a cavity 303, a first sliding groove 304, a round shaft 305, a semicircle 306, a sliding sheet 307, a spring 308, a fixed support 4, a metal block 401, a first groove 402, a damper 403, a supporting rod 404, a supporting shaft 405, a small semicircle 406, a second groove 407, a channel 408, a second sliding groove 409, a small metal block 410, a third sliding groove 411 and a wall 5.
Detailed Description
The present invention is described in terms of specific embodiments, and other advantages and benefits of the present invention will become apparent to those skilled in the art from the following disclosure. Based on the embodiments in the present invention, all other embodiments obtained by a person skilled in the art without creative work belong to the protection scope of the present invention.
Referring to the attached drawings 1-6 in the specification, the novel anti-seismic curtain wall comprises a curtain wall 1, a curtain wall framework 2, a sliding device 3, a fixing support 4 and a wall body 5.
Further, slider 3 includes tubular metal resonator 301, tubular metal resonator 301 left end is equipped with cavity 303, cavity 303 left end threaded connection fixes lid 302, fixed lid 302 inner wall top and cavity 303 left end closely link to each other, tubular metal resonator 301 right-hand member is equipped with circle 305, circle 305 one end is equipped with semicircle 306, cavity 303 upper end and lower extreme are equipped with sliding tray 304 respectively, cavity 303 inner wall left side and right side are fixed mounting spring 308 respectively, insert gleitbretter 307 on the sliding tray 304, gleitbretter 307 passes cavity 303 through sliding tray 304, gleitbretter 307 is pegged graft in the middle of two sets of springs 308, curtain 1 is when receiving external force, the curtain skeleton drives gleitbretter 307 and slides on sliding tray 304, two sets of springs 308 can protect the slow minizone's of gleitbretter 307 removal, thereby drive the displacement of the curtain stability minizone, guarantee the integrality of curtain.
Further, the fixed bracket 4 comprises a metal block 401, a first groove 402 is arranged at the upper end of the left side of the metal block 401, a third sliding groove 411 is arranged on one side of the first groove 402, a semicircle 306 can slide up and down on the third sliding groove 411, a spring 308 is fixedly arranged above the inner wall of the first groove 402, a damper 403 is fixedly arranged below the inner wall of the first groove 402, the damper 403 is a buffer damper, a small metal block 410 is connected above the damper 403, a semicircle 306 is connected above the small metal block 401, a second groove 407 is arranged at the lower end of the left side of the metal block 401, a second sliding groove 409 is arranged on one side of the second groove 407, a channel 408 is arranged above the second groove 407, the channel 408 allows the small semicircle 406 to enter the second groove 407, a support shaft 405 is arranged at one end of the small semicircle 406, the support shaft 405 is fixedly connected with a support rod 404, one end of the support rod 404 is fixedly arranged at the lower end of the right side of the metal pipe 301, the support rod 404 plays a role of supporting the sliding device 3 on one hand, on the other hand, when the sliding device 3 moves, the small semicircle 406 is driven to slide up and down in the second sliding groove 409, so that the curtain wall 1 can move up and down.
Further, the curtain wall framework 2 comprises a support 201, the left side of the support 201 is fixedly connected with the curtain wall 1, the right end of the support 201 is fixedly connected with a metal frame 202, the metal frame 202 is fixedly connected with a sliding sheet 307, and the sliding sheet 307 is driven to slide when the curtain wall framework 2 moves.
Further, the metal block 401 is fixedly mounted on the wall 5 by bolts. Further, the semi-circle 306 is inserted between the small metal block 410 and the spring 308, and the spring 308 and the damper 403 under the small metal block 410 can protect the semi-circle 306 from sliding up and down in a small range.
Further, the curtain wall framework 2 and the fixing bracket 4 are made of steel materials.
The implementation scenario is specifically as follows: the technical personnel in the field connect curtain 1 through curtain skeleton 2, curtain skeleton 2 is connected with slider 3 again, when curtain 1 rocks around receiving external force to produce, the gleitbretter 307 that curtain skeleton 2 and slider 3 are connected can slide around slight under the protection of two sets of springs 308, thereby offset the external force that curtain 1 received, when curtain 1 rocks from top to bottom receiving external force to produce, semicircle 306 of slider 3 can the slow reciprocating of minizone in the inside of 4 recess 402 of fixed bolster 4 by the protection of spring 308 and attenuator 403, thereby offset the external force that curtain 1 received, the integrality of protection curtain 1.
Although the invention has been described in detail with respect to the general description and the specific embodiments, it will be apparent to those skilled in the art that modifications and improvements can be made based on the invention. Therefore, such modifications and improvements are intended to be within the scope of the invention as claimed.
Claims (6)
1. The utility model provides a novel antidetonation curtain, includes curtain (1), curtain skeleton (2), slider (3), fixed bolster (4) and wall body (5), its characterized in that: the curtain wall comprises a curtain wall framework (2), a curtain wall body (1) is fixedly connected to the left side of the curtain wall framework (2), a sliding device (3) is slidably connected to the right side of the curtain wall framework (2), a fixed support (4) is fixedly connected to the right side of the fixed support (4), a wall body (5) is fixedly connected to the right side of the fixed support (4), the sliding device (3) comprises a metal pipe (301), a cavity (303) is arranged at the left end of the metal pipe (301), a fixed cover (302) is in threaded connection with the left end of the cavity (303), the top end of the inner wall of the fixed cover (302) is tightly connected with the left end of the cavity (303), a round shaft (305) is arranged at the right end of the metal pipe (301), a semicircle (306) is arranged at one end of the round shaft (305), a sliding groove I (304) is respectively arranged at the upper end and the lower end of the cavity (303), a spring (308) is fixedly arranged at the left side and the right side of the inner wall of the cavity (303), a sliding groove I (304) is inserted with a sliding sheet (307), the sliding piece (307) penetrates through the cavity (303) through a sliding groove I (304), and the sliding piece (307) is inserted between the two groups of springs (308).
2. A novel anti-seismic curtain wall according to claim 1, characterized in that: the fixed support (4) comprises a metal block (401), a first groove (402) is arranged at the upper end of the left side of the metal block (401), a third sliding groove (411) is arranged on one side of the first groove (402), a spring (308) is fixedly arranged above the inner wall of the first groove (402), a damper (403) is fixedly arranged below the inner wall of the first groove (402), a small metal block (410) is connected above the damper (403), a semicircle (306) is connected above the small metal block (410), a second groove (407) is arranged at the lower end of the left side of the metal block (401), a second sliding groove (409) is arranged on one side of the second groove (407), a channel (408) is arranged above the second groove (407), the small semicircle (406) enters the second groove (407), a support shaft (405) is arranged at one end of the small semicircle (406), and the support shaft (405) is fixedly connected with the support shaft (404), one end of the support rod (404) is fixedly arranged at the lower end of the right side of the metal pipe (301).
3. A novel anti-seismic curtain wall according to claim 1, characterized in that: curtain skeleton (2) are including support (201), support (201) left side fixed connection curtain (1), support (201) right-hand member fixed connection metal frame (202), metal frame (202) and gleitbretter (307) fixed connection.
4. A novel anti-seismic curtain wall according to claim 2, characterized in that: the metal block (401) is fixedly installed on the wall body (5) through bolts.
5. A novel anti-seismic curtain wall according to claim 2, characterized in that: the semicircle (306) is inserted between the small metal block (410) and the spring (308).
6. A novel anti-seismic curtain wall according to claim 1, characterized in that: the curtain wall framework (2) and the fixed support (4) are made of steel materials.
Priority Applications (1)
| Application Number | Priority Date | Filing Date | Title |
|---|---|---|---|
| CN202120430441.0U CN214739074U (en) | 2021-02-28 | 2021-02-28 | Novel anti-seismic curtain wall |
Applications Claiming Priority (1)
| Application Number | Priority Date | Filing Date | Title |
|---|---|---|---|
| CN202120430441.0U CN214739074U (en) | 2021-02-28 | 2021-02-28 | Novel anti-seismic curtain wall |
Publications (1)
| Publication Number | Publication Date |
|---|---|
| CN214739074U true CN214739074U (en) | 2021-11-16 |
Family
ID=78590238
Family Applications (1)
| Application Number | Title | Priority Date | Filing Date |
|---|---|---|---|
| CN202120430441.0U Expired - Fee Related CN214739074U (en) | 2021-02-28 | 2021-02-28 | Novel anti-seismic curtain wall |
Country Status (1)
| Country | Link |
|---|---|
| CN (1) | CN214739074U (en) |
-
2021
- 2021-02-28 CN CN202120430441.0U patent/CN214739074U/en not_active Expired - Fee Related
Similar Documents
| Publication | Publication Date | Title |
|---|---|---|
| CN208497252U (en) | A kind of Full-automatic linear edge bonding machine | |
| CN215563647U (en) | Mounting structure of building curtain wall | |
| CN208057787U (en) | A kind of damping for para-seismic support | |
| CN110821258A (en) | Shock isolation device for building | |
| CN214739074U (en) | Novel anti-seismic curtain wall | |
| CN207863751U (en) | A kind of aluminum alloy doors and windows overall assembled window system component | |
| CN221823169U (en) | A fixed connection device for building curtain wall engineering | |
| CN209000433U (en) | A kind of stage performance energy-saving LED display | |
| CN218718450U (en) | Buffer device of construction elevator | |
| CN211499349U (en) | Glass curtain wall anti-drop structure | |
| CN211849943U (en) | High altitude vestibule construction platform | |
| CN211783111U (en) | Protection safety shed for mine blasting | |
| CN209238922U (en) | Automatic steel cutting machine with decrease of noise functions | |
| CN216110296U (en) | Upper and lower groove mechanism for door and window installation | |
| CN220400329U (en) | Insulator hardware fitting with recovery processing function | |
| CN220679025U (en) | A kind of bending machine for tool cabinet processing | |
| CN219411773U (en) | Safe type construction hanging flower basket | |
| CN207920140U (en) | A kind of bracing means of Old building | |
| CN213535813U (en) | Supporting and breakage-proof structure of hollow glass | |
| CN221799216U (en) | A building structure design beam reinforcement structure | |
| CN221030860U (en) | Novel low-carbon building curtain wall for energy-saving building | |
| CN223361907U (en) | Cone-shaped cement pole quality detection device | |
| CN220978936U (en) | Building beam reinforcing apparatus | |
| CN220080429U (en) | Environment-friendly building curtain wall | |
| CN110939350A (en) | Connecting piece of temperature-controlled electric window opener |
Legal Events
| Date | Code | Title | Description |
|---|---|---|---|
| GR01 | Patent grant | ||
| GR01 | Patent grant | ||
| CF01 | Termination of patent right due to non-payment of annual fee | ||
| CF01 | Termination of patent right due to non-payment of annual fee |
Granted publication date: 20211116 |