CN214723170U - Car sheet metal component processing is with closely equipment of polishing - Google Patents

Car sheet metal component processing is with closely equipment of polishing Download PDF

Info

Publication number
CN214723170U
CN214723170U CN202120213489.6U CN202120213489U CN214723170U CN 214723170 U CN214723170 U CN 214723170U CN 202120213489 U CN202120213489 U CN 202120213489U CN 214723170 U CN214723170 U CN 214723170U
Authority
CN
China
Prior art keywords
equipment
sheet metal
backup pad
remove
motor
Prior art date
Legal status (The legal status is an assumption and is not a legal conclusion. Google has not performed a legal analysis and makes no representation as to the accuracy of the status listed.)
Expired - Fee Related
Application number
CN202120213489.6U
Other languages
Chinese (zh)
Inventor
王丽
Current Assignee (The listed assignees may be inaccurate. Google has not performed a legal analysis and makes no representation or warranty as to the accuracy of the list.)
Hubei Chenliang Auto Parts Co ltd
Original Assignee
Individual
Priority date (The priority date is an assumption and is not a legal conclusion. Google has not performed a legal analysis and makes no representation as to the accuracy of the date listed.)
Filing date
Publication date
Application filed by Individual filed Critical Individual
Priority to CN202120213489.6U priority Critical patent/CN214723170U/en
Application granted granted Critical
Publication of CN214723170U publication Critical patent/CN214723170U/en
Expired - Fee Related legal-status Critical Current
Anticipated expiration legal-status Critical

Links

Images

Landscapes

  • Vehicle Cleaning, Maintenance, Repair, Refitting, And Outriggers (AREA)
  • Finish Polishing, Edge Sharpening, And Grinding By Specific Grinding Devices (AREA)
  • Grinding And Polishing Of Tertiary Curved Surfaces And Surfaces With Complex Shapes (AREA)

Abstract

本实用新型公开了一种汽车钣金件加工用紧密打磨设备,包括设备主体,所述设备主体上表面固定安装有支撑框架,所述设备主体上表面活动嵌入安装有工作台,所述工作台上方活动安装有横梁,所述横梁下表面固定安装有打磨头,所述横梁上表面固定安装有收尘盒,所述设备主体内部一侧表面固定安装有翻转电机,所述工作台两侧表面固定安装有转轴,所述转轴与所述设备主体活动连接,所述工作台前后表面接近上端处均固定安装有伸缩夹具,所述支撑框架上端固定安装有一号电机,所述支撑框架两侧活动嵌入安装有移动支撑板。本实用新型所述的一种汽车钣金件加工用紧密打磨设备,能够减少打磨时的粉尘污染,自动调整钣金角度。

Figure 202120213489

The utility model discloses a compact grinding equipment for processing automobile sheet metal parts, which comprises an equipment main body, a support frame is fixedly installed on the upper surface of the equipment main body, a worktable is movably embedded and installed on the upper surface of the equipment main body, and the worktable is installed on the upper surface. A beam is movably installed above, a grinding head is fixedly installed on the lower surface of the beam, a dust collecting box is fixedly installed on the upper surface of the beam, a turning motor is fixedly installed on one side of the inner surface of the equipment main body, and the two sides of the table are A rotating shaft is fixedly installed, and the rotating shaft is movably connected to the main body of the equipment. A telescopic clamp is fixedly installed on the front and rear surfaces of the worktable near the upper end. A No. 1 motor is fixedly installed on the upper end of the support frame, and both sides of the support frame are movable. A mobile support plate is embedded in it. The compact grinding equipment for processing automobile sheet metal parts of the utility model can reduce dust pollution during grinding and automatically adjust the angle of sheet metal.

Figure 202120213489

Description

Car sheet metal component processing is with closely equipment of polishing
Technical Field
The utility model relates to an equipment field of polishing, in particular to car sheet metal component processing is with closely equipment of polishing.
Background
The automobile sheet metal is a technical means for automobile repair, the automobile sheet metal is equal to automobile sheet metal repair grinding in the aspect of surface modification technology, an automobile sheet metal part is a product produced by means of a sheet metal process, grinding generally refers to a processing method for changing physical properties of the surface of a material by means of friction through a rough object, and the main purpose is to obtain specific surface roughness; the existing tight polishing equipment for processing the automobile sheet metal part has certain defects when in use, and the sheet metal angle needs to be adjusted by manual operation due to serious dust pollution during polishing.
SUMMERY OF THE UTILITY MODEL
The utility model discloses a main aim at provides a processing of car sheet metal component is with closely equipment of polishing, can effectively solve the problem in the background art.
In order to achieve the above purpose, the utility model adopts the following technical scheme:
the utility model provides an automobile sheet metal component processing is with inseparable equipment of polishing, includes the equipment main part, fixed surface installs braced frame in the equipment main part, equipment main part upper surface activity embedding installs the workstation, workstation top movable mounting has the crossbeam, fixed surface installs the head of polishing under the crossbeam, fixed surface installs the dust collecting box on the crossbeam.
Preferably, the inside side fixed surface of equipment main part installs the upset motor, workstation both sides fixed surface installs the pivot, the pivot with equipment main part swing joint, the equal fixed mounting of upper end department is close to the surface around the workstation has telescopic fixture.
Preferably, braced frame upper end fixed mounting has a motor, braced frame both sides activity embedding is installed and is removed the backup pad, remove backup pad one side fixed mounting has No. two motors, remove the inside side surface of backup pad with the inside equal movable mounting of upper end department that is close of braced frame has the action wheel, remove the inside side surface of backup pad with braced frame is inside to be close the equal fixed mounting in upper end department in action wheel both sides and has from the driving wheel, the action wheel with from the driving wheel with upset motor and pivot are by chain swing joint.
Preferably, thread grooves are formed in the surface of one side of the cross beam and the upper surface of the movable supporting plate, a first lead screw is movably embedded into the upper surface of the inner side of the supporting frame, one end of the first lead screw is fixedly connected with a driven wheel inside the supporting frame, and the other end of the first lead screw penetrates through the thread grooves and is movably connected with the movable supporting plate.
Preferably, the movable embedding installs the lead screw No. two between the removal backup pad, lead screw No. two one end with remove the inside from driving wheel fixed connection of backup pad, No. two lead screws run through the thread groove of crossbeam one side with crossbeam swing joint, a motor with remove the inside action wheel fixed connection of backup pad, No. two motors with remove the inside action wheel fixed connection of backup pad.
Preferably, dust collecting box one side fixed surface embedding installs dustproof cloth, dust collecting box upper surface fixed embedding installs metal collapsible tube, the inside lower extreme fixed mounting that is close of metal collapsible tube has the air inlet fan.
Compared with the prior art, the utility model discloses following beneficial effect has:
the utility model discloses in, place the panel beating at the workstation surface, make the tight panel beating both sides of flexible anchor clamps clamp, control a motor and drive the action wheel and rotate, make under the effect of chain from the driving wheel and rotate, thereby drive a lead screw and rotate, make under the effect of thread groove and remove the backup pad and drive the crossbeam downstream, the same, No. two motors make the crossbeam and remove, thereby the position of polishing of head is beaten in the adjustment, thereby it polishes to cover comprehensively when unmovable panel beating, reduce manual operation, the upset motor drives the pivot under the effect of chain and rotates and make the workstation slightly rotate, adjust the angle of panel beating, thereby improve the precision of polishing, it inhales the dust of polishing through metal collapsible tube to admit air the fan inside the dust collection box, the air is discharged from the dustproof cloth, the dust is stayed inside the dust collection box, reduce dust pollution, avoid operating personnel to inhale simultaneously and cause respiratory disease.
Drawings
Fig. 1 is a schematic view of the overall structure of the compact polishing device for processing the automobile sheet metal part;
FIG. 2 is a sectional view of a supporting frame of the compact polishing device for machining the automobile sheet metal part;
FIG. 3 is a cross-sectional view of a dust collecting box of the compact polishing device for machining the automobile sheet metal part;
FIG. 4 is a sectional view of the main body of the compact polishing apparatus for machining automobile sheet metal parts;
FIG. 5 is a sectional view of a movable support plate of the compact polishing apparatus for machining automobile sheet metal parts;
fig. 6 is the utility model relates to an enlarged view of a department in fig. 1 of car sheet metal component processing with equipment of closely polishing.
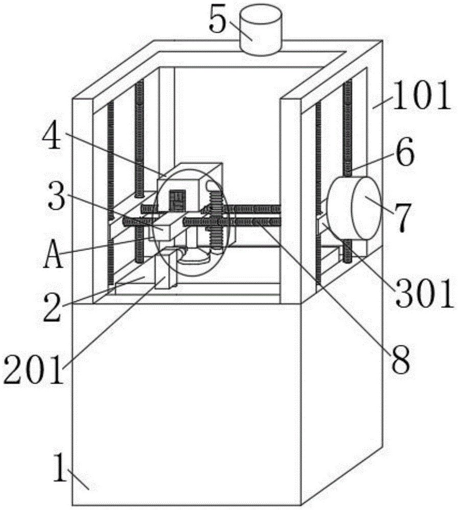
In the figure: 1. an apparatus main body; 101. a support frame; 102. turning over a motor; 2. a work table; 201. a telescopic clamp; 202. a rotating shaft; 3. a cross beam; 301. moving the support plate; 302. a thread groove; 303. polishing head; 4. a dust collection box; 401. a dust cloth; 402. a metal hose; 403. an air inlet fan; 5. a first motor; 501. a driving wheel; 502. a driven wheel; 503. a chain; 6. a first screw rod; 7. a second motor; 8. and a second screw rod.
Detailed Description
In order to make the technical means, creation features, achievement purposes and functions of the present invention easy to understand, the present invention is further described below with reference to the following embodiments.
In the description of the present invention, it should be noted that the terms "upper", "lower", "inner", "outer", "front end", "rear end", "both ends", "one end", "the other end" and the like indicate orientations or positional relationships based on the orientations or positional relationships shown in the drawings, and are only for convenience of description and simplification of description, but do not indicate or imply that the device or element to which the reference is made must have a specific orientation, be constructed in a specific orientation, and be operated, and thus, should not be construed as limiting the present invention. Furthermore, the terms "first" and "second" are used for descriptive purposes only and are not to be construed as indicating or implying relative importance.
In the description of the present invention, it is to be noted that, unless otherwise explicitly specified or limited, the terms "mounted," "disposed," "connected," and the like are to be construed broadly, and for example, "connected" may be either fixedly connected or detachably connected, or integrally connected; can be mechanically or electrically connected; they may be connected directly or indirectly through intervening media, or they may be interconnected between two elements. The specific meaning of the above terms in the present invention can be understood in specific cases to those skilled in the art.
As shown in fig. 1-6, a compact polishing device for processing an automobile sheet metal part comprises a device main body 1, wherein a supporting frame 101 is fixedly arranged on the upper surface of the device main body 1, a workbench 2 is movably embedded in the upper surface of the device main body 1, a cross beam 3 is movably arranged above the workbench 2, a polishing head 303 is fixedly arranged on the lower surface of the cross beam 3, and a dust collecting box 4 is fixedly arranged on the upper surface of the cross beam 3;
the surface of one side inside the equipment main body 1 is fixedly provided with the overturning motor 102, the surfaces of two sides of the workbench 2 are fixedly provided with the rotating shaft 202, the rotating shaft 202 is movably connected with the equipment main body 1, and the front surface and the rear surface of the workbench 2 close to the upper end are fixedly provided with the telescopic clamps 201; a first motor 5 is fixedly installed at the upper end of the supporting frame 101, a movable supporting plate 301 is movably embedded and installed at two sides of the supporting frame 101, a second motor 7 is fixedly installed at one side of the movable supporting plate 301, driving wheels 501 are movably installed at one side surface inside the movable supporting plate 301 and the position, close to the upper end, inside the supporting frame 101, a driven wheel 502 is fixedly installed at two sides of the driving wheel 501 at one side surface inside the movable supporting plate 301 and the position, close to the upper end, inside the supporting frame 101, and the driving wheel 501, the driven wheel 502, the overturning motor 102 and the rotating shaft 202 are movably connected through chains 503; threaded grooves 302 are formed in the surface of one side of the cross beam 3 and the upper surface of the movable supporting plate 301, a first lead screw 6 is movably embedded and mounted in the upper surface of the inner side of the supporting frame 101, one end of the first lead screw 6 is fixedly connected with a driven wheel 502 in the supporting frame 101, and the other end of the first lead screw 6 penetrates through the threaded grooves 302 and is movably connected with the movable supporting plate 301; a second screw rod 8 is movably embedded between the movable support plates 301, one end of the second screw rod 8 is fixedly connected with a driven wheel 502 in the movable support plates 301, the second screw rod 8 penetrates through a thread groove 302 on one side of the cross beam 3 to be movably connected with the cross beam 3, a first motor 5 is fixedly connected with a driving wheel 501 in the movable support plates 301, and a second motor 7 is fixedly connected with the driving wheel 501 in the movable support plates 301, so that the metal plate can be completely covered and polished without being moved, and manual operation is reduced; dust collection box 4 one side fixed surface embedding installs dustproof cloth 401, and fixed surface embedding installs metal collapsible tube 402 on dust collection box 4, and metal collapsible tube 402 is inside to be close lower extreme department fixed mounting and has an air inlet fan 403, reduces dust pollution, avoids operating personnel to inhale simultaneously and causes respiratory disease.
It should be noted that, the utility model relates to a tight polishing device for processing automobile sheet metal parts, when in use, the sheet metal is placed on the surface of a workbench 2, so that a telescopic clamp 201 clamps two sides of the sheet metal, a motor 5 is controlled to drive a driving wheel 501 to rotate, a driven wheel 502 is driven to rotate under the action of a chain 503, so as to drive a screw 6 to rotate, a movable support plate 301 drives a beam 3 to move downwards under the action of a thread groove 302, and a motor 7 drives the beam 3 to move left and right, so as to adjust the polishing position of a polishing head 303, so as to fully cover and polish when the sheet metal is not moved, reduce manual operation, a turnover motor 102 drives a rotating shaft 202 to rotate under the action of the chain 503, so as to slightly rotate the workbench 2, adjust the angle of the sheet metal, so as to improve the polishing precision, an air inlet fan 403 sucks the polished dust into a dust collecting box 4 through a metal hose 402, the air is discharged from dustproof cloth 401, and the dust is left inside dust collection box 4, reduces dust pollution, avoids operating personnel to inhale simultaneously and causes respiratory disease.
The basic principles and the main features of the invention and the advantages of the invention have been shown and described above. It will be understood by those skilled in the art that the present invention is not limited to the above embodiments, and that the foregoing embodiments and descriptions are provided only to illustrate the principles of the present invention without departing from the spirit and scope of the present invention. The scope of the invention is defined by the appended claims and equivalents thereof.

Claims (6)

1. The utility model provides an automobile sheet metal component processing is with inseparable equipment of polishing which characterized in that: including equipment principal (1), fixed surface installs braced frame (101) on equipment principal (1), workstation (2) are installed in the embedding of equipment principal (1) upper surface activity, workstation (2) top movable mounting has crossbeam (3), crossbeam (3) lower fixed surface installs head (303) of polishing, fixed surface installs dust collection box (4) on crossbeam (3).
2. The tight grinding equipment for machining the automobile sheet metal part as claimed in claim 1, wherein: the utility model discloses an equipment, including equipment main part (1), workstation (2), pivot (202), equipment main part (1) and surface mounting have upset motor (102) inside one side fixed surface, workstation (2) both sides fixed surface installs pivot (202), pivot (202) with equipment main part (1) swing joint, the equal fixed mounting of surface near upper end department has flexible anchor clamps (201) around workstation (2).
3. The tight grinding equipment for machining the automobile sheet metal part as claimed in claim 2, wherein: braced frame (101) upper end fixed mounting has motor (5) No. one, braced frame (101) both sides activity embedding is installed and is removed backup pad (301), remove backup pad (301) one side fixed mounting has motor (7) No. two, remove backup pad (301) inside side surface with braced frame (101) inside is close the equal movable mounting of upper end department and has action wheel (501), remove backup pad (301) inside side surface with braced frame (101) inside is close the equal fixed mounting in upper end department in action wheel (501) both sides and has from driving wheel (502), action wheel (501) with from driving wheel (502) upset motor (102) and pivot (202) are by chain (503) swing joint.
4. The tight grinding equipment for machining the automobile sheet metal part as claimed in claim 3, wherein: crossbeam (3) a side surface with thread groove (302) have all been seted up to removal backup pad (301) upper surface, lead screw (6) are installed to braced frame (101) inboard upper surface activity embedding, lead screw (6) one end with braced frame (101) inside from driving wheel (502) fixed connection, lead screw (6) other end run through thread groove (302) with remove backup pad (301) swing joint.
5. The tight grinding equipment for machining the automobile sheet metal part as claimed in claim 4, wherein: remove between backup pad (301) movable embedding and install No. two lead screws (8), No. two lead screw (8) one end with remove backup pad (301) inside from driving wheel (502) fixed connection, No. two lead screws (8) run through thread groove (302) of crossbeam (3) one side with crossbeam (3) swing joint, a motor (5) with remove inside action wheel (501) fixed connection of backup pad (301), No. two motor (7) with remove inside action wheel (501) fixed connection of backup pad (301).
6. The tight grinding equipment for machining the automobile sheet metal part as claimed in claim 1, wherein: dustproof cloth (401) are installed in the fixed surface embedding of one side of dust collection box (4), metal collapsible tube (402) is installed in the fixed surface embedding of dust collection box (4), the inside lower extreme fixed mounting that is close of metal collapsible tube (402) has air inlet fan (403).
CN202120213489.6U 2021-01-26 2021-01-26 Car sheet metal component processing is with closely equipment of polishing Expired - Fee Related CN214723170U (en)

Priority Applications (1)

Application Number Priority Date Filing Date Title
CN202120213489.6U CN214723170U (en) 2021-01-26 2021-01-26 Car sheet metal component processing is with closely equipment of polishing

Applications Claiming Priority (1)

Application Number Priority Date Filing Date Title
CN202120213489.6U CN214723170U (en) 2021-01-26 2021-01-26 Car sheet metal component processing is with closely equipment of polishing

Publications (1)

Publication Number Publication Date
CN214723170U true CN214723170U (en) 2021-11-16

Family

ID=78641672

Family Applications (1)

Application Number Title Priority Date Filing Date
CN202120213489.6U Expired - Fee Related CN214723170U (en) 2021-01-26 2021-01-26 Car sheet metal component processing is with closely equipment of polishing

Country Status (1)

Country Link
CN (1) CN214723170U (en)

Cited By (1)

* Cited by examiner, † Cited by third party
Publication number Priority date Publication date Assignee Title
CN114376340A (en) * 2022-03-22 2022-04-22 江苏唯创莱精密部件有限公司 Dustproof device for operation interface of precise medical instrument

Cited By (1)

* Cited by examiner, † Cited by third party
Publication number Priority date Publication date Assignee Title
CN114376340A (en) * 2022-03-22 2022-04-22 江苏唯创莱精密部件有限公司 Dustproof device for operation interface of precise medical instrument

Similar Documents

Publication Publication Date Title
CN213351496U (en) Welding device for ship maintenance
CN110434710A (en) A kind of post-processing grinding apparatus of FDM plastic part
CN108857678B (en) A kind of polishing and grinding equipment based on the easy adjustment of the work rolls of steel rolling machinery
CN108788994A (en) A kind of industrial plank machinery edging device
CN214723170U (en) Car sheet metal component processing is with closely equipment of polishing
CN219359060U (en) Polishing device
CN216179375U (en) A construction material grinding machine with adjustable grinding position
CN112775790A (en) Automatic online grinding device
CN217530269U (en) Reinforcing sheet burring device
CN116175378B (en) A system for processing the outer surface of a stainless steel basin
CN219465828U (en) Polishing equipment for metal plate processing
CN118357858A (en) Resin grinding wheel dressing device and application method thereof
CN214922926U (en) Light wallboard grinding device
CN214054728U (en) A grinder with adjustable vacuuming angle mechanism
CN218081989U (en) A sharp edge automatic grinding device for stainless steel plate
CN221185987U (en) Steel pipe rust cleaning device with bi-polar head presss from both sides tight function
CN221313745U (en) Polishing machine with adjustable polishing angle
CN221390459U (en) Hardware tool polishing machine with dust collection function
CN219337082U (en) Outer wall polishing device for columnar mechanical part
CN218427391U (en) A high-efficiency grinding device for automotive air-conditioning aluminum pipes
CN222493549U (en) Ceramic surface polishing and grinding auxiliary device
CN219542607U (en) Foundry goods equipment of polishing
CN218801257U (en) Polishing machine capable of preventing dust pollution
CN222404812U (en) Metal product grinding equipment
CN219987208U (en) Surface polishing equipment for processing automobile parts

Legal Events

Date Code Title Description
GR01 Patent grant
GR01 Patent grant
TR01 Transfer of patent right

Effective date of registration: 20220819

Address after: 441004 50m north of Loulan Road, high tech Zone, Xiangyang City, Hubei Province

Patentee after: Hubei ChenLiang Auto Parts Co.,Ltd.

Address before: 510000 floor 3, No. 91, Yuangang North Street, Tianhe District, Shenzhen City, Guangdong Province

Patentee before: Wang Li

TR01 Transfer of patent right
CF01 Termination of patent right due to non-payment of annual fee

Granted publication date: 20211116

CF01 Termination of patent right due to non-payment of annual fee