CN214715796U - An automatic batching and stirring equipment for pig breeding - Google Patents
An automatic batching and stirring equipment for pig breeding Download PDFInfo
- Publication number
- CN214715796U CN214715796U CN202023327654.5U CN202023327654U CN214715796U CN 214715796 U CN214715796 U CN 214715796U CN 202023327654 U CN202023327654 U CN 202023327654U CN 214715796 U CN214715796 U CN 214715796U
- Authority
- CN
- China
- Prior art keywords
- stirring
- box body
- vertical
- fixedly installed
- shaft
- Prior art date
- Legal status (The legal status is an assumption and is not a legal conclusion. Google has not performed a legal analysis and makes no representation as to the accuracy of the status listed.)
- Expired - Fee Related
Links
Images
Landscapes
- Apparatuses For Bulk Treatment Of Fruits And Vegetables And Apparatuses For Preparing Feeds (AREA)
Abstract
本实用新型属于猪养殖技术领域,尤其为一种用于猪养殖的自动配料搅拌设备,针对现有的猪饲料养殖用搅拌设备搅拌方式单一、难以将猪饲料快速高效的搅拌均匀的问题,现提出如下方案,其包括箱体,所述箱体顶部固定安装有多个料箱,料箱底部连通有进料管,进料管上固定安装有电磁阀,箱体的两侧均开设有斜孔,两个斜孔内均转动安装有第一搅拌轴,第一搅拌轴外侧固定安装有多个第一搅拌杆,两个第一搅拌轴位于箱体外侧的一端均固定安装有第一锥齿轮,所述箱体的两侧均固定安装有横板,两个横板的顶部均开设有竖向孔。本实用新型通过对猪饲料进行不同方向搅拌的同时使得搅拌轴横向震动,提升猪饲料混合效率和均匀程度。
The utility model belongs to the technical field of pig breeding, in particular to an automatic batching and stirring device used for pig breeding. Aiming at the problems that the existing stirring equipment for pig feed breeding has a single stirring mode, and it is difficult to stir the pig feed quickly and efficiently, the utility model is The following scheme is proposed, which includes a box body, a plurality of material boxes are fixedly installed on the top of the box body, a feeding pipe is connected to the bottom of the material box, a solenoid valve is fixedly installed on the feeding pipe, and two sides of the box body are provided with inclined planes. A first stirring shaft is rotatably installed in the two inclined holes, a plurality of first stirring rods are fixedly installed on the outside of the first stirring shaft, and a first cone is fixedly installed at one end of the two first stirring shafts outside the box. For gears, horizontal plates are fixedly installed on both sides of the box body, and vertical holes are opened on the tops of the two horizontal plates. The utility model makes the stirring shaft vibrate laterally while stirring the pig feed in different directions, thereby improving the mixing efficiency and uniformity of the pig feed.
Description
技术领域technical field
本实用新型涉及猪养殖技术领域,尤其涉及一种用于猪养殖的自动配料搅拌设备。The utility model relates to the technical field of pig breeding, in particular to an automatic batching and stirring device for pig breeding.
背景技术Background technique
随着生猪养殖规模的扩大和养殖技术的不断提高,目前也越来越注重对生猪饲料的生产加工,如现在大多采用不同的饲料,根据营养成分进行配比并进行搅拌混合而生产加工出组合饲料。With the expansion of pig breeding scale and the continuous improvement of breeding technology, more and more attention is paid to the production and processing of pig feed. For example, different feeds are mostly used, and the combination is produced and processed according to the ratio of nutrients and mixing and mixing. feed.
然而猪饲料通常为稠状物体粘性大,不同的物体混合的搅拌与普通的干状或湿状物相比,要将其搅拌均匀难度很大,现有的猪饲料养殖用搅拌设备搅拌方式单一,难以将猪饲料快速高效的搅拌均匀,因此我们提出了一种用于猪养殖的自动配料搅拌设备用于解决上述问题。However, pig feed is usually a thick object with high viscosity. Compared with ordinary dry or wet materials, it is very difficult to mix them evenly when mixing different objects. The existing mixing equipment for pig feed breeding has a single stirring method. , it is difficult to stir the pig feed quickly and efficiently, so we propose an automatic batching and stirring equipment for pig breeding to solve the above problems.
实用新型内容Utility model content
本实用新型的目的是为了解决现有的猪饲料养殖用搅拌设备搅拌方式单一、难以将猪饲料快速高效的搅拌均匀的缺点,而提出的一种用于猪养殖的自动配料搅拌设备。The purpose of the utility model is to solve the shortcomings of the existing mixing equipment for pig feed breeding, which has a single mixing method and is difficult to stir the pig feed quickly and efficiently, and proposes an automatic batching mixing equipment for pig breeding.
为了实现上述目的,本实用新型采用了如下技术方案:In order to achieve the above-mentioned purpose, the utility model adopts the following technical solutions:
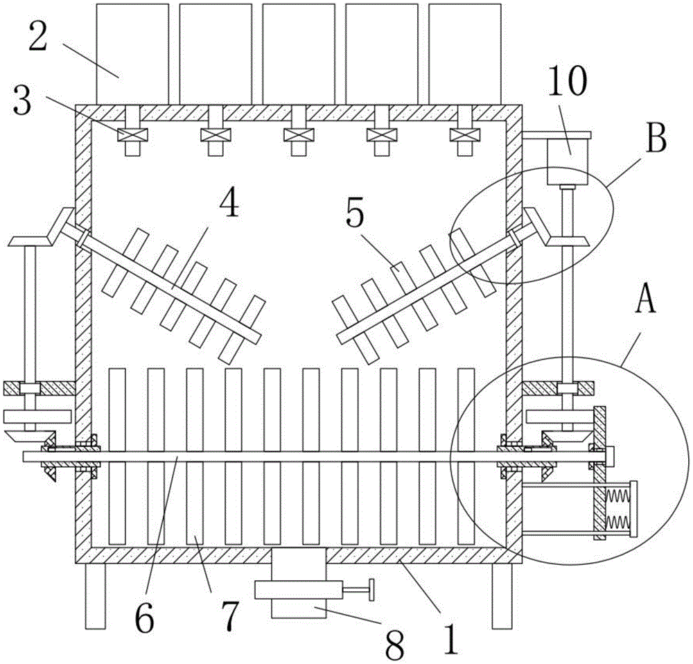
一种用于猪养殖的自动配料搅拌设备,包括箱体,所述箱体顶部固定安装有多个料箱,料箱底部连通有进料管,进料管上固定安装有电磁阀,箱体的两侧均开设有斜孔,两个斜孔内均转动安装有第一搅拌轴,第一搅拌轴外侧固定安装有多个第一搅拌杆,两个第一搅拌轴位于箱体外侧的一端均固定安装有第一锥齿轮,所述箱体的两侧均固定安装有横板,两个横板的顶部均开设有竖向孔,两个竖向孔内均转动安装有竖轴,两个竖轴上均固定安装有第二锥齿轮和第三锥齿轮,两个第一锥齿轮分别与对应的第二锥齿轮相啮合,所述箱体两侧均开设有圆形孔,两个圆形孔内均转动安装有圆筒,两个圆筒的外侧均固定套接有第四锥齿轮,两个第三锥齿轮分别与对应的第四锥齿轮相啮合,两个圆筒内滑动安装有同一个第二搅拌轴,第二搅拌轴外侧固定安装有多个第二搅拌杆,且第二搅拌轴的外侧转动套接有竖板,两个竖轴中的一个竖轴上固定安装有凸轮,凸轮与竖板的一侧活动抵接,箱体一侧固定安装有安装板,安装板底部固定安装有电机,两个竖轴中的一个竖轴的顶端与电机的输出轴固定连接,圆筒的顶部内壁上开设有限位槽,所述第二搅拌轴的顶部固定安装有限位板,所述箱体的底部连通有出料管,出料管上固定安装有控制阀。An automatic batching and stirring device for pig breeding, comprising a box body, a plurality of material boxes are fixedly installed on the top of the box body, a feeding pipe is connected to the bottom of the material box, a solenoid valve is fixedly installed on the feeding pipe, and the box body There are inclined holes on both sides of the machine, and the first stirring shaft is rotatably installed in the two inclined holes, and a plurality of first stirring rods are fixedly installed on the outside of the first stirring shaft, and the two first stirring shafts are located at one end of the outer side of the box. A first bevel gear is fixedly installed, horizontal plates are fixedly installed on both sides of the box body, vertical holes are opened on the tops of the two horizontal plates, and vertical shafts are rotatably installed in the two vertical holes. A second bevel gear and a third bevel gear are fixedly installed on each of the vertical shafts, and the two first bevel gears are respectively meshed with the corresponding second bevel gears. Cylinders are rotatably installed in the circular holes, the outer sides of the two cylinders are fixedly sleeved with fourth bevel gears, the two third bevel gears are respectively meshed with the corresponding fourth bevel gears, and the two cylinders slide inside. The same second stirring shaft is installed, a plurality of second stirring rods are fixedly installed on the outside of the second stirring shaft, and a vertical plate is rotatably sleeved on the outside of the second stirring shaft, and one of the two vertical shafts is fixedly installed on the vertical shaft. There is a cam, the cam is in active contact with one side of the vertical plate, a mounting plate is fixedly installed on one side of the box body, a motor is fixedly installed at the bottom of the mounting plate, and the top of one of the two vertical shafts is fixedly connected with the output shaft of the motor A limit groove is set on the top inner wall of the cylinder, a limit plate is fixedly installed on the top of the second stirring shaft, a discharge pipe is connected to the bottom of the box, and a control valve is fixedly installed on the discharge pipe.
优选的,所述箱体一侧固定安装有两个横杆的一端,所述竖板滑动套接在两个横杆的外侧,对竖板进行横向运动的导向。Preferably, one end of two horizontal bars is fixedly installed on one side of the box body, and the vertical plate is slidably sleeved on the outside of the two horizontal bars to guide the horizontal movement of the vertical plate.
优选的,两个横杆的另一端固定安装有同一个连接板,连接板的一侧固定连接有两个复位弹簧的一端,两个复位弹簧的另一端均与竖板的另一侧固定连接,对竖板进行复位。Preferably, the other ends of the two cross bars are fixedly installed with the same connecting plate, one end of the two return springs is fixedly connected to one side of the connecting plate, and the other ends of the two return springs are fixedly connected to the other side of the vertical plate , reset the vertical plate.
优选的,所述圆筒的外侧固定套接有密封圈,两个密封圈分别与箱体的两侧内壁活动密封连接,对箱体进行密封。Preferably, a sealing ring is fixedly sleeved on the outer side of the cylinder, and the two sealing rings are respectively connected to the inner walls of the box body in a movable and sealing manner to seal the box body.
优选的,所述第二搅拌轴的一端固定安装有挡板,挡板与竖板的另一侧活动抵接,对第二搅拌轴进行限位。Preferably, a baffle is fixedly installed at one end of the second stirring shaft, and the baffle is movably abutted with the other side of the vertical plate to limit the position of the second stirring shaft.
优选的,所述第二搅拌轴的外侧固定套接有限位轴套,限位轴套与竖板的一侧活动抵接,对第二搅拌轴进行进一步的轴向运动限位。Preferably, the outer side of the second stirring shaft is fixedly sleeved with a limiting shaft sleeve, and the limiting shaft sleeve is movably abutted with one side of the vertical plate to further limit the axial movement of the second stirring shaft.
本实用新型中,所述的一种用于猪养殖的自动配料搅拌设备,通过将猪饲料的不同的原料放置在各个料箱内,然后通过开启电磁阀,从而通过多个出料管对原料进行自动的配料,然后通过开启电机,电机输出轴带动位于一侧的竖轴转动,位于一侧的竖轴通过第三锥齿轮与第四锥齿轮的啮合带动圆筒和第二搅拌轴进行转动,第二搅拌轴带动第二搅拌杆转动,对原料进行搅拌混合,圆筒通过第四锥齿轮与第三锥齿轮的啮合带动位于另一侧的竖轴进行转动,两个竖轴分别带动对应的第二锥齿轮转动,两个第二锥齿轮分别带动对应的第一锥齿轮转动,两个第一锥齿轮分别带动对应的第一搅拌轴转动,两个第一搅拌轴分别带动对应的第一搅拌杆转动,从而提升对于饲料原料的搅拌混合效果;In the utility model, the automatic batching and stirring equipment used for pig breeding is to place different raw materials of pig feed in each material box, and then open the electromagnetic valve, so as to separate the raw materials through a plurality of discharge pipes. Automatic batching is carried out, and then by turning on the motor, the motor output shaft drives the vertical shaft on one side to rotate, and the vertical shaft on one side drives the cylinder and the second stirring shaft to rotate through the meshing of the third bevel gear and the fourth bevel gear. , the second stirring shaft drives the second stirring rod to rotate, stirring and mixing the raw materials, the cylinder drives the vertical shaft on the other side to rotate through the meshing of the fourth bevel gear and the third bevel gear, and the two vertical shafts respectively drive the corresponding The second bevel gear rotates, the two second bevel gears respectively drive the corresponding first bevel gears to rotate, the two first bevel gears respectively drive the corresponding first stirring shafts to rotate, and the two first stirring shafts respectively drive the corresponding first bevel gears to rotate. A stirring rod rotates to improve the stirring and mixing effect of feed materials;
本实用新型中,所述的一种用于猪养殖的自动配料搅拌设备,通过竖轴转动的同时带动凸轮转动,凸轮通过与竖板的抵接推动竖板相一侧运动并对复位弹簧进行压缩,凸轮继续转动,竖板在复位弹簧的弹力作用下反向滑动,凸轮持续转动,从而带动竖板横向往复震动,竖板通过与第二搅拌轴的转动配合并在挡板和限位轴套对第二搅拌轴横向运动的限制带动第二搅拌轴转动的同时横向往复震动,进一步提升第二搅拌杆的搅拌混合效果;In the utility model, the automatic batching and stirring equipment for pig breeding is driven by the rotation of the vertical shaft while driving the cam to rotate. Compression, the cam continues to rotate, the vertical plate slides in reverse under the elastic force of the return spring, and the cam continues to rotate, thereby driving the vertical plate to vibrate horizontally. The restriction on the lateral movement of the second stirring shaft by the sleeve drives the second stirring shaft to rotate and vibrate laterally, further improving the stirring and mixing effect of the second stirring rod;
本实用新型结构设计合理,通过对猪饲料进行不同方向搅拌的同时使得搅拌轴横向震动,提升猪饲料混合效率和均匀程度,可靠性高。The utility model has a reasonable structure design, and the mixing efficiency and uniformity of the pig feed are improved by stirring the pig feed in different directions while simultaneously causing the stirring shaft to vibrate laterally, with high reliability.
附图说明Description of drawings
图1为本实用新型提出的一种用于猪养殖的自动配料搅拌设备的结构示意图;Fig. 1 is the structural representation of a kind of automatic batching and stirring equipment for pig breeding proposed by the utility model;
图2为本实用新型提出的一种用于猪养殖的自动配料搅拌设备的A部分的结构示意图;2 is a schematic structural diagram of part A of a kind of automatic batching and stirring equipment for pig breeding proposed by the utility model;
图3为本实用新型提出的一种用于猪养殖的自动配料搅拌设备的B部分的结构示意图。3 is a schematic structural diagram of part B of an automatic batching and stirring device for pig breeding proposed by the present invention.
图中:1、箱体;2、料箱;3、电磁阀;4、第一搅拌轴;5、第一搅拌杆;6、第二搅拌轴;7、第二搅拌杆;8、出料管;9、密封圈;10、电机;11、第一锥齿轮;12、第二锥齿轮;13、第三锥齿轮;14、第四锥齿轮;15、竖轴;16、横板;17、凸轮;18、竖板;19、圆筒;20、限位板;21、横杆;22、复位弹簧;23、连接板;24、挡板;25、限位轴套。In the figure: 1. Box body; 2. Material box; 3. Solenoid valve; 4. The first stirring shaft; 5. The first stirring rod; 6. The second stirring shaft; 7. The second stirring rod; 8. Discharging Tube; 9, sealing ring; 10, motor; 11, first bevel gear; 12, second bevel gear; 13, third bevel gear; 14, fourth bevel gear; 15, vertical shaft; 16, horizontal plate; 17 , cam; 18, vertical plate; 19, cylinder; 20, limit plate; 21, cross bar; 22, return spring; 23, connecting plate; 24, baffle plate; 25, limit shaft sleeve.
具体实施方式Detailed ways
下面将结合本实用新型实施例中的附图,对本实用新型实施例中的技术方案进行清楚、完整地描述,显然,所描述的实施例仅仅是本实用新型一部分实施例,而不是全部的实施例。The technical solutions in the embodiments of the present utility model will be clearly and completely described below with reference to the accompanying drawings in the embodiments of the present utility model. Obviously, the described embodiments are only a part of the embodiments of the present utility model, rather than all the implementations. example.
参照图1-3,一种用于猪养殖的自动配料搅拌设备,包括箱体1,箱体1顶部固定安装有多个料箱2,料箱2底部连通有进料管,进料管上固定安装有电磁阀3,箱体1的两侧均开设有斜孔,两个斜孔内均转动安装有第一搅拌轴4,第一搅拌轴4外侧固定安装有多个第一搅拌杆5,两个第一搅拌轴4位于箱体1外侧的一端均固定安装有第一锥齿轮11,箱体1的两侧均固定安装有横板16,两个横板16的顶部均开设有竖向孔,两个竖向孔内均转动安装有竖轴15,两个竖轴15上均固定安装有第二锥齿轮12和第三锥齿轮13,两个第一锥齿轮11分别与对应的第二锥齿轮12相啮合,箱体1两侧均开设有圆形孔,两个圆形孔内均转动安装有圆筒19,两个圆筒19的外侧均固定套接有第四锥齿轮14,两个第三锥齿轮13分别与对应的第四锥齿轮14相啮合,两个圆筒19内滑动安装有同一个第二搅拌轴6,第二搅拌轴6外侧固定安装有多个第二搅拌杆7,且第二搅拌轴6的外侧转动套接有竖板18,两个竖轴15中的一个竖轴15上固定安装有凸轮17,凸轮17与竖板18的一侧活动抵接,箱体1一侧固定安装有安装板,安装板底部固定安装有电机10,两个竖轴15中的一个竖轴15的顶端与电机10的输出轴固定连接,圆筒19的顶部内壁上开设有限位槽,第二搅拌轴6的顶部固定安装有限位板20,箱体1的底部连通有出料管8,出料管8上固定安装有控制阀。1-3, an automatic batching and stirring equipment for pig breeding includes a
本实用新型中,箱体1一侧固定安装有两个横杆21的一端,竖板18滑动套接在两个横杆21的外侧,对竖板18进行横向运动的导向。In the present invention, one side of the
本实用新型中,两个横杆21的另一端固定安装有同一个连接板23,连接板23的一侧固定连接有两个复位弹簧22的一端,两个复位弹簧22的另一端均与竖板18的另一侧固定连接,对竖板18进行复位。In the present invention, the other ends of the two
本实用新型中,圆筒19的外侧固定套接有密封圈9,两个密封圈9分别与箱体1的两侧内壁活动密封连接,对箱体1进行密封。In the utility model, the outer side of the
本实用新型中,第二搅拌轴6的一端固定安装有挡板24,挡板24与竖板18的另一侧活动抵接,对第二搅拌轴6进行限位。In the present invention, a
本实用新型中,第二搅拌轴6的外侧固定套接有限位轴套25,限位轴套25与竖板18的一侧活动抵接,对第二搅拌轴6进行进一步的轴向运动限位。In the present invention, the outer side of the second
本实用新型中,在使用时,通过将猪饲料的不同的原料放置在各个料箱2内,然后通过开启电磁阀3,从而通过多个出料管对原料进行自动的配料,然后通过开启电机10,电机10输出轴带动位于一侧的竖轴15转动,位于一侧的竖轴15通过第三锥齿轮13与第四锥齿轮14的啮合带动圆筒19和第二搅拌轴6进行转动,第二搅拌轴6带动第二搅拌杆7转动,对原料进行搅拌混合,圆筒19通过第四锥齿轮14与第三锥齿轮13的啮合带动位于另一侧的竖轴15进行转动,两个竖轴15分别带动对应的第二锥齿轮12转动,两个第二锥齿轮12分别带动对应的第一锥齿轮11转动,两个第一锥齿轮11分别带动对应的第一搅拌轴4转动,两个第一搅拌轴4分别带动对应的第一搅拌杆5转动,从而提升对于饲料原料的搅拌混合效果,竖轴15转动的同时带动凸轮17转动,凸轮17通过与竖板18的抵接推动竖板18相一侧运动并对复位弹簧22进行压缩,凸轮17继续转动,竖板18在复位弹簧22的弹力作用下反向滑动,凸轮17持续转动,从而带动竖板18横向往复震动,竖板18通过与第二搅拌轴6的转动配合并在挡板24和限位轴套25对第二搅拌轴6横向运动的限制带动第二搅拌轴6转动的同时横向往复震动,进一步提升第二搅拌杆7的搅拌混合效果。In the utility model, when in use, different raw materials of pig feed are placed in each
Claims (6)
Priority Applications (1)
| Application Number | Priority Date | Filing Date | Title |
|---|---|---|---|
| CN202023327654.5U CN214715796U (en) | 2020-12-31 | 2020-12-31 | An automatic batching and stirring equipment for pig breeding |
Applications Claiming Priority (1)
| Application Number | Priority Date | Filing Date | Title |
|---|---|---|---|
| CN202023327654.5U CN214715796U (en) | 2020-12-31 | 2020-12-31 | An automatic batching and stirring equipment for pig breeding |
Publications (1)
| Publication Number | Publication Date |
|---|---|
| CN214715796U true CN214715796U (en) | 2021-11-16 |
Family
ID=78636891
Family Applications (1)
| Application Number | Title | Priority Date | Filing Date |
|---|---|---|---|
| CN202023327654.5U Expired - Fee Related CN214715796U (en) | 2020-12-31 | 2020-12-31 | An automatic batching and stirring equipment for pig breeding |
Country Status (1)
| Country | Link |
|---|---|
| CN (1) | CN214715796U (en) |
Cited By (1)
| Publication number | Priority date | Publication date | Assignee | Title |
|---|---|---|---|---|
| CN114158755A (en) * | 2021-11-26 | 2022-03-11 | 高安猪太傅饲料有限公司 | A high-capacity sow feed production system |
-
2020
- 2020-12-31 CN CN202023327654.5U patent/CN214715796U/en not_active Expired - Fee Related
Cited By (2)
| Publication number | Priority date | Publication date | Assignee | Title |
|---|---|---|---|---|
| CN114158755A (en) * | 2021-11-26 | 2022-03-11 | 高安猪太傅饲料有限公司 | A high-capacity sow feed production system |
| CN114158755B (en) * | 2021-11-26 | 2022-11-11 | 高安猪太傅饲料有限公司 | High-yield sow feed production system |
Similar Documents
| Publication | Publication Date | Title |
|---|---|---|
| CN107695022A (en) | A kind of water-saving efficiently tealeaves water washing device | |
| CN207887016U (en) | A kind of energy-saving feed additive mixing arrangement | |
| CN214715796U (en) | An automatic batching and stirring equipment for pig breeding | |
| CN220940058U (en) | Multichannel mixing arrangement | |
| CN220177056U (en) | Ball milling device is used in magnetic shoe production | |
| CN112973551A (en) | Chemical machinery agitating unit | |
| CN214076082U (en) | Pneumatic stirring colloid clarifying tank | |
| CN115674481A (en) | Polymer sand processingequipment based on clamp plate method | |
| CN216223868U (en) | Fluorescent glue preparation device for LED lamp production | |
| CN214390449U (en) | A ball mill for the production of non-metallic nanomaterials | |
| CN211762710U (en) | Stirring device for producing modified plastics | |
| CN107997217A (en) | A kind of energy-saving feed additive mixing arrangement | |
| CN208161498U (en) | A kind of production of chlorinated polyethylene helicon high efficient mixer | |
| CN219276312U (en) | Raw material mixing device for degradable plastic bag production | |
| CN217614179U (en) | Cleaning agent mixing stirring device | |
| CN210787211U (en) | Pigment processing device | |
| CN204320137U (en) | A kind of aquatic feeds mixing arrangement | |
| CN107376704A (en) | Automatic production device for ore pulp with adjustable concentration | |
| CN217490665U (en) | A multi-cavity convergent mixing device for cement production | |
| CN114369465A (en) | A kind of high-efficiency repairing agent for polluted soil and preparation method thereof | |
| CN204914226U (en) | Concrete -mixer | |
| CN221868198U (en) | Concrete admixture processing mixing arrangement | |
| CN216295860U (en) | A waste water treatment device with a stirring structure | |
| CN208451924U (en) | A kind of cement stirring device convenient for cleaning | |
| CN220681162U (en) | Precast concrete pouring device |
Legal Events
| Date | Code | Title | Description |
|---|---|---|---|
| GR01 | Patent grant | ||
| GR01 | Patent grant | ||
| CF01 | Termination of patent right due to non-payment of annual fee |
Granted publication date: 20211116 |
