CN214703543U - Monitoring device for pollutants in air environment - Google Patents

Monitoring device for pollutants in air environment Download PDF

Info

Publication number
CN214703543U
CN214703543U CN202121153271.2U CN202121153271U CN214703543U CN 214703543 U CN214703543 U CN 214703543U CN 202121153271 U CN202121153271 U CN 202121153271U CN 214703543 U CN214703543 U CN 214703543U
Authority
CN
China
Prior art keywords
monitoring device
wall
device body
pollutants
air environment
Prior art date
Legal status (The legal status is an assumption and is not a legal conclusion. Google has not performed a legal analysis and makes no representation as to the accuracy of the status listed.)
Active
Application number
CN202121153271.2U
Other languages
Chinese (zh)
Inventor
姚洁
Current Assignee (The listed assignees may be inaccurate. Google has not performed a legal analysis and makes no representation or warranty as to the accuracy of the list.)
Xi'an Tianpu Testing Technology Service Co.,Ltd.
Original Assignee
Yijie Environmental Technology Co ltd
Priority date (The priority date is an assumption and is not a legal conclusion. Google has not performed a legal analysis and makes no representation as to the accuracy of the date listed.)
Filing date
Publication date
Application filed by Yijie Environmental Technology Co ltd filed Critical Yijie Environmental Technology Co ltd
Priority to CN202121153271.2U priority Critical patent/CN214703543U/en
Application granted granted Critical
Publication of CN214703543U publication Critical patent/CN214703543U/en
Active legal-status Critical Current
Anticipated expiration legal-status Critical

Links

Images

Landscapes

  • Testing Or Calibration Of Command Recording Devices (AREA)

Abstract

本实用新型公开了一种空气环境中污染物的监测装置,包括监测装置本体,监测装置本体的顶部外壁通过合页连接有金属壳,金属壳的内部设置有太阳能电池板,监测装置本体的顶部外壁通过螺栓连接有滑轨,滑轨的内部滑动连接有滑板,滑板与金属壳之间通过轴铰接有连杆,滑板的内部通过螺纹连接有压紧螺栓,压紧螺栓的顶部外壁焊接有加力板,监测装置本体的底部内壁设置有电源模块,电源模块与太阳能电池板通过导线呈电性连接。本实用新型通过设置的太阳能电池板和电源模块,利用太阳能电池板可以通过太阳能进行发电,并储存在电源模块的内部,使得检测装置在野外的范围更加的广泛,进而增加了污染物检测装置的使用范围。

Figure 202121153271

The utility model discloses a monitoring device for pollutants in an air environment, comprising a monitoring device body, a top outer wall of the monitoring device body is connected with a metal shell through hinges, a solar cell panel is arranged inside the metal shell, and the top of the monitoring device body is The outer wall is connected with the slide rail by bolts, the slide rail is slidably connected inside the slide rail, the connecting rod is hinged between the slide plate and the metal shell through the shaft, the inner part of the slide plate is connected with the pressing bolt through the thread, and the top outer wall of the pressing bolt is welded with a plus The power plate is provided with a power module on the bottom inner wall of the monitoring device body, and the power module and the solar panel are electrically connected through wires. The utility model uses the solar cell panel and the power module to generate electricity through the solar energy and stores it in the power module, so that the detection device has a wider range in the field, thereby increasing the pollutant detection device. range of use.

Figure 202121153271

Description

Monitoring device for pollutants in air environment
Technical Field
The utility model relates to an empty gas detection surveys equipment technical field, especially relates to a monitoring devices of pollutant among air circumstance.
Background
Along with the improvement of the living standard of people, people pay more and more attention to the quality of air, therefore need use equipment to monitor the pollutant in the air environment of each area for know the air pollution condition in this area.
When the monitoring device for pollutants in the air environment in the prior art is installed, a power supply for power transmission needs to be considered near the installation, so that the application range of the detection device is limited, the heat dissipation and dehumidification performances are poor, and the detection device is damaged due to overheating or humid air. Therefore, it is desirable to design a device for monitoring pollutants in an air environment to solve the above problems.
Disclosure of Invention
The utility model aims at solving the problem of narrow application range, poor heat dissipation and dehumidification effect in the prior art and providing a monitoring device for pollutants in air environment.
In order to achieve the above purpose, the utility model adopts the following technical scheme: the utility model provides a monitoring devices of pollutant among air circumstance, includes the monitoring devices body, there is the metal casing top outer wall of monitoring devices body through hinge connection, the inside of metal casing is provided with solar cell panel, there is the slide rail top outer wall of monitoring devices body through bolted connection, the inside sliding connection of slide rail has the slide, it has the connecting rod to articulate through the axle between slide and the metal casing, there is clamp bolt inside of slide through threaded connection, clamp bolt's top outer wall welding has the gusset, the bottom inner wall of monitoring devices body is provided with power module, power module is electric connection through the wire with solar cell panel.
The key concept of the technical scheme is as follows: utilize solar cell panel can generate electricity through solar energy to store in power module's inside, make detection device more extensive in open-air scope, and then increased pollutant detection device's application range.
Further, the inner wall of the bottom of the monitoring device body is connected with a cooling fan through a bolt, the outer wall of one side of the monitoring device body is provided with a temperature and humidity sensor, the inner wall of the bottom of the monitoring device body is connected with a control module through a bolt, and the cooling fan, the power supply module and the temperature and humidity sensor are all electrically connected with the control module through wires.
Further, there is a wind direction sensor on one side outer wall of the monitoring device body through bolted connection, the wind direction sensor is electrically connected with the monitoring device body through a wire, there is a wind speed sensor on one side outer wall of the monitoring device body through bolted connection, the wind speed sensor is electrically connected with the monitoring device body through a wire.
Furthermore, the bottom of the monitoring device body is provided with a support cylinder, a connecting rod is inserted into the support cylinder, and the connecting rod is connected with the monitoring device body through a flange.
Furthermore, a nut is welded on the outer wall of one side of the support cylinder, and a fastening bolt is connected inside the nut through threads.
Furthermore, a window is formed in the outer wall of one side of the monitoring device body, and a light-transmitting plate is arranged inside the window.
Furthermore, the outer wall of the bottom of the supporting cylinder is welded with a base, and the outer wall of the bottom of the base is provided with a fixing hole.
The utility model has the advantages that:
1. through the solar cell panel and the power module who set up, utilize solar cell panel can generate electricity through solar energy to store in power module's inside, make detection device more extensive in open-air scope, and then increased pollutant detection device's application range.
2. Through temperature and humidity sensor, control module and the radiator fan who sets up, utilize temperature and humidity sensor to monitor the inside temperature and humidity of detection device for control radiator fan through control module carries out automatic operation, and then has realized the effect that monitoring devices body heat dissipation, dehumidification performance are good.
3. Through the slide rail, slide and the clamp bolt that set up, make the slide fix in the inside of slide rail through the rotation to clamp bolt, and then make the inside solar cell panel of metal casing can carry out the change of angle, and then when being fit for installing in different dimensions on earth, conveniently carry out the effect adjusted.
4. Through the fastening bolt, a branch section of thick bamboo and the connecting rod that set up, the rotation that utilizes fastening bolt makes the connecting rod fix in the inside of a branch section of thick bamboo, and then makes the monitoring devices body can rise and reduce for detection device can carry out altitude mixture control's effect according to the geographical environment of difference.
Drawings
Fig. 1 is a schematic view of the overall structure of a device for monitoring pollutants in an air environment according to the present invention;
fig. 2 is a schematic cross-sectional structure diagram of a device for monitoring pollutants in an air environment according to the present invention;
fig. 3 is a schematic structural view of a slide rail of a device for monitoring pollutants in an air environment according to the present invention;
fig. 4 is a control flow chart of the monitoring device for pollutants in an air environment according to the present invention.
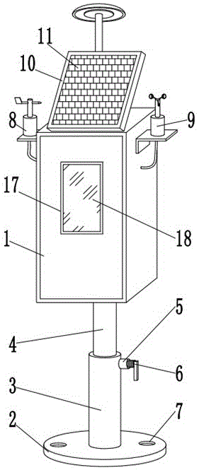
In the figure: the device comprises a monitoring device body 1, a base 2, a support 3, a connecting rod 4, a nut 5, a fastening bolt 6, a fixing hole 7, a wind direction sensor 8, a wind speed sensor 9, a metal shell 10, a solar cell panel 11, a connecting rod 12, a sliding rail 13, a sliding plate 14, a pressing bolt 15, a reinforcing plate 16, a window 17, a light-transmitting plate 18, a power module 19, a temperature and humidity sensor 20, a cooling fan 21 and a control module 22.
Detailed Description
The technical solutions in the embodiments of the present invention will be described clearly and completely with reference to the accompanying drawings in the embodiments of the present invention, and it is obvious that the described embodiments are only some embodiments of the present invention, not all embodiments. Based on the embodiments in the present invention, all other embodiments obtained by a person skilled in the art without creative work belong to the protection scope of the present invention.
Please refer to fig. 1 to 4 simultaneously, a monitoring device for pollutants in air environment, including monitoring device body 1, monitoring device body 1 is a monitoring device for pollutants in air in the prior art, top outer wall of monitoring device body 1 has metal shell 10 through hinge connection, inside of metal shell 10 is provided with solar cell panel 11, model of solar cell panel 11 is THL360, top outer wall of monitoring device body 1 has slide rail 13 through bolted connection, inside sliding connection of slide rail 13 has slide 14, there is connecting rod 12 through the axle hinge between slide 14 and metal shell 10, inside of slide 14 has clamp bolt 15 through threaded connection, top outer wall welding of clamp bolt 15 has gusset 16, bottom inner wall of monitoring device body 1 is provided with power module 19, power module 19 is a storage battery in the prior art, power module 19 is electrically connected with solar cell panel 11 through the wire.
As can be seen from the above description, the present invention has the following advantages: through the solar cell panel 11 and the power module 19 that set up, utilize solar cell panel 11 can generate electricity through solar energy to store in power module 19's inside, make monitoring devices body 1 more extensive in the scope in the field, and then increased pollutant detection device's application range.
Further, the inner wall of the bottom of the monitoring device body 1 is connected with a cooling fan 21 through a bolt, the model of the cooling fan 21 is G-100, the outer wall of one side of the monitoring device body 1 is provided with a temperature and humidity sensor 20, the model of the temperature and humidity sensor 20 is BM100, the inner wall of the bottom of the monitoring device body 1 is connected with a control module 22 through a bolt, the model of the control module 22 is CN32PT, the cooling fan 21, the power module 19 and the temperature and humidity sensor 20 are all electrically connected with the control module 22 through wires, and the control module 22 is used for controlling the cooling fan 21 to automatically operate.
Further, there is wind direction sensor 8 one side outer wall of monitoring devices body 1 through bolted connection, wind direction sensor 8's model is HGFXSV50V, wind direction sensor 8 is electric connection through wire and monitoring devices body 1, there is wind speed sensor 9 one side outer wall of monitoring devices body 1 through bolted connection, wind speed sensor 9's model is MULTI-5P, wind speed sensor 9 is electric connection through wire and monitoring devices body 1, utilize wind direction sensor 8 and wind speed sensor 9 to detect the wind speed and the wind direction in this area of department.
Further, the bottom of monitoring devices body 1 is provided with a section of thick bamboo 3, and the inside of a section of thick bamboo 3 is pegged graft and is had connecting rod 4, and connecting rod 4 passes through the flange and is connected with monitoring devices body 1 for connecting rod 4 can stimulate in the inside of a section of thick bamboo 3.
Further, the outer wall welding of one side of a branch section of thick bamboo 3 has nut 5, and there is fastening bolt 6 nut 5's inside through threaded connection, utilizes fastening bolt 6 to contradict fixedly connecting rod 4 for monitoring devices body 1 can carry out altitude mixture control.
Further, the outer wall of one side of the monitoring device body 1 is provided with a window 17, a light-transmitting plate 18 is arranged inside the window 17, and the light-transmitting plate 18 is made of glass materials, so that the inside of the monitoring device body 1 can be observed conveniently.
Further, the base 2 is welded on the outer wall of the bottom of the support cylinder 3, the fixing hole 7 is formed in the outer wall of the bottom of the base 2, and the base 2 is fixed through the fixing hole 7 through a bolt convenient to use.
By adopting the temperature and humidity sensor 20, the control module 22 and the cooling fan 21, the temperature and the humidity inside the monitoring device body 1 are monitored by the temperature and humidity sensor 20, so that the cooling fan 21 is controlled by the control module 22 to automatically operate, and the effects of good heat dissipation and dehumidification performances of the monitoring device body 1 are realized.
In the following, some preferred embodiments or application examples are listed to help those skilled in the art to better understand the technical content of the present invention and the technical contribution of the present invention to the prior art:
example 1
The utility model provides a monitoring devices of pollutant among air circumstance, including monitoring devices body 1, monitoring devices body 1 is the monitoring facilities of pollutant in prior art's the air, there is metal casing 10 monitoring devices body 1's top outer wall through hinge connection, the inside of metal casing 10 is provided with solar cell panel 11, solar cell panel 11's model is THL360, there is slide rail 13 monitoring devices body 1's top outer wall through bolted connection, slide rail 13's inside sliding connection has slide 14, there is connecting rod 12 through the axle is articulated between slide 14 and the metal casing 10, there is clamp bolt 15 slide 14's inside through threaded connection, clamp bolt 15's top outer wall welding has gusset 16, monitoring devices body 1's bottom inner wall is provided with power module 19, power module 19 is prior art's battery, power module 19 is electric connection through the wire with solar cell panel 11.
The inner wall of the bottom of the monitoring device body 1 is connected with a cooling fan 21 through a bolt, the type of the cooling fan 21 is G-100, the outer wall of one side of the monitoring device body 1 is provided with a temperature and humidity sensor 20, the type of the temperature and humidity sensor 20 is BM100, the inner wall of the bottom of the monitoring device body 1 is connected with a control module 22 through a bolt, the type of the control module 22 is CN32PT, the cooling fan 21, the power supply module 19 and the temperature and humidity sensor 20 are all electrically connected with the control module 22 through wires, and the control module 22 is used for controlling the cooling fan 21 to automatically run; the monitoring device comprises a monitoring device body 1, a wind direction sensor 8, a wind speed sensor 9, a wind speed sensor 8, a wind direction sensor 9, a lead and a monitoring device body 1, wherein the outer wall of one side of the monitoring device body 1 is connected with the wind direction sensor 8 through a bolt, the model of the wind direction sensor 8 is HGFXSV50V, the wind direction sensor 8 is electrically connected with the monitoring device body 1 through the lead, the outer wall of one side of the monitoring device body 1 is connected with the wind speed sensor 9 through the bolt, the model of the wind speed sensor 9 is MULTIL-5P, the wind speed sensor 9 is electrically connected with the monitoring device body 1 through the lead, and the wind speed and the wind direction of the area are detected by the wind direction sensor 8 and the wind speed sensor 9; a support cylinder 3 is arranged at the bottom of the monitoring device body 1, a connecting rod 4 is inserted into the support cylinder 3, and the connecting rod 4 is connected with the monitoring device body 1 through a flange, so that the connecting rod 4 can be pulled in the support cylinder 3; a nut 5 is welded on the outer wall of one side of the supporting cylinder 3, a fastening bolt 6 is connected inside the nut 5 through threads, and the fastening bolt 6 is used for abutting and fixing the connecting rod 4, so that the height of the monitoring device body 1 can be adjusted; a window 17 is formed in the outer wall of one side of the monitoring device body 1, a light-transmitting plate 18 is arranged inside the window 17, and the light-transmitting plate 18 is made of glass materials, so that the inside of the monitoring device body 1 can be observed conveniently; the bottom outer wall welding of a branch section of thick bamboo 3 has base 2, and the bottom outer wall of base 2 is opened has fixed orifices 7, fixes base 2 through 7 convenient to use bolts of fixed orifices.
The working principle is as follows: when the height of the monitoring device body 1 needs to be adjusted, the fastening bolt 6 is rotated to ensure that the fastening bolt 6 does not contact with the connecting rod 4, the connecting rod 4 is pulled in the support tube 3 to change the height of the monitoring device body 1, the fastening bolt 6 is rotated to ensure that the fastening bolt 6 is abutted against and fixed on the connecting rod 4, so that the mounting height of the detection device can be changed, when the inclination angle of the solar cell panel 11 in the metal shell 10 needs to be changed, the compression bolt 15 is rotated through the reinforcing plate 16 to ensure that the compression bolt 15 is not abutted against the inner wall of the bottom of the sliding rail 13, the sliding plate 14 slides in the sliding rail 13 to ensure that the included angle between the metal shell 10 and the monitoring device body 1 is changed, and the compression bolt 15 is rotated through the reinforcing plate 16 again, the pressing bolt 15 is used for fixing the sliding plate 14 in the sliding rail 13, so that the fixing of the inclination angle of the solar cell panel 11 can be realized; utilize solar cell panel 11 to generate electricity to store the electric energy in power module 19's inside, make monitoring device body 1 carry out normal work.
The above, only be the concrete implementation of the preferred embodiment of the present invention, but the protection scope of the present invention is not limited thereto, and any person skilled in the art is in the technical scope of the present invention, according to the technical solution of the present invention and the utility model, the concept of which is equivalent to replace or change, should be covered within the protection scope of the present invention.

Claims (7)

1.一种空气环境中污染物的监测装置,包括监测装置本体(1),其特征在于,所述监测装置本体(1)的顶部外壁通过合页连接有金属壳(10),所述金属壳(10)的内部设置有太阳能电池板(11),所述监测装置本体(1)的顶部外壁通过螺栓连接有滑轨(13),所述滑轨(13)的内部滑动连接有滑板(14),所述滑板(14)与金属壳(10)之间通过轴铰接有连杆(12),所述滑板(14)的内部通过螺纹连接有压紧螺栓(15),所述压紧螺栓(15)的顶部外壁焊接有加力板(16),所述监测装置本体(1)的底部内壁设置有电源模块(19),所述电源模块(19)与太阳能电池板(11)通过导线呈电性连接。1. A monitoring device for pollutants in an air environment, comprising a monitoring device body (1), characterized in that a metal shell (10) is connected to the top outer wall of the monitoring device body (1) through a hinge, and the metal A solar panel (11) is arranged inside the shell (10), a slide rail (13) is connected to the top outer wall of the monitoring device body (1) by bolts, and a slide rail (13) is slidably connected to the inside of the slide rail (13). 14), a connecting rod (12) is hinged between the sliding plate (14) and the metal shell (10) through a shaft, and a pressing bolt (15) is connected to the inside of the sliding plate (14) through a thread, and the pressing A booster plate (16) is welded on the top outer wall of the bolt (15), and a power module (19) is provided on the bottom inner wall of the monitoring device body (1), and the power module (19) passes through the solar cell panel (11) The wires are electrically connected. 2.根据权利要求1所述的一种空气环境中污染物的监测装置,其特征在于,所述监测装置本体(1)底部内壁通过螺栓连接有散热风扇(21),所述监测装置本体(1)的一侧外壁设置有温湿度传感器(20),所述监测装置本体(1)的底部内壁通过螺栓连接有控制模块(22),所述散热风扇(21)、电源模块(19)和温湿度传感器(20)均通过导线与控制模块(22)呈电性连接。2 . The monitoring device for pollutants in the air environment according to claim 1 , wherein a cooling fan ( 21 ) is connected to the bottom inner wall of the monitoring device body ( 1 ) by bolts, and the monitoring device body ( 2 ) is 2 . 1) A temperature and humidity sensor (20) is arranged on the outer wall of one side, the bottom inner wall of the monitoring device body (1) is connected with a control module (22) by bolts, the cooling fan (21), the power module (19) and the The temperature and humidity sensors (20) are electrically connected to the control module (22) through wires. 3.根据权利要求1所述的一种空气环境中污染物的监测装置,其特征在于,所述监测装置本体(1)的一侧外壁通过螺栓连接有风向传感器(8),所述风向传感器(8)通过导线与监测装置本体(1)呈电性连接,所述监测装置本体(1)的一侧外壁通过螺栓连接有风速传感器(9),所述风速传感器(9)通过导线与监测装置本体(1)呈电性连接。3 . The monitoring device for pollutants in the air environment according to claim 1 , wherein an outer wall of one side of the monitoring device body ( 1 ) is connected with a wind direction sensor ( 8 ) through bolts, and the wind direction sensor is 3 . (8) It is electrically connected to the monitoring device body (1) through a wire, and an wind speed sensor (9) is connected to one side outer wall of the monitoring device body (1) through bolts, and the wind speed sensor (9) is connected to the monitoring device through a wire. The device body (1) is electrically connected. 4.根据权利要求1所述的一种空气环境中污染物的监测装置,其特征在于,所述监测装置本体(1)的底部设置有支筒(3),所述支筒(3)的内部插接有连接杆(4),所述连接杆(4)通过法兰与监测装置本体(1)连接。4 . The monitoring device for pollutants in the air environment according to claim 1 , wherein a support cylinder ( 3 ) is provided at the bottom of the monitoring device body ( 1 ), and a support cylinder ( 3 ) is provided at the bottom. 5 . A connecting rod (4) is inserted inside, and the connecting rod (4) is connected with the monitoring device body (1) through a flange. 5.根据权利要求4所述的一种空气环境中污染物的监测装置,其特征在于,所述支筒(3)的一侧外壁焊接有螺母(5),所述螺母(5)的内部通过螺纹连接有紧固螺栓(6)。5 . The monitoring device for pollutants in the air environment according to claim 4 , wherein a nut ( 5 ) is welded to the outer wall of one side of the support cylinder ( 3 ), and the inner part of the nut ( 5 ) is welded. 6 . Fastening bolts (6) are connected by threads. 6.根据权利要求1所述的一种空气环境中污染物的监测装置,其特征在于,所述监测装置本体(1)的一侧外壁开有窗口(17),所述窗口(17)的内部设置有透光板(18)。6 . The monitoring device for pollutants in the air environment according to claim 1 , wherein a window ( 17 ) is opened on one side of the outer wall of the monitoring device body ( 1 ), and the window ( 17 ) has a window ( 17 ). 7 . A light-transmitting plate (18) is arranged inside. 7.根据权利要求4所述的一种空气环境中污染物的监测装置,其特征在于,所述支筒(3)的底部外壁焊接有底座(2),所述底座(2)的底部外壁开有固定孔(7)。7 . The monitoring device for pollutants in air environment according to claim 4 , wherein a base ( 2 ) is welded to the bottom outer wall of the support cylinder ( 3 ), and the bottom outer wall of the base ( 2 ) is welded. 8 . There are fixing holes (7).
CN202121153271.2U 2021-05-27 2021-05-27 Monitoring device for pollutants in air environment Active CN214703543U (en)

Priority Applications (1)

Application Number Priority Date Filing Date Title
CN202121153271.2U CN214703543U (en) 2021-05-27 2021-05-27 Monitoring device for pollutants in air environment

Applications Claiming Priority (1)

Application Number Priority Date Filing Date Title
CN202121153271.2U CN214703543U (en) 2021-05-27 2021-05-27 Monitoring device for pollutants in air environment

Publications (1)

Publication Number Publication Date
CN214703543U true CN214703543U (en) 2021-11-12

Family

ID=78554071

Family Applications (1)

Application Number Title Priority Date Filing Date
CN202121153271.2U Active CN214703543U (en) 2021-05-27 2021-05-27 Monitoring device for pollutants in air environment

Country Status (1)

Country Link
CN (1) CN214703543U (en)

Similar Documents

Publication Publication Date Title
CN109270964B (en) Automatic solar position positioning and sharing device for auxiliary solar panel
CN214703543U (en) Monitoring device for pollutants in air environment
CN212032317U (en) Alarm device for forest fire prevention
CN217716494U (en) Multifunctional outdoor sensor
JP2000304871A (en) Outside temperature and humidity measurement device
CN217063138U (en) Cable testing bridge of intelligence cooling
CN209627301U (en) A kind of rotary type photovoltaic panel
CN110967053A (en) Building engineering monitoring facilities based on thing networking transmission
CN219933778U (en) Solar and wind energy street lamp with energy storage effect
CN112351206A (en) Intelligent high-speed monitoring patrol monitoring equipment
CN210982373U (en) Ambient air quality detector
CN211956714U (en) Laser radar vehicle detection device capable of rotating
CN213336225U (en) Environmental monitoring device with safeguard function
CN215294376U (en) Urban and rural planning monitoring management device with stable operation
CN204333660U (en) Solar powered dehumidification system
CN108418525A (en) A photovoltaic panel support assembly
CN207301234U (en) A kind of website formula status of electric power on-Line Monitor Device
CN209196722U (en) A kind of solar energy Chinese lamp foundation structure
CN209710002U (en) A kind of skyscraper solar energy is to day bracket
CN220709517U (en) Environment monitoring device
JP2006348871A (en) Wind power generation unit and hybrid power generation system using the same, hybrid power generation street light, and hybrid power generation unit
CN212779555U (en) Engineering construction noise monitoring device
CN211923262U (en) Daylighting and heat collecting system of underground building
CN211258895U (en) Supporting device for monitoring temperature and humidity of wind generating set
CN223156998U (en) Wind-light energy trapping system

Legal Events

Date Code Title Description
GR01 Patent grant
GR01 Patent grant
TR01 Transfer of patent right
TR01 Transfer of patent right

Effective date of registration: 20251123

Address after: 710000 Shaanxi Province Xi'an City Gaoxin New Industrial Park Zaozitai Road 22, Building 1, Second Floor

Patentee after: XI'AN DINGYAN TECHNOLOGY CO.,LTD.

Country or region after: China

Patentee after: Gao Ruiping

Address before: 450000 Henan Province, Zhengzhou City, Free Trade Zone Zhengzhou Area (Zhengdong), Dongfeng South Road, Greenland Center Twin Towers North Tower 2907

Patentee before: Yijie Environmental Technology Co.,Ltd.

Country or region before: China

TR01 Transfer of patent right

Effective date of registration: 20251208

Address after: 710000 Shaanxi Province, Xi'an City, High-tech Development Zone, New Industrial Park, Zaozitai Road No. 22, 3rd Floor Office Building

Patentee after: Xi'an Tianpu Testing Technology Service Co.,Ltd.

Country or region after: China

Address before: 710000 Shaanxi Province Xi'an City Gaoxin New Industrial Park Zaozitai Road 22, Building 1, Second Floor

Patentee before: XI'AN DINGYAN TECHNOLOGY CO.,LTD.

Country or region before: China

Patentee before: Gao Ruiping