CN214694307U - 一种转盘轴承无软带淬火感应装置 - Google Patents

一种转盘轴承无软带淬火感应装置 Download PDF

Info

Publication number
CN214694307U
CN214694307U CN202120817226.6U CN202120817226U CN214694307U CN 214694307 U CN214694307 U CN 214694307U CN 202120817226 U CN202120817226 U CN 202120817226U CN 214694307 U CN214694307 U CN 214694307U
Authority
CN
China
Prior art keywords
quenching
inductor
bearing
bearing ring
positioning sleeve
Prior art date
Legal status (The legal status is an assumption and is not a legal conclusion. Google has not performed a legal analysis and makes no representation as to the accuracy of the status listed.)
Active
Application number
CN202120817226.6U
Other languages
English (en)
Inventor
李延峰
刘玉龙
华显伟
左朋辉
张芳
王跃强
王远
袁航
Current Assignee (The listed assignees may be inaccurate. Google has not performed a legal analysis and makes no representation or warranty as to the accuracy of the list.)
China Machinery Luoyang Equipment Technology Co ltd
Original Assignee
China Machinery Luoyang Equipment Technology Co ltd
Priority date (The priority date is an assumption and is not a legal conclusion. Google has not performed a legal analysis and makes no representation as to the accuracy of the date listed.)
Filing date
Publication date
Application filed by China Machinery Luoyang Equipment Technology Co ltd filed Critical China Machinery Luoyang Equipment Technology Co ltd
Priority to CN202120817226.6U priority Critical patent/CN214694307U/zh
Application granted granted Critical
Publication of CN214694307U publication Critical patent/CN214694307U/zh
Active legal-status Critical Current
Anticipated expiration legal-status Critical

Links

Images

Classifications

    • YGENERAL TAGGING OF NEW TECHNOLOGICAL DEVELOPMENTS; GENERAL TAGGING OF CROSS-SECTIONAL TECHNOLOGIES SPANNING OVER SEVERAL SECTIONS OF THE IPC; TECHNICAL SUBJECTS COVERED BY FORMER USPC CROSS-REFERENCE ART COLLECTIONS [XRACs] AND DIGESTS
    • Y02TECHNOLOGIES OR APPLICATIONS FOR MITIGATION OR ADAPTATION AGAINST CLIMATE CHANGE
    • Y02PCLIMATE CHANGE MITIGATION TECHNOLOGIES IN THE PRODUCTION OR PROCESSING OF GOODS
    • Y02P10/00Technologies related to metal processing
    • Y02P10/25Process efficiency

Landscapes

  • Heat Treatment Of Articles (AREA)

Abstract

本实用新型公开了一种转盘轴承无软带淬火感应装置,包括淬火工作台,所述淬火工作台的中心设置有液压升降机,且在淬火工作台的顶部还设置有中心为通孔的淬火槽;所述淬火槽的顶部设置有旋转台;所述旋转台的底部与液压升降机的传动轴固定连接,旋转台的顶部还设置有定位套;所述定位套的内表面设置为台阶状,在其内侧上部设置有轴承套圈;所述轴承套圈的内侧设置有感应器;所述感应器通过其上部垂直设置的连接架与淬火机床固定连接。本实用新型通过液压升降机、旋转台、定位套和感应器的配合使用,可实现不同结构轴承套圈的无软带淬火,提高淬火质量、淬火效果均匀稳定,有效提高了轴承工作寿命同时也提高了生产效率。

Description

一种转盘轴承无软带淬火感应装置
技术领域
本实用新型属于轴承制造领域,主要涉及一种转盘轴承无软带淬火感应装置。
背景技术
转盘轴承可以承受轴向力、径向力、倾覆力矩,自带安装孔、定位孔,部分轴承还自带齿轮,一套轴承可实现多套通用轴承的功效,且所需安装小,广泛应用于国民经济个行业。由于其特殊的使用性能,要求其工作表面如滚道硬化,而其它表面为不硬化,以便于进行孔或齿轮的加工。常规的转盘轴承,其滚道表面采用传统表面淬火。这种淬火采用单头或双头感应器(一个感应器预热、一个感应器加热),喷水装置布置在感应器后面,套圈或感应器转动,实现套圈加热;喷水装置喷水,实现淬火;套圈或感应器及喷水装置连续转动一周,实现套圈滚道淬火,这叫连续法感应淬火。采用该方法,在淬火起始及终止位置,会留下一小段软带,不淬火,这是为了避免因重复淬火,产生淬火裂纹。该软带处,套圈的硬度是基体硬度,远低于滚道淬火硬度,所以软带存在,对轴承寿命有影响。通常情况下,制造厂标记软带位置,制定安装要求,用户安装时,承载区避开软带,以减小软带对轴承使用寿命的影响。通常情况下,制造厂标记软带位置,制定安装要求,用户安装时,承载区避开软带,以减小软带对轴承使用寿命的影响。但一些特殊场合使用的轴承,如医疗器械、物流机器人等,对轴承寿命有严格要求;另外,轴承工作时要求360度转动,受力点无法避开软带,这样软带的存在就会影响轴承工作寿命。所以,实现轴承套圈滚道无软带淬火,对提高轴承工作寿命来讲意义重大。
实用新型内容
针对现有技术中存在的缺陷,本实用新型的目的在于提供一种转盘轴承无软带淬火感应装置,可实现不同结构轴承以及其套圈的无软带淬火,淬火效果均匀稳定、效果更加理想。
本实用新型采取以下技术方案:
一种转盘轴承无软带淬火感应装置,包括淬火工作台,所述淬火工作台的中心设置有液压升降机,且在淬火工作台的顶部还设置有中心为通孔的淬火槽;所述淬火槽的顶部设置有旋转台;所述旋转台的底部与液压升降机的传动轴固定连接,旋转台的顶部还设置有定位套;所述定位套的内表面设置为台阶状,在其内侧上部设置有轴承套圈A;所述轴承套圈A的内侧设置有感应器;所述感应器通过其上部垂直设置的连接架与淬火机床固定连接。
所述液压升降机的传动轴通过淬火槽的通孔处设置有环形密封圈。
所述感应器为环形感应器,且感应器的截面形状与所述轴承套圈A的沟道形状相互对应。
所述淬火槽内设置有淬火液。
此外,本实用新型还提供一种转盘轴承无软带淬火感应装置,所述定位套的外表面设置为台阶状,在其外侧上部设置有轴承套圈B;所述轴承套圈B的外侧设置有感应器;所述感应器通过其上部垂直设置的连接架与淬火机床固定连接;所述感应器为环形感应器,且感应器的截面形状与所述轴承套圈B的沟道形状相互对应。
综上所述,本实用新型通过液压升降机、旋转台、定位套和感应器的配合使用,可实现不同结构轴承套圈的无软带淬火,提高淬火质量、淬火效果均匀稳定,有效提高了轴承工作寿命同时也提高了生产效率。
附图说明
图1是本实用新型第一实施例的结构示意图。
图2是图1的俯视图。
图3是本实用新型第二实施例的结构示意图。
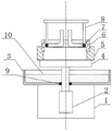
图中:1、淬火工作台,2、液压升降机,3、淬火槽,4、旋转台,5、定位套,6、轴承套圈A,61、轴承套圈B,7、感应器,8、连接架,9、密封圈,10、淬火液。
具体实施方式
结合附图对本实用新型加以说明。
如图1、图2所示,本实用新型第一实施例的一种转盘轴承无软带淬火感应装置,加工轴承套圈外套滚道时,包括淬火工作台1,所述淬火工作台1的中心设置有液压升降机2,且在淬火工作台1的顶部还设置有中心为通孔的淬火槽3;所述淬火槽3的顶部设置有旋转台4;所述旋转台4的底部与液压升降机2的传动轴固定连接,旋转台4的顶部还设置有定位套5;所述定位套5的内表面设置为台阶状;所述定位套5的内侧上部设置有轴承套圈A6;所述轴承套圈A6的内侧设置有感应器7;所述感应器7通过其上部垂直设置的连接架8与淬火机床固定连接;所述液压升降机2的传动轴通过淬火槽的通孔处设置有环形密封圈9,环形密封圈9对液压升降机2的传动轴起到密封作用;所述感应器7为环形感应器,环形感应器7相当于多个单头感应器的组合,且感应器7的截面形状与所述轴承套圈A6的沟道形状相互对应,当轴承套圈A6为四点接触球套圈时,感应器7的截面设计近似圆形,当轴承套圈A6为交叉滚子套圈时,感应器7的截面设计为三角形,即感应器7的截面尺寸及直径尺寸随轴承套圈A6产品而定;所述淬火槽3内设置有淬火液10,淬火液10起到用于快速冷却。
本装置在使用时,首先将轴承套圈A6放在定位套5内侧的台阶上,根据轴承套圈A6的规格选用配套的感应器7,将感应器7连同连接架8卡设在轴承套圈A6内侧,然后将轴承套圈A6淬火,转动旋转台4,同时将感应器7通电,轴承套圈A6的滚道整体加热,待加热指定温度,旋转台4在液压升降机2作用下向下运动,将旋转台4及加热后的轴承套圈A6浸入淬火槽中的淬火液;此时因为轴承套圈A6的旋转,使得轴承套圈A6滚道表面几乎是同步加热,套圈冷却,也是同时进行,所以实现了轴承套圈A6的无软带淬火,有效提高了轴承工作寿命。
如图3所示,本实用新型第二实施例的一种转盘轴承无软带淬火感应装置,加工轴承套圈内套滚道时,所述定位套5的外表面设置为台阶状,在其外侧上部设置有轴承套圈B61;所述轴承套圈B61的外侧设置有感应器7;所述感应器7通过其上部垂直设置的连接架8与淬火机床固定连接;所述感应器7为环形感应器,且感应器7的截面形状与所述轴承套圈B61的沟道形状相互对应。当对四点接触球轴承或交叉滚子轴承内套进行加工时,通过将定位套5外表面设置台阶,轴承套圈B61布置在定位套5外侧的台阶上,轴承套圈B61随旋转台4转动,同时感应器7通电,加热轴承套圈B61,待轴承套圈B61被加热到规定温度,液压升降机2下降,将轴承套圈B61浸入淬火液,即可实现轴承套圈B61无软带淬火,这样的设计可实现不同结构轴承套圈的无软带淬火,提高淬火质量。
通过上述的结构和原理的描述,所属技术领域的技术人员应当理解,本实用新型不限于上述的具体实施方式,在本实用新型基础上采用本领域公知技术的改进和替代均落在本实用新型的保护范围。

Claims (5)

1.一种转盘轴承无软带淬火感应装置,包括淬火工作台(1),其特征是:所述淬火工作台(1)的中心设置有液压升降机(2),且在淬火工作台(1)的顶部还设置有中心为通孔的淬火槽(3);所述淬火槽(3)的顶部设置有旋转台(4);所述旋转台(4)的底部与液压升降机(2)的传动轴固定连接,旋转台(4)的顶部还设置有定位套(5);所述定位套(5)的内表面设置为台阶状,在其内侧上部设置有轴承套圈A(6);所述轴承套圈A(6)的内侧设置有感应器(7);所述感应器(7)通过其上部垂直设置的连接架(8)与淬火机床固定连接。
2.根据权利要求1所述的一种转盘轴承无软带淬火感应装置,其特征是:所述液压升降机(2)的传动轴通过淬火槽(3)的通孔处设置有环形密封圈(9)。
3.根据权利要求1所述的一种转盘轴承无软带淬火感应装置,其特征是:所述感应器(7)为环形感应器,且感应器(7)的截面形状与所述轴承套圈A(6)的沟道形状相互对应。
4.根据权利要求1所述的一种转盘轴承无软带淬火感应装置,其特征是:所述淬火槽(3)内设置有淬火液(10)。
5.根据权利要求1所述的一种转盘轴承无软带淬火感应装置,其特征是:所述定位套(5)的外表面设置为台阶状,在其外侧上部设置有轴承套圈B(61);所述轴承套圈B(61)的外侧设置有感应器(7);所述感应器(7)通过其上部垂直设置的连接架(8)与淬火机床固定连接;所述感应器(7)为环形感应器,且感应器(7)的截面形状与所述轴承套圈B(61)的沟道形状相互对应。
CN202120817226.6U 2021-04-21 2021-04-21 一种转盘轴承无软带淬火感应装置 Active CN214694307U (zh)

Priority Applications (1)

Application Number Priority Date Filing Date Title
CN202120817226.6U CN214694307U (zh) 2021-04-21 2021-04-21 一种转盘轴承无软带淬火感应装置

Applications Claiming Priority (1)

Application Number Priority Date Filing Date Title
CN202120817226.6U CN214694307U (zh) 2021-04-21 2021-04-21 一种转盘轴承无软带淬火感应装置

Publications (1)

Publication Number Publication Date
CN214694307U true CN214694307U (zh) 2021-11-12

Family

ID=78532631

Family Applications (1)

Application Number Title Priority Date Filing Date
CN202120817226.6U Active CN214694307U (zh) 2021-04-21 2021-04-21 一种转盘轴承无软带淬火感应装置

Country Status (1)

Country Link
CN (1) CN214694307U (zh)

Cited By (1)

* Cited by examiner, † Cited by third party
Publication number Priority date Publication date Assignee Title
CN117144106A (zh) * 2023-08-15 2023-12-01 河南欧迪艾铸造有限公司 一种汽车平衡轴支架adi材料热处理制备装置

Cited By (2)

* Cited by examiner, † Cited by third party
Publication number Priority date Publication date Assignee Title
CN117144106A (zh) * 2023-08-15 2023-12-01 河南欧迪艾铸造有限公司 一种汽车平衡轴支架adi材料热处理制备装置
CN117144106B (zh) * 2023-08-15 2024-05-28 河南欧迪艾铸造有限公司 一种汽车平衡轴支架adi材料热处理制备装置

Similar Documents

Publication Publication Date Title
US7703985B2 (en) Bearing, a wind turbine and methods of manufacturing a bearing
CN110283985B (zh) 轴承套圈靶向热处理方法及工装
CN100447417C (zh) 高精度柱塞的生产方法
CN109868353B (zh) 一种轴类、盘类通用的感应淬火设备
CN214694307U (zh) 一种转盘轴承无软带淬火感应装置
CN109082504A (zh) 一种特大型42CrMo剖分轴承套圈滚道表面淬火方法
CN209836252U (zh) 大尺寸渗碳钢制双列调心滚子轴承外圈淬火模具
CN214694282U (zh) 一种喷水式转盘轴承无软带淬火感应装置
CN209778950U (zh) 一种轴类、盘类通用的感应淬火设备
CN114058830A (zh) 一种热处理工装及加工方法
CN110144445B (zh) 一种淬火机床
CN216274302U (zh) 一种热处理工装
CN103725862B (zh) 大型轴承圈热处理夹具
CN210765433U (zh) 一种轴承套圈靶向热处理工装
CN202830096U (zh) 轮边减速器外齿圈用的压淬模具
CN102601579A (zh) 一种高精度深沟球轴承的生产工艺
CN115074511B (zh) 一种环形盾构刀具的表面热处理方法
CN114183463B (zh) 一种双排异径外圈分体式回转轴承
JP2017210631A (ja) リング状部材の熱処理方法、リング状部材の製造方法、転がり軸受の軌道輪および転がり軸受
CN103993153B (zh) 一种轴的中频感应调质热处理方法
CN106807979A (zh) 反应堆冷却剂泵径向轴承静环备件加工装置
CN104057250A (zh) 一种确保回转支撑内外圈装配互换性的加工工艺
CN109182687A (zh) 一种淬火压床及淬火系统
CN113751971A (zh) 一种回转支承的加工工艺
CN213772208U (zh) 一种油缸连杆的镀镍设备

Legal Events

Date Code Title Description
GR01 Patent grant
GR01 Patent grant