CN214693596U - A sewage treatment device for building drainage pipes - Google Patents

A sewage treatment device for building drainage pipes Download PDF

Info

Publication number
CN214693596U
CN214693596U CN202121022448.5U CN202121022448U CN214693596U CN 214693596 U CN214693596 U CN 214693596U CN 202121022448 U CN202121022448 U CN 202121022448U CN 214693596 U CN214693596 U CN 214693596U
Authority
CN
China
Prior art keywords
filter screen
sewage treatment
block
upper portion
pull rod
Prior art date
Legal status (The legal status is an assumption and is not a legal conclusion. Google has not performed a legal analysis and makes no representation as to the accuracy of the status listed.)
Active
Application number
CN202121022448.5U
Other languages
Chinese (zh)
Inventor
郭徽
况夫礼
王志明
Current Assignee (The listed assignees may be inaccurate. Google has not performed a legal analysis and makes no representation or warranty as to the accuracy of the list.)
Zeyuan Ecological Environmental Protection Technology Co.,Ltd.
Original Assignee
Anhui Zeyuan Ecological Environmental Protection Technology Co ltd
Priority date (The priority date is an assumption and is not a legal conclusion. Google has not performed a legal analysis and makes no representation as to the accuracy of the date listed.)
Filing date
Publication date
Application filed by Anhui Zeyuan Ecological Environmental Protection Technology Co ltd filed Critical Anhui Zeyuan Ecological Environmental Protection Technology Co ltd
Priority to CN202121022448.5U priority Critical patent/CN214693596U/en
Application granted granted Critical
Publication of CN214693596U publication Critical patent/CN214693596U/en
Active legal-status Critical Current
Anticipated expiration legal-status Critical

Links

Images

Landscapes

  • Filtration Of Liquid (AREA)

Abstract

本实用新型公开了一种楼房排水管道污水处理装置,包括管道本体,所述管道本体的内部左侧转动安装有转动杆,所述转动杆上设置有多个清理机构,所述管道本体的内部底端开设有凹槽,所述管道本体的上部开设有矩形槽,所述凹槽内设置有底块,所述底块的上部左侧安装有滤网。本实用新型设置了连接板、固定机构和L形板,使滤网在需要进行更换时,直接拉动两个拉杆使其远离插槽,然后抽出滤网对其进行清洗和更换,简单方便,防止长时间不清洗滤网造成堵塞,从而影响污水的处理效果;同时还设置了转动杆和清理机构,通过污水流动时带动扇叶转动,扇叶转动带动毛刷转动,通过毛刷对滤网上的杂物进行清理,从而可以防止滤网堵塞和延长滤网的使用寿命。

Figure 202121022448

The utility model discloses a sewage treatment device for a building drainage pipe, which comprises a pipe body, a rotating rod is rotatably installed on the left side of the interior of the pipe body, and a plurality of cleaning mechanisms are arranged on the rotating rod. The bottom end is provided with a groove, the upper part of the pipe body is provided with a rectangular groove, a bottom block is arranged in the groove, and a filter screen is installed on the upper left side of the bottom block. The utility model is provided with a connecting plate, a fixing mechanism and an L-shaped plate, so that when the filter screen needs to be replaced, two pull rods are directly pulled away from the slot, and then the filter screen is pulled out for cleaning and replacement, which is simple and convenient, and prevents If the filter screen is not cleaned for a long time, it will cause blockage, which will affect the treatment effect of sewage. At the same time, a rotating rod and a cleaning mechanism are also set up to drive the fan blade to rotate when the sewage flows, and the fan blade rotates to drive the brush to rotate. The debris can be cleaned, which can prevent the filter screen from clogging and prolong the service life of the filter screen.

Figure 202121022448

Description

Sewage treatment device for building drainage pipeline
Technical Field
The utility model relates to a sewage treatment technical field specifically is a building drainage pipe sewage treatment plant.
Background
Sewage treatment is a process of purifying sewage to meet the water quality requirement of discharging the sewage into a certain water body or reusing the sewage. In some residential buildings, sewage generated in people's lives is directly discharged through a drainage pipeline without being treated, so that the environment is easily polluted.
When the sewage treatment device of the building drainage pipeline is used, the following problems exist: when sewage is treated, the filter screen is installed in the pipeline and is not easy to replace and clean, so that the filtering effect of sewage is greatly reduced after the filter screen is used for a long time.
SUMMERY OF THE UTILITY MODEL
An object of the utility model is to provide a building drainage pipe sewage treatment plant to solve the problem that proposes among the above-mentioned background art.
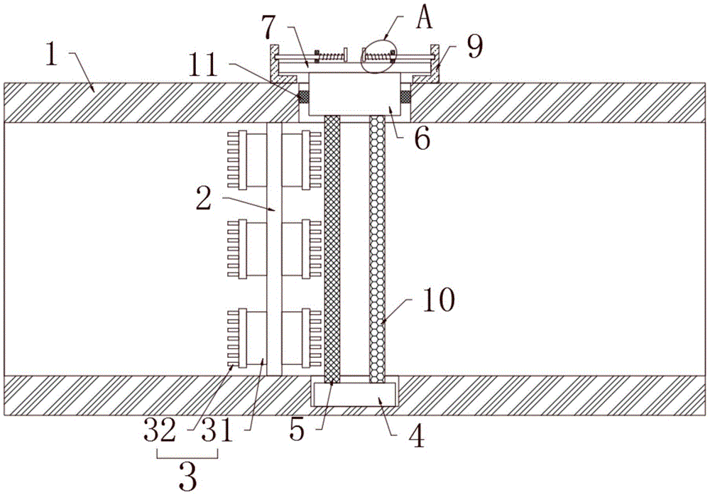
In order to achieve the above object, the utility model provides a following technical scheme: the utility model provides a building drainage pipe sewage treatment plant, includes the pipeline body, the dwang is installed in the inside left side rotation of pipeline body, be provided with a plurality of clearance mechanisms on the dwang, the recess has been seted up to the inside bottom of pipeline body, the rectangular channel has been seted up on the upper portion of pipeline body, be provided with the bottom block in the recess, the filter screen is installed in the upper portion left side of bottom block, just the rectangular channel is run through into on the top of filter screen, the inserted block is installed on the top of filter screen, just the rectangular channel is run through out on the top of inserted block, the connecting plate is installed on the upper portion of inserted block, the upper portion left and right sides of connecting plate all is provided with fixed establishment.
Preferably, clearance mechanism includes four flabellums and four brushes, four the flabellum is installed around the surface of dwang, four the brush is installed respectively in the one end that the dwang was kept away from to four flabellums.
Preferably, the fixing mechanism comprises a connecting block, a pull rod and a spring, the connecting block is installed on the upper portion of the connecting plate, the pull rod is slidably installed on the connecting block, the pull rod penetrates through the connecting block, the spring is installed on the pull rod, and one end, far away from the pull rod, of the spring is connected with the connecting block.
Preferably, L-shaped plates are installed on the left side and the right side of the upper portion of the pipeline body, slots are formed in one sides, close to each other, of the L-shaped plates, and the pull rod is connected with the slots in an inserting mode.
Preferably, the right side of the upper portion filter screen of bottom block is installed with the active carbon net, just the top of active carbon net is connected with the bottom of inserted block.
Preferably, a sealing ring is arranged on the surface of the insert block.
Compared with the prior art, the beneficial effects of the utility model are that:
1. the utility model is provided with the connecting plate, the fixing mechanism and the L-shaped plate, when the filter screen needs to be replaced, the two pull rods are directly pulled to keep away from the slot, and then the filter screen is taken out to be cleaned and replaced, which is simple and convenient, and prevents the filter screen from being cleaned for a long time to cause blockage, thereby influencing the sewage treatment effect;
2. the utility model discloses still set up dwang and clearance mechanism simultaneously, driven the flabellum when flowing through the sewage and rotated, the flabellum rotates and drives the brush and rotates, clears up the debris on the filter screen through the brush to can prevent that the filter screen from blockking up and prolonging the life of filter screen.
Drawings
Fig. 1 is a front sectional view of the present invention;
FIG. 2 is a top view of the cleaning mechanism of the present invention;
fig. 3 is an enlarged schematic view of a portion a of fig. 1.
In the figure: 1. a pipe body; 2. rotating the rod; 3. a cleaning mechanism; 31. a fan blade; 32. a brush; 4. a bottom block; 5. filtering with a screen; 6. inserting a block; 7. a connecting plate; 8. a fixing mechanism; 81. connecting blocks; 82. a pull rod; 83. a spring; 9. an L-shaped plate; 10. an activated carbon mesh; 11. and (5) sealing rings.
Detailed Description
The technical solutions in the embodiments of the present invention will be described clearly and completely with reference to the accompanying drawings in the embodiments of the present invention, and it is obvious that the described embodiments are only some embodiments of the present invention, not all embodiments. Based on the embodiments in the present invention, all other embodiments obtained by a person skilled in the art without creative work belong to the protection scope of the present invention.
Referring to fig. 1-3, the present invention provides a technical solution: a building drainage pipeline sewage treatment device comprises a pipeline body 1, wherein a rotating rod 2 is rotatably installed on the left side inside the pipeline body 1, a plurality of cleaning mechanisms 3 are arranged on the rotating rod 2, a groove is formed in the bottom end inside the pipeline body 1, a rectangular groove is formed in the upper portion of the pipeline body 1, a bottom block 4 is arranged in the groove, a filter screen 5 is installed on the left side of the upper portion of the bottom block 4, the top end of the filter screen 5 penetrates through the rectangular groove, an inserting block 6 is installed at the top end of the filter screen 5, the top end of the inserting block 6 penetrates through the rectangular groove, a connecting plate 7 is installed on the upper portion of the inserting block 6, and fixing mechanisms 8 are arranged on the left side and the right side of the upper portion of the connecting plate 7;
the cleaning mechanism 3 comprises four fan blades 31 and four brushes 32, the four fan blades 31 are arranged on the periphery of the surface of the rotating rod 2, the four brushes 32 are respectively arranged at one ends of the four fan blades 31 far away from the rotating rod 2, the fixing mechanism 8 comprises a connecting block 81, a pull rod 82 and a spring 83, the connecting block 81 is arranged at the upper part of the connecting plate 7, the pull rod 82 is arranged on the connecting block 81 in a sliding manner, the pull rod 82 penetrates through the connecting block 81, the spring 83 is arranged on the pull rod 82, one end of the spring 83, far away from the pull rod 82, is connected with the connecting block 81, the left side and the right side of the upper part of the pipeline body 1 are respectively provided with an L-shaped plate 9, one side, close to each other, of the two L-shaped plates 9 is respectively provided with a slot, the pull rod 82 is inserted into the slots, the right side of the upper filter screen 5 of the bottom block 4 is provided with an activated carbon net 10, and the top end of the active carbon net 10 is connected with the bottom end of the insert block 6, and the surface of the insert block 6 is provided with a sealing ring 11.
The working principle is as follows: when the utility model is used, firstly, two pull rods 82 are pulled, then the bottom block 4 is inserted into a groove in the pipeline body 1, then the pull rods 82 are loosened, the pull rods 82 are driven to be inserted into the slots through the elastic acting force of the springs 83, thereby the installation and fixation of the filter screen 5 are completed, water leakage can be prevented through the arranged sealing rings 11, after sewage is introduced into the pipeline body 1, the sewage sequentially passes through the filter screen 5 and the activated carbon net 10, thereby the sewage is treated, and the sewage drives the fan blades 31 to rotate when flowing, the fan blades 31 rotate to drive the brush 32 to rotate, thereby impurities on the filter screen 5 can be cleaned through the brush 32, the blockage of the filter screen 5 can be effectively avoided, when the filter screen 5 and the activated carbon net 10 need to be cleaned or replaced, the pull rods 82 are pulled to be far away from the slots, then the filter screen 5 and the activated carbon net 10 are pulled out to be cleaned and replaced, simple and convenient, have filter screen 5 installation and dismantle convenient, can clear up and simple structure's advantage to the impurity on the filter screen 5.
It is noted that, herein, relational terms such as first and second, and the like may be used solely to distinguish one entity or action from another entity or action without necessarily requiring or implying any actual such relationship or order between such entities or actions. Also, the terms "comprises," "comprising," or any other variation thereof, are intended to cover a non-exclusive inclusion, such that a process, method, article, or apparatus that comprises a list of elements does not include only those elements but may include other elements not expressly listed or inherent to such process, method, article, or apparatus.
Although embodiments of the present invention have been shown and described, it will be appreciated by those skilled in the art that changes, modifications, substitutions and alterations can be made in these embodiments without departing from the principles and spirit of the invention, the scope of which is defined in the appended claims and their equivalents.

Claims (6)

1. The utility model provides a building drainage pipe sewage treatment plant, includes pipeline body (1), its characterized in that: the utility model discloses a pipeline, including pipeline body (1), the inside left side of pipeline body (1) is rotated and is provided with dwang (2), be provided with a plurality of clearance mechanisms (3) on dwang (2), the recess has been seted up to the inside bottom of pipeline body (1), the rectangular channel has been seted up on the upper portion of pipeline body (1), be provided with bottom block (4) in the recess, the upper portion left side of bottom block (4) is provided with filter screen (5), just the top of filter screen (5) runs through into the rectangular channel, the top of filter screen (5) is provided with inserted block (6), just the top of inserted block (6) runs through out the rectangular channel, the upper portion of inserted block (6) is provided with connecting plate (7), the upper portion left and right sides of connecting plate (7) all is provided with fixed establishment (8).
2. The building drainage pipeline sewage treatment device of claim 1, wherein: clearance mechanism (3) are including four flabellum (31) and four brush (32), four fan blade (31) are installed around the surface of dwang (2), four brush (32) are installed respectively in the one end of dwang (2) is kept away from in four flabellum (31).
3. The building drainage pipeline sewage treatment device of claim 1, wherein: fixing mechanism (8) are including connecting block (81), pull rod (82), spring (83), the upper portion at connecting plate (7) is installed in connecting block (81), pull rod (82) slidable mounting is on connecting block (81), just pull rod (82) through connection piece (81), install on pull rod (82) spring (83), just the one end that pull rod (82) were kept away from in spring (83) is connected with connecting block (81).
4. The building drainage pipeline sewage treatment device of claim 3, wherein: l shaped plate (9) are all installed to the upper portion left and right sides of pipeline body (1), two the slot has all been seted up to one side that L shaped plate (9) are close to each other, pull rod (82) are pegged graft with the slot.
5. The building drainage pipeline sewage treatment device of claim 1, wherein: activated carbon net (10) is installed on the right side of upper portion filter screen (5) of end piece (4), just the top of activated carbon net (10) is connected with the bottom of inserted block (6).
6. The building drainage pipeline sewage treatment device of claim 1, wherein: and a sealing ring (11) is arranged on the surface of the insert block (6).
CN202121022448.5U 2021-05-13 2021-05-13 A sewage treatment device for building drainage pipes Active CN214693596U (en)

Priority Applications (1)

Application Number Priority Date Filing Date Title
CN202121022448.5U CN214693596U (en) 2021-05-13 2021-05-13 A sewage treatment device for building drainage pipes

Applications Claiming Priority (1)

Application Number Priority Date Filing Date Title
CN202121022448.5U CN214693596U (en) 2021-05-13 2021-05-13 A sewage treatment device for building drainage pipes

Publications (1)

Publication Number Publication Date
CN214693596U true CN214693596U (en) 2021-11-12

Family

ID=78552246

Family Applications (1)

Application Number Title Priority Date Filing Date
CN202121022448.5U Active CN214693596U (en) 2021-05-13 2021-05-13 A sewage treatment device for building drainage pipes

Country Status (1)

Country Link
CN (1) CN214693596U (en)

Cited By (2)

* Cited by examiner, † Cited by third party
Publication number Priority date Publication date Assignee Title
CN114775760A (en) * 2022-05-24 2022-07-22 四川公路桥梁建设集团有限公司 Embedded sewage pipeline convenient to maintain and construction method thereof
CN115043507A (en) * 2022-06-13 2022-09-13 吴江市建设工程质量检测中心有限公司 Finished product inspection well for domestic sewage treatment and working method thereof

Cited By (2)

* Cited by examiner, † Cited by third party
Publication number Priority date Publication date Assignee Title
CN114775760A (en) * 2022-05-24 2022-07-22 四川公路桥梁建设集团有限公司 Embedded sewage pipeline convenient to maintain and construction method thereof
CN115043507A (en) * 2022-06-13 2022-09-13 吴江市建设工程质量检测中心有限公司 Finished product inspection well for domestic sewage treatment and working method thereof

Similar Documents

Publication Publication Date Title
CN214693596U (en) A sewage treatment device for building drainage pipes
CN111747544A (en) A pre-buried anti-clogging decontamination aeration pipe assembly for sewage sedimentation treatment
CN218221363U (en) Automatic cleaning device of sewage treatment structures
CN210814220U (en) Mesh belt cleaning system for water curtain dust removal equipment
CN217854794U (en) A kind of treatment equipment for water quality purification of water conservancy river course
CN208379734U (en) A kind of indoor decoration Anti-blocking floor drain
CN219860671U (en) Circulating industrial wastewater processor
CN219128493U (en) Pipeline internal water pumping and filtering device
CN114849321A (en) District sewage treatment recycling system
CN1281513C (en) Urban sewage waterpower self-cleaning device with drum grid
CN118892690A (en) A continuous filtering device for decentralized water discharge from a swimming pool
CN114733247B (en) A water supply and drainage sludge purification device
CN216878158U (en) Filter capable of being cleaned reversely
CN211774230U (en) Deodorant device in outlet
CN212119174U (en) Waste water treatment purifier
CN222923834U (en) Silt equipment is arranged to water conservancy pump station
CN215026535U (en) A filter device for water supply and drainage of industrial buildings
CN219432756U (en) Water supply and drainage pipeline protection structure
CN221906045U (en) Filter equipment that water supply and drainage was used
CN223202443U (en) Anti-blocking drainage device for water conservancy projects
CN223576205U (en) Mineralization magnetization water purifier
CN215506065U (en) A clean workshop for cell culture in biological industry
CN201176401Y (en) Fish pond circulating water multifunctional solid dirt separator
CN221191587U (en) Groundwater pollution prosthetic devices
CN220802216U (en) Filter plate anti-clogging mechanism and filter box

Legal Events

Date Code Title Description
GR01 Patent grant
GR01 Patent grant
CP03 Change of name, title or address
CP03 Change of name, title or address

Address after: 230031 Building F, Blue Business Port City Plaza, No. 188 Qianshan South Road, Heyedi Street, Shushan District, Hefei City, Anhui Province 3001-02

Patentee after: Zeyuan Ecological Environmental Protection Technology Co.,Ltd.

Country or region after: China

Address before: 3407, Building 1, Nanbaili Center, Qianshan Road East and Hudong Road South, Shushan District, Hefei City, Anhui Province

Patentee before: Anhui Zeyuan Ecological Environmental Protection Technology Co.,Ltd.

Country or region before: China